|
|
(21), (22) Заявка: 2006131979/12, 05.09.2006
(24) Дата начала отсчета срока действия патента:
05.09.2006
(43) Дата публикации заявки: 10.03.2008
(46) Опубликовано: 20.09.2008
(56) Список документов, цитированных в отчете о поиске:
UA 27389 С2, 15.09.2000. SU 389799 А, 13.12.1973. RU 2156627 C1, 27.09.2000. SU 223592 A, 01.11.1968. GB 1581193 A, 10.12.1980. GB 2227177 A, 25.07.1990. DE 3426758 A1, 30.01.1986.
Адрес для переписки:
392680, г.Тамбов, Моршанское ш., 19, ОАО “Корпорация “Росхимзащита”
|
(72) Автор(ы):
Болтоносов Александр Сергеевич (RU), Гудков Сергей Владимирович (RU), Путин Сергей Борисович (RU), Самарин Валерий Дмитриевич (RU), Хромов Александр Юрьевич (RU)
(73) Патентообладатель(и):
Открытое акционерное общество “Корпорация “Росхимзащита” (ОАО “Корпорация “Росхимзащита”) (RU)
|
(54) ИЗОЛИРУЮЩИЙ ДЫХАТЕЛЬНЫЙ АППАРАТ
(57) Реферат:
Изобретение относится к изолирующим дыхательным аппаратам на химически связанном кислороде. Изолирующий дыхательный аппарат содержит регенеративный патрон с патрубками вдоха и выдоха, дыхательный мешок, клапан избыточного давления с подпружиненным штоком, клапанную коробку с клапанами вдоха и выдоха и патрубками, лицевую часть, гофрированные трубки, соединяющие лицевую часть с верхним патрубком клапанной коробки, а нижний патрубок клапанной коробки, снабженный клапаном выдоха, – с патрубком выдоха регенеративного патрона. В одном из боковых патрубков клапанной коробки смонтирован клапан избыточного давления, а в противолежащем патрубке – клапан вдоха. Дыхательный мешок, смонтированный на патрубке, противоположном патрубку с клапаном избыточного давления, сообщен с подпружиненным штоком клапана избыточного давления посредством гибкой тяги, проходящей через эластичную мембрану и герметично в ней смонтированной. Обеспечивается улучшение эксплуатационных характеристик дыхательного аппарата за счет повышения его надежности. 3 ил.
Изобретение относится к изолирующим дыхательным аппаратам на химически связанном кислороде.
Известен изолирующий дыхательный аппарат на химически связанном кислороде (патент Украины МПК №27389, МПК А62 В7/08, 2000 г.), содержащий регенеративный патрон с патрубками вдоха и выдоха, дыхательный мешок, клапан избыточного давления с подпружиненным штоком, клапанную коробку с патрубками вдоха и выдоха, лицевую часть, гофрированные трубки, соединяющие лицевую часть с патрубком коробки, а противоположный ему патрубок коробки, снабженный клапаном выдоха, – с патрубком выдоха патрона, противопыльный фильтр. Клапанная коробка аппарата выполнена в виде прямого креста, в боковом патрубке смонтирован клапан избыточного давления, а другой фронтально размещенный патрубок коробки с клапаном вдоха сообщен с прикрепленным к патрубку вдоха патрона дыхательным мешком, стенка которого связана с подпружиненным штоком клапана избыточного давления гибкой тягой, пропущенной через полый штырь, на котором размещен клапан вдоха в патрубке коробки.
Такое выполнение дыхательного аппарата способствует увеличению времени защитного действия за счет экономного расходования запаса кислорода, так как размещение клапана избыточного давления в полости коробки, сообщающейся с полостью лицевой части, ограниченной клапанами вдоха и выдоха, позволяет управлять течением химических реакций в регенеративном патроне, поскольку избыток газовоздушной смеси, содержащей необходимые для течения химических реакций компоненты – пары воды и диоксид углерода стравливается в атмосферу, не попадая в регенеративный патрон.
Вместе с тем такое конструктивное выполнение аппарата имеет следующие недостатки:
– через зазор между отверстиями в полом штыре и гибкой тягой дыхательный мешок сообщается с полостью клапанной коробки, вследствие чего часть газовоздушной смеси на фазе выдоха попадает в дыхательный мешок, минуя регенеративный патрон, что приводит к увеличению концентрации диоксида углерода в дыхательном мешке и на линии вдоха.
– изгиб трубок при эксплуатации аппарата может вызвать заклинивание гибкой связи в отверстии полого штыря, что может привести к отказу в работе клапана избыточного давления.
Задачей изобретения является улучшение эксплуатационных характеристик изолирующего дыхательного аппарата за счет повышения надежности его работы.
Решение этой задачи достигается тем, что в изолирующем дыхательном аппарате на химически связанном кислороде, содержащем регенеративный патрон с патрубками вдоха и выдоха, дыхательный мешок, клапан избыточного давления с подпружиненным штоком, клапанную коробку с клапанами вдоха и выдоха и патрубками, лицевую часть, гофрированные трубки, соединяющие лицевую часть с верхним патрубком клапанной коробки, а нижний патрубок клапанной коробки, снабженный клапаном выдоха, – с патрубком выдоха регенеративного патрона, в одном из боковых патрубков клапанной коробки смонтирован клапан избыточного давления, в противолежащем патрубке – клапан вдоха, дыхательный мешок, смонтированный на патрубке, противоположном патрубку с клапаном избыточного давления, сообщен с подпружиненным штоком клапана избыточного давления посредством тяги, проходящей через эластичную мембрану и герметично в ней смонтированной.
Такое выполнение дыхательного аппарата отличается улучшенными эксплуатационными характеристиками за счет повышения надежности системы дыхательный мешок – клапан избыточного давления. Это достигается следующим образом: герметичное разделение полости дыхательного мешка на фазе выдоха эластичной мембраной, через которую проходит гибкая тяга подпружиненного штока клапана избыточного давления, полностью исключает попадание выдыхаемой газовоздушной смеси в дыхательный мешок, минуя регенеративный патрон, что способствует снижению концентрации диоксида углерода на вдохе, также исключается возможность заклинивания гибкой тяги привода клапана избыточного давления при любом взаимном положении дыхательного мешка и гофрированных трубок.
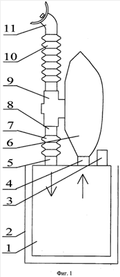
Сущность изобретения поясняется чертежами, где на фиг.1 изображен дыхательный аппарат, на фиг.2 изображена клапанная коробка для круговой схемы дыхания, продольный разрез, на фиг.3 изображен вариант исполнения клапанной коробки для маятниковой схемы дыхания, продольный разрез. Изолирующий дыхательный аппарат на химически связанном кислороде (фиг.1, 2, 3) содержит регенеративный патрон 1, размещенный в корпусе 2. На верхней части патрона 1 размещено пусковое устройство 3 и патрубки вдоха 4 и выдоха 5, на которых смонтированы дыхательный мешок 6 и гофрированная трубка 7, присоединенная к нижнему патрубку 8 клапанной коробки 9. К клапанной коробке 9 с помощью гофрированной трубки 10 присоединена лицевая часть 11. Клапанная коробка 9 (фиг.2) выполнена с четырьмя патрубками. К верхнему патрубку 12 клапанной коробки 9 присоединена гофрированная трубка 10, соединяющая полость клапанной коробки 9 с лицевой частью 11, а нижний патрубок 8, в котором смонтирован клапан выдоха 19, соединен с патрубком выдоха 5 регенеративного патрона 1 с помощью гофрированной трубки 7. На боковом патрубке 20 клапанной коробки 9, внутри которого смонтированы клапан вдоха 13 и эластичная мембрана 14, через которую проходит герметично закрепленная гибкая тяга 15, установлен дыхательный мешок 6, на стороне дыхательного мешка 6, противоположной клапанной коробке 9, закреплен другой конец тяги 15. В другом боковом патрубке 18 клапанной коробки 9 смонтирован клапан избыточного давления 16, подпружиненный шток 17 которого соединен гибкой тягой 15 через эластичную мембрану 14 с дыхательным мешком 6.
Изолирующий дыхательный аппарат работает следующим образом: при включении пускового устройства 3 пользователь обеспечивается кислородом для дыхания в начальный период, то есть до тех пор, пока под воздействием диоксида углерода и влаги в кислородосодержащем продукте не начнутся экзотермические реакции, в результате которых выделяется кислород и поглощается диоксид углерода. На фазе выдоха газовоздушная смесь, из лицевой части 11, через гофрированную трубку 10 поступает в полость клапанной коробки 9, далее в регенеративный патрон 1 через клапан выдоха 19, откуда очищенная от диоксида углерода и обогащенная кислородом подается в дыхательный мешок 6. На фазе вдоха газовоздушная смесь из дыхательного мешка 6 через клапан вдоха 13 поступает в полость клапанной коробки 9 и далее по гофрированной трубке 10 в лицевую часть 11 на дыхание. При переполнении дыхательного мешка 6 механическое воздействие от его задней стенки посредством гибкой тяги 15 передается на подпружиненный шток 17 клапана избыточного давления 16, что приводит к его открытию (в конце фазы выдоха). Разделение полости дыхательного мешка 6 и клапанной коробки 9 осуществляется при помощи эластичной мембраны 14.
Формула изобретения
Изолирующий дыхательный аппарат на химически связанном кислороде, содержащий регенеративный патрон с патрубками вдоха и выдоха, дыхательный мешок, клапан избыточного давления с подпружиненным штоком, клапанную коробку с клапанами вдоха и выдоха и патрубками, лицевую часть, гофрированные трубки, соединяющие лицевую часть с верхним патрубком клапанной коробки, а нижний патрубок клапанной коробки, снабженный клапаном выдоха, – с патрубком выдоха регенеративного патрона, в одном из боковых патрубков клапанной коробки смонтирован клапан избыточного давления, а в противолежащем патрубке – клапан вдоха, отличающийся тем, что дыхательный мешок, смонтированный на патрубке, противоположном патрубку с клапаном избыточного давления, сообщен с подпружиненным штоком клапана избыточного давления посредством гибкой тяги, проходящей через эластичную мембрану и герметично в ней смонтированной.
РИСУНКИ
|
|