|
|
(21), (22) Заявка: 2007101036/13, 09.01.2007
(24) Дата начала отсчета срока действия патента:
09.01.2007
(46) Опубликовано: 20.09.2008
(56) Список документов, цитированных в отчете о поиске:
RU 2259152 C1, 27.08.2005. US 4698228 A, 06.10.1987. RU 52417 U1, 27.03.2006.
Адрес для переписки:
630049, г.Новосибирск, ул. Галущака, 1, кв.103, А.Д. Кычакову
|
(72) Автор(ы):
Кычаков Анатолий Деонисович (RU), Кычаков Александр Анатольевич (RU)
(73) Патентообладатель(и):
Кычаков Анатолий Деонисович (RU), Кычаков Александр Анатольевич (RU)
|
(54) ЛИНИЯ ДЛЯ ПРИГОТОВЛЕНИЯ ЭКСТРУДИРОВАННОГО ВСПУЧЕННОГО ПРОДУКТА ТИПА ХЛЕБНЫХ СУХАРИКОВ
(57) Реферат:
Изобретение относится к пищевой промышленности, в частности к производству готового к употреблению пищевого продукта из зернового сырья. Линия содержит экструдер с фильерой, средство для охлаждения экструдата и агрегат для механической его обработки, включающий в себя калибрующую пару валков, тянущую пару валков и механизм поперечной резки экструдата, причем валки приемной и тянущей пары снабжены направляющими буртиками. Линия снабжена механизмом для удаления поверхностного слоя калиброванных сторон экструдата, расположенным между приемной и тянущей парами валков. Отверстие фильеры может быть выполнено щелевым, рабочие просветы калибрующих и тянущих валков могут иметь форму вытянутых прямоугольников для получения экструдата в виде ленты, при этом один из валков тянущей пары может быть снабжен дисковыми ножами, а второй – канавками, в которые входят края ножей. Механизм для удаления поверхностного слоя калиброванных сторон экструдата может быть выполнен в виде двух фрез с лезвиями, обеспечивающих угол резания 6-15 град. Средством для охлаждения экструдата является воздух рабочего помещения между фильерой и приемными валками, а агрегат для обработки экструдата установлен с возможностью перемещения вдоль направления движения экструдата для регулирования степени его охлаждения. Изобретение позволяет получить продукт, у которого поверхности всех сторон долек экструдата с открытыми порами и без блестящих участков – то есть полученные поверхности присущи сухарям, приготовленным сушкой нарезанного хлеба. 3 з.п. ф-лы, 6 ил.
Изобретение относится к пищевой промышленности, в частности к производству готового к употреблению пищевого продукта из зернового сырья.
Известен способ производства аналога мяса или рыбы из экструдата на основе зерна, мяса, рыбы. Смесь варят в экструдере, экструдат на выходе из фильеры охлаждают в камере с циркулирующей водой, что исключает вспучивание, и выводят через горизонтальное щелевое отверстие в виде ленты, которая по конвейеру идет в шредер-измельчитель, где она режется на полоски и разделяется на куски при прохождении через сито с щелевыми отверстиями. Поверхность кусочков экструдата приобретает внешний вид, присущий натуральным мясу или рыбе за счет получающегося при резке рисунка (US 6635301, 21.10.2003).
Этот способ неприменим для придания вспученному зерновому эктрудату внешнего вида, присущего сухарям.
Известен способ производства хрустящих хлебцев, при котором тесто варят в экструдере и выпускают его со взрывом из вертикального щелевого отверстия матрицы, лентообразный экструдат калибруют, пропуская между прикрепленными к фильере вертикальными щитками. Контактирующие с горячим экструдатом поверхности щитков имеют покрытие, предотвращающее налипание, например тефлоновое. Полученную уплотненную ленту равномерной толщины поворачивают роликами на 90 град., приводя в горизонтальное положение, помещают на конвейер и подают к ножу поперечной резки (US 4698228, 06.10.1987).
Этот способ позволяет получать ленту экструдата одинакового внешнего вида с обеих сторон за счет равных условий выхода пара при вспучивании; лента вследствие обжима имеет равномерную толщину. Без калибрующих щитков она получается с горбинами и изогнутостями. Однако лишь в местах поперечной резки грани долек экструдата имеют естественный для сухарей ячеистый вид. Калиброванные стороны имеют присущий вспученному экструдату на зерновой основе блестящий внешний вид с замазанными ячейками, чему способствует трение между экструдатом и щитками.
Наиболее близким к заявляемому решению является линия для приготовления экструдированного вспученного продукта типа хлебных сухариков, содержащая экструдер, средство для охлаждения экструдата и агрегат для обработки экструдата, включающий в себя расположенные в порядке их перечисления калибрующую пару валков, тянущую пару валков и механизм поперечной резки экструдата, причем опорные валки приемной и тянущей пары снабжены направляющими буртиками (RU 2259152, 27.08.2005, прототип).
Недостатком этой линии является то, что получаемый при ее использовании продукт имеет закрытые внешние поры и блестящие поверхности вследствие контакта с калибрующими роликами, то есть продукт имеет внешний вид, не присущий сухарикам, полученным нарезкой и сушкой хлеба.
Техническим результатом изобретения является получение поверхностей всех сторон долек экструдата с открытыми порами и без блестящих участков – то есть получение поверхностей, присущих сухарям, приготовленным сушкой нарезанного хлеба. Техническим результатом является также расширение ассортимента продуктов данного класса.
Для получения указанного результата линия для приготовления экструдированного вспученного продукта типа хлебных сухариков, содержащая экструдер, средство для охлаждения и поверхностной сушки экструдата и агрегат для механической его обработки, включающий в себя расположенные в порядке их перечисления калибрующую пару валков, тянущую пару валков и механизм поперечной резки экструдата, причем валки приемной и тянущей пары снабжены направляющими буртиками, согласно изобретению снабжена механизмом для удаления поверхностного слоя калиброванных сторон экструдата, расположенным между приемной и тянущей парами валков.
Отверстие фильеры может быть выполнено щелевым, рабочие просветы калибрующих и тянущих валков могут иметь форму вытянутых прямоугольников для получения экструдата в виде ленты, при этом один из валков тянущей пары может быть снабжен дисковыми ножами, а второй – канавками, в которые входят края ножей.
Механизм для удаления поверхностного слоя калиброванных сторон экструдата может быть выполнен в виде двух фрез с лезвиями, обеспечивающих угол резания 6-15 град. Средством для охлаждения экструдата является воздух рабочего помещения между фильерой и приемными валками, а агрегат для обработки экструдата установлен с возможностью перемещения вдоль направления движения экструдата для регулирования степени его охлаждения.
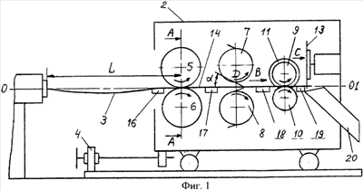
На фиг.1 изображена схема линии; на фиг.2 – поперечный разрез необработанного жгута экструдата; на фиг.3 – калибрующие валки, разрез А-А фиг.1; на фиг.4 – тянущие валки, вид по стрелке В; на фиг.5 – устройство для поперечной резки, вид по стрелке С фиг.1; на фиг.6 – долька готового продукта.
Линия для приготовления экструдированного вспученного продукта типа хлебных сухариков содержит экструдер 1 с щелевой горизонтальной фильерой и агрегат 2 для обработки экструдата 3, установленный в направляющих с возможностью перемещения вдоль оси O-O1 экструдера и фиксации его рабочего положения с помощью механизма 4. Агрегат 2 включает в себя калибрующие валки 5, 6, цилиндрические фрезы 7, 8, тянущие валки 9, 10, из которых один имеет дисковые ножи 11, а второй – канавки 12, в которые входят режущие края ножей 11, механизм поперечной резки в виде диска с лезвиями 13, приводы валков и фрез со средствами регулирования числа их оборотов (не показаны), обеспечивающие указанное стрелками D направление движения. Угол резания альфа ножей фрез 7, 8 может быть в пределах 6-15 град. Рабочие просветы калибрующих и тянущих валков могут иметь форму вытянутых прямоугольников для получения экструдата в виде ленты 14. Пары осей вращения валков 5, 6, фрез 7, 8 и валков 9, 10 расположены в плоскостях, перпендикулярных направлению движения ленты 14 экструдата вдоль оси O-O1 экструдера по стрелке В. Валки 5, 6 и 9, 10 имеют направляющие буртики 15. На входной стороне валков 5, 6 (слева по чертежу), между этими валками и фрезами 7, 8, а также между фрезами и тянущими валками 9, 10 установлены опорные пластины 16, 17, 18 для ленты экструдата 14, на выходе после валков 9, 10 расположена конечная опора 19. Контактирующие с лентой 14 поверхности валков 5, 6 и 9, 10 имеют накатку или насечку для лучшего сцепления с жгутом 3 и лентой 14 при ее подаче на позицию поперечной резки.
Обрабатывающий агрегат линии имеет лоток 20 для подачи нарезанных долек на позицию сушки (не показана).
Валки 5, 6 агрегата 2 расположены на расстоянии L от фильеры экструдера 1, которое может быть 3000-1000 мм, оно необходимо для охлаждения жгута 3 экструдата в воздушной среде помещения при комнатной температуре без дополнительных средств охлаждения.
Линия работает следующим образом. Перерабатываемая увлажненная зерновая смесь при выходе из щелевого отверстия фильеры экструдера 1 вспучивается паром, образующимся вследствие разницы давления в его рабочей камере и атмосферного давления. Образующийся жгут 3 экструдата имеет овальную форму благодаря щелевой форме отверстия фильеры. Значения температуры жгута экструдата на выходе, скорость его движения и относительная влажность равны соответственно 120-130 град. С, 0,2-1,0 м/сек и 15-20%. Температура охлаждающего воздуха, в котором экструдат проходит расстояние L, также может быть различной: от плюс 20 до плюс 30 град. С. После прохождения расстояния L в воздушной среде при комнатной температуре жгут охлаждается и подсыхает с поверхности, образуется затвердевший слой или корка, необходимая для предотвращения налипания экструдата на поверхности калибрующих валков 5, 6. С увеличением расстояния L при прочих равных условиях увеличивается толщина затвердевшего слоя, что может привести к образованию крошки при калибровании. Для разного сочетания условий экструдирования подбирают с помощью механизма 4 расстояние L, позволяющее получить удовлетворительное сочетание значений характеристик продукта, приоритетным из которых является внешний вид поверхностей.
При работе жгут 3 экструдата попадает на опору 16, протягивается валками 5, 6, калибрующие поверхности которых вращаются с окружной скоростью, равной скорости, задаваемой ему экструдером. Валки обжимают жгут и придают ему форму ленты 14, толкают ее по опоре 17 и между фрезами 7, 8. Фрезы срезают с каждой стороны ленты слой корки на глубину, достаточную для раскрытия поверхностных пор экструдата (1,0-2,0 мм). Далее валки 9, 10 протягивают ленту 14 по опоре 18, одновременно ножи 11 разрезают ее в продольном направлении на узкие ленты, при этом крайние ножи 11 срезают неровности краев ленты 14 экструдата. Далее валки 9, 10 проталкивают узкие ленты на опору 19, по краю которой они нарезаются на дольки, которые ссыпаются по лотку 20 и подаются на позицию подсушивания, где продукт приобретает влажность 3-4%. Все грани долек имеют поверхности с раскрытыми порами.
Формула изобретения
1. Линия для приготовления экструдированного вспученного продукта типа хлебных сухариков, содержащая экструдер с фильерой, средство для охлаждения экструдата и агрегат для механической его обработки, включающий в себя расположенные в порядке их перечисления калибрующую пару валков, тянущую пару валков и механизм поперечной резки экструдата, причем валки приемной и тянущей пары снабжены направляющими буртиками, отличающаяся тем, что она снабжена механизмом для удаления поверхностного слоя калиброванных сторон экструдата, расположенным между приемной и тянущей парами валков.
2. Линия по п.1, отличающаяся тем, что отверстие фильеры выполнено щелевым, рабочие просветы калибрующих и тянущих валков имеют форму вытянутых прямоугольников для получения экструдата в виде ленты, при этом один из валков тянущей пары снабжен дисковыми ножами, а второй – канавками, в которые входят края ножей.
3. Линия по п.1, отличающаяся тем, что механизм для удаления поверхностного слоя калиброванных сторон экструдата выполнен в виде двух фрез с лезвиями, обеспечивающих угол резания 6-15°.
4. Линия по п.1, отличающаяся тем, что средством для охлаждения экструдата является воздух рабочего помещения между фильерой и приемными валками, а агрегат для обработки экструдата установлен с возможностью перемещения вдоль направления движения экструдата для регулирования степени его охлаждения.
РИСУНКИ
MM4A – Досрочное прекращение действия патента СССР или патента Российской Федерации на изобретение из-за неуплаты в установленный срок пошлины за поддержание патента в силе
Дата прекращения действия патента: 10.01.2009
Извещение опубликовано: 20.05.2010 БИ: 14/2010
|
|