|
|
(21), (22) Заявка: 2004110032/13, 03.09.2002
(24) Дата начала отсчета срока действия патента:
03.09.2002
(30) Конвенционный приоритет:
04.09.2001 US 60/318,234
(43) Дата публикации заявки: 20.09.2005
(46) Опубликовано: 20.09.2008
(56) Список документов, цитированных в отчете о поиске:
US 5197219 А, 21.09.1971. US 2938294 А, 31.05.1960.
(85) Дата перевода заявки PCT на национальную фазу:
05.04.2004
(86) Заявка PCT:
US 02/27862 (03.09.2002)
(87) Публикация PCT:
WO 03/020049 (13.03.2003)
Адрес для переписки:
129010, Москва, ул. Б.Спасская, 25, стр.3, ООО “Юридическая фирма Городисский и Партнеры”, пат.пов. С.А.Дорофееву
|
(72) Автор(ы):
ОЛЛИС Говард Д. (US), ДИАЗ-ВЕРСОН Сальвадор Мл. (US), БЕЛЛ Леонард Н. (US), УИСЕ Жан О. (US), ВЕЙ Ченг И. (US), РАЙТ Расселл А. (US)
(73) Патентообладатель(и):
ОБЕРН ЮНИВЕРСИТИ (US), ФУДСОРС ЛЬЮАР КОРПОРЕЙШН (US)
|
(54) БИОРАЗЛАГАЕМАЯ РЫБОЛОВНАЯ ПРИМАНКА И МАТЕРИАЛ
(57) Реферат:
Группа изобретений касается природных биоразлагаемых композиций, рыболовной приманки и корма для рыб. Биоразлагаемый материал в виде геля содержит от 30 до 70% водорастворимого углевода, такого как сахарид и/или крахмал; от 3 до 35% природного белка, такого как желатин, и воду, при этом указанный гель является гибким и эластичным, выдерживающим по меньшей мере 25%-ное растяжение перед разрывом. Рыболовная приманка и корм для рыб содержат данный биоразлагаемый материал. Группа изобретений позволяет снизить потенциальный вред от заглатывания рыболовной приманки или иного изделия, изготовленного из описанных природных биоразлагаемых материалов. Поскольку данный материал является перевариваемым, он также может использоваться в качестве источника питания или добавки в корм для рыб и водных животных. 3 с. и 10 з.п. ф-лы, 1 ил.
Настоящая заявка имеет приоритет предварительной заявки на патент США, серийный № 60/318234, от 4 сентября 2001 года, которая включена сюда путем ссылки во всей полноте для всех целей.
Настоящее изобретение в целом относится к области материалов и их производства и конкретно к биоразлагаемым композициям и к способам обработки для производства изделий, включающих биоразлагаемые рыболовные приманки.
Многие любят рыбалку. Независимо от ее цели – для восстановления сил, соревнования, развлечения, питания или семейной забавы рыбалка является популярным видом отдыха в течение многих лет. И количество рыболовов продолжает расти по мере того, как новые поколения рыболовов вовлекаются в это занятие. В результате непрерывного и растущего интереса появилась обширная и распространенная во всем мире промышленность для производства и продажи усовершенствованных снастей и принадлежностей. Одной конкретной разновидностью рыбалки, которая пользуется большой популярностью, является ловля окуня. Выбор эффективной наживки или приманки представляет собой один из более важных аспектов успешной и приятной ловли любой рыбы, особенно при ловле окуня.
Подавляющее большинство искусственных рыболовных приманок, имеющихся в настоящее время в продаже, получают из синтетических неразлагающихся полимеров (то есть каучука, пластика и тому подобное). Если такая приманка высвобождается с крючка и/или лески во время рыбной ловли, она может проглатываться рыбой и оставаться непереваренной в ее желудочно-кишечном тракте, или же она может оставаться без изменений в окружающей среде, загрязняя ее. В дополнение к этому производство приманок из синтетического каучука или пластика, как правило, предусматривает использование продуктов на основе нефти, с многочисленными загрязняющими побочными продуктами, которые в дальнейшем могут причинить вред окружающей среде. Поскольку количество рыболовов на воде увеличивается, отрицательное воздействие синтетических неразлагающихся приманок на окружающую среду становится все более и более значительным.
Создание эффективно биоразлагаемой рыболовной приманки, получаемой из природных и/или пищевых ингредиентов, помогло бы предотвратить или уменьшить вред для экологической системы, причиняемый производством и использованием синтетических рыболовных приманок. Однако большинство рыболов не любят переходить на новый тип приманки, если только она не обеспечивает приемлемое ощущение и внешний вид. И, что наиболее важно, новая приманка должна быть эффективной при ловле рыбы. До сих пор не удавалось создать состав природного и биологически разлагаемого материала, пригодный для использования при производстве эффективных рыболовных приманок. Например, некоторые предыдущие композиции, предназначенные для производства рыболовных приманок, заявлялись как биоразлагаемые, однако не были изготовлены из природных ингредиентов и/или не имели желательных физических свойств используемых в настоящее время мягких пластиковых приманок для любительской рыбной ловли. Другие композиции, заявленные как биоразлагаемые, как оказалось, не обладают достаточной разлагаемостью в окружающей среде и/или способностью к удалению из желудочно-кишечного тракта рыбы в течение приемлемого периода времени.
Кроме того, продукты, образованные из известных композиций, которые заявлялись как биоразлагаемые, часто не способны выдержать различные действия рыболова, такие как подергивание и забрасывание, которые подвергают наживку или приманку существенным или повторяющимся напряжениям или ударам. Другие известные материалы, заявленные как биоразлагаемые, требуют дорогих и по этой причине коммерчески невыгодных технологий производства, таких как отверждение путем замораживания в течение нескольких часов после формования. Другие известные продукты не имеют физической геометрии, когезионной прочности, эластичности или гибкости, требуемых для получения эффективной рыболовной приманки. Кроме того, что особенно важно для рыболова, современный опыт рыбной ловли демонстрирует, что желаемые физические свойства и эффективность ловли отсутствуют у многих известных продуктов. Например, физические свойства некоторых известных материалов не позволяют отформовать их в приманки с различными популярными формами (например, рыб, ящериц, червей, и т.д.). Эффективность приманок для ловли окуня была бы сильно ограничена в случае изготовления приманок из таких материалов.
Таким образом, существует потребность в усовершенствованных биоразлагаемых материалах и в способах производства приманок, предназначенных для рыбной ловли. Создание материалов и способов, удовлетворяющих эти и другие потребности, является основной задачей настоящего изобретения.
Примерные варианты выполнения изобретения обеспечивают дешевую биоразлагаемую приманку или наживку для рыбной ловли, состоящую из природных и/или пищевых ингредиентов, и способ ее производства. В частности, предлагаемая биоразлагаемая рыболовная приманка, которая будет разрушаться со временем в окружающей среде пресной или соленой воды, быстро перевариваться в желудочно-кишечном тракте водных организмов и будет нетоксичной для растений и животных. Примерные выполнения настоящего изобретения обеспечивает биоразлагаемую рыболовную приманку, которая выдерживает типичные действия наживления, заброса, подводки и другие действия рыболова. Варианты выполнения настоящего изобретения успешно выдерживают типичные условия хранения в такой рыболовной среде, как коробка и лодка. В дополнение к этому варианты настоящего изобретения обеспечивают природную, биоразлагаемую рыболовную приманку с конкурентоспособной ценой и обладающую требуемой способностью к ловле рыбы.
Примерные варианты настоящего изобретения, как установлено, также обеспечивают ряд неожиданных преимуществ по сравнению с известными синтетическими приманками. Например, поскольку приманка медленно растворяется во время использования, прикармливающий след из частиц следует за приманкой в воде, позволяя рыбе отслеживать и обнаруживать положение приманки, потенциально увеличивая частоту клева. В дополнение к этому природный, биоразлагаемый материал примерных выполнений настоящего изобретения может служить для целей, иных, чем рыболовные приманки, включая его использование в качестве промежуточного корма во время перехода выращиваемых рыб, креветок, лангустов или других животных от живого корма к гранулированным кормам. Витамины, минералы и/или другие добавки могут быть добавлены к композиции без значительного ухудшения вида и ощущения материала. Побочные продукты из процесса производства могут легко рециркулироваться, компостироваться и/или даже использоваться в качестве источника кормов для рыб и других животных. Также, поскольку материал по примерным выполнениям настоящего изобретения состоит из природных и/или пищевых ингредиентов, широкий ряд биологических организмов, таких как насекомые и другие животные, бактерии, грибы и тому подобное, может потреблять и по меньшей мере частично переваривать материал, тем самым ускоряя разрушение отходов из этого материала. И поскольку они не содержат нефтехимических растворителей и пластификаторов, приманки, изготовленные в соответствии с примерными выполнениями настоящего изобретения, не имеют тенденции к растворению поддонов коробок для рыболовных принадлежностей, как это могут делать многие известные синтетические “черви” и другие наживки.
Один из объектов настоящего изобретения касается биоразлагаемой рыболовной приманки, содержащей корпус, образованный из гибкого и упругого материала. Данный материал предпочтительно содержит по меньшей мере один углевод и по меньшей мере один белок и способен разлагаться в пресной воде и в соленой воде. Корпусу предпочтительно придана общая форма природного источника корма рыб.
Другой объект настоящего изобретения касается биоразлагаемого материала. Этот материал предпочтительно включает по меньшей мере один природный углевод, который представляет собой моносахарид, дисахарид, полисахарид и/или крахмал. Этот материал предпочтительно также включает по меньшей мере один природный белок, который представляет собой желатин, казеин, сухую сыворотку, клейковину, соевый белок и/или альбумин. Этот материал предпочтительно также включает по меньшей мере одну водорастворимую природную камедь.
Еще один объект изобретения касается биоразлагаемого материала, содержащего по меньшей мере один природный углевод и по меньшей мере один природный белок, причем этот материал является гибким и эластичным и имеет твердость 5 на Инстроне (Instron), с нагрузкой от около 1 кг до около 4 кг, и допускает удлинение в по меньшей мере около 25% перед разрывом.
Еще один объект изобретения касается биоразлагаемой рыболовной приманки, содержащей корпус, образованный из материала, содержащего по меньшей мере один природный углевод и по меньшей мере один природный белок, причем этот материал может перевариваться рыбой, и по меньшей мере один крючок, прикрепленный к корпусу приманки.
Еще один объект изобретения касается способа производства биоразлагаемого материала. Этот способ предусматривает смешивание компонентов, включающих по меньшей мере один природный углевод и по меньшей мере один природный белок, для образования композиции, формование композиции в форме рыболовной приманки и отверждение отформованной композиции с получением материала, который является гибким и эластичным и который выдерживает по меньшей мере приблизительно 25%-ное удлинение перед разрывом.
Эти и другие объекты, особенности и преимущества настоящего изобретения поясняются далее со ссылкой на чертеж и реализуются посредством различных элементов и их сочетаний, изложенных в прилагаемой формуле изобретения. Понятно, что и вышеприведенное описание, так и следующее ниже краткое описание чертежа и подробное описание изобретения являются иллюстративными и поясняющими предпочтительные варианты настоящего изобретения, но не ограничивают заявленное изобретение.
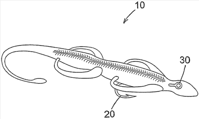
На чертеже показана приманка, выполненная из биоразлагаемого материала в соответствии с примерным выполнением изобретения.
Настоящее изобретение будет понятнее при изучении нижеследующего описания в связи с прилагаемым чертежом, составляющим часть данного описания. Настоящее изобретение не ограничивается конкретными устройствами, способами, условиями или параметрами, описанными и/или изображенными здесь, а терминология, используемая здесь, служит для описания вариантов, представленных только в качестве примера, и не предназначена для ограничения изобретения, как оно изложено в формуле изобретения. Также в данном описании и прилагаемой формуле изобретения выражения в единственном числе включают и множественное число, а ссылки на конкретное численное значение включают по меньшей мере это конкретное значение, если только из контекста ясно не следует иное. Пределы могут выражаться здесь как от “около” или “приблизительно” одного конкретного значения и/или до “около” или “приблизительно” другого конкретного значения. Когда приводится такой диапазон, другой вариант включает диапазон от одного конкретного значения и/или до другого конкретного значения. Аналогично, когда значение указано приблизительно, с использованием слова “около”, следует понимать, что конкретное значение образует другой вариант выполнения.
В примерных вариантах настоящее изобретение касается биоразлагаемого материала, содержащего встречающиеся в природе углеводы и белки. Компоненты этого материала предпочтительно выбирают из таких природных углеводов, как сахара, включая моносахариды, дисахариды и/или полисахариды, глюкозу, фруктозу, сахарозу, лактозу, мальтозу, целлобиозу, глицерин, крахмалы, включая кукурузный крахмал, пшеничный крахмал, рисовый крахмал, картофельный крахмал; водорастворимых смол, включая ксантановую смолу, каррагенан, гуаровую смолу, смолу плодов рожкового дерева, арабиногалактаны, аравийскую камедь, агар, пектин и т.п; и природных белков, таких как казеин, белок сыворотки, желатин, клейковина, соевый белок, альбумин, и т.п. В данном описании выражение “природный” и т.п. охватывает все материалы, встречающиеся в природе, а также изготовленные или синтезированные материалы, идентичные встречающимся в природе материалам.
Предпочтительно биоразлагаемый материал по изобретению содержит по меньшей мере один сахар, по меньшей мере один полимерный углевод и по меньшей мере один белок, при этом процентное содержание сахара, полимерного углевода и белка составляет соответственно около 50-90%, около 2-15% и около 15-40% по сухому веществу. В других предпочтительных выполнениях биоразлагаемый материал по изобретению содержит природный сахар, природный полимерный углевод и природный белок в количестве соответственно около 50-90%, около 5-15% и около 15-30% по сухому веществу.
Также могут быть при желании включены соли, пищевые консерванты, ароматизирующие агенты, пищевые добавки, витамины, минералы и/или другие добавки. Возможно также включаются аттрактанты или стимуляторы аппетита, такие как природные вкусовые вещества, например гидролизованные рыбные белки, рыбий жир, рыбная мука, измельченные ракообразные, измельченные ракушки, рыбный порошок, фрукты, пряности, чеснок, чесночное масло, экстракты и т.п.; синтетические вкусовые вещества, включая смеси нейтральных L-аминокислот, бетаин, нуклеотиды (например, инозин, инозин-5-монофосфат), сульфониевые соединения (например, диметилфетин, диметилпропиофетин), и т.п.; и/или визуальные аттрактанты, включая металлизированные или металлические блестки, пластиковые и майларовые блестки, и/или пищевые красители. Такие аттрактанты необязательно включают в биоразлагаемый материал по изобретению в количестве от около 2% до около 10% или менее по сухому веществу.
В конкретных примерных выполнениях биоразлагаемый материал по изобретению включает смесь воды, сахарозы, желатина, глицерина, Каппа-каррагенана, хлорида калия, консерванта и пищевого красителя. В других предпочтительных вариантах сахароза, желатин, глицерин, Каппа-каррагенан, хлорид калия и сорбат калия присутствуют в количествах около 30-70%, около 3-35%, около 20-50%, около 2-6%, около 0,1-2,0% и около 0,1-2,0% соответственно по сухому веществу. В дополнительных предпочтительных вариантах, данный материал дополнительно содержит рыбный ароматический аттрактант.
В других конкретных вариантах выполнения биоразлагаемый материал по изобретению содержит смесь воды, сахарозы, желатина, агара, хлорида кальция, крахмала, кукурузного сиропа, глицерина и пищевого красителя. В других выполнениях биоразлагаемый материал по настоящему изобретению содержит смесь сахарозы, желатина, альгината натрия, смолы плодов рожкового дерева, хлорида кальция, крахмала, кукурузного сиропа, глицерина, бензоата натрия и метафосфата натрия, предпочтительно присутствующих в количестве около 5-15%, около 10-30%, около 1-5%, около 1-5%, около 0,1-1%, около 1-5%, около 30-50%, около 1-5%, около 1-3% и около 1-3% соответственно по сухому веществу. В дополнительных предпочтительных вариантах этот материал дополнительно содержит рыбный ароматический аттрактант.
В других конкретных вариантах выполнения биоразлагаемый материал по изобретению содержит смесь сахарозы, желатина, альгината натрия, хлорида кальция, крахмала, метафосфата натрия, кукурузного сиропа, глицерина и пищевого красителя. В дальнейших предпочтительных вариантах данный материал дополнительно содержит рыбный ароматический аттрактант. В другом варианте и со ссылкой на чертеж настоящее изобретение представляет собой рыболовную приманку 10, выполненную из одного или нескольких биоразлагаемых материалов, описанных здесь. Приманке 10 предпочтительно придана форма природного источника корма данного вида рыбы. Например, в показанном варианте приманке 10 придана форма ящерицы. Альтернативные варианты имеют форму червей, лангустов, живцов (рыбок), лягушек, икринок или других животных или растительных материалов. Приманка 10 предпочтительно включает или принимает один или несколько рыболовных крючков 20, предпочтительно содержащих зазубренный конец для сопротивления высвобождению попавшей на крючок рыбы. Приманка 10 и/или крючок 20 предпочтительно содержат ушко 30 или другой соединительный элемент для закрепления приманки/крючка на поводке или на рыболовной леске.
Дальнейшие варианты настоящего изобретения включают использование одного или нескольких описанных здесь биоразлагаемых материалов в качестве корма для рыб, креветок или других водных животных. Данный материал особенно подходит для использования в качестве переходного корма для рыбы, выращиваемой в рыбоводных хозяйствах и на предприятиях аквакультуры. Рыба, недавно попавшая в рыбопитомник, может сначала получать живой корм, а затем переводиться на гранулированные корма. Материал по изобретению предпочтительно гидратируют и превращают в мягкий, удобный для поедания источник корма, пригодный для постепенного перевода рыбы с живого корма на гранулы. Добавки, включая витамины, минералы, гормоны роста и т.п., необязательно включают в материал корма по изобретению.
Настоящее изобретение также включает природный биоразлагаемый материал, как он здесь описан, используемый в качестве покрытия с замедленным высвобождением. Например, кусочки пищевых продуктов, лекарственных средств, фертилизаторов или других доставляемых материалов покрывают слоем природного биоразлагаемого материала, описанного здесь. Снабженный покрытием материал затем потребляется целевым организмом или поступает в окружающую среду, в которой данное покрытие разлагается со временем, экспонируя и высвобождая доставляемый материал. Путем выбора толщины и/или содержимого слоя покрытия время доставки может регулироваться. Например, некоторое количество доставляемого материала может быть снабжено покрытиями с различной длительностью действия, при этом различные порции доставляемого материала будут высвобождаться в различные моменты времени. Настоящее изобретение также включает доставляемый материал, покрытый природным биоразлагаемым материалом, как он здесь описан, и способ покрытия доставляемого материала природным биоразлагаемым материалом.
В дальнейших вариантах настоящее изобретение включает такие объекты, как упаковка и контейнеры, выполненные из биоразлагаемого материала, как он описан здесь. Например, продукты для любителей лодочного спорта, рыболовные снасти и различные иные изделия, связанные с отдыхом на воде, могут продаваться в биоразлагаемом контейнере или упаковке, которая естественным образом разрушается со временем, если она случайно или намеренно попадает в воду или возле нее, тем самым понижая загрязнения водной среды. Упаковка для продуктов или напитков, такая, например, как “кольцевая” упаковка для верхнего захвата шести упаковок (банок), произведенная из биоразлагаемого материала, который естественным образом разрушается в воде, тем самым ликвидируя потенциальный источник загрязнения, вредный для рыб и других водных животных.
Другие варианты выполнения изобретения включают различные изделия водного оборудования, которые формируются из биоразлагаемого материала по изобретению. Например, буйки, используемые для обозначения ловушек для крабов или лобстеров, или буйки для ловли рыбы (“плавучие горшки”) могут быть выполнены из биологически разлагаемого материала, который разрушается, если находится в воде, в течение времени больше заданного периода. Таким образом, если такое изделие забыто, потеряно или выброшено, оно не останется в воде до бесконечности.
Другие варианты изобретения включают аттрактант или пищевой продукт для рыб и/или других водных животных, образованный из перевариваемого биоразлагаемого материала, содержащего природные углеводы и белки, как здесь описано. Другие варианты настоящего изобретения включают способы производства биоразлагаемого материала, содержащего природные углеводы и белки, и способы производства рыбной приманки и других изделий и объектов из такого материала.
Настоящее изобретение также включает способ производства рыболовной приманки или другого изделия из одного или нескольких биоразлагаемых материалов, описанных здесь. В вариантах выполнения способ по изобретению предпочтительно предусматривает смешивание компонентов в соответствии с одной или несколькими из описанных здесь рецептур, придание этой композиции формы рыболовной приманки с использованием форм и отверждение приманки для придания ей желаемой консистенции и других физических характеристик. В предпочтительных и иллюстративных вариантах данный способ использует такие же формы, какие используются в настоящее время для производства обычных пластиковых рыболовных приманок или иных пластиковых изделий. Способ предпочтительно предусматривает помещение текучей композиции в алюминиевую форму, охлаждение данной формы приблизительно до 4-30°C в течение менее чем 15 минут и извлечение отформованной приманки или другого изделия из формы. В зависимости от композиции может потребоваться отверждение при 4°C в течение 20-44 часов или даже при 50°C в течение 3-5 часов. Скорость отверждения материала, как установлено, прежде всего является функцией времени, температуры и относительной влажности окружающей среды, в которой осуществляется отверждение. Хотя, как установлено, примерные варианты, описанные здесь, обладают адекватными характеристиками отверждения в широком диапазоне типичных температур и влажности окружающей среды, может быть желательным в некоторых случаях предусмотреть оборудование для производства и отверждения с климат-контролем для ускорения производства. Альтернативно, время отверждения может устанавливаться в зависимости от имеющихся условий окружающей среды.
Процесс отверждения может контролироваться путем измерения потерь веса материала со временем и/или путем измерения твердости и/или других характеристик материала. При достижении желаемого состояния отверждения приманку или другой объект предпочтительно покрывают путем опрыскивания природным маслом для предотвращения пересушивания и для поддержания желаемого ощущения и консистенции материала. Альтернативно, объект упаковывают и герметизируют при достижении желаемого состояния отверждения для предотвращения пересушивания и поддержания желаемого ощущения и консистенции материала. В примерных вариантах настоящего изобретения приманки, имеющие приемлемое ощущение, прочность и биоразлагаемость, исследуют с использованием динамометра Instron, с нагрузкой 5 и скоростью 200 мм/мин. Приманка в форме ящерицы зажимается под шеей и над задними ногами. Этот материал, как обнаружено, выдерживает перед разрывом по меньшей мере 25%-ное удлинение. Наиболее предпочтительно материал выдерживает перед разрывом по меньшей мере 100%-ное удлинение. Разрыв предпочтительно возникает после того, как прикладываемая нагрузка достигает 0,5-1,5 кг. Исследование материала приманки на сжатие показывает твердость примерно 1-4 кг, предпочтительно от 1 до 2. Хотя могут быть получены материалы с характеристиками вне этих пределов путем увеличения или уменьшения уровня отверждения, эти характеристики, как установлено, могут обеспечить приманку, имеющую пригодное для использования сочетание ощущения, действия или “верткости” и долговечности на крючке, для хороших результатов рыбной ловли и для легкого биологического разложения и/или переваривания в пищеварительном тракте рыб или других животных.
Рыболовные приманки и другие изделия, полученные в соответствии с предпочтительными и примерными вариантами настоящего изобретения, могут быстро разлагаться в окружающей среде и в желудках рыб. Эксперименты, проведенные с использованием примерных вариантов настоящего изобретения, демонстрируют обычно скорость биоразложения за менее чем 3 месяца в окружающей среде, и заглоченные приманки исчезают из желудочно-кишечных трактов рыб в течение недели. Приманки- образцы в соответствии с примерными вариантами настоящего изобретения помещают в мешки Nitex с ячейками 1 мм и погружают в воду на глубину примерно 0,5 метра в прибрежной зоне водоема для разведения рыбы. Значения температуры находятся в пределах около 19-28°C, а в среднем температура составляет около 25°C. Через 45 часов некоторые приманки частично разлагаются, а другие в основном разлагаются. Через 10 дней некоторые приманки по существу полностью разлагаются, а другие в основном разлагаются. Через 30 дней все приманки по существу полностью разлагаются.
Настоящее изобретение далее поясняется со ссылкой на нижеследующие примеры:
Пример 1
Приготавливают препарат следующей композиции:
| Компонент |
Количество |
| Вода |
100 г |
| Сахароза |
30,3 г |
| Желатин (200-300 ед. Блум) |
3,0 г |
| Глицерин |
40,6 г |
| Каппа-каррагенан |
2,0 г |
| Хлорид калия (KCl) |
0,44 г |
| Сорбат калия |
0,48 г |
| Пищевой краситель |
Микроколичества |
Процедура изготовления: В емкость для перемешивания загружают воду, KCl и желатин при комнатной температуре. После тщательного перемешивания смесь нагревают с продолжением перемешивания. Затем добавляют каррагенан, а затем сахарозу, глицерин и пищевой краситель. Сорбат добавляют позже. Нагревание с перемешиванием продолжают до тех пор, пока температура не достигнет примерно 90°C. При этом все компоненты полностью растворятся в растворе, а смесь приобретает гомогенный вид. Горячий раствор вводят шприцом в теплые алюминиевые формы, имеющие форму рыбы. Затем формы помещают в ледяную баню примерно на 10 минут для быстрого гелеобразования. Отвержденные приманки извлекают из форм. Свежеприготовленные приманки являются хрупкими и плохо насаживаются на крючок. Отверждение либо путем хранения в холодильнике в течение трех дней, либо путем нагревания при 50°C в течение 4-5 час дает более гибкую, прочную приманку. Однако полученная приманка уменьшается примерно на 50% по сравнению со свежей приманкой.
В воде эта приманка становится скользкой, начинает набухать и становится более “верткой”. Этот препарат имеет температуру плавления выше 60°C. Когда окуням принудительно вводят эти приманки, содержимое их желудков через неделю не показывает никаких признаков приманки.
Пример 2
Приготавливают препарат следующей композиции:
| Компонент |
Количество |
| Вода |
100 г |
| Сахароза |
20 г |
| Желатин (200-300 ед. Блум) |
4,0 г |
| Глицерин |
20 г |
| Каппа-каррагенан |
2,75 г |
| Хлорид калия (KCl) |
0,66 г |
| Сорбат калия |
0,5 г |
| Пищевой краситель |
Микроколичества |
Процедура изготовления: В емкость для перемешивания загружают воду, KCl, желатин и каррагенан при комнатной температуре. После тщательного перемешивания смесь нагревают с продолжением перемешивания. После того, как температура достигает 65°C, добавляют сахарозу, глицерин, сорбат и пищевой краситель. Нагревание с перемешиванием продолжают до тех пор, пока температура не достигнет примерно 85°C. При этом все компоненты полностью растворятся в растворе, а смесь приобретает гомогенный вид. Горячий раствор вводят шприцом в теплые алюминиевые формы с получением приманок, имеющих форму рыбы и форму ящерицы. Формы помещают в ледяную баню примерно на 10 минут для быстрого получения твердого геля. Отвержденные приманки извлекают из форм. Свежеприготовленные приманки являются хрупкими и плохо насаживаются на крючок. Отверждение либо путем хранения в холодильнике в течение двух дней, либо путем нагревания при 50°C в течение 4-5 часов, дает более гибкую, прочную приманку. Однако приманка уменьшается примерно на 50%.
В воде эта приманка становится скользкой, начинает набухать и становится более “верткой”. Этот препарат имеет температуру плавления выше 60°C. Имеющая форму рыбы приманка оставалась на крючке в течение 18 забросов, во время осуществления рыбной ловли. На вторую приманку, имеющую форму рыбы, поймали маленького окуня.
Пример 3
Приготавливают препарат следующей композиции:
| Компонент |
Количество |
| Вода |
105 г |
| Сахароза |
50 г |
| Желатин (200-300 ед. Блум) |
10,0 г |
| Каппа-каррагенан |
3,0 г |
| Хлорид калия (KCl) |
0,6 г |
| Сорбат калия |
0,5 г |
| Порошкообразный корм для рыб |
1,0 г |
| Пищевой краситель |
Микроколичества |
Процедура изготовления: В емкость для перемешивания загружают воду, KCl и желатин, которые перемешивают при комнатной температуре. После тщательного перемешивания смесь нагревают с продолжением перемешивания. После того, как температура достигает примерно 65°C, добавляют сахарозу, каррагенан и пищевой краситель. Нагревание с перемешиванием продолжают до тех пор, пока температура не достигнет примерно 85°C, после чего добавляют сорбат и корм для рыб. Когда все компоненты полностью растворятся в растворе, и смесь приобретет гомогенный вид, горячий раствор вводят шприцом в теплые алюминиевые формы с получением приманок, имеющих форму рыбы и форму ящерицы. Формы помещают в ледяную баню примерно на 10 минут для быстрого получения твердого геля. Отвержденные приманки извлекают из форм. Свежеприготовленные приманки являются хрупкими и плохо насаживаются на крючок. Отверждение путем хранения в холодильнике в течение двух дней дает более гибкую, прочную приманку. Хотя приманка уменьшается примерно на 50%, она хорошо насаживается на крючок и набухает при гидратировании во время рыбной ловли.
Девять приманок в форме ящерицы использовали при рыбной ловле. Приманки разместили на крючке, наживив их по-техасски. На семь из девяти используемых приманок клюнула рыба и было подсечено 6 окуней. Двух подсеченных окуней вытянули, а четыре (как утверждается, “большие”) сорвались.
Пример 4
Приготавливают препарат следующей композиции:
| Компонент |
Количество |
| Вода |
100 г |
| Сахароза |
50 г |
| Желатин (200-300 ед. Блум) |
15,6 г |
| Каппа-каррагенан |
3,0 г |
| Хлорид калия (KCl) |
0,6 г |
| Сорбат калия |
0,6 г |
| Порошкообразный корм для рыб |
2,0 г |
| Пищевой краситель |
Микроколичества |
Процедура изготовления: Воду доводят до кипения, в то время как другие ингредиенты смешивают в сухом состоянии. В емкость для перемешивания загружают горячую воду. Сухие ингредиенты добавляют в горячую воду при достаточном перемешивании. Добавляют пищевой краситель. Нагревание с перемешиванием продолжают до тех пор, пока температура не достигнет примерно 90°C. Когда все компоненты полностью растворятся в растворе, и смесь приобретет гомогенный вид, горячий раствор вводят шприцом в теплые алюминиевые формы с получением приманок, имеющих форму рыбы и форму ящерицы. Формы помещают в ледяную баню примерно на 10 минут для быстрого получения твердого геля. Отвержденные приманки извлекают из форм. Свежеприготовленные приманки являются хрупкими и плохо насаживаются на крючок. Отверждение путем хранения в холодильнике в течение 22 час дает более гибкую, прочную приманку. Это приманка уменьшается по размеру примерно на 20% и по весу на 30%.
Термический анализ с помощью дифференциальной сканирующей калориметрии не показал никаких пиков плавления ниже 100°C (212°F). Приманка, хранившаяся в течение более двух дней при 60°C (150°F), сохранила свою форму. Исследования с помощью динамометра Инстрон показали, что приманки имеют прочность, подобную каучуковым приманкам, но они менее гибкие.
Приманка хорошо насаживается на крючок, становится скользкой, когда увлажняется, набухает при гидратации и становится более “верткой” во время рыбной ловли. В зависимости от длительности и силы каждого заброса приманки в виде ящерицы, как правило, выдерживают 10-20 забросов перед потерей “ноги” или “хвоста”.
Биоразлагаемость данной композиции оценивали путем помещения приманок, имеющих форму рыбы, в пористый контейнер, который затем помещали в бак на десять галлонов, содержащий морскую воду. Насос без фильтра обеспечивал легкое перемешивание воды. Этот бак был сконструирован для моделирования настоящей водной окружающей среды. Вторые исследования “разрушения” осуществляли путем помещения двух приманок в форме ящерицы в это же устройство. Отслеживая изменение свойств приманки со временем, можно было увидеть, что через 1 месяц приманки или компоненты приманок больше не обнаруживались.
Пример 5
Приготавливают препарат следующей композиции:
| Компонент |
Количество |
| Вода |
40 г |
| Сахароза |
10 г |
| Желатин (200-300 ед. Блум) |
14,2 г |
| Агар |
2,0 г |
| Хлорид кальция (CaCl2) |
0,5 г |
| Крахмал |
2,0 г |
| Кукурузный сироп |
25 г |
| Глицерин |
2 г |
| Пищевой краситель |
Микроколичества |
Процедура изготовления: Все ингредиенты взвешивают перед обработкой. Воду доводят до кипения, в то время как другие ингредиенты смешивают в сухом состоянии. В емкость для перемешивания загружают горячую воду. Сухие ингредиенты добавляют в горячую воду при достаточном перемешивании. Добавляют пищевой краситель. Нагревание с перемешиванием продолжают до тех пор, пока температура не достигнет примерно 90°C. Когда все компоненты полностью растворятся в растворе, и смесь приобретет гомогенный вид, горячий раствор вводят шприцом в алюминиевые формы с получением приманок, имеющих форму рыбы и форму ящерицы. Формы помещают в холодильник примерно на 15 минут для быстрого получения твердого геля. Отвержденные приманки удаляют из форм. Свежеприготовленные приманки являются хрупкими и плохо удерживаются на крючке. Отверждение путем хранения при температуре окружающей среды в течение 48 час дает прочную, но при этом все еще гибкую приманку. Эта приманка уменьшается примерно на 10% по размеру и на 20% по весу.
Анализ осуществляли путем выдерживания приманок в контролируемой окружающей среде в течение двух часов при температуре 150°F. Приманка выдерживает эту температуру без плавления. Приманка хорошо насаживается на крючок, становится скользкой, когда увлажняется, набухает при гидратации и становится более “верткой” во время рыбной ловли. Прочность приманки на разрыв сравнима с прочностью пластиковых приманок, имеющихся в продаже, при исследовании на Инстроне фирмы Universal Testing Instrument с использованием ручных зажимов.
Пример 6
Приготавливают препарат следующей композиции:
| Компонент |
Количество |
| Вода |
40 г |
| Сахароза |
10 г |
| Желатин (200-300 ед. Блум) |
14,2 г |
| Альгинат натрия |
3,0 г |
| Хлорид кальция (CaCl2) |
0,5 г |
| Крахмал |
2,0 г |
| Метафосфат натрия |
1,0 г |
| Кукурузный сироп |
25 г |
| Глицерин |
2 г |
| Пищевой краситель |
Микроколичества |
Процедура изготовления: Все ингредиенты взвешивают перед обработкой. Воду доводят до кипения, в то время как другие ингредиенты смешивают в сухом состоянии. В емкость для перемешивания загружают горячую воду. Сухие ингредиенты добавляют в горячую воду при достаточном перемешивании. Добавляют пищевой краситель. Нагревание с перемешиванием продолжают, пока температура не достигнет примерно 90°C. Когда все компоненты полностью растворятся в растворе, а смесь приобретет гомогенный вид, горячий раствор вводят шприцом в алюминиевые формы, с получением приманок, имеющих форму рыбы и форму ящерицы. Формы помещают в холодильник примерно на 15 минут для быстрого получения твердого геля. Отвержденные приманки извлекают из форм. Свежеприготовленные приманки являются хрупкими и плохо удерживаются на крючке. Отверждение путем хранения при температуре окружающей среды зависит от влажности и может продолжаться примерно 10-30 час, и дает прочную, но при этом гибкую приманку. Эта приманка уменьшается примерно на 10% по размеру и на 15% по весу.
Анализ осуществляли путем выдерживания приманки в контролируемой окружающей среде в течение двух часов, при температуре 170°F. Приманка выдерживает эту температуру без плавления. Приманка хорошо насаживается на крючок, становится скользкой, когда увлажняется, набухает при гидратации и становится более “верткой” во время рыбной ловли. Приманку насаживали на крючок по-техасски. Затем приманку забрасывали в воду и вытаскивали. Это повторяли до тех пор, пока приманка не ломалась и/или не отсоединялась. Приманка не отсоединялась в течение более чем 20 забросов.
Приготавливают приманки, отлитые из форм в виде ящерицы. От головы до начала хвоста они имеют 5,5 дюйма в длину и сужаются в этом направлении. Голова имеет длину 1,25 дюйма, средняя часть корпуса – 1,75 дюйма, а хвост – 2,50 дюйма. Приманка помещается в верхние и нижние зажимы динамометра Инстрон. Верхний зажим прикрепляют к тому концу головы, который соединяется с туловищем. Нижний зажим прикрепляют к тому концу туловища, к которому присоединен хвост. Для исследования прочности на разрыв используют 50 кг преобразователь нагрузки. Предел нагрузки устанавливают на значении пять для уменьшения разброса результатов исследования. Рулонный самописец используют для регистрации данных. При исследовании используют отношение скоростей движения ленты и поперечной скорости самописца 1:1. Поперечная головка перемещается со скоростью 50 мм в минуту. Прочность приманки на разрыв сравнима с прочностью пластиковой приманки, имеющейся в продаже, при исследовании на динамометре Инстрон фирмы Universal Testing Instrument с использованием ручных зажимов. Пластиковая приманка выдерживает нагрузку 0,98 кг и растягивается до 123,6 мм перед разрывом, тогда как исследуемая приманка способна переносить нагрузку 1,08 кг и растягиваться до 119,7 мм перед разрывом.
Пример 7
Пластиковые приманки из типичных поливинилхлоридных материалов часто обнаруживают в желудках большеротых американских черных окуней (Micropterus salmoides) из обычно отлавливаемых популяций. Хотя нет документированных исследований относительно того, что заглатывание и сохранение пластиковой приманки в желудке может быть вредным для большеротых американских черных окуней, ясно, что удаление или переваривание продукта уменьшило бы вероятность запора желудка или кишечника. Препараты приманок (пример 4 и 6) принудительно вводили большеротым американским черным окуням для определения, разрушаются или удаляются ли приманки из желудка рыбы. В двух экспериментах с использованием 6-8 рыб в каждом приманки, помещенные в желудки рыб, полностью удалялись из желудка в пределах 3-5 дней. Не было отмечено никаких отрицательных реакций со стороны большеротых американских черных окуней.
Пример 8
Приготавливают препарат следующей композиции:
| Компонент |
Количество |
| Вода |
513 г |
| Глицерин |
100 г |
| Сахароза |
150 г |
| Желатин (200-300 ед. Блум) |
150 г |
| Каппа-каррагенан |
15 г |
| Хлорид калия (KCl) |
3,5 г |
| Сорбат калия |
3,0 г |
| Корм для рыб, порошок |
7,5 г |
| Блестки |
5,0 г |
| Пищевой краситель |
15-20 капель |
Процедура изготовления: Емкость для перемешивания загружают водой и глицерином. После тщательного перемешивания раствор нагревают примерно до температуры кипения. Другие ингредиенты смешивают в сухом состоянии. Сухую смесь ингредиентов добавляют в один прием в горячий раствор вода/глицерин при достаточном перемешивании. Раствор нагревают в закрытой емкости до температуры 90-95°C. При этом смесь становится гомогенной и текучей. Горячий раствор вводят вручную шприцом в охлажденные формы (например, в форме ящерицы, в форме червя). Гелеобразование происходит почти мгновенно. Прочность геля зависит от времени выдерживания и температуры, увеличиваясь по мере увеличения времени и понижения температуры. Приманки подвешивают вертикально для отверждения при 23°C и 35-40% относительной влажности в течение приблизительно 3 ч. Отвержденные приманки опрыскивают растительным маслом и помещают в пластиковые мешки. Приманки являются прочными, гибкими и удерживаются на крючке во время рыбной ловли. Приманки выдерживают при температуре 130°C. Неформальная рыбная ловля привела к поимке окуня.
Пример 9
Приготавливают препарат следующей композиции:
| Компонент |
Количество |
| Вода |
102 г |
| Сахароза |
50 г |
| Желатин (200-300 ед. Блум) |
30 г |
| Каппа-каррагенан |
3 г |
| Смола плодов рожкового дерева |
0,5 г |
| Хлорид калия (KCl) |
0,75 г |
| Сорбат калия |
0,6 г |
| Корм для рыб, порошок |
1,5 г |
| Блестки |
1,0 г |
| Пищевой краситель |
5-10 капель |
Процедура изготовления: В емкость для перемешивания загружают воду с температурой около точки кипения. Другие ингредиенты смешивают в сухом состоянии. Сухую смесь ингредиентов добавляют в один прием в горячую воду при достаточном перемешивании. Полученная смесь является гораздо более густой, чем смесь по примеру 8. Раствор нагревают в закрытой емкости до 90-95°C. При этом смесь становится гомогенной и доступной для инжектирования (она по-прежнему является более густой, чем в примере 8, что затрудняет работу с ней). Горячий раствор вводят вручную шприцом в охлажденные формы (например, в форме ящерицы, в форме червя). Гелеобразование происходит почти мгновенно. Прочность геля зависит от времени выдерживания и температуры, повышаясь при увеличении времени и при понижении температуры. Приманки выкладывают на плоскость для отверждения при 24°C и 50% относительной влажности в течение приблизительно 6-8 ч. Отвержденные приманки опрыскивают растительным маслом и помещают в пластиковые мешки. Приманки являются прочными, гибкими и удерживаются на крючке во время рыбной ловли. Приманки выдерживают при температуре 130°C. Неформальная рыбная ловля привела к поимке окуня.
Пример 10
Приготавливают препарат следующей композиции:
| Компонент |
Количество |
| Вода |
5 галлон |
| Сахароза |
9,2 кг |
| Желатин (200-300 ед. Блум) |
2,9 кг |
| Каппа-каррагенан |
544 г |
| Хлорид калия (KCl) |
114 г |
| Сорбат калия |
114 г |
| Корм для рыб, порошок |
151 г |
| Блестки |
151 г |
| Пищевой краситель |
58 мл |
Процедура изготовления: Производство приманок с использованием указанного выше препарата осуществляется на коммерческом оборудовании для производства мягких приманок, с целью исследования возможности масштабирования способа. Емкость для смешивания представляет собой 15-галлоновый контейнер из нержавеющей стали, в котором можно повышать давление. Эта емкость также имеет клапан, чтобы позволить инжекцию образца в формы. Емкость снабжена ленточным нагревателем. Таким образом, данная емкость служит для нагрева, перемешивания и инжекции текучего материала. В емкость загружают воду, которую нагревают до 60-70°C. Остальные ингредиенты смешивают в сухом состоянии. Сухую смесь ингредиентов добавляют в один прием в теплую воду при достаточном перемешивании. Раствор нагревают в закрытой емкости до минимальной температуры 85°C (температуру повышают во время производства). При этом смесь становится гомогенной и текучей. Горячий раствор инжектируют механически, с использованием шлангов высокого давления, в охлажденные коммерческие формы (то есть в виде ящериц). Давление инжекции и время выдерживания регулируют для получения неповрежденных ящериц без переполнения форм (то есть, без выплескивания материала). Использовав часть партии, изготовили 500-600 ящериц, которые выкладывали на плоскости поддонов для отверждения. Свежие приманки являются хрупкими и должны отверждаться. Условия отверждения представляют собой 24°C и 15-20% относительной влажности в течение 8-10 час. Эти условия, на самом деле, являются слишком грубыми, и приманки в некоторой степени пересушиваются. Отвержденные приманки опрыскивают растительным маслом и упаковывают в пластиковые мешки (10 ящериц/мешок). Прочность отвержденных приманок является превосходной, но гибкость могла бы быть и лучше. Однако главной целью данного эксперимента была оценка потенциальных проблем при промышленном производстве. Стало ясно, что биоразлагаемые приманки по изобретению могут использоваться вместе с оборудованием, используемым в настоящее время для изготовления пластиковых приманок, без значительных трудностей.
Пример 11
Препарат, в пропорциях примера 6, также масштабируется для изготовления приманок в промышленном масштабе. Более высокая вязкость данного препарата требует более высоких давлений во время инжекции, что вызывает некоторое выплескивание материала. Различные препараты требуют, каждый, уникальной оптимизации условий обработки. Успешно изготавливают приманки разнообразных форм. Опять же, проблемы, связанные с масштабированием, решаются и не должны вызывать значительных трудностей.
Пример 12
Приготавливают препарат следующей композиции:
| Компонент |
Количество |
| Вода |
63,0 мл |
| Кукурузный сироп |
35 г |
| Глицерин |
2,3 г |
| Сахароза |
10 г |
| Желатин (200-300 ед. Блум) |
14,2 г |
| Альгинат натрия |
3,0 г |
| Хлорид кальция (CaCl2) |
0,4 г |
| Крахмал |
2,0 г |
| Метафосфат натрия |
1,0 г |
| Смола плодов рожкового дерева |
1,0 г |
| Бензоат натрия |
1,0 г |
| Пищевой краситель |
Микроколичества |
| Ароматизирующие вещества |
Микроколичества |
Процедура изготовления: Все ингредиенты взвешивают перед обработкой. Воду доводят до кипения, тогда как другие ингредиенты смешивают в сухом состоянии. В емкость для перемешивания загружают горячую воду. Сухие ингредиенты добавляют в горячую воду, при достаточном перемешивании. Добавляют пищевой краситель. Нагревание с перемешиванием продолжают до тех пор, пока температура не достигнет примерно 90°C. Когда все компоненты полностью растворяются в растворе, а смесь приобретает гомогенный вид, горячий раствор вводят шприцом в алюминиевые формы с получением приманок, имеющих форму рыбы и форму ящерицы. Формы помещают в холодильник примерно на 15 минут, для быстрого получения твердого геля. Отвержденные приманки извлекают из форм. Отверждение путем хранения при температуре окружающей среды зависит от влажности и может составлять примерно 10-30 час и дает прочную, но при этом все еще гибкую приманку. Эта приманка уменьшается примерно на 10% по размеру и на 15% по весу.
Анализ осуществляют путем выдерживания приманки в контролируемой окружающей среде в течение двух часов при температуре 170°F. Приманка выдерживает эту температуру без плавления. Приманка хорошо насаживается на крючок, становится скользкой, когда увлажняется, набухает при гидратации и становится более “верткой” во время рыбной ловли. Приманку насаживают на крючок по-техасски. Затем приманку забрасывают в воду и вытаскивают. Это повторяют, пока приманка не сломается и/или не отсоединится. Эта приманка не отсоединялась в течение более чем 20 забросов.
Изготавливают приманки, отлитые в форме ящерицы. От головы до начала хвоста они имеют длину 5,5 дюйма и сужаются в этом направлении. Голова имеет длину 1,25 дюйма, средняя часть корпуса – 1,75 дюйма, и хвост – 2,50 дюйма. Приманку помещают в верхние и нижние зажимы динамометра Инстрон. Верхний зажим прикрепляют к тому концу головы, где она соединяется с туловищем. Нижний зажим прикрепляют к тому концу туловища, где оно соединяется с хвостом. Для исследования прочности на разрыв используют 50 кг преобразователь нагрузки. Пределы нагрузки устанавливают на значении пять для уменьшения разброса при исследовании. Рулонный самописец используют для регистрации данных. При исследовании используют отношение скоростей движения ленты и поперечной скорости самописца 1:1. Поперечная головка перемещается со скоростью 50 мм в минуту. Прочность приманки на разрыв является сравнимой с прочностью пластиковой приманки, имеющейся в продаже, при исследовании на динамометре Инстрон фирмы Universal Testing Instrument с использованием ручных зажимов. Перед разрывом пластиковая приманка выдерживает нагрузку 0,98 кг и растягивается до 123,6 мм, в то время как исследуемая приманка перед разрывом способна переносить нагрузку 1,08 кг и растягивается до 119,7 мм. Анализ профиля текстуры также завершают с использованием Инстрона фирмы Universal Testing Instrument. В профиле идентифицируют два фактора: твердость и упругость. Пластиковая приманка имеет показатель твердости 1,05 и показатель упругости 100%. Исследуемая приманка имеет показатель твердости 1,25 и показатель упругости 91%.
Хотя настоящее изобретение описано со ссылками на предпочтительные и примерные варианты выполнения, специалисту в данной области понятно, что возможны модификации, дополнения и исключения, находящиеся в объеме настоящего изобретения, как он определен следующей формулой изобретения.
Формула изобретения
1. Биоразлагаемый материал в виде геля, содержащего от 30 до 70% водорастворимого углевода, такого как сахарид и/или крахмал; от 3 до 35% природного белка, такого как желатин, и воду, при этом указанный гель является гибким и эластичным, выдерживающим по меньшей мере 25%-ное растяжение перед разрывом.
2. Биоразлагаемый материал по п.1, дополнительно содержащий от 2 до 6% водорастворимой природной смолы.
3. Биоразлагаемый материал по п.1 в виде покрытия с замедленным высвобождением.
4. Биоразлагаемый материал по п.1, в котором указанный сахарид представляет собой глюкозу, фруктозу, сахарозу, лактозу, мальтозу, целлобиозу, а указанный крахмал представляет собой кукурузный крахмал, пшеничный крахмал, рисовый крахмал и/или картофельный крахмал.
5. Биоразлагаемый материал по п.2, в котором указанная водорастворимая природная смола представляет собой ксантановую смолу, каррагенан, гуаровую смолу, смолу плодов рожкового дерева, арабиногалактаны, аравийскую камедь, агар и/или пектин.
6. Биоразлагаемый материал по любому из пп.1-5, дополнительно содержащий по меньшей мере один рыбный аттрактант.
7. Биоразлагаемый материал по п.6, в котором рыбный аттрактант включает гидролизованный рыбный белок, нейтральные L-аминокислоты, бетаин, нуклеотиды, инозин, инозин-5-монофосфат, сульфониевые соединения, диметилфетин, диметилпропиофетин и/или красители пищевого качества.
8. Биоразлагаемый материал по п.1, содержащий сахарозу, желатин, глицерин, каппа-каррагенан и хлорид калия.
9. Биоразлагаемый материал по п.1, содержащий сахарозу, желатин, агар, хлорид кальция, крахмал, кукурузный сироп и глицерин.
10. Биоразлагаемый материал по п.1, содержащий сахарозу, желатин, альгинат натрия, хлорид кальция, крахмал, метафосфат натрия, кукурузный сироп, глицерин и смолу плодов рожкового дерева.
11. Биоразлагаемый материал по п.1, содержащий сахарозу, желатин, каппа-каррагенан и хлорид калия.
12. Рыболовная приманка, содержащая биоразлагаемый материал по любому из пп.1-11.
13. Корм для рыб, содержащий биоразлагаемый материал по по любому из пп.1-11.
РИСУНКИ
MM4A – Досрочное прекращение действия патента СССР или патента Российской Федерации на изобретение из-за неуплаты в установленный срок пошлины за поддержание патента в силе
Дата прекращения действия патента: 04.09.2009
Извещение опубликовано: 27.07.2010 БИ: 21/2010
|
|