|
|
(21), (22) Заявка: 2007104740/13, 07.02.2007
(24) Дата начала отсчета срока действия патента:
07.02.2007
(46) Опубликовано: 20.09.2008
(56) Список документов, цитированных в отчете о поиске:
RU 2134515 С1, 20.08.1999. RU 2084138 С1, 20.07.1997. RU1792881 А2, 15.05.1992.
Адрес для переписки:
410054, г.Саратов, Политехническая, 77, СГТУ ЦТТ (Сектор ПЗОИС)
|
(72) Автор(ы):
Вязовский Валерий Владимирович (RU), Коблов Александр Иванович (RU), Шумарин Виктор Прокофьевич (RU), Скрипкин Александр Александрович (RU)
(73) Патентообладатель(и):
Государственное образовательное учреждение высшего профессионального образования Саратовский государственный технический университет (СГТУ) (RU)
|
(54) СПОСОБ И УСТРОЙСТВО ДЛЯ ПОЛУЧЕНИЯ МАСЛА
(57) Реферат:
Изобретение относится к области пищевой промышленности. Способ заключается в том, что многофакторную обработку продукта осуществляют в одном технологическом объеме, что позволяет проводить обработку биологических объектов в макромасштабе маломощными УЗ- и СВЧ-колебаниями, которые не изменяют свойства продукта. Стерилизацию в способе осуществляют с помощью ультрафиолетового излучения, генерированного от одного источника – диода Ганна. Пастеризацию в способе осуществляют с помощью инфракрасного излучения, генерированного от трубчатого резистивного нагревателя. Сущность устройства для получения масла из сливок заключается в том, что лопасти выполнены из набора пластин полупроводникового материала, способного под электрическим напряжением к генерированию УЗ- и СВЧ-колебаний. В устройство введены: центрифугирующая система, трубчатый резистивный нагреватель, водоохлаждающая рубашка, устройство для получения ультрафиолетового излучения. При этом центрифугирующая система, состоящая из цилиндра и диска, установлена на вращающем валу, расположенном по оси симметрии емкости, трубчатый резистивный нагреватель выполнен в виде змеевика, расположенного по внутренней стенке емкости, водоохлаждающая рубашка охватывает емкость с внешней стороны по всему периметру, устройство для получения ультрафиолетового излучения, расположенное над центрифугирующей системой, выполнено в виде тороида, через отверстие которого пропущен трубопровод для подачи в емкость обрабатываемого продукта. Это позволяет получать сливочное масло в масштабах промышленного производства с высокими качественными показателями при низких энергозатратах. 2 н.п. ф-лы, 1 ил.
Изобретение относится к товарам народного потребления и может быть использовано для получения масла на предприятиях по производству молочной продукции.
Известен способ получения масла из сливок с помощью механического воздействия лопастей на сливки.
Недостатком известного способа получения масла из сливок является механическая деформация жировых шариков при удалении белковой оболочки, что приводит к снижению качества масла.
Наиболее близким по технической сущности и достигаемому результату является способ и устройство для получения масла из сливок. В способе наряду с механическим воздействием лопастей на сливки воздействуют дополнительно синхронно и синфазно ультразвуковыми (УЗ), сверхвысокочастотными (СВЧ) колебаниями. Такое многофакторное механическое воздействие, УЗ и СВЧ синхронное (от одного источника) воздействие на белковую оболочку позволило разрушить ее без деформации жировых шариков и повысить эффективность уничтожения бактерий, что повысило качество масла за счет увеличения срока его хранения. Кроме того, данный способ позволил снизить энергозатраты.
Данный способ предназначен для получения масла в домашних условиях, так как он предполагает воздействие на обрабатываемый продукт, взятый в малых объемах (микрообъемах), и не позволяет производить обработку биологических объектов в макромасштабе мощными УЗ- и СВЧ-колебаниями, ввиду того, что возможно изменение их свойств, что не позволяет получить продукт с заданными свойствами высокого качества и в результате не позволяет использовать этот способ на промышленных предприятиях по производству молочной продукции.
В том же патенте описано устройство для получения масла, наиболее близкое к предлагаемому. Это устройство содержит емкость с крышкой, в которой расположены средства для вакуумирования, лопасти для механического воздействие на сливки, которые выполнены из набора пластин полупроводникового материала с экранами, пластины механически собраны в виде стержней, а электрически соединены по схеме диодов Ганна, экраны для СВЧ- и УЗ-колебаний расположены на лопастях так, чтобы во время работы устройства относительно оси их вращения создавался максимально-крутящий момент, а часть вакуум-провода расположена на крышке бочка коаксиально стержней с возможностью совместного вращения. Это устройство по причинам, изложенным выше при описании известного способа, работает удовлетворительно только при обработке продукта, взятого в малых объемах.
Задачей предлагаемого изобретения является разработка способа и устройства получения масла в масштабах промышленного производства с высокими качественными показателями готового продукта при низких энергозатратах.
Для получения такого технического результата в предлагаемом способе получения масла из сливок, включающем сбивание сливок путем воздействия на них механически посредством вращающихся лопастей и синхронно, синфазно ультразвуковыми (УЗ), сверхвысокочастотными (СВЧ) колебаниями и дезодорацию сливок за счет вакуумирования емкости, занимаемой ими, перед сбиванием сливки предварительно с одновременным центрофугированием стерилизуют ультрафиолетовым излучением, затем охлаждают до температуры, равной 10-12°С, при которой выдерживают в течение 30-40 минут, после чего сливки дважды пастеризуют при температуре 85-93°С для чего на них воздействуют инфракрасным излучением, между двумя пастеризациями сливок производят их дезодорацию, а после второй пастеризации сливки охлаждают до температуры 3-7°С, при которой выдерживают 50-53 минуты, после чего осуществляют процесс сбивания сливок и получение готового продукта, который перед его отделением от побочных продуктов и выгрузкой стерилизуют ультрафиолетовым излучением.
Отличительными признаками предлагаемого способа являются введение в технологический процесс получения масла следующих операций: стерилизации УФ-излучением в начале процесса обрабатываемого продукта (сливок); двух пастеризаций обрабатываемого продукта при температуре 85-93°С, воздействуя на сливки инфракрасным излучением, при этом перед первой пастеризацией сливки охлаждают до 10°С и выдерживают при этой температуре в течение 30-35 минут, а перед второй пастеризацией сливок производят дезодорацию, а после пастеризации сливки охлаждают до температуры 3-7°С, при которой выдерживают в течение 50-55 минут.
В предложенном способе осуществляют многофакторную обработку продукта в одном технологическом объеме, что позволяет проводить обработку биологических объектов в макромасштабе маломощными УЗ- и СВЧ-колебаниями, которые не изменяют свойства продукта, а в результате позволяют получить продукт с заданными свойствами и высокого качества. Таким образом предложенный способ возможно использовать на промышленных предприятиях.
Поставленная задача также решается тем, что в предложенном устройстве для получения масла из сливок, содержащем емкость со съемной крышкой, устройство для вакуумирования, включающее насосы, вмонтированные в крышку этого устройства, лопасти, расположенные внутри емкости и выполненные из набора пластин полупроводникового материала с экранами, при этом пластины механически собраны в виде стержней и электрически соединены по схеме диодов Ганна, а экраны для СВЧ- и УЗ-колебаний расположены на лопастях так, чтобы во время работы устройства относительно оси их вращения создавался максимально крутящий момент, введены центрифугирующая система, трубчатый резистивный нагреватель, водоохлаждающая рубашка, устройство для получения ультрафиолетового излучения, при этом центрифугирующая система, состоящая из цилиндра и диска, установлена на вращающем валу, расположенном по оси симметрии емкости, трубчатый резистивный нагреватель выполнен в виде змеевика, расположенной на внутренней стенки емкости, водоохлаждающая рубашка охватывает емкость с внешней стороны по всему периметру, устройство для получения ультрафиолетового излучения, расположенное над центрифугирующей системой, выполнено в виде тороида, через отверстие которого пропущена трубка для подачи в емкость обрабатываемого продукта.
Описанная конструкция устройства позволяет осуществить предложенный способ получения масла и достичь вышеназванный технический результат.
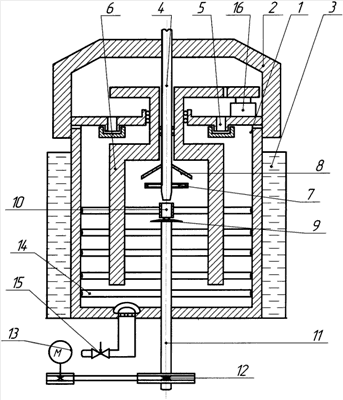
Предлагаемое устройство иллюстрируется чертежом, на котором изображен продольный разрез устройства.
Устройство имеет емкость 1 с крышкой 2, электродвигатель 16, расположенный в крышке, водоохлаждающую рубашку 3, которая охватывает емкость 1 с внешней стороны по всему периметру, трубопровод 4 для подачи сливок и промывки готового продукта, два двухроторных насоса 5 (типа РУТ), встроенные в крышку 2, лопасти 6, расположенные внутри емкости 1, устройство для получения ультрафиолетового излучения, выполненного в виде тороида 7 с отражателями 8, центрифугирующую систему, состоящую из диска 9 и цилиндра 10 и которая расположена на вращающем валу 11, ременную передачу 12, электродвигатель 13, трубчатый резистивный нагреватель для генерации инфракрасного излучения, выполненный в виде змеевика 14, расположенный по внутренней стенки емкости 1. Трубопровод 4 пропущен через тороид 8 и входит в цилиндр 10.
Предлагаемый способ осуществляют в следующей последовательности. На первой стадии сливки по трубопроводу 14 подают на центрифугирующую систему, состоящую из цилиндра 10 и диска 9, при этом сливки, проходя через цилиндр 10, попадают на диск 9, который вращается при помощи вала 11. В результате происходит разделение потока сливок на мелкие частицы (разбрызгивание), а под действием центробежной силы, создаваемой вращающим диском 9, обрабатываемый продукт перемещается от центра емкости к ее периферии, одновременно с этим включают устройство для получения ультрафиолетового излучения, ультрафиолетовые лучи с =2265-3287Å, излучаемые тороидом 7, облучают обрабатываемый продукт по всему объему емкости 1. В результате сливки стерилизуют, происходит уничтожение микроорганизмов в сливках и одновременно с этим образуется витамин D. После заполнения емкости обрабатываемым продуктом центрифугирующую систему отключают и осуществляют охлаждение обрабатываемого продукта до температуры, равной 10-12°С в течение 30-35 минут. Охлаждение производят с помощью водоохлаждающей рубашки, в которою от холодильной установки (на чертеже не показана) поступает вода.
Следующей операцией является пастеризация обрабатываемого продукта для его обеззараживания, которое происходит при температуре 85-90°С в течение 10-12 минут. Для этого включают трубчатый резистивный нагреватель инфракрасного облучения 14. Благодаря хорошей проницаемости инфракрасных лучей через толщу продукта они равномерно нагревают сливки, а витамины в обрабатываемом продукте сохраняются. Затем производят дезодорацию сливок для удаления из них пахучих веществ, для чего включают вакуумные насосы 5, откачка осуществляется до вакуума Р=(4-7)·104 Па. После этого осуществляют повторную пастеризацию сливок в течение 6 минут при температуре 91-93°С, для чего включают трубчатый резистивный нагреватель 14. Затем осуществляют повторное охлаждение обрабатываемого продукта до температуры, равной 3-7°С и при этой температуре сливки выдерживают в течение 50 минут. При этой температуре происходит затвердевание глицеридов, из которых состоят жировые шарики сливок.
Следующая операция – это сбивание масла. Температура сливок при этом должна быть не выше 14°С. На обрабатываемый продукт воздействуют механически вращающими лопастями 6 и дополнительно синхронно и синфазно ультразвуковыми (УЗ) и сверхвысокочастотными (СВЧ) колебаниями для чего лопасти 6 сделаны из набора пластин полупроводникового материала с экранами, причем пластины собраны в виде стержней и электрически соединены по схеме диодов Ганна. Генерируемые колебания мягко воздействуют на жировые шарики, разрушая только белковую оболочку оставляют жировой шарик в целости. Синхронное и синфазное воздействие СВЧ- и УЗ-колебаниями на обрабатываемый продукт позволило снизить число оборотов со 150-170 до 8-10 об/мин, что значительно повышает качество масла и позволяет снизить энергозатраты. После этой операции осуществляют слив пахты.
Слив пахты производится по встроенному трубопроводу, выполненному в дне емкости 1. В это отверстие вставлена решетка, которая закрывается клапаном. Пахта вместе с остатками белковой оболочки выводится из емкости 1, при этом клапан, закрывающий решетку, и вентиль 15 открывают.
После удаления пахты из емкости 1 осуществляют промывку полученного масла в воде. Воду в емкость 1 подают по трубопроводу 4, включают лопасти 6 и методом механического воздействия лопастей на продукт производят промывку масляного зерна, причем эту операцию повторяют 2-3 раза. При этом масляный пласт промывается на 15-20%, что достаточно, так как при слипании жировых шариков образуются плотные пласты, внутрь которых бактерии проникнуть не могут.
Заключительная операция – выгрузка, производится при снятой крышке устройства и наклоне емкости.
Формула изобретения
1. Способ получения масла из сливок, включающий сбивание сливок путем воздействия на них механически посредством вращающихся лопастей и синхронно, синфазно ультразвуковыми (УЗ) и сверхвысокочастотными (СВЧ) колебаниями и дезодорацию сливок за счет вакуумирования емкости, занимаемой ими, отличающийся тем, что перед сбиванием сливки предварительно центрифугируя стерилизуют ультрафиолетовым (УФ) излучением при =3282-2265 Å в течение 5-7 мин, затем охлаждают до температуры равной 8-11°С в течение 30-35 мин, после чего сливки дважды пастеризуют при температуре 85-93°С, воздействуя на них инфракрасным излучением, при этом между первой и второй пастеризацией проводят их дезодорацию, после второй пастеризации сливки охлаждают до температуры 3-7°С, при которой выдерживают в течение 50 мин, после чего осуществляют процесс сбивания сливок и получения готового продукта, который перед его отделением от побочных продуктов и выгрузкой стерилизуют ультрафиолетовым излучением.
2. Устройство для получения масла из сливок, содержащее емкость со съемной крышкой, в которой размещено устройство для вакуумирования в виде двух вакуумных насосов, расположенные внутри емкости лопасти, выполненные из набора пластин полупроводникового материала с экранами, при этом пластины механически собраны в виде стержней и электрически соединены по схеме диодов Ганна для генерации УЗ и СВЧ колебаний, а экраны расположены на лопастях так, чтобы во время работы устройства относительно оси их вращения создавался максимально крутящий момент, отличающееся тем, что введены центрифугирующая система, трубчатый резистивный нагреватель, водоохлаждающая рубашка, устройство для получения ультрафиолетового излучения, при этом центрифугирующая система, состоящая из цилиндра и диска, установлена на вращающем валу, расположенном по оси симметрии емкости, трубчатый резистивный нагреватель для генерации инфракрасного излучения в виде змеевика, расположенного по внутренней стенке емкости, водоохлаждающая рубашка охватывает емкость с внешней стороны по всему периметру, а устройство для получения ультрафиолетового излучения, расположенное над центрифугирующей системой, выполнено в виде тороида, через отверстие которого пропущен трубопровод для подачи в емкость обрабатываемого продукта.
РИСУНКИ
|
|