|
|
(21), (22) Заявка: 2006136891/12, 18.10.2006
(24) Дата начала отсчета срока действия патента:
18.10.2006
(43) Дата публикации заявки: 27.04.2008
(46) Опубликовано: 20.09.2008
(56) Список документов, цитированных в отчете о поиске:
RU 2187927 C2, 27.08.2002. RU 2098947 C1, 20.12.1997. SU 1618349 A1, 07.01.1991. FR 2567363 А2, 17.01.1986.
Адрес для переписки:
127560, Москва, ул. Бибировская, 17, кв.306, А.И. Перкину
|
(72) Автор(ы):
Перкин Артем Игоревич (RU), Давлетшин Гильмутдин Загрутдинович (RU)
(73) Патентообладатель(и):
Перкин Артем Игоревич (RU), Давлетшин Гильмутдин Загрутдинович (RU)
|
(54) УСТРОЙСТВО ДЛЯ АВТОМАТИЧЕСКОГО ПОЛИВА РАСТЕНИЙ
(57) Реферат:
Изобретение относится к системам орошения и может быть использовано, в частности, для автоматического полива растений в садовых участках и огородах. Устройство для автоматического полива растений включает питающий резервуар с установленным в нем на отметке срабатывания сифоном, пусковую емкость и испарительный лоток. Питающий резервуар снабжен запорным рычажным клапаном и трубкой перелива. Пусковая емкость имеет форму ковша и выполнена с возможностью свободного вращательно-колебательного движения вокруг шарнирной оси между двумя ограничителями. Испарительный лоток установлен на пружинах, надетых на штыри, закрепленные на верхней кромке стенки питающего резервуара. На испарительном лотке закреплен неподвижно толкатель, соединенный шарнирно с рычагом запорного клапана. На входе в запорный клапан установлен вентиль, регулирующий поток воды. Трубка перелива соединена с оросительной сетью. Технический результат заключается в обеспечении рационального использования воды для полива растений. 1 ил.
Изобретение относится к системам орошения и может быть использовано, в частности, для автоматического полива растений в садовых участках и огородах.
Известно устройство для автоматического полива растений, содержащее резервуар с установленным в нем сифоном, пусковую емкость с приводом возврата ее в исходное положение и испарительный лоток (RU 2187927 С2, 27.08.2002). Испарительный лоток установлен на шарнире и снабжен рычагом, управляющим защелкой пусковой емкости, и переливным патрубком с регулируемой высотой перелива. На одном конце испарительного лотка установлена магнитная защелка, а на другом – противовес с регулируемым положением. Также устройство снабжено подводящей магистралью, на которой установлены вентили подачи воды в питающий резервуар и пусковая емкость, и запорным поплавковым клапаном. Изобретение позволяет обеспечить возможность включения полива в зависимости от погодных условий.
Недостатками устройства являются сложность механизма зарядки сифона и зависимость ритмичности полива от скорости испарения воды в испарительном лотке.
Техническим результатом, достигаемым при реализации данного изобретения, является обеспечение рационального использования воды для полива растений.
Указанный технический результат достигается тем, что устройство для автоматического полива растений, включающее питающий резервуар с установленным в нем на отметке срабатывания сифоном, пусковую емкость и испарительный лоток, согласно изобретению снабжено запорным рычажным клапаном и трубкой перелива, пусковая емкость имеет форму ковша и выполнена с возможностью свободного вращательно-колебательного движения вокруг шарнирной оси между двумя ограничителями, испарительный лоток установлен на пружинах, надетых на штыри, закрепленные на верхней кромке стенки питающего резервуара, на испарительном лотке закреплен неподвижно толкатель, соединенный шарнирно с рычагом запорного клапана, на входе в запорный клапан установлен вентиль, регулирующий поток воды, а трубка перелива соединена с оросительной сетью.
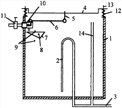
На чертеже схематично показано предлагаемое устройство для автоматического полива растений.
Устройство для автоматического полива растений содержит питающий резервуар 1, в котором установлен на отметке срабатывания сифон 2, вывод 3 которого из питающего резервуара связан с оросительной системой. На питающем резервуаре 1 установлены также пусковая емкость 7, свободно вращающаяся вокруг шарнирной оси 8, запорный клапан 10, соединенный с помощью рычажной системы 5 и 6 с испарительным лотком – крышкой 4, смонтированной на пружинах 12, надетых на штыри 13, и трубка перелива 14. Между запорным клапаном 10 и подводящей магистралью установлен вентиль 11 регулируемой подачи воды в питающий резервуар. Пусковая емкость представляет собой ковш, боковые стенки которого имеют треугольную форму.
Устройство работает следующим образом. Вода, необходимая для полива растений, поступает в устройство из подводящей магистрали. Вода сначала накапливается в питающем резервуаре 1, где нагревается до температуры окружающего воздуха, что важно для создания комфортных условий для теплолюбивых овощных культур.
Темп накопления воды определяется периодичностью полива и устанавливается регулировочным вентилем 11. Процесс накопления воды в баке протекает следующим образом. Вода из регулировочного вентиля 11 сначала попадает в запорный клапан 10, который при штатном режиме работы всегда открыт, а затем в пусковую емкость 7. Цент тяжести и ось подвески 8 пусковой емкости 7 подобраны таким образом, что она после каждого наполнения водой автоматически опрокидывается и опорожняется, после чего автоматически возвращается в исходное состояние для приема очередной порции воды. Так продолжается до тех пор, пока уровень воды в питающем резервуаре 1 не достигнет верхнего уровня сифона 2. Как только этот уровень достигается, то последней порцией воды сифон заряжается и запускается. Вода через сифон поступает в распределительную сеть 3 и происходит полив растений.
Когда уровень воды в баке достигает нижнего конца сифона, сифон разряжается и полив прекращается. Начинается новый цикл наполнения бака водой.
Для обеспечения надежного функционирования пусковой емкости 7 ее циклическое вращательно-колебательное движение происходит только между ограничителями 9.
Действие устройства во время и после дождя. Во время дождя в испарительном лотке-крышке 4 накапливается дождевая вода. Масса этой воды через толкатель 5 оказывает давление на рычаг 6 запорного клапана 10, который закрывает доступ воды из подводящей магистрали.
После прекращения дождя через определенное время, которое достигается путем выбора глубины крышки резервуара, дождевая вода испаряется. Под действием пружин 12 крышка питающего резервуара поднимается вверх и тянет за собой толкатель 5, рычаг 6 и клапан 10, открывая путь потоку воды в питающий резервуар 1.
Таким образом, ритмичный полив растений во время дождя автоматически прекращается, а после прекращения дождя вновь автоматически возобновляется.
На случай аварийного режима устройство имеет трубку перелива 14, через которую вода попадает в оросительную сеть.
Формула изобретения
Устройство для автоматического полива растений, включающее питающий резервуар с установленным в нем на отметке срабатывания сифоном, пусковую емкость и испарительный лоток, отличающееся тем, что оно снабжено запорным рычажным клапаном и трубкой перелива, пусковая емкость имеет форму ковша и выполнена с возможностью свободного вращательно-колебательного движения вокруг шарнирной оси между двумя ограничителями, испарительный лоток установлен на пружинах, надетых на штыри, закрепленные на верхней кромке стенки питающего резервуара, на испарительном лотке закреплен неподвижно толкатель, соединенный шарнирно с рычагом запорного клапана, на входе в запорный клапан установлен вентиль, регулирующий поток воды, а трубка перелива соединена с оросительной сетью.
РИСУНКИ
RH4A – Выдача дубликата патента Российской Федерации на изобретение
Дата выдачи дубликата: 30.04.2009
Наименование лица, которому выдан дубликат:
Перкин Артем Игоревич (RU)
Наименование лица, которому выдан дубликат:
Давлетшин Гильмутдин Загрутдинович (RU)
Извещение опубликовано: 10.06.2009 БИ: 16/2009
|
|