|
|
(21), (22) Заявка: 2006131248/09, 30.08.2006
(24) Дата начала отсчета срока действия патента:
30.08.2006
(43) Дата публикации заявки: 10.03.2008
(46) Опубликовано: 10.09.2008
(56) Список документов, цитированных в отчете о поиске:
PROC. OF 2002 ULTRASONICS SYMPOSIUM, 2002, p.184-187. SU 1489552 A1, 27.12.1996. RU 2020731 C1, 30.09.1994. US 2005/0270111 A1, 08.12.2005. US 6492884 A, 10.12.2002.
Адрес для переписки:
644009, г.Омск-9, ул. Масленникова, 231, ФГУП ОНИИП
|
(72) Автор(ы):
Доберштейн Сергей Александрович (RU), Николаенко Константин Валентинович (RU), Евдокимов Михаил Афанасьевич (RU)
(73) Патентообладатель(и):
ФЕДЕРАЛЬНОЕ ГОСУДАРСТВЕННОЕ УНИТАРНОЕ ПРЕДПРИЯТИЕ Омский научно-исследовательский институт приборостроения (RU)
|
(54) МНОГОКАНАЛЬНЫЙ ФИЛЬТР НА ПОВЕРХНОСТНЫХ АКУСТИЧЕСКИХ ВОЛНАХ
(57) Реферат:
Изобретение относится к технике радиосвязи и может быть использовано для селекции радиосигналов во входных каскадах радиоприемных устройств. Технический результат состоит в создании многоканального фильтра на ПАВ, обеспечивающего уменьшенные искажения АЧХ. Для этого в многоканальном фильтре на ПАВ, имеющем входную и выходную клеммы, входной и выходной коммутаторы, каждый из которых состоит из N по числу каналов фильтра ключей со своими управляющими входами, частотно-избирательный блок с усилителем, расположенный между входным и выходным коммутаторами и состоящий из N каналов, каждый из которых содержит входной и выходной фильтры на ПАВ, канальные входной и выходной ключи со своими управляющими входами, электрические шины первой и второй групп, причем входная клемма соединена с входами ключей входного коммутатора, а выходная клемма соединена с выходами ключей выходного коммутатора, в частотно-избирательный блок введены N-1 усилителей, причем в каждом канале частотно-избирательного блока вход усилителя соединен с выходом входного фильтра на ПАВ электрической шиной первой группы, а выход усилителя соединен со входом выходного фильтра на ПАВ электрической шиной второй группы, вход канального входного ключа соединен с выходом соответствующего ключа входного коммутатора, а выход канального входного ключа соединен со входом входного фильтра на ПАВ, вход канального выходного ключа соединен с выходом выходного фильтра на ПАВ, а выход канального выходного ключа соединен со входом соответствующего ключа выходного коммутатора. В этом случае не увеличивается протяженность электрических шин первой и второй групп по мере увеличения числа каналов и центральных частот входных и выходных фильтров на ПАВ. 4 ил.
Изобретение относится к технике радиосвязи и может быть использовано для селекции радиосигналов во входных каскадах радиоприемных устройств.
Известны многоканальные фильтры, выполненные на LC контурах и состоящие из гребенки коммутируемых фильтров на фиксированные центральные частоты [1]. При известных положительных эффектах эти устройства обладают следующими недостатками: недостаточная избирательность, большие габариты и вес, низкие технологичность и надежность.
Наиболее близким по совокупности признаков к заявляемому фильтру является многоканальный фильтр на поверхностных акустических волнах (ПАВ) [2] (Фиг.1), имеющий входную 1 и выходную 2 клеммы, входной 3 и выходной 4 коммутаторы, каждый из которых состоит из N по числу каналов фильтра ключей 5 со своими управляющими входами, частотно-избирательный блок 6 с усилителем 7, расположенный между входным 3 и выходным 4 коммутаторами и состоящий из N каналов, каждый из которых содержит входной 8 и выходной 9 фильтры на ПАВ, канальные входной 10 и выходной 11 ключи со своими управляющими входами, причем входная клемма 1 соединена с входами ключей 5 входного коммутатора 3, а выходная клемма 2 соединена с выходами ключей 5 выходного коммутатора 4, вход усилителя 7 соединен с выходами канальных входных ключей 10 электрическими шинами 12 первой группы, а выход усилителя 7 соединен со входами канальных выходных ключей 11 электрическими шинами 13 второй группы, в каждом канале частотно-избирательного блока 6 вход канального входного ключа 10 соединен с выходом входного 8 фильтра на ПАВ, вход которого соединен с выходом соответствующего ключа 5 входного коммутатора 3, выход канального выходного ключа 11 соединен со входом выходного 9 фильтра на ПАВ, выход которого соединен со входом соответствующего ключа 5 выходного коммутатора 4.
Известное устройство, обладая хорошей технологичностью и надежностью, имеет и существенные недостатки. Это ухудшение формы амплитудно-частотной характеристики (АЧХ) за счет паразитных реактивностей, появляющихся в результате увеличения протяженности электрических шин 12, 13 первой и второй групп по мере увеличения числа каналов фильтра и центральных частот входных 8 и выходных 9 фильтров на ПАВ.
Задача изобретения – создание многоканального фильтра на ПАВ, обеспечивающего уменьшенные искажения АЧХ.
Сущность изобретения заключается в том, что в многоканальном фильтре на ПАВ, имеющем входную и выходную клеммы, входной и выходной коммутаторы, каждый из которых состоит из N по числу каналов фильтра ключей со своими управляющими входами, частотно-избирательный блок с усилителем, расположенный между входным и выходным коммутаторами и состоящий из N каналов, каждый из которых содержит входной и выходной фильтры на ПАВ, канальные входной и выходной ключи со своими управляющими входами, электрические шины первой и второй групп, причем входная клемма соединена с входами ключей входного коммутатора, а выходная клемма соединена с выходами ключей выходного коммутатора, в частотно-избирательный блок введены N-1 усилителей, причем в каждом канале частотно-избирательного блока вход усилителя соединен с выходом входного фильтра на ПАВ электрической шиной первой группы, а выход усилителя соединен со входом выходного фильтра на ПАВ электрической шиной второй группы, вход канального входного ключа соединен с выходом соответствующего ключа входного коммутатора, а выход канального входного ключа соединен со входом входного фильтра на ПАВ, вход канального выходного ключа соединен с выходом выходного фильтра на ПАВ, а выход канального выходного ключа соединен со входом соответствующего ключа выходного коммутатора.
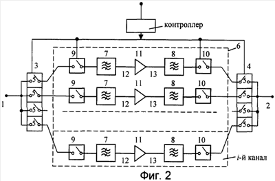
На Фиг.2 изображен многоканальный фильтр на ПАВ, пример выполнения. Многоканальный фильтр имеет входную 1 и выходную 2 клеммы, входной 3 и выходной 4 коммутаторы, каждый из которых состоит из N по числу каналов фильтра ключей 5 со своими управляющими входами, частотно-избирательный блок 6, расположенный между входным 3 и выходным 4 коммутаторами и состоящий из N каналов, каждый из которых содержит входной 7 и выходной 8 фильтры на ПАВ, канальные входной 9 и выходной 10 ключи со своими управляющими входами. Входная клемма 1 соединена со входами ключей 5 входного коммутатора 3, а выходная клемма 2 соединена с выходами ключей 5 выходного коммутатора 4. Каждый канал частотно-избирательного блока 6 фильтра содержит усилитель 11, причем вход усилителя 11 соединен с выходом входного 7 фильтра на ПАВ электрической шиной 12 первой группы, а выход усилителя 11 соединен со входом выходного 8 фильтра на ПАВ электрической шиной 13 второй группы, вход канального входного ключа 9 соединен с выходом соответствующего ключа 5 входного коммутатора 3, а выход канального входного ключа 9 соединен со входом входного 7 фильтра на ПАВ, вход канального выходного ключа 10 соединен с выходом выходного 8 фильтра на ПАВ, а выход канального выходного ключа 10 соединен со входом соответствующего ключа 5 выходного коммутатора 4.
Каждый канал частотно-избирательного блока 6 со своими входным 7 и выходным 8 фильтрами на ПАВ, канальными входным 9 и выходным 10 ключами, усилителем 11 может быть выполнен в отдельном корпусе в виде миниатюрного модуля с минимальными соединительными проводниками.
Многоканальный фильтр работает следующим образом.
В исходном состоянии ключи 5 входного 3 и выходного 4 коммутаторов, канальные входной 9 и выходной 10 ключи находятся в разомкнутом состоянии. При подаче сигнала управления на соответствующие управляющие входы ключей 5 входного 3 и выходного 4 коммутаторов, канальных входного 9 и выходного 10 ключей i-го канала ключи 5 входного 3 и выходного 4 коммутаторов, канальные входной 9 и выходной 10 ключи i-го канала устанавливаются в замкнутое состояние.
Входной сигнал с входной клеммы 1 через замкнутый соответствующий ключ 5 входного коммутатора 3, замкнутый канальный входной ключ 9 поступает на входной 7 фильтр на ПАВ с центральной частотой fi, где он проходит частотную селекцию и далее через электрическую шину 12 первой группы, усилитель 11, электрическую шину 13 второй группы, выходной 8 фильтр на ПАВ с центральной частотой fi, где он проходит дополнительную частотную селекцию, замкнутый канальный выходной ключ 10, замкнутый соответствующий ключ 5 выходного коммутатора 4 поступает на выходную клемму 2.
В предложенном многоканальном фильтре на ПАВ по сравнению с известными устройствами в частотно-избирательный блок 6 введены N-1 усилителей 11, причем в каждом канале частотно-избирательного блока 6 вход усилителя 11 соединен с выходом входного 7 фильтра на ПАВ электрической шиной 12 первой группы, а выход усилителя 11 соединен со входом выходного 8 фильтра на ПАВ электрической шиной 13 второй группы, вход канального входного ключа 9 соединен с выходом соответствующего ключа 5 входного коммутатора 3, а выход канального входного ключа 5 соединен со входом входного 7 фильтра на ПАВ, вход канального выходного ключа 10 соединен с выходом выходного 8 фильтра на ПАВ, а выход канального выходного ключа 10 соединен со входом соответствующего ключа 5 выходного коммутатора 4. В этом случае не увеличивается протяженность электрических шин 12, 13 первой и второй групп по мере увеличения числа каналов и центральных частот входных 7 и выходных 8 фильтров на ПАВ. В результате уменьшаются паразитные реактивности в конструкции, что ведет к снижению искажений АЧХ многоканального фильтра на ПАВ.
Предлагаемое техническое решение прошло экспериментальную проверку. Многоканальный фильтр перекрывал диапазон частот 186-216 МГц и содержал 16 каналов с фильтрами на ПАВ с относительной шириной полосы пропускания по уровню – 2 дБ около 1,5%. Фильтры на ПАВ выполнены на срезе YX/128°LiNbO3.
В качестве ключей входного и выходного коммутаторов, канальных входных и выходных ключей использовались бескорпусные p-i-n диоды 2А536-А5, 2А543-А5. Для усилителя использовались миниатюрные малошумящие SiGe транзисторы SGA 8343. Каждый канал частотно-избирательного блока со своими входным и выходным фильтрами на ПАВ, канальными входным и выходным ключами и усилителем был выполнен в отдельном корпусе для поверхностного монтажа DLCC 10/10-1 размерами 16×7,3×2,6 мм в виде миниатюрного модуля с минимальными соединительными проводниками, в частности, с минимальными протяженностями электрических шин первой и второй групп. Габаритные размеры многоканального фильтра составили 100×60×9 мм.
Известное устройство-прототип имело габариты 250×180×17 мм. (Использовалась двухсторонняя печатная плата с 8-ю каналами на каждой стороне.) На Фиг.3 показана нормированная АЧХ известного устройства при включении по порядку всех 16-ти каналов. Диапазон перекрываемых частот 186-216 МГц. На Фиг.4 представлена измеренная нормированная АЧХ предлагаемого многоканального фильтра при включении по порядку всех 16-ти каналов. Как видно из графиков, предложенный фильтр имеет подавление около 90 дБ для всех каналов. Известное устройство имеет наилучшее подавление около 80 дБ для первого канала. По мере увеличения числа каналов и центральных частот фильтров идет ухудшение избирательности (подъем АЧХ) до 70 дБ в центре перекрываемого диапазона. Таким образом, предлагаемый фильтр обладает уменьшенными искажениями АЧХ за счет уменьшения паразитных реактивностей в конструкции.
Применение подобного многоканального фильтра на ПАВ для входных цепей радиоприемных устройств позволит улучшить чувствительность и избирательность приемного тракта, а также его массогабаритные характеристики.
В настоящее время по данному техническому решению имеются лабораторные образцы и конструкторская документация. Проводятся испытания, по завершению которых предлагаемое техническое решение будет использовано во вновь разрабатываемой аппаратуре связи.
Источники информации
1. В.Н.Голубев, “Эффективная избирательность радиоприемных устройств”. М.: Связь, 1978 г., с.27.
2. Shitang He, Honglang Li, Shunzhou Li, Shu Xie, “Low Loss and High Stopband Rejection Switchable SAW Filter Bank”, Proc. of 2002 IEEE Ultrasonics Symposium, pp.184-187.
Формула изобретения
Многоканальный фильтр на ПАВ, имеющий входную и выходную клеммы, входной и выходной коммутаторы, каждый из которых состоит из N по числу каналов фильтра ключей со своими управляющими входами, частотно-избирательный блок с усилителем, расположенный между входным и выходным коммутаторами и состоящий из N каналов, каждый из которых содержит входной и выходной фильтры на ПАВ, канальные входной и выходной ключи со своими управляющими входами, электрические шины первой и второй групп, причем входная клемма соединена с входами ключей входного коммутатора, а выходная клемма соединена с выходами ключей выходного коммутатора, при этом управляющие входы всех ключей соединены между собой, отличающийся тем, что в частотно-избирательный блок введены N-1 усилителей, причем в каждом канале частотно-избирательного блока вход усилителя соединен с выходом входного фильтра на ПАВ электрической шиной первой группы, а выход усилителя соединен со входом выходного фильтра на ПАВ электрической шиной второй группы, вход канального входного ключа соединен с выходом соответствующего ключа входного коммутатора, а выход канального входного ключа соединен со входом входного фильтра на ПАВ, вход канального выходного ключа соединен с выходом выходного фильтра на ПАВ, а выход канального выходного ключа соединен со входом соответствующего ключа выходного коммутатора.
РИСУНКИ
QZ4A – Регистрация изменений (дополнений) лицензионного договора на использование изобретения
Лицензиар(ы): Федеральное государственное унитарное предприятие “Омский научно-исследовательский институт приборостроения”
Вид лицензии*: НИЛ
Лицензиат(ы): Открытое акционерное общество “Научно-производственное предприятие “ЭТАЛОН”
Характер внесенных изменений (дополнений):
Изменен предмет договора: исключены патенты на изобретение 1662324, на полезную модель 0061967, добавлен патент на изобретение 2333596. Срок действия договора продлен до 31.12.2010. Изменен размер вознаграждения
Договор № 9576 зарегистрирован 17.12.1999
Извещение опубликовано: 20.05.2010 БИ: 14/2010
* ИЛ – исключительная лицензия НИЛ – неисключительная лицензия
|
|