|
|
(21), (22) Заявка: 2007109991/09, 19.03.2007
(24) Дата начала отсчета срока действия патента:
19.03.2007
(46) Опубликовано: 10.09.2008
(56) Список документов, цитированных в отчете о поиске:
SU 1781793 A, 15.12.1992. SU 486449 A, 29.12.1975. GB 1282980 A, 26.07.1972.
Адрес для переписки:
454080, г.Челябинск, пр. им. В.И. Ленина, 76, ЮУрГУ, профессору Ю.И. Хохлову
|
(72) Автор(ы):
Хохлов Юрий Иванович (RU)
(73) Патентообладатель(и):
Хохлов Юрий Иванович (RU)
|
(54) СПОСОБ УПРАВЛЕНИЯ МНОГОФАЗНЫМ ВЫПРЯМИТЕЛЬНЫМ АГРЕГАТОМ
(57) Реферат:
Изобретение относится к технике преобразования электрической энергии переменного тока в энергию постоянного тока с помощью вентильных преобразователей с плавным регулированием выпрямленного напряжения. Технический результат – упрощение и повышение коэффициента мощности, плавное регулирование выпрямленного напряжения многофазного диодного выпрямительного агрегата осуществляют изменением выходного напряжения дополнительно введенного трехфазного мостового автономного инвертора напряжения с синусоидальной широтно-импульсной модуляцией, который входными выводами подключают к цепи постоянного тока агрегата, а выходными выводами подключают к первичной обмотке трехфазного согласующего трансформатора, при этом вторичные фазные обмотки согласующего трансформатора подключают пофазно последовательно с сетевыми обмотками преобразовательных трансформаторов. Изменение выходного напряжения автономного инвертора напряжения обеспечивают регулированием либо фазы, либо амплитуды, либо той и другой величины модулирующего синусоидального напряжения. Вторичные фазные обмотки согласующего трансформатора подключают к сетевым обмоткам преобразовательных трансформаторов либо непосредственно, либо посредством компенсирующего устройства с пятой и седьмой гармониками тока в конденсаторах. Вентильные обмотки преобразовательных трансформаторов подключают к выводам переменного тока выпрямительных мостов либо непосредственно, либо посредством аналогичного компенсирующего устройства. Преобразовательные трансформаторы блоков агрегата выполняют либо на самостоятельных, либо совмещенных магнитопроводах. Выпрямительные мосты агрегата соединяют либо параллельно, либо последовательно. Изобретение может использоваться в установках электролиза алюминия, меди, цинка, хлора, водорода и др., в электротермии, на электрическом транспорте в других отраслях, применяющих постоянный ток. 9 з.п. ф-лы, 8 ил.
Изобретение относится к технике преобразования электрической энергии переменного тока в энергию постоянного тока с помощью вентильных преобразователей с плавным регулированием выпрямленного напряжения.
Данный способ по сравнению с традиционным дроссельным регулированием с помощью изменения тока в обмотках управления является более быстродействующим. Реализуется он в достаточно простом выпрямительном агрегате, поскольку последний имеет диодное исполнение. Недостатком способа является то, что он требует большой установленной мощности дросселей насыщения и сопровождается существенным снижением коэффициента мощности выпрямительного агрегата в процессе регулирования напряжения.
Этот способ, выбранный в качестве ближайшего аналога, обеспечивает плавность регулирования напряжения. Однако ему присущ ряд недостатков. Весьма серьезными недостатками являются сложность конструкции выпрямительного агрегата, большая установленная мощность управляемых полупроводниковых приборов (тиристоров), сложность системы управления. Это связано с тем, что все управляемые полупроводниковые приборы включены во вторичные сильноточные цепи выпрямительных агрегатов (со стороны вентильных обмоток трансформаторов). С возрастанием мощности агрегатов, с осуществлением глубоких вводов на подстанции повышенных напряжений указанные недостатки обостряются. Токи первичных цепей выпрямительных трансформаторов в десятки и сотни раз меньше токов во вторичных цепях, поэтому управление выпрямительными агрегатами более целесообразно осуществлять с первичной стороны трансформаторов. Кроме того, как и в случае с дроссельным регулированием, при использовании этого способа управления коэффициент мощности агрегатов снижается до недопустимых для мощных преобразователей величин (коэффициент мощности снижается пропорционально возрастанию глубины регулирования). Последнее является особенно серьезной проблемой, например, в условиях электролизного производства алюминия, поскольку в этом случае выпрямительные агрегаты большую часть времени работают в зарегулированном режиме (при пониженном напряжении) и открываются лишь на время анодного эффекта (вспышки) в ваннах.
В основу изобретения положена техническая задача, заключающаяся в упрощении выпрямительного агрегата и повышения его коэффициента мощности.
Указанная задача решается тем, что в способе управления многофазным выпрямительным агрегатом, по крайней мере, с одной парой шестифазных преобразовательных блоков, включенных по схеме двенадцатифазного преобразования, каждый из которых содержит преобразовательный трансформатор с подключенным к его вентильным обмоткам диодным выпрямительным мостом, выходами постоянного тока, связанным с нагрузкой, состоящем в том, что для обеспечения требуемого режима работы потребителя постоянного тока плавно регулируют выпрямленное напряжение, согласно изобретению плавное регулирование выпрямленного напряжения осуществляют изменением выходного напряжения дополнительно введенного трехфазного мостового автономного инвертора напряжения с синусоидальной широтно-импульсной модуляцией, который входными выводами подключают к цепи постоянного тока агрегата, а выходными выводами подключают к первичной обмотке трехфазного согласующего трансформатора, при этом вторичные фазные обмотки согласующего трансформатора подключают пофазно последовательно с сетевыми обмотками преобразовательных трансформаторов.
Изменение выходного напряжения автономного инвертора напряжения обеспечивают регулированием либо фазы, либо амплитуды, либо той и другой величины модулирующего синусоидального напряжения.
Выходное напряжение автономного инвертора напряжения подают на первичную обмотку трехфазного согласующего трансформатора, вторичные фазные обмотки которого подключают к сетевым обмоткам преобразовательных трансформаторов либо непосредственно, либо посредством первичных обмоток реакторов компенсирующего устройства, вторичные обмотки которых включают по схеме, фильтрующей в коммутирующие конденсаторы пятую и седьмую гармоники тока.
Вентильные обмотки преобразовательных трансформаторов подключают к выводам переменного тока выпрямительных мостов либо непосредственно, либо посредством первичных обмоток реакторов компенсирующего устройства, вторичные обмотки которых включают по схеме, фильтрующей в коммутирующие конденсаторы пятую и седьмую гармоники тока.
Преобразовательные трансформаторы агрегата выполняют либо на самостоятельных трехфазных магнитопроводах с одной трехфазной сетевой и одной трехфазной вентильной обмотками, либо на одном трехфазном магнитопроводе, на котором укладывают одну трехфазную сетевую и две трехфазные вентильные обмотки.
Выпрямительные мосты агрегата со стороны постоянного тока соединяют либо параллельно, либо последовательно.
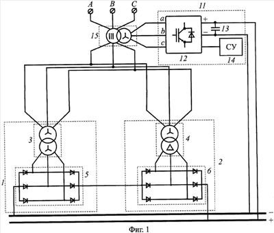
Принципиальные схемы вариантов выпрямительных агрегатов, в которых реализован предлагаемый способ управления, представлены на фиг.1-5. Они содержат шестифазные преобразовательные блоки 1 и 2 с преобразовательными трансформаторами 3 и 4 и выпрямительными мостами 5 и 6. Схемами соединения обмоток трансформаторов 3 и 4 обеспечивается двенадцатифазный режим преобразования. Компенсирующее устройство 7 содержит трехфазные реакторы 8 и 9 и коммутирующую конденсаторную батарею 10. Дополнительно введенный автономный инвертор напряжения 11 содержит трехфазный выпрямительный мост на полностью управляемых вентилях с обратными диодами 12, входной конденсатор 13 и систему управления 14, обеспечивающую синусоидальную широтно-импульсную модуляцию выходного напряжения инвертора 11, которое с помощью согласующего трехфазного трансформатора 15 вводится в цепь сетевых обмоток преобразовательных трансформаторов 3 и 4. Для пояснения сути предлагаемого способа на фиг.6, 7 и 8 представлены результаты моделирования электромагнитных процессов в агрегате по схеме на фиг.5 при фазах синусоидального моделирующего сигнала, равных 0, 90 и 180 эл. град. соответственно.
Способ управления многофазным выпрямительным агрегатом реализуют следующим образом. После подключения выпрямительного агрегата к питающей сети на выходах преобразовательных блоков 1, 2 с преобразовательными трансформаторами 3, 4 и выпрямительными мостами 5, 6 создается постоянное напряжение. Это напряжение соответствует двенадцатифазному режиму преобразования в силу соединения вентильных обмоток трансформаторов 3 и 4 в звезду и треугольник (аналогичное может быть осуществлено и за счет сетевых обмоток трансформаторов 3 и 4). Выпрямленное напряжение агрегата подают на вход автономного инвертора напряжения 11, выполненного в виде трехфазного выпрямительного моста 12 на полностью управляемых вентилях (например, на IGBT транзисторах, как показано на фиг.1-5) с обратными диодами и необходимым по принципу работы инвертора напряжения конденсатором 13. В соответствии с принципом широтно-импульсной модуляции системой управления инвертора 14 формируют синусоидальное модулирующее напряжение с частотой питающей сети и пилообразное напряжение с несущей частотой, значительно превышающей частоту напряжения питающей сети (в десятки и сотни раз). Указанные напряжения определяют моменты открытия и закрытия управляемых вентилей моста 12, коммутирующих с несущей частотой пилообразного напряжения. В результате чего на выходе инвертора 11 создают переменное импульсное трехфазное напряжение, первая гармоника которого имеет частоту модулирующего напряжения, т.е. частоту напряжения питающей сети. Выходное трехфазное напряжение инвертора 11 подают на первичную обмотку трехфазного согласующего трансформатора 15. Создаваемое на вторичных обмотках согласующего трансформатора 15 выходное напряжение, повторяющее форму выходного напряжения инвертора (см. кривую напряжения на выходе согласующего трансформатора на фиг.6, 7 и 8), вводят пофазно последовательно между питающей сетью и сетевыми обмотками преобразовательных трансформаторов 3 и 4 (вторичная обмотка трансформатора имеет соединение «разомкнутая звезда»). На фиг.6, 7 и 8 частота питающей сети и соответственно модулирующего напряжения равна 50 Гц, а несущая частота пилообразного напряжения и соответственно частота коммутации управляемых вентилей инвертора равна 5000 Гц. Начальную фазу и амплитуду первой гармоники напряжения на выходе инвертора 11, а следовательно, и на выходе согласующего трансформатора регулируют соответственно изменением фазы и амплитуды модулирующего напряжения. В качестве примера на фиг.6, 7 и 8 проиллюстрировано изменение фазы напряжения на выходе трансформатора 15, причем на фиг.6 она равна 0, на фиг.7 – 90 и на фиг.8 – 180 эл. град. Таким образом, изменением выходного напряжения инвертора, осуществляемого изменением фазы, амплитуды или той и другой величины модулирующего напряжения, изменяют результирующее напряжение на сетевых обмотках преобразовательных трансформаторов 3 и 4 и тем самым плавно регулируют выпрямленное напряжение всего агрегата. Максимальную глубину регулирования выпрямленного напряжения задают соответствующим выбором коэффициента трансформации согласующего трансформатора 15 с учетом инвертирования напряжения на вторичной обмотке этого трансформатора при переходе от одного предельного значениях фазы модулирующего напряжения, равного 0, к другому предельному значению, равному 180 эл. град. (см. кривые напряжения на выходе согласующего трансформатора на фиг.6 и 8). С целью повышения коэффициента мощности выпрямительного агрегата, повышения жесткости его внешней характеристики, обеспечения жесткого равномерного деления выпрямленного тока между шестифазными блоками 1 и 2 при их параллельной работе предлагаемый способ может быть реализован в агрегатах с компенсирующим устройством 7, состоящим из двух трехфазных реакторов 8, 9 и трехфазной коммутирующей батареи 10. Компенсирующее устройство может быть включено как со стороны сетевых (фиг.2 и 5), так и со стороны вентильных (фиг.3) обмоток преобразовательных трансформаторов 3 и 4. Обтекаемые токами преобразовательных блоков первичные обмотки реакторов 8 и 9 компенсирующего устройства 7 трансформируют во вторичные обмотки характерные для шестифазных блоков первую, пятую, седьмую, одиннадцатую, тринадцатую и т.п. гармоники. По отношению к первой, одиннадцатой, тринадцатой и т.п. гармоникам вторичные обмотки реакторов образуют короткозамкнутую цепь (для указанных гармоник реакторы 8 и 9 работают в режиме трансформатора тока). Протекание этих гармоник по общей вторичной цепи реакторов 8 и 9 обеспечивает жесткое выравнивание выпрямленных токов преобразовательных блоков 1 и 2 при их параллельной работе (фиг.2 и 3). По отношению к пятой, седьмой и т.п. гармоникам реакторы 8 и 9 работают в режиме трансформатора напряжения, создавая на конденсаторной батарее 10 напряжения соответствующих гармоник (см. кривые тока и напряжения на коммутирующей конденсаторной батарее на фиг.6, 7 и 8). Напряжениями на конденсаторной батарее 10 осуществляется опережающая искусственная коммутация вентилей выпрямительных мостов 5 и 6 (фиг.2, 3 и 5), что обеспечивает повышение коэффициента мощности выпрямительного агрегата и жесткости его внешней характеристики. Предлагаемый способ может быть реализован как в агрегатах, у которых преобразовательные трансформаторы 3 и 4 выполнены на самостоятельных трехфазных магнитопроводах (фиг.1, 2 и 5), так и в агрегатах, у которых указанные трансформаторы выполнены на едином совмещенном магнитопроводе (фиг.3 и 4). Способ может быть реализован как в выпрямительных агрегатах с последовательным по отношению к нагрузке соединением диодных выпрямительных мостов 5 и 6 (фиг.1, 4 и 5), так и в агрегатах с параллельным соединением выпрямительных мостов (фиг.2 и 3).
Технико-экономический эффект от предлагаемого способа управления многофазным выпрямительным агрегатом состоит в существенном упрощении выпрямительного агрегата, поскольку теперь силовая часть его выполняется в простейшем диодном варианте без тиристоров или дросселей насыщения. Дополнительно введенные в схему автономный инвертор напряжения с согласующим трансформатором имеют небольшую установленную мощность, определяемую лишь половиной требуемого диапазона регулирования выпрямленного напряжения агрегата из-за возможности изменения фазы выходного напряжения инвертора и соответственно согласующего трансформатора на 180 эл. град. Предлагаемый способ обеспечивает повышение коэффициента мощности выпрямительного агрегата, что снижает потери и повышает качество электрической энергии в питающей сети. Повышение коэффициента мощности имеет место даже при отсутствии компенсирующего устройства, если регулирование напряжения агрегата осуществляется изменением фазы выходного напряжения инвертора и согласующего трансформатора. При этом наибольший коэффициент мощности наблюдается при фазе модулирующего сигнала, равной 90 эл. град. Особенно высокий коэффициент мощности достигается при применении предлагаемого способа в агрегате с компенсирующим устройством, поскольку в этом случае выпрямитель практически не потребляет реактивной мощности. Об этом свидетельствует совпадение по фазе напряжения и тока питающей сети на фиг.6, 7 и 8. Причем в этом случае способ реализуется в агрегате, установленная мощность компенсирующего устройства которого при работе на частотах пятой и седьмой гармоник примерно в шесть раз меньше той мощности, которая потребовалась бы при традиционном включении компенсирующего устройства на частоту питающей сети. Кроме того, при использовании способа в агрегате с компенсирующим устройством и параллельным включением выпрямительных мостов имеет место упрощение агрегата за счет исключения специальных устройств, выравнивающих токи преобразовательных блоков. Наконец, применение способа в агрегатах с компенсирующим устройством повышает жесткость внешней характеристики выпрямителя, что увеличивает выходную мощность агрегата.
Формула изобретения
1. Способ управления многофазным выпрямительным агрегатом, по крайней мере, с одной парой шестифазных преобразовательных блоков, включенных по схеме двенадцатифазного преобразования, каждый из которых содержит преобразовательный трансформатор с подключенным к его вентильным обмоткам диодным выпрямительным мостом, выходами постоянного тока связанным с нагрузкой, состоящий в том, что для обеспечения требуемого режима работы потребителя постоянного тока плавно регулируют выпрямленное напряжение, отличающийся тем, что плавное регулирование выпрямленного напряжения агрегата осуществляют изменением выходного напряжения дополнительно введенного трехфазного мостового автономного инвертора напряжения с синусоидальной широтно-импульсной модуляцией, который входными выводами подключают к цепи постоянного тока агрегата, а выходными выводами подключают к первичной обмотке трехфазного согласующего трансформатора, при этом вторичные фазные обмотки согласующего трансформатора подключают пофазно последовательно с сетевыми обмотками преобразовательных трансформаторов.
2. Способ по п.1, отличающийся тем, что плавное регулирование выпрямленного напряжения агрегата осуществляют изменением фазы синусоидального модулирующего напряжения дополнительно введенного трехфазного мостового автономного инвертора напряжения с широтно-импульсной модуляцией.
3. Способ по п.1, отличающийся тем, что плавное регулирование выпрямленного напряжения агрегата осуществляют изменением амплитуды синусоидального модулирующего напряжения дополнительно введенного трехфазного мостового автономного инвертора напряжения с широтно-импульсной модуляцией.
4. Способ по любому из пп.1-3, отличающийся тем, что выходное напряжение дополнительно введенного автономного инвертора напряжения подают на первичную обмотку трехфазного согласующего трансформатора, вторичные фазные обмотки которого подключают к сетевым обмоткам преобразовательных трансформаторов непосредственно.
5. Способ по любому из пп.1-3, отличающийся тем, что выходное напряжение дополнительно введенного автономного инвертора напряжения подают на первичную обмотку трехфазного согласующего трансформатора, вторичные фазные обмотки которого подключают к сетевым обмоткам преобразовательных трансформаторов посредством первичных обмоток трехфазных реакторов компенсирующего устройства, вторичные обмотки которых включают по схеме, фильтрующей в коммутирующую конденсаторную батарею пятую и седьмую гармоники тока.
6. Способ по любому из пп.1-3, отличающийся тем, что выходное напряжение дополнительно введенного автономного инвертора напряжения подают на первичную обмотку трехфазного согласующего трансформатора, вторичные фазные обмотки которого подключают к сетевым обмоткам преобразовательных трансформаторов непосредственно, а вентильные обмотки преобразовательных трансформаторов подключают к выводам переменного тока выпрямительных мостов посредством первичных обмоток трехфазных реакторов компенсирующего устройства, вторичные обмотки которых включают по схеме, фильтрующей в коммутирующую конденсаторную батарею пятую и седьмую гармоники тока.
7. Способ по любому из пп.1-3, отличающийся тем, что выходное напряжение дополнительно введенного автономного инвертора напряжения подают на первичную обмотку трехфазного согласующего трансформатора, вторичные фазные обмотки которого подключают к сетевым обмоткам преобразовательных трансформаторов, каждый из которых выполняют на самостоятельном трехфазном магнитопроводе, на котором укладывают одну трехфазную сетевую и одну трехфазную вентильную обмотки.
8. Способ по любому из пп.1-3, отличающийся тем, что выходное напряжение дополнительно введенного автономного инвертора напряжения подают на первичную обмотку трехфазного согласующего трансформатора, вторичные фазные обмотки которого подключают к сетевым обмоткам преобразовательных трансформаторов, выполненных на одном трехфазном магнитопроводе, на котором укладывают одну трехфазную сетевую и две трехфазные вентильные обмотки.
9. Способ по любому из пп.1-3, отличающийся тем, что выходное напряжение дополнительно введенного автономного инвертора напряжения подают на первичную обмотку трехфазного согласующего трансформатора, вторичные фазные обмотки которого подключают к сетевым обмоткам преобразовательных трансформаторов, вентильные обмотки которых подключают к выпрямительным мостам, со стороны постоянного тока соединенным параллельно.
10. Способ по любому из пп.1-3, отличающийся тем, что выходное напряжение дополнительно введенного автономного инвертора напряжения подают на первичную обмотку трехфазного согласующего трансформатора, вторичные фазные обмотки которого подключают к сетевым обмоткам преобразовательных трансформаторов, вентильные обмотки которых подключают к выпрямительным мостам, со стороны постоянного тока соединенным последовательно.
РИСУНКИ
|
|