|
|
(21), (22) Заявка: 2006102338/09, 27.01.2006
(24) Дата начала отсчета срока действия патента:
27.01.2006
(43) Дата публикации заявки: 20.08.2007
(46) Опубликовано: 10.09.2008
(56) Список документов, цитированных в отчете о поиске:
RU 2109376 C1, 20.04.1998. RU 1580393 A1, 23.07.1990. КЛЕЙМЕНОВ Ю.А. и др. «Повышение точности реализации требуемого амплитудно-фазового распределения», Антенные измерения: Тезисы докладов пятой всесоюзной конференции «Метрологическое обеспечение антенных измерений» ВКАУ-5, Ереван, 1990, с.328-331.
Адрес для переписки:
198206, Санкт-Петербург, Петергофское ш., 84, корп.11, кв.6, А.М. Голику
|
(72) Автор(ы):
Голик Александр Михайлович (RU), Кашпур Алексей Эдуардович (BY), Клейменов Юрий Анатольевич (RU), Кузин Александр Юрьевич (RU), Михайлов Марк Геннадьевич (RU), Новиков Николай Юрьевич (RU), Павлов Илья Николаевич (RU)
(73) Патентообладатель(и):
Государственное учреждение 32 Государственный научно-исследовательский испытательный институт Министерства Обороны Российской Федерации (RU)
|
(54) СПОСОБ УПРАВЛЕНИЯ АМПЛИТУДНО-ФАЗОВЫМ РАСПРЕДЕЛЕНИЕМ НА РАСКРЫВЕ ФАЗИРОВАННОЙ АНТЕННОЙ РЕШЕТКИ
(57) Реферат:
Изобретение может быть использовано при управлении амплитудно-фазовым распределением (АФР) на раскрыве фазированной антенной решетки (ФАР) с дискретным управлением фазами токов возбуждения излучателей с помощью р-разрядных полупроводниковых фазовращателей. Техническим результатом является расширение области применения. Сущность изобретения состоит в том, что при управлении амплитудно-фазовым распределением на раскрыве ФАР известным способом, включающим операцию контроля амплитудно-фазовых характеристик излучателей ФАР, в результате которого определяются координаты i-x излучателей m, n, (где , N – число столбцов ФАР, a , M – число строк ФАР), амплитуды токов возбуждения которых снизились, и координаты неисправных р-разрядных фазовращателей, номера отказавших в них переключающих элементов и виды отказов (обрывы или короткие замыкания), а также снижение амплитуд токов возбуждения поврежденных излучателей ФАР и расчет нормированного значения уровня сигнала, излучаемого ФАР в заданном направлении, для 2p случаев одновременного изменения состояний всех ее р-разрядных фазовращателей на величину дискрета их переключения  с учетом данных контроля о фазе тока возбуждения каждого из m, n излучателей ФАР – изл (m; n), после чего фазовращатели ФАР устанавливаются в состояния, соответствующие максимальному из 2P рассчитанных значений уровня излучаемого сигнала, осуществляют также контроль амплитудно-фазовых характеристик i-x излучателей ФАР и определяют значения величины снижения амплитуд токов их возбуждения Аi, на основании которых определяют коды команд управления амплитудами токов возбуждения i-x излучателей ФАР Аупрi с помощью соединенных с ними активных каналов управления, подключаемых между i-ми излучателями и фазовращателями ФАР при снижении амплитуд их токов возбуждения на величину, превышающую А/2 ( А – дискрет управления амплитудой тока возбуждения i-го излучателя с помощью подключаемого к нему активного канала управления), а при расчете нормированного значения уровня сигнала, излучаемого ФАР в заданном направлении наряду с фазами токов возбуждения излучателей изл (m, n) учитывают величины компенсации снижения амплитуд i-x излучателей Аупрi=Ent[( Ai/ A)+0,5] A. 1 табл., 1 ил.
Предлагаемое изобретение относится к радиотехнике и может быть использовано при управлении амплитудно-фазовым распределением (АФР) на раскрыве фазированной антенной решетки (ФАР) с дискретным управлением фазами токов возбуждения излучателей с помощью р-разрядных полупроводниковых фазовращателей.
Известен способ управления амплитудно-фазовым распределением на раскрыве линейных и поверхностных ФАР, при котором фазовращатели посредством операций “включено-выключено” с дискретом  устанавливают в фиксированные состояния, ближайшие к заданному состоянию, в соответствии с требуемым положением главного максимума диаграммы направленности (ДН) ФАР (см. А.с. СССР №38974).
Недостаток данного способа состоит в том, что на раскрыве ФАР формируется периодическое распределение коррелированных между излучателями погрешностей квантования фазы, что влечет за собой рост боковых лепестков ДН, увеличение погрешности установки главного максимума ДН в заданное положение, снижение коэффициента усиления ФАР.
Для устранения этого недостатка в ряде работ (изложение которых приведено в книге: Самойленко В.И., Шишов Ю.А. “Управление фазированными антенными решетками”, М.: Радио и связь, 1983, с.137-144) предложен способ управления амплитудно-фазовым распределением на раскрыве ФАР, в котором декорреляцию погрешностей квантования фазы на раскрыве ФАР осуществляют путем введения случайного или нелинейного распределения начальной фазы токов возбуждения излучателей с последующей их компенсацией при формировании кодов управления фазовращателями. Недостаток способа состоит в том что при его технической реализации остается нескомпенсированным производственный разброс вносимого фазовращателями значения фазового сдвига. Кроме того, нескомпенсированными остаются искажения диаграммы направленности ФАР, возникающие при выходах из строя переключающих элементов фазовращателей. Это приводит к снижению точности установки главного максимума ДН в заданное положение, а также к снижению коэффициента усиления ФАР и росту боковых лепестков.
Для устранения этих недостатков в статье Клейменова Ю.А. и Голика А.М. “Повышение точности реализации требуемого амплитудно-фазового распределения” (см. Антенные измерения: Тезисы докладов пятой всесоюзной конференции “Метрологическое обеспечение антенных измерений ” ВКАИ-5, – Ереван: 1990, с.328-331) рассмотрен способ управления амплитудно-фазовым распределением на раскрыве ФАР, в котором ее р-разрядные фазовращатели устанавливаются в фиксированные состояния, ближайшие к заданному состоянию, определяемому требуемым положением главного максимума диаграммы направленности ФАР, осуществляется декорреляция погрешностей квантования фазы на раскрыве ФАР путем введения случайного или нелинейного распределения начальной фазы токов возбуждения излучателей с последующей ее компенсацией при формировании кодов управления р-разрядными фазовращателями, систематические составляющие погрешностей установки состояний каждого из фазовращателей, обусловленных производственным разбросом характеристик фазовращателей и выходами из строя их переключающих элементов, рассчитываются на основе данных СВЧ-контроля характеристик поля соединенного с ним излучателя и учитываются при компенсации начального значения фазы его тока возбуждения, а случайные составляющие погрешностей установки состояний каждого из фазовращателей компенсируются путем осуществления 2p переключений одновременно всех р-разрядных фазовращателей ФАР в очередные состояния, измерения параметров сигналов, принятых ФАР, и усреднения результатов 2p измерений.
Известный способ реализован в устройствах по авторским свидетельствам №№1580393, 1599794, 1774282.
Недостаток известного способа управления амплитудно-фазовым распределением на раскрыве ФАР состоит в том, что при его технической реализации остаются нескомпенсированными искажения амплитудно-фазового распределения на раскрыве ФАР вызванные механическими повреждениями ее излучающих элементов, приводящие к снижению точности установки главного максимума ДН ФАР в заданное положение, а также к росту боковых лепестков ДН и значительному снижению ее коэффициента усиления. Кроме того, необходимость использования 2p установок положения главного максимума ДН ФАР при реализации известного способа приводит к снижению оперативности использующей ФАР радиоэлектронной системы (РЭС).
Повысить оперативность и точность реализации требуемого амплитудно-фазового распределения позволяет известный способ управления АФР, который выбран в качестве прототипа (Россия Патент №2109376, МКИ 6 H01Q 3/26), заключающийся в том, что р-разрядные фазовращатели ФАР устанавливаются в состояния, соответствующие требуемому положению главного максимума ее диаграммы направленности, осуществляется декорреляция погрешностей квантования фазы на раскрыве ФАР путем введения случайного или нелинейного распределения начальной фазы токов возбуждения излучателей с последующей ее компенсацией при формировании кодов управления фазовращателями, а также компенсация погрешностей установки состояний каждого из р-разрядных фазовращателей ФАР, обусловленных производственным разбросом их характеристик и выходами из строя их переключающих элементов, затем по результатам контроля АФР излучателей ФАР определяются координаты излучателей, амплитуды токов возбуждения которых снизились ниже допустимой величины, координаты излучателей, симметричных им по осям Х и Y относительно геометрического центра раскрыва ФАР, а также координаты неисправных р-разрядных фазовращателей, номера отказавших в них переключающих элементов и виды отказов в них, после чего осуществляется расчет нормированного значения уровня сигнала, излучаемого ФАР в заданном направлении, для 2p случаев одновременного изменения состояний всех ее р-разрядных фазовращателей на величину дискрета их переключения  , где  =360°/2p, при этом амплитуды токов возбуждения поврежденных излучателей, значение которых снизилось ниже допустимой величины, и излучателей симметричных им по осям Х и Y относительно геометрического центра раскрыва ФАР принимаются равными нулю, сравнение рассчитанных значений нормированных уровней сигнала и выявление максимального из них, установление р-разрядных фазовращателей в состояние, соответствующее максимальному рассчитанному значению нормированного уровня сигнала, и отключение излучателей, у которых амплитуды токов возбуждения снизилось ниже допустимой величины, и симметричных им по осям Х и Y относительно геометрического центра раскрыва ФАР излучателей.
Недостаток данного способа управления амплитудно-фазовым распределением на раскрыве ФАР состоит в том, что при каждом выходе из строя излучателя ФАР отключаются еще 3 исправных излучателя, что вызывает резкое снижение ее коэффициента усиления, а также в том, что он может быть реализован только в проходных ФАР с фидерным возбуждением. Таким образом способ может быть реализован при выходе из строя не более 20% излучающих элементов и имеет ограниченную область применения.
Целью предлагаемого изобретения является расширение области применения. Поставленная цель достигается тем, что при управлении амплитудно-фазовым распределением на раскрыве ФАР известным способом, включающим операции установки ее р-разрядных фазовращателей в состояния, соответствующие требуемому положению главного максимума диаграммы направленности ФАР, декореляции погрешностей квантования фазы на раскрыве ФАР путем введения случайного или нелинейного распределения начальной фазы токов возбуждения излучателей с последующей ее компенсацией при формировании кодов управления фазовращателями, контроль амплитудно-фазовых характеристик излучателей ФАР, в результате которого определяются координаты i-x излучателей – m, n, (где М – число строк ФАР, а N – число столбцов ФАР), амплитуды токов возбуждения которых снизились, и координаты неисправных р-разрядных фазовращателей, номера отказавших в них переключающих элементов и виды отказов (обрывы или короткие замыкания), а также снижение амплитуд токов возбуждения поврежденных излучателей ФАР и осуществляется расчет нормированного значения уровня сигнала, излучаемого ФАР в заданном направлении, для 2p случаев одновременного изменения состояний всех ее р-разрядных фазовращателей на величину дискрета их переключения  с учетом данных контроля о фазе токов возбуждения каждого из m,n излучателей ФАР – изл (m,n), после чего фазовращатели ФАР устанавливаются в состояния, соответствующие максимальному из 2p рассчитанных значений уровня излучаемого сигнала, кроме того, при контроле амплитудно-фазовых характеристик i-x излучателей ФАР определяются значения величин снижения амплитуд токов их возбуждения Аi, на основании которых определяются коды команд управления амплитудами токов возбуждения i-x излучателей ФАР Аупр1, осуществляемого с помощью соединенных с ними активных каналов управления, подключаемых между i-ми фазовращателями и i-ми излучателями ФАР при снижении амплитуд их токов возбуждения на величину, превышающую А/2 ( А – дискрет управления амплитудой тока возбуждения i-го излучателя с помощью подключаемого к нему активного канала управления), а при расчете нормированного значения уровня сигнала, излучаемого ФАР в заданном направлении наряду с фазами токов возбуждения излучателей изл (m,n) учитываются величины компенсации снижения амплитуд i-x излучателей Аупрi=Ent[( Ai/ А)+0,5] А.
Таким образом, предлагаемый способ характеризуется следующим отличительным признаком по сравнению с прототипом: компенсацией обусловленных механическими повреждениями полотна ФАР погрешностей реализации амплитудного распределения на ее раскрыве путем подключения активных каналов управления амплитудами токов возбуждения i-x излучателей ФАР Аупрi, подключаемых между i-ми излучателями и i-ми фазовращателями ФАР, у которых значения амплитуд токов возбуждения снизилось на величину, превышающую А/2, а при расчете нормированного значения уровня сигнала, излучаемого ФАР в заданном направлении наряду с фазами токов возбуждения излучателей изл (m, n), учитываются компенсации снижения амплитуд i-x излучателей Аупрi.
Выполнение указанных операций позволяет повысить точность реализации требуемого амплитудно-фазового распределения на раскрыве ФАР при механических повреждениях ее полотна, приводящих к снижению амплитуды токов возбуждения поврежденных излучателей (т.е. искажению амплитудного распределения на раскрыве ФАР), и не вызовет заметного снижения коэффициента усиления ФАР при механических повреждениях до 40% ее элементов.
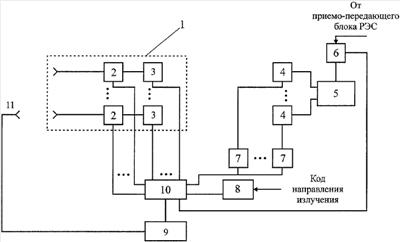
На чертеже приведен вариант технической реализации предлагаемого способа.
Изображенное на чертеже устройство содержит: N×M-элементную ФАР 1; N×M активных модулей управления 2; р-разрядных фазовращателей 3; N×M СВЧ-выключателей 4; СВЧ-сумматор-делитель 5; блок 6 согласования; N×M устройств 7 управления СВЧ-выключателем; вычислитель 8 фаз; блок 9 встроенного контроля; цифровое вычислительное устройство 10; тест-антенна 11.
Управление АФР на раскрыве ФАР по предлагаемому способу осуществляется следующим образом.
После установки фазовращателей ФАР в дискретные состояния в соответствии с заданным направлением излучения и начальной фазой тока возбуждения соответствующего излучателя на основе данных встроенного контроля о координатах неисправных р-разрядных фазовращателей, номерах отказавших в них переключающих элементов и видах отказов (обрывы или короткие замыкания), а также о величине снижения амплитуд токов возбуждения поврежденных излучателей ФАР 2p раз осуществляется расчет нормированного значения уровня сигнала, излучаемого ФАР в заданном направлении для 2p случаев одновременного изменения состояний всех ее р-разрядных фазовращателей на величину дискрета их переключения  ( =360°/2р), при этом амплитуды токов возбуждения поврежденных излучателей, значение которых снизилось на величину, превышающую А/2, с помощью соединенных с ними активных каналов управления, подключаемых между i-ми фазовращателями и i-ми излучателями ФАР, устанавливаются с дискретом А, компенсируя тем самым снижение амплитуды Аi.
Расчет нормированного значения уровня сигнала, излучаемого ФАР в заданном направлении, осуществляется на основе использования известного выражения для определения значения множителя ДН ФАР:

где m, n – номер строки и столбца ФАР соответственно (m=1, М; n=1, N);
A(m,n) – амплитуда тока возбуждения mn-го излучателя ФАР;
(m,n) – фаза тока возбуждения mn-го излучателя ФАР (для выбранного направления излучения);
х,у – х и у – угловые координаты направления (определяемые относительно нормали к плоскости ФАР, установленной из ее геометрического центра), в которое устанавливается главный максимум диаграммы направленности ФАР;
Qx,y – Qx и Qy – угловые координаты точки ДН, в которой рассчитывается нормированное значение уровня сигнала, излучаемого ФАР (т.e. Qx= x, a Qy= y).
Подставляемое в выражение (1) при расчетах значение амплитуды тока возбуждения mn-го излучателя ФАР A(m,n) определяется по результатам СВЧ-контроля как

где Аi – амплитуда i-того возбуждения
Для этой цели может быть использован любой из методов дифференциального СВЧ-контроля характеристик ФАР, описанных в статье Ю.А.Шишова, А.М.Голика и др. “Адаптация управления ФАР по результатам встроенного контроля” (Заруб. радиоэлектроника, 1990, №9, с.69-75.) При этом для поврежденных излучателей ФАР, у которых значение амплитуды снизилось на величину, превышающую А/2 определяются значения величины снижения амплитуд токов их возбуждения Ai.
По завершении расчетов на активные каналы управления, соединенные с i-ми излучателями, подается значение кода команд управления амплитудами их токов возбуждения этих излучателей ФАР Аупр:

где Ent[a] – определение целой части числа а.
В результате чего амплитуды токов возбуждения поврежденных излучателей выставляются с дискретом А в фиксированное состояние, ближайшее к заданному состоянию в соответствии с требуемым положением главного максимума диаграммы направленности.
Подставляемое в выражение (1) при расчетах значение фазы тока возбуждения mn-го излучателя ФАР (m,n) определяется согласно известному способу управления амплитудно-фазовым распределением на раскрыве ФАР.
Наличие механических повреждений излучателей ФАР приводит к искажению симметрии АФР на ее раскрыве и значительному снижению характеристик излучения: снижению точности установки главного максимума ДН ФАР в заданное положение, значительному снижению ее коэффициента усиления и росту боковых лепестков ДН. Поэтому в предлагаемом способе, используя информацию о поврежденных излучателях и об амплитуде тока их возбуждения, значение которых снизилось на величину, превышающую А/2, поступающую от средств встроенного контроля, устанавливают с дискретом А в фиксированное состояние, ближайшее к заданному состоянию в соответствии с требуемым положением главного максимума диаграммы направленности. Техническая реализуемость предлагаемого способа может быть проиллюстрирована с помощью устройства, изображенного на чертеже.
В рассматриваемом устройстве ФАР 1 состоит из 32 излучающих элементов, объединенных с активными модулями 2, осуществляющими управления амплитудой тока возбуждения на раскрыве ФАР. В качестве активных модулей управления 2 используются СВЧ-усилители на арсенид-галиевых полевых тиристорах. Схема и описание работы приведено в статье Шишова Ю.А., Голика А.М. и др. “Фазовращатели радиолокационных антенных решеток”, опубликованной в журнале “Зарубежная радиоэлектроника” №6, 1990, с.44-45, рис.13б. Фазы токов возбуждения излучающих элементов устанавливаются с помощью трехразрядных полупроводниковых фазовращателей 3 (т.е. дискрет переключения  =45°, число состояний S=2p=8).
СВЧ-выключатель 4 представляет собой совокупность коммутационных элементов, установленных параллельно или последовательно в линии передачи. Число коммутационных элементов в m,n-м СВЧ-выключателе (i=0,1, …, N×М) определяется максимальным значением уровня мощности, передаваемого по линии передачи от СВЧ сумматора-делителя 5 к m,n-му фазовращателю 3. В качестве коммутационных элементов используются pin-диоды. Схема и описание pin-диодного СВЧ-выключателя приведены в книге Д.М.Сазонова “Антенны и устройства СВЧ” (М.: Высшая школа, 1988. с.157-169, рис.6.9е и 6.10а).
СВЧ-сумматор-делитель 5 обеспечивает распределение СВЧ-энергии, поступающей на него от приемопередающего блока РЭС, при ее работе в режиме “Передачи”, а также суммирование сигналов, поступающих на излучающие элементы ФАР 1, и передачу их к приемопередающему блоку РЭС при ее работе в режиме “Приема”.
Блок согласования 6 является технической реализацией “Автоматического антенного согласующего устройства” (см. Япония, Заявка 60-97728, МКИ Н04В 1/04), он обеспечивает предельное значение уровня мощности СВЧ-сигнала, передаваемого от приемопередающего блока РЭС к излучателям ФАР путем поддержания максимального из возможных значений коэффициента стоячей волны (КСВ) .
Устройство 7 управления СВЧ-выключателем представляет собой устройство управления секцией дискретного полупроводникового фазовращателя в соответствии с Патентом США №3840827, МКИ Н01Р 1/18. Схема и описание работы устройства приведены в книге В.И.Самойленко и Ю.А.Шишова “Управление фазированными антенными решетками (М.: Радио и связь, 1983, с.161-162, рис.6.7).
Вычислитель 8 фаз представляет собой вычислительное устройство, реализующее расчет требуемых фаз токов возбуждения излучающих элементов ФАР 1 в соответствии с выражением

На него от центрального процессора РЭС поступает код требуемого углового положения луча ФАР.
В качестве блока 9 встроенного контроля может быть использовано одно из устройств встроенного контроля, реализующих модуляционный метод СВЧ-контроля амплитудно-фазовых характеристик каналов управления ФАР (см. Ю.А.Шишов, А.М.Голик, Ю.А.Клейменов и др. Адаптация управления ФАР по результатам встроенного контроля. / Заруб. радиоэлектроника, 1990, №9, 72-74; Пат. 3378846 США, НКИ 343-100; Заявка 60-123103 Япония, МКИ H01Q 3/26 и т.д.). Информация блока 9 поступает на ЦВУ 10 в цифровом виде.
Цифровое вычислительное устройство 10 последовательно реализует функции, фактически описывающие работу устройства:
прием и хранение кодов требуемых фаз токов возбуждения m,n-x излучателей ФАР тр(m,n), определяемых в вычислителе 8 фаз в соответствии с выражением

где dx, dy – расстояния между излучателями ФАР по осям Х и Y соответственно;
k=2 / – волновое число;
– рабочая длина волны РЭС;
прием и хранение поступающей от блока 9 встроенного контроля информации о координатах неисправных фазовращателей, номерах отказавших секций управления (переключающих элементов) и видах отказов (обрыв или короткое замыкание), а также о координатах поврежденных излучающих элементов ФАР, у которых амплитуды токов возбуждения отличаются от требуемых (в рассматриваемом примере от условной 1, т.е. от А=1), и нормированное значение этих амплитуд (в долях 1);
хранение таблиц производственных погрешностей установки m,n-x фазовращателей в состояния 
хранение таблиц погрешностей установки неисправных m,n-x фазовращателей в состояния 
подача команды на блок 6 согласования, реализующего максимальное из возможных значений коэффициента стоячей волны (КСВ) р в линиях передачи СВЧ-энергии;
расчет начального фазового распределения нач(m,n) в соответствии с одним из алгоритмов, описанных в книге: Самойленко В.И., Шишов Ю.А. “Управление фазированными антенными решетками” (М.: Радио и связь, 1983, с.137-144);
расчет устанавливаемых фазовых состояний фазовращателей ФАР упр(m,n) в соответствии с (4) и определение номера дискретного состояния S(m,n);
определение значений для всех фазовращателей ФАР в соответствии с хранимой в памяти ЦВУ 9 таблицей;
определение значений для неисправных фазовращателей ФАР в
соответствии с хранимой в памяти ЦВУ 9 таблицей;
расчет значения фазы тока возбуждения m,n-го излучателя ФАР S(m,n);
расчет 2p нормированных значений уровней сигнала, излучаемого ФАР в заданном направлении в соответствии с (1), для 2p различных значений фазовой подставки 1 в выражении (3), т.е. для 2p случаев одновременного изменения состояний всех ее р-разрядных фазовращателей на величину дискрета их переключения  (в рассматриваемом примере 2p=8);
сравнение рассчитанных значений нормированных уровней сигнала и определение значения фазовой подставки lFmax, соответствующей максимальному из них;
установка фазовращателей ФАР в состояния, соответствующие кодам HFmax(m,n), рассчитываемым по формуле 
т.е. соответствующие фазовой подставке lFmax;
хранение информации о допустимом снижении амплитуд токов возбуждения излучателей на величину, не превышающую А/2;
определение нормированных значений амплитуд токов возбуждения поврежденных излучающих ФАР с величиной Ai(m,n) и запоминание координат тех из них, для которых оно ниже допустимого значения ( А/2);
определение нормированного значения уровня сигнала, излучаемого ФАР в заданном направлении, наряду с учетом фаз токов возбуждения излучателей iизл(m,n) учитываются компенсации снижения амплитуд i-x излучателей Ai(m,n)+Аупрi в соответствии с выражением (2);
формирование кодов команд управления амплитудами токов возбуждения i-x излучателей ФАР Аупрi в соответствии с выражением (3).
Для оценки точности реализации заданного амплитудно-фазового распределения на раскрыве ФАР проводилось статистическое моделирования 32-элементной линейной эквидистантной ФАР, трехразрядные фазовращатели которой имеют производственный разброс ±22,5° (т.е. ± /2). Учет влияния погрешностей реализации АФР на точность определения угловых координат производилась в соответствии с выражением:

где – среднеквадратическая погрешность установки луча ФАР, обусловленная погрешностями реализации требуемого АФР на ее раскрыве;
– среднеквадратическая погрешность определения угловых координат, обусловленная шумами приемной системы РЭС.
Погрешность определяется в соответствии с известным выражением:

где 0,5 – ширина диаграммы направленности ФАР;
Рс/Рш – отношение сигнал/шум на входе измерителя угловых координат;
– нормированное значение уровня главного максимума ДН ФАР по мощности.
Исходное значение погрешности а (для полностью исправной ФАР) составляет 15 минут.
Результаты моделирования приведены в табл.1, где выигрыш в точности определения угловых координат ОН W определяется как отношение погрешности определения угловых координат ОН при использовании известного способа к погрешности определения угловых координат при использовании предлагаемого способа.
Приведенные результаты показывают, что повышение точности реализации амплитудного распределения на раскрыве ФАР в соответствии с предлагаемым способом приводит к 50% – ному снижению погрешностей определения угловых координат по сравнению с известным способом при механических повреждениях до 40% излучателей.
| Таблица 1 |
| Характеристика излучателей |
Среднеквадратическая погрешность установки луча ФАР, мин |
Нормированное значение уровня главного максимума ДН ФАР по мощности  |
Среднеквадратическая погрешность определения угловых координат ОН, мин |
Выигрыш W |
| Известный способ |
Количество отказов, % |
5 |
1,0 |
0,98 |
15,02 |
– |
| |
|
10 |
1,5 |
0,94 |
15,9 |
– |
| |
|
20 |
2,0 |
0,9 |
16,7 |
– |
| |
|
30 |
4,0 |
0,78 |
19,6 |
– |
| |
|
40 |
16,0 |
0,5 |
34 |
– |
| Предлагаемый способ |
Количество отказов, % |
5 |
0,6 |
1,0 |
15,01 |
1 |
| |
|
10 |
1,0 |
1,0 |
15,02 |
1,1 |
| |
|
20 |
1,5 |
1,0 |
15,03 |
1,1 |
| |
|
30 |
1,7 |
1,0 |
15,04 |
1,3 |
| |
|
40 |
2,0 |
1,0 |
15,13 |
2,25 |
Таким образом, предлагаемый способ позволяет в 2,25 раз повысить точность измерения координат объектов наблюдения при выходе из строя до 40%.
Формула изобретения
Способ управления амплитудно-фазовым распределением на раскрыве фазированной антенной решетки (ФАР), в котором ее р-разрядные фазовращатели устанавливают в состояния, соответствующие требуемому положению главного максимума диаграммы направленности ФАР, осуществляется декореляция погрешностей квантования фазы на раскрыве ФАР путем введения случайного или нелинейного распределения начальной фазы токов возбуждения излучателей с последующей ее компенсацией при формировании кодов управления фазовращателями, контроль амплитудно-фазовых характеристик излучателей ФАР, в результате которого определяются координаты i-x излучателей m, n, (где , N – число столбцов ФАР, a , M – число строк ФАР), амплитуды токов возбуждения которых снизились, и координаты неисправных р-разрядных фазовращателей, номера отказавших в них переключающих элементов и виды отказов (обрывы или короткие замыкания), а также снижение амплитуд токов возбуждения поврежденных излучателей ФАР и осуществляется расчет нормированного значения уровня сигнала, излучаемого ФАР в заданном направлении, для 2P случаев одновременного изменения состояний всех ее р-разрядных фазовращателей на величину дискрета их переключения  с учетом данных контроля о фазе тока возбуждения каждого из m, n излучателей ФАР – изл (m, n), после чего фазовращатели ФАР устанавливаются в состояния, соответствующие максимальному из 2P рассчитанных значений уровня излучаемого сигнала, отличающийся тем, что при контроле амплитудно-фазовых характеристик i-x излучателей ФАР определяются значения величин снижения амплитуд токов их возбуждения Аi, на основании которых определяются коды команд управления амплитудами токов возбуждения i-x излучателей ФАР Аупрi, осуществляемого с помощью соединенных с ними активных каналов управления, подключаемых между i-ми фазовращателями и i-ми излучателями ФАР при снижении амплитуд их токов возбуждения на величину, превышающую А/2 ( А – дискрет управления амплитудой тока возбуждения i-го излучателя с помощью подключаемого к нему активного канала управления), а при расчете нормированного значения уровня сигнала, излучаемого ФАР в заданном направлении, наряду с фазами токов возбуждения излучателей изл (m, n) учитываются величины компенсации снижения амплитуд i-x излучателей Аупрi=Ent[( Ai/ A)+0,5] A.
РИСУНКИ
|
|