|
|
(21), (22) Заявка: 2007117669/09, 11.05.2007
(24) Дата начала отсчета срока действия патента:
11.05.2007
(46) Опубликовано: 10.09.2008
(56) Список документов, цитированных в отчете о поиске:
GB 1478307, 29.06.1977. RU 2069421 С1, 20.11.1996. GB 1512308, 01.06.2001. FR 2709601, 10.03.1995.
Адрес для переписки:
445051, Самарская обл., г. Тольятти, ул. Жукова, 48, кв.24, В.Ф. Иванову
|
(72) Автор(ы):
Иванов Владимир Феофанович (RU)
(73) Патентообладатель(и):
Иванов Владимир Феофанович (RU)
|
(54) ДВУХСЛОЙНЫЙ ЭЛЕКТРИЧЕСКИЙ СОЕДИНИТЕЛЬ ДЛЯ ВЫВОДА АККУМУЛЯТОРНОЙ БАТАРЕИ
(57) Реферат:
Электрический соединитель устанавливается на конический вывод аккумуляторной батареи при помощи стяжного болта с квадратной головкой и шестигранной гайки на выступах для зажима, исключающих прокручивание, и служит для подключения кольцевых наконечников с проводами различного сечения, обеспечивая передачу электрической энергии от источника к приемникам в электрической сети автомобиля и трактора со стартерной аккумуляторной батареей. Конструкция электрического соединителя для вывода аккумуляторной батареи является двухслойной и обладает повышенной надежностью и экономичностью. Материал его токопроводящего слоя – листовая медь уменьшенной толщины и размера, имеющая повышенную электропроводность. Материал его крепежного слоя – сталь с высокими прочностными характеристиками, обеспечивающими надежность. Соединитель, кроме гнездового участка со смещающимися между собой слоями в форме двух усеченных конусов, устанавливаемого на вывод аккумуляторной батареи, имеет примыкающие к нему верхний горизонтальный токопроводящий слой и нижний горизонтальный стальной слой, скрепленные тремя запрессованными и развальцованными резьбовыми втулками. При помощи шайб и болтов, закрепляемых в резьбовых втулках, возможно присоединение трех кольцевых наконечников с проводами различного сечения к горизонтальному токопроводящему слою, обеспечивая высокие эксплуатационные качества соединителя. 3 ил.
Изобретение относится к установке электрооборудования в автомобилестроении и тракторостроении, в частности к электрическому соединителю для вывода стартерной аккумуляторной батареи – одному из элементов электрической сети автомобиля и трактора.
Известна присоединительная клемма для зажима аккумляторной батареи, изготовленная методом штамповки. Клемма имеет участки, удерживающие вывод аккумуляторной батареи, элементы для установки зажимного болта и лепесток для проверки электрических цепей.
Недостаток клеммы заключается в пониженной экономичности конструкции и недостаточной ее жесткости. Материал клеммы выполняет электропроводящую функцию и одновременно несет механическую нагрузку при обжиме, что требует применения дорогостоящего металла повышенной толщины. Наличие большого количества объемных форм снижает технологичность изделия. Неравномерная контактная поверхность клеммы снижает электропроводящие качества изделия. Конструкция краевых участков для установки зажимного болта, наличие зажимного цилиндрического элемента не обеспечивает постоянного электрического контакта с поверхностью вывода и снижает механическую прочность конструкции. Высока вероятность деформации удерживающего вывод участка клеммы при зажиме и запрессовке провода в гнездовой части, что снижает надежность изделия. Применение механизмов для закрепления болта затруднено. Отключение провода может быть проведено только при снятии клеммы с вывода аккумуляторной батареи. Имеющийся на клемме лепесток служит только для диагностических целей и не может осуществлять электрическую связь с мощными приемниками.
Библиографические данные источника информации: публикация 1977 г., 1 июня, №4653 A BRIDGMENT OF SPECIFICATION, ЦНИИПИ, заявка Великобритании №1512308.
Наиболее близкой по технической сущности к изобретению является клемма, выштампованная из латунной полосы, состоящая из гнездового участка в форме усеченного конуса и лапок. Одна лапка имеет выступы для обжимки жилы и изоляции провода. Клемму надевают на вывод аккумуляторной батареи и зажимают болтом с квадратной головкой, пропущенным через отверстия в лапках, и шестигранной гайкой. Метод штамповки позволяет на наружной поверхности гнездового участка клеммы выбить буквенное обозначение.
Недостаток известной клеммы заключается в пониженной экономичности конструкции и недостаточной ее технологичности. Материал клеммы выполняет электропроводящую функцию и одновременно несет механическую нагрузку при обжиме, что требует применения дорогостоящей латуни повышенной толщины. Неравномерная контактная поверхность клеммы с прорезями в гнездовой части снижает электропроводящие качества изделия. Для повышения электропроводности могла быть применена медь. При стягивании болтовым соединением, опрессовке провода в выступах лапки возможна деформация лапок с отверстиями и гнездового участка клеммы, что снижает надежность изделия. Применение механизмов для закрепления болта затруднено. Отключение провода может быть проведено только при снятии клеммы с вывода аккумуляторной батареи. В конструкции клеммы не предусмотрена возможность подключения наконечников проводов для осуществления электрической связи с другими приемниками.
Библиографические данные источника информации: публикация 1977 г., 29 июня, №4605 A BRIDGMENT OF SPECIFICATION, ЦНИИПИ, заявка Великобритании №1478307.
Техническим результатом изобретения является повышенная экономичность и технологичность электрического соединителя, высокая электропроводность и механическая прочность его при обеспечении расширенных эксплуатационных качеств и надежности.
Существенными признаками, обеспечивающими технический результат изобретения, являются: двухслойная конструкция электрического соединителя, применение для токопроводящего слоя листовой меди, для крепежного слоя листовой стали, наличие трех запрессованных и развальцованных резьбовых втулок для присоединения наконечников с проводами различного сечения.
Заявляемая двухслойная конструкция электрического соединителя, в которой электропроводящий слой перестал нести механическую нагрузку при стягивании болтового соединения, позволила значительно экономить количество цветного металла, использовать электропроводящий материал меньшей толщины и оптимизировать развертку. В конструкции отсутствуют сложные объемные формы, что повышает технологичность изделия.
Экономичность конструкции электрического соединителя позволила применить для электропроводящего слоя вместо латуни листовую медь марки M1, имеющую проводимость почти в четыре раза большую, чем латунь.
Крепежный слой электрического соединителя, служащий для стягивания болтового соединения, при установке на вывод аккумуляторной батареи выполняется из стали. Предел прочности на растяжение примененной стали выше, чем у латуни.
Наличие запрессованных и развальцованных резьбовых втулок, скрепляющих два горизонтальных слоя электрического соединителя, дает возможность присоединения трех кольцевых наконечников с проводами различного сечения к горизонтальному токопроводящему слою, обеспечивая высокие эксплуатационные качества соединителя. При необходимости наконечники проводов могут быть отключены без снятия электрического соединителя с вывода аккумуляторной батареи. Крепежный стальной слой увеличивает жесткость конструкции и повышает надежность заявляемого соединителя.
Заявляемый двухслойный электрический соединитель для выполнения функции передачи электрической энергии от источника (стартерной аккумуляторной батареи) к приемникам (стартер, генератор и другие) имеет следующие конструктивные элементы: слой крепежный для установки и закрепления на выводе аккумуляторной батареи болтом с квадратной головкой и шестигранной гайкой; слой токопроводящий для передачи электрической энергии от вывода аккумуляторной батареи; запрессованные резьбовые втулки для подключения к токопроводящему горизонтальному слою трех кольцевых наконечников с проводами различного сечения. Слой крепежный и слой токопроводящий связаны между собой только в плоскости передачи электрической энергии к наконечникам проводов тремя запрессованными и развальцованными резьбовыми втулками. Гнездовой участок соединителя, предназначенный для установки на вывод аккумуляторной батареи, состоит из двух слоев в виде усеченных конусов, один из которых находится внутри другого. Наружный конус является крепежным слоем и имеет примыкающие выступы с отверстиями под стягивающий болт с квадратной головкой и шестигранной гайкой. Наличие на выступе специальной отбортовки предотвращает прокручивание болта. Внутренний конус, являющийся токопроводящим слоем, содержит прорезь, в зону крепления не входит и механической нагрузки при стягивании болтом с квадратной головкой с шестигранной гайкой не несет. При установке на вывод аккумуляторной батареи и последующем стягивании слои перемещаются между собой, внутренний слой обжимается наружным и обеспечивается максимальный равномерный электрический контакт с поверхностью вывода батареи. К усеченным конусам примыкают плавно загнутые горизонтальные плоскости, соединяемые между собой тремя запрессованными резьбовыми втулками. Верхняя плоскость – слой токопроводящий. Нижняя плоскость – стальной слой, повышающий прочность конструкции. Втулки служат для присоединения к токопроводящему слою кольцевых наконечников с проводами с помощью болтов и шайб. Резьба одной втулки – М6, двух других втулок – М8. Материал токопроводящего слоя – листовая медь с высокими показателями проводимости и защитным покрытием. Материал крепежного слоя – сталь с высоким пределом прочности при растяжении и защитным покрытием. Материал стяжного болта и гайки – сталь с защитным покрытием. Средой для выполнения функций электрического соединителя служит автомобиль или трактор со стартерной аккумуляторной батареей, на вывод которой производится крепление заявляемого соединителя с помощью стяжного болта с квадратной головкой и шестигранной гайки. Наконечники с проводами могут быть подключены к соединителю предварительно или после установки соединителя на вывод аккумуляторной батареи.
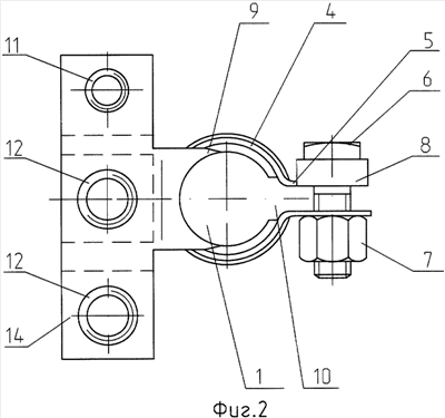
На фиг.1 изображен двухслойный электрический соединитель для вывода аккумуляторной батареи, вид спереди; на фиг.2 – то же, вид сверху. На фиг.3 изображен двухслойный электрический соединитель, установленный на вывод аккумуляторной батареи.
Двухслойный электрический соединитель для вывода аккумуляторной батареи содержит гнездовой участок 1, предназначенный для установки на вывод 2 аккумуляторной батареи 3, состоящий из двух слоев в виде усеченных конусов, один из которых находится внутри другого. Наружный конус является крепежным слоем 4 и имеет примыкающие выступы 5 с отверстиями под стягивающий болт 6 с квадратной головкой и шестигранной гайкой 7. Наличие на выступе 5 специальной отбортовки 8 предотвращает прокручивание болта 6. Внутренний конус, являющийся токопроводящим слоем 9, содержит прорезь 10, в зону крепления не входит и механической нагрузки при стягивании болтом 6 с квадратной головкой с шестигранной гайкой 7 не несет. К наружному слою 4 и внутреннему слою 9 в виде усеченных конусов примыкают плавно загнутые горизонтальные плоскости, соединяемые между собой тремя запрессованными резьбовыми втулками 11, 12. Резьба втулки 11 – М6, втулок 12 – М8. Нижняя плоскость – стальной слой 13, повышающий прочность конструкции. Верхняя плоскость – токопроводящий слой 14. Резьбовые втулки 11, 12 служат для присоединения к токопроводящему слою 14 кольцевых наконечников 15, 16, 17 проводов болтами 18, 19 с шайбами.
Заявляемый двухслойный электрический соединитель для выполнения функции передачи электрической энергии от источника (стартерной аккумуляторной батареи) к приемникам (стартер, генератор и другие) устанавливается принимающим участком 1 на вывод 2 аккумуляторной батареи 3 и стягивается болтом 6 с квадратной головкой, установленным в отверстия выступов 5, и шестигранной гайкой 7. При стягивании слои 4 и 9 перемещаются между собой, внутренний слой 9 обжимается наружным слоем 4, что обеспечивает максимальный и равномерный электрический контакт с поверхностью вывода 2 аккумуляторной батареи 3. Наличие на выступе 5 специальной отбортовки 8 предотвращает прокручивание болта 6 при стягивании. Наконечники 15, 16, 17 проводов могут быть подключены к соединителю предварительно или после установки соединителя на вывод 2 аккумуляторной батареи 3. Кольцевые наконечники 15, 16, 17 с проводами различного сечения присоединяются к горизонтальному токопроводящему слою 14 креплением болтов 18, 19 с шайбами в резьбовых втулках 11, 12.
Данная конструкция соединителя позволяет значительно быстрее проводить установку автотракторных жгутов проводов при сборке с применением средств механизации, подключать несколько потребителей электрооборудования, упростив структуру жгутов проводов, при необходимости оперативно отключить наконечники 15, 16, 17 конкретного провода без снятия соединителя с вывода 2 аккумуляторной батареи 3.
Таким образом, предложенный двухслойный электрический соединитель для вывода аккумуляторной батареи наиболее эффективен по сравнению с известными клеммами, имеет экономичную конструкцию, обладает повышенной электропроводностью и механической прочностью, обеспечивает максимальное удобство в эксплуатации и надежность в работе.
Формула изобретения
Электрический соединитель, имеющий гнездовой участок для установки на конический вывод аккумуляторной батареи с помощью стяжного болта с квадратной головкой и шестигранной гайки на выступах для зажима, исключающих прокручивание, выполнен методом вырубки и штамповки, позволяющим на наружной части соединителя выполнить буквенное обозначение, отличающийся тем, что, с целью повышения надежности и экономичности, имеет гнездовой участок из двух слоев в форме усеченных конусов, находящихся один в другом и способных смещаться между собой при стягивании, где внутренний токопроводящий слой уменьшенной толщины и размера из листовой меди – материала повышенной электропроводности, и наружный крепежный слой повышенной прочности из стали, которые плавно переходят в верхний горизонтальный токопроводящий слой и нижний горизонтальный стальной слой, скрепленные тремя запрессованными и развальцованными резьбовыми втулками, позволяющими подсоединить к горизонтальному токопроводящему слою соединителя три кольцевых наконечника с проводами различного сечения при помощи шайб и болтов, закрепляемых в резьбовых втулках.
РИСУНКИ
|
|