|
|
(21), (22) Заявка: 2006136868/28, 17.10.2006
(24) Дата начала отсчета срока действия патента:
17.10.2006
(43) Дата публикации заявки: 27.04.2008
(46) Опубликовано: 10.09.2008
(56) Список документов, цитированных в отчете о поиске:
SU 884475 A, 15.12.1984. SU 1288783 A1, 07.02.1987. SU 1635152 A1, 15.03.1991. SU 550944 A, 28.02.1985. SU 869502 A, 15.12.1984. SU 323054 A1, 24.05.1972. JP 2006164756 A, 22.06.2006. WO 2005098890 A1, 20.10.2005. US 6194831 В1, 27.02.2001.
Адрес для переписки:
634061, Томская обл., г.Томск, а/я 4185, пат.пов. Н.П.Тарасовой
|
(72) Автор(ы):
Цицура Владимир Николаевич (RU), Силантьев Олег Игоревич (RU), Алхимов Юрий Васильевич (RU), Кулешов Валерий Константинович (RU)
(73) Патентообладатель(и):
Цицура Владимир Николаевич (RU), Силантьев Олег Игоревич (RU)
|
(54) ГАЗОРАЗРЯДНЫЙ ПРЕОБРАЗОВАТЕЛЬ РАДИАЦИОННОГО ИЗОБРАЖЕНИЯ В ВИДИМОЕ
(57) Реферат:
Использование: для визуализации радиационных излучений при неразрушающем контроле материалов и изделий. Сущность: заключается в том, что газоразрядный преобразователь радиационного изображения в видимое выполнен в виде герметичной газоразрядной камеры, заполненной рабочей смесью на основе инертного газа, объем которой ограничен двумя электродами, один из которых прозрачный, а другой непрозрачный, и диэлектрической рамкой, а также слоем люминофора, отличается тем, что между электродами расположена диэлектрическая матричная решетка, обеспечивающая отсутствие выхода ультрафиолетового излучения локализованных электрических разрядов за габариты каждой отдельной ячейки, при этом слой люминофора нанесен на обращенную к газовому объему поверхность непрозрачного электрода. Технический результат: создание газоразрядного преобразователя радиационного изображения в видимое, обладающего высокой разрешающей способностью. 1 з.п. ф-лы, 2 ил.
Изобретение относится к электрическим газоразрядным приборам, которые могут быть использованы для визуализации радиационных излучений при неразрушающем контроле материалов и изделий.
Известен преобразователь рентгеновского изображения в видимое [Описание к авторскому свидетельству №550944, опубл. 28.02.85, Бюл. №8], который представляет собой камеру, ограниченную прозрачным электродом, диэлектрической рамкой и электродом входного окна камеры, преобразователь подключен к блоку питания.
Рентгеновское излучение, пройдя объект контроля и частично ослабившись в нем, через электрод с нанесенным на него резистивным слоем попадает в рабочий объем камеры и вызывает в газе первичную ионизацию. Под действием высоковольтного импульса питания, вырабатываемого генератором из первичной ионизации, в газоразрядной камере возникают локализованные электрические разряды. Видимое изображение образуется локализованными электрическими разрядами газовой среды.
Существенным недостатком преобразователя является низкая разрешающая способность, что является следствием конфигурации разрядного промежутка. Рабочий газовый объем представляет собой единое целое, поэтому соседние локализованные электрические разряды влияют друг на друга, что выражается в вуалировании общей картины, потере контраста и увеличении внутренней нерезкости.
Известна импульсная искровая камера для преобразования рентгеновского излучения в видимое [Описание к авторскому свидетельству №807410, опубл. 23.02.81, Бюл. №7), рабочий объем которой ограничен прозрачным электродом, диэлектрической рамкой и вторым электродом. Камера обладает улучшенным качеством изображения за счет того, что прозрачный электрод нанесен на диэлектрическую пластину со стороны газоразрядного промежутка, а непрозрачный электрод отделен от газоразрядного промежутка резистивным слоем.
Несмотря на лучшее качество изображения, разрешающая способность камеры остается низкой, так как не исключено влияние соседних локализованных электрических разрядов.
Известен радиационно-оптический преобразователь изображения [Описание изобретения к авторскому свидетельству №1261028, опубл. 30.09.86, Бюл. №36], герметичный объем которого образован непрозрачным электродом, межэлектродным диэлектрическим кольцом и прозрачной диэлектрической пластиной с нанесенным на нее со стороны газоразрядного промежутка прозрачным электродом. На внутреннюю поверхность межэлектродного кольца и на поверхность непрозрачного электрода, обращенную к газоразрядному промежутку, нанесены резистивные слои.
Средний диаметр разрядных каналов составляет 0,68-0,78 мм, что позволило увеличить информационную емкость путем уменьшения неравномерности пространственной разрешающей способности.
Несмотря на лучшее качество изображения, разрешающая способность камеры остается низкой, так как не исключено влияние соседних локализованных электрических разрядов.
Наиболее близким техническим решением, выбранным в качестве прототипа, является газоразрядный преобразователь радиационных излучений с визуализацией изображения [Описание к авторскому свидетельству №1288783, опубл. 07.02.87, Бюл. №5], выполненный в виде герметичной газоразрядной камеры, заполненной рабочей смесью на основе инертного газа, которая содержит непрозрачный электрод, диэлектрическую рамку и прозрачный электрод, состоящий из плоскопараллельной подложки и электропроводящего покрытия, на полированную поверхность прозрачного электрода, обращенную к газоразрядному промежутку, нанесена металлическая или окисная пленка, а на противоположную поверхность прозрачного электрода – слой люминофора.
Несмотря на лучшие частотно-контрастные характеристики, разрешающая способность камеры остается низкой, так как не исключено влияние ультрафиолетового излучения соседних локализованных электрических разрядов.
Задачей изобретения является создание газоразрядного преобразователя радиационного изображения в видимое, обладающего высокой разрешающей способностью.
Решить поставленную задачу возможно при использовании заявляемого изобретения, в котором газоразрядный преобразователь радиационного изображения в видимое, так же как и в прототипе, выполнен в виде герметичной газоразрядной камеры, заполненной рабочей смесью на основе инертного газа, объем которой ограничен двумя образующими газовый зазор электродами, один из которых прозрачный, а другой непрозрачный, и диэлектрической рамкой, а также слоем люминофора.
В отличие от прототипа, между электродами расположена диэлектрическая матричная решетка, а слой люминофора нанесен на обращенную к газовому объему поверхность непрозрачного электрода.
Благодаря введению матричной решетки между электродами стало возможным изолировать влияние ультрафиолетового излучения соседних локализованных электрических разрядов друг на друга, что позволило уменьшить нерезкость изображения, следовательно, повысить разрешающую способность преобразователя.
Нанесение слоя люминофора на поверхность, обращенную к газовому объему, непрозрачного электрода (катода) позволяет дополнительно уменьшить нерезкость, следовательно, увеличить разрешающую способность газоразрядного преобразователя, что подтверждается ниже приведенными доводами.
В связи с экспоненциальным распределением плотности первичной ионизации в газовом промежутке, максимум находится у входного непрозрачного электрода (катода) и минимум – у прозрачного электрода (анода). Плотность ионизации молекул рабочего газа убывает от катода к аноду. В момент инициирования лавин и в момент начала пробоя на лавинно-стримерном переходе основная часть энергии будет выделяться в прикатодной области. Распространение ультрафиолетового излучения, сопровождающего газовый разряд, изотропно, и теневая электронная картинка размывается при удалении от катода. Поэтому при нанесении слоя люминофора на непрозрачный электрод высвечивание люминофора инициируется на этапе зарождения и начального развития пробоя, а потому изображение получается более контрастным, чем в прототипе, в котором слой люминофора нанесен на прозрачный электрод.
Положительным дополнительным эффектом изобретения является уменьшение напряжения питания по сравнению с прототипом благодаря тому, что введение матричной решетки позволило уменьшить межэлектродное расстояние (газовый зазор).
В прототипе газовый зазор, который конструктивно задается высотой диэлектрической рамки, практически необходимо брать несколько больше расчетного, для того чтобы уменьшить влияние погрешности размеров электродов и упругой деформации электродов под влиянием внешних нагрузок на работоспособность устройства. Матричная решетка, вводимая в газовый зазор, позволяет стабилизировать газовый зазор во всех точках и кратно минимизировать относительную погрешность и, соответственно, позволяет уменьшить толщину газового зазора. Уменьшив величину газового зазора можно уменьшить величину напряжения питания, сохраняя приемлемую равномерность яркости и контраста свечения рабочего поля.
Выполнение матричной решетки из стекла обеспечивает оптимальное соотношение цены и качества преобразователя.
Далее приводится пример конкретного выполнения газоразрядного преобразователя радиационного изображения в видимое.
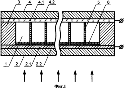
На фиг.1 представлена конструктивная схема газоразрядного преобразователя радиационного изображения в видимое, вид сбоку.
На фиг.2 представлен фрагмент конструктивной схемы газоразрядного преобразователя радиационного изображения в видимое, вид сверху.
Газоразрядный преобразователь радиационного изображения в видимое, представленный на фиг.1, 2, выполнен на основе газоразрядной камеры, герметичный рабочий объем 1 которой, заполненный инертным газом (ксеноном), образован непрозрачным электродом 2, диэлектрической рамкой 3 и прозрачным электродом 4; между электродами 2 и 4 находится стеклянная матричная решетка 5 с квадратными ячейками 0,3×0,3 мм, с толщиной стенок 0,1 мм и высотой 0,2 мм; слой люминофора 6 нанесен на участки поверхности, обращенной к газовому объему электрода 2, образуя дно ячеек матричной решетки 5.
Непрозрачный электрод 2 представляет собой тонкую металлическую пленку 2.1 (алюминия) на диэлектрической пластине 2.2 (стекло).
Диэлектрическая рамка 3 изготовлена из стекла.
Прозрачный электрод 4 изготовлен в виде прозрачного проводящего слоя 4.1 (SnO2 или In2O3), нанесенного на стеклянную пластину 4.2.
Устройство работает следующим образом.
Рентгеновское излучение (на фиг.1 показано стрелками), пройдя объект контроля и частично ослабившись в нем, через электрод 2, являющийся входным окном преобразователя, вызывает вторичную электронную эмиссию электронов из металлической пленки 2.1 (алюминий) электрода 2, которые переводят молекулы рабочего газа (ксенон) в возбужденное состояние, сохраняя теневую картину объекта контроля. Распределение плотности ионизации в плоскости преобразователя соответствует распределению потока падающего рентгеновского излучения. После задержки порядка нескольких микросекунд генератор питания (на фиг.1 не показан) формирует короткий, в несколько наносекунд, импульс высокого напряжения (3 кВ) и подает его на электроды 2, 4 газоразрядной камеры, формируются локализованные электрические разряды, сопровождающиеся ультрафиолетовым излучением. Ультрафиолетовое излучение газовых разрядов, попадая на люминесцентный слой 6, преобразуется в видимое излучение.
Благодаря матричной решетке ультрафиолетовое излучение локализованных электрических разрядов не выходит за габариты каждой отдельной ячейки.
Стеклянные диэлектрические барьеры между ячейками поглощают ультрафиолетовое излучение газового разряда, распространяющееся в боковом направлении, и, соответственно, исключают влияние излучения одной ячейки на другую.
Светящееся изображение наблюдается или фотографируется через прозрачный электрод.
Таким образом, предложенное техническое решение газоразрядного преобразователя радиационного изображения в видимое обладает высокой разрешающей способностью, а именно 1,67 пар линий на мм. Учитывая, что прототип обладает разрешающей способностью 0,7 пар линий на мм, разрешающую способность удалось увеличить в 1,67:0,7=2,38 раза.
Расстояние между электродами снижено до 0,2 мм, в то время как у прототипа 2-10 мм. Напряжение питания удалось значительно уменьшить по сравнению с прототипом, а именно с 25 кВ до 3 кВ.
Формула изобретения
1. Газоразрядный преобразователь радиационного изображения в видимое, выполненный в виде герметичной газоразрядной камеры, заполненной рабочей смесью на основе инертного газа, объем которой ограничен двумя электродами, один из которых прозрачный, а другой непрозрачный, и диэлектрической рамкой, а также слоем люминофора, отличающийся тем, что между электродами расположена диэлектрическая матричная решетка, обеспечивающая отсутствие выхода ультрафиолетового излучения локализованных электрических разрядов за габариты каждой отдельной ячейки, при этом слой люминофора нанесен на обращенную к газовому объему поверхность непрозрачного электрода.
2. Газоразрядный преобразователь по п.1, отличающийся тем, что диэлектрическая матричная решетка выполнена из стекла.
РИСУНКИ
|
|