|
|
(21), (22) Заявка: 2006122593/06, 23.06.2006
(24) Дата начала отсчета срока действия патента:
23.06.2006
(43) Дата публикации заявки: 10.01.2008
(46) Опубликовано: 10.09.2008
(56) Список документов, цитированных в отчете о поиске:
ШАБАЛИН Е.П. Импульсные ядерные реакторы на быстрых нейтронах. – М.: Атомиздат, 1976, с.94-96. RU 2035072 С1,10.05.1995. RU 2250519 С2, 20.04.2005. RU 2193249 С2, 20.11.2002. GB 2098788 А, 24.11.1982. ЕР 0617430 А1, 28.09.1994.
Адрес для переписки:
117218, Москва, Б. Черемушкинская, 25, ФГУП ГНЦ РФ ИТЭФ им. А.И. Алиханова, патентный отдел, Ю.П. Быкову
|
(72) Автор(ы):
Иосселиани Дмитрий Дмитриевич (RU)
(73) Патентообладатель(и):
Федеральное государственное унитарное предприятие “Государственный научный центр Российской Федерации Институт теоретической и экспериментальной физики им. А.И. Алиханова” (RU)
|
(54) ИМПУЛЬСНАЯ ЭЛЕКТРОЯДЕРНАЯ УСТАНОВКА
(57) Реферат:
Изобретение относится к области технической физики. Импульсная электроядерная установка (ИЭЛЯУ) содержит подкритический бланкет, модулятор реактивности бланкета, драйвер, нейтронообразующую мишень и бак с жидким ядерным топливом, в котором выполнены две полости, в одной из которых, снабженной крышкой-отражателем, размещено экспериментальное оборудование, а в другой – ускоритель-драйвер. Модулятор реактивности содержит две параллельные алюминиевые трубы с покрытием из бериллия, закрепленные на общем валу, один конец которого укреплен в подшипнике, а второй в роторе электродвигателя, отделенном от статора стенкой, выполненной из немагнитного материала. Ускоритель-драйвер содержит цилиндрический вакуумный кожух, состоящий из металлической части – анода и части, выполненной из диэлектрического материала, газовое оборудование, снабженное регулируемым газовым натекателем и средствами контроля газового давления, установленные снаружи кожуха индукторы, между которыми размещены магнитные катушки, источники импульсного питания индукторов и катушек, источник дейтронов, укрепленный на вакуумной стороне анодной трубы, катод, выполненный в виде трубы, на поверхность которой нанесен слой бериллия, укрепленной коаксиально на фланце диэлектрической части кожуха, на вакуумной стороне которого нанесен металлический слой толщиной, много меньшей скин-слоя электромагнитного колебания, период которого равен удвоенной длительности импульсов напряжения на индукторах. Использование изобретения позволит обеспечить достаточный для экспериментов нейтронный поток при минимальной мощности. 3 ил.
Изобретение относится к области технической физики, в частности к электроядерным исследовательским установкам, и может быть использовано на физических факультетах в лабораторных занятиях по ядерной энергетике, нейтронной физике, ускорителям заряженных частиц – драйверам электроядерных установок.
Известна электроядерная установка, содержащая ускоритель-драйвер, нейтронообразующую мишень. Ускоренный драйвером протонный пучок облучает мишень, вызывает нейтронное излучение, использующееся для трансмутации ядерных отходов. Энергия пучка драйвера составляет 1,5 ГэВ и выше.
1. C.D.Bowman, et al. “Nuclear Energy Generation and Waste Transmutation Using an Accelerator-Driven Intensive Thermal Neutron Source”, NIM in Phys. Res. (Sec. A), Vol.A320, Nos.1, 2, August 15, 1992, pp.336-337
Известна электроядерная установка, содержащая драйвер, нейтронообразующую мишень, размещенную в подкритическом бланкете-умножителе.
2. Venneri F., Bowman C.D., Jameson R. “Accelerators address nuclear waste problems” Physics World 6, 8 p.40 (Aug. 1993).
Однако указанные установки имеют уникальный уровень сложности и недоступны для рядовых университетов.
В связи с этим актуальна проблема создания установки малой мощности, способной заменить исследовательские реакторы, которыми 40-30 лет назад оснащались университеты и крупные институты. С одной стороны, эти реакторы в значительной мере выработали свой ресурс, а с другой стороны, существенно возросли требования к безопасности источников, содержащих делящиеся материалы, которым установки с подкритическим бланкетом удовлетворяют в большей степени.
Наиболее близким к предлагаемому техническому решению по конструктивным признакам, и потому принятому за прототип, является импульсная электроядерная установка /ИЭЛЯУ/ ИБР-2, описанная в книге Е.П.Шабалин. Импульсные ядерные реакторы на быстрых нейтронах. М., Атомиздат, 1976, с.94-95.
Прототип содержит бланкет из собранных в решетку тепловыделяющих элементов.
Внутри бланкета размещается нейтронообразующая мишень. Модуляция реактивности бланкета осуществляется периодическим введением в активную зону бериллиевого отражателя. В момент максимума реактивности мишень облучается пучком из ускорителя драйвера.
Прототипу присущи следующие недостатки – сохранение традиционной для реакторов компановки твэлов в решетку с жестко заданным шагом обуславливает традиционный вывод нейтронного излучения. Излучение выводится по нетроновыводам, длина которых составляет десятки метров. Необходимый уровень узлучения обеспечивается работой в надкритическом режиме в импульсе.
Теническая задача изобретения – создание ИЭЛЯУ с достаточным для экспериментов нейтронным потоком, при минимальной мощности.
Технический результат достигается тем, что ИЭЛЯУ снабжена баком с жидким ядерным топливом, в котором выполнены две полости, в одной из них, снабженной крышкой-отражателем, размещено экспериментальное оборудование, а в другой – ускоритель-драйвер, модулятор реактивности содержит две параллельные алюминиевые трубы с покрытием из бериллия, закрепленные на общем валу, один конец которого укреплен в подшипнике, а второй – в роторе электродвигателя, отделенном от статора стенкой, выполненной из немагнитного материала, ускоритель-драйвер содержит цилиндрический вакуумный кожух, состоящий из металлической части – анода и части, выполненной из диэлектрического материала, газовое оборудование, снабженное регулируемым газовым натекателем, средствами контроля газового давления, вакуумный насос, катушки магнитной изоляции, размещенные снаружи вакуумного кожуха, ускоряющие индукторы, размещенные на диэлектрической части кожуха между катушками, источники импульсного питания индукторов и катушек, источник дейтронов, укрепленный на вакуумной стороне анодной трубы с обеспечением электрического контакта между ней и катодами, составляющими источник обращенных магнетронов с гладкими анодами, электрически связанными с импульсными источниками электропитания магнетронов, каждый из последних сообщен с объемом ускорителя посредством сквозной щели, выполненной в катоде магнетрона и лежащей в плоскости, проходящей через соответствующий диаметр кожуха параллельно его образующей, катод драйвера выполнен в виде трубы, на поверхность которой нанесен слой бериллия, укрепленной коаксиально на фланце диэлектрической части кожуха, на вакуумной стороне которой нанесен металлический слой толщиной, много меньшей скин-слоя электромагнитного колебания, период которого равен удвоенной длительности импульсов напряжения на индукторах.
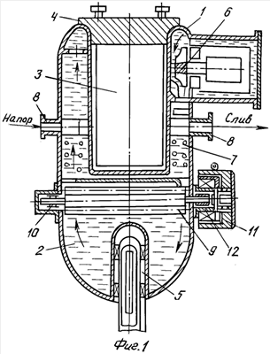
Изобретение иллюстрируется чертежами. На фигуре 1 изображена схема ИЭЛЯУ в сборе, на фигуре 2 – схема продольного сечения ускорителя-драйвера, на фигуре 3 – его поперечное сечение.
ИЭЛЯУ содержит цилиндрический бак – 1, содержащий жидкое ядерное топливо – 2. В баке 1 выполнены две цилиндрические полости. В полости – 3, снабженной крышкой – 4, являющейся отражателем нейтронов, размещено испытуемое оборудование /на чертежах не обозначено/, а в полости 5 размещен ускоритель-драйвер. Циркуляционный насос – 6 предназначен для перемещения топлива между трубами теплообменника 7, к которому через патрубки – 8 подводится и отводится охлаждающая жидкость.
Модулятор реактивности содержит две параллельные трубы – 9, выполненные из алюминия, на их наружной поверхности нанесен слой бериллия.
Трубы трубы – 9 закреплены на общем валу, один конец которого укреплен в подшипнике – 10, а второй – в роторе электродвигателя – 11, отделенном от него стенкой – 12 кожуха, выполненого из немагнитного материала. Ускоритель-драйвер содержит цилиндрический вакуумный кожух, состоящий из двух частей: металлической – 13, являющейся анодной трубой, и части, выполненой из диэлектрического материала – 14, газовое оборудование снабжено регулируемым газовым натекателем, средством контроля газового давления – 15 и вакуумным насосом – 23. Снаружи кожуха ускорителя установлены индукторы – 16 и магнитные катушки – 17. Индукторы и катушки снабжены импульсными источниками напряжения, не показанными на чертежах. На вакуумной стороне анодной трубы – 18 установлен источник дейтронов – 19. Источник содержит обращенные магнетроны с гладкими анодами – 25. Катоды – 24 магнетронов электрически контактируют с анодной трубой драйвера – 18. Аноды магнетронов – 25 электрически связаны с импульсными источниками электропитания, не показанными на чертежах. В катодах магнетронов выполнены сквозные щели – 26, посредством которых они связаны с объемом ускорителя-драйвера. Щели расположены в плоскостях, проходящих через соответствующий диаметр кожуха параллельно его образующей. Катод драйвера – 20, выполненный из алюминиевой трубы с бериллиевым покрытием, установлен аксиально на фланце диэлектрической части кожуха. На вакуумной части кожуха – 14 нанесен металлический слой – 21, например, катодным распылением, толщиной, много меньшей скин-слоя электромагнитного колебания, период которого равен удвоенной длительности импульсов напряжения на индукторах. Внутри катодной трубы размещен трубопровод жидкостного охлаждения – 22.
ИЛЯУ работает следующим образом. При вращении труб – 9 модулятора реактивности двигателем 11 дважды за оборот наступает максимум реактивности бланкета. В этот момент система автоматического измерения реактивности, не показанная на чертежах, выдает сигнал на срабатывание ускорителя-драйвера. На аноды магнетронов – 25 поступает импульсное напряжение положительной полярности, под воздействием которого происходит ионизация дейтерия. Резонансная частота – F [Гц] магнетронов, составляющих источник дейтронов, определяется индукцией магнитного поля – В (Тл), создаваемого катушками – 17, размещенными над магнетронами: L·B=1,2, где L=C/F и C – скорость света в вакууме, см/с.
Узлом – 15, содержащим регулируемый газонатекатель и средства контроля газового давления, устанавливается уровень давления дейтерия, при котором плазменная частота Fc=8980·N0.5, где N – концентрация плазмы, совпадает с резонансной частой магнетронов. При этом ионный ток источника достигает максимума. Затем на индукторы – 16 поступает импульсное ускоряющее напряжение, которое через стенку – 14 индуцируется на катодную трубу – 20. Электрический потенциал увеличивается от нулевого значения в месте закрепления трубы к фланцу до максимального на ее незакрепленном конце. Ускоряющее напряжение между анодной трубой, на которой укреплены катоды магнетронов, и незакрепленным концом катодной трубы равно сумме напряжений на индукторах. Под воздействием этого напряжения дейтроны вытягиваются из щелей в катодах магнетронов, ускоряются и бомбардируют бериллиевое покрытие катодной трубы, вызывая нейтронное излучение, которое усиливается бланкетом, поступает в полость – 3 кожуха, где размещено экспериментальное оборудование. Крышка-отражатель – 4 препятствует утечке нейтронов из полости. Металлический слой – 21 препятствует накоплению зарядов на поверхности диэлектрика, предупреждая электрический пробой по его поверхности, при этом незначительно увеличивает потери электромагнитной энергии. Электрические токи, протекающие через магнитные катушки – 17, создают магнитные поля, препятствующие пересечению электронами зазора между катодной и анодной трубами, обеспечивая его вакуумную изоляцию, предотвращая неконтролируемый рост тока, ведущий к вакуумному пробою.
Формула изобретения
Импульсная электроядерная установка (ИЭЛЯУ), содержащая подкритический бланкет, модулятор реактивности бланкета, драйвер и нейтронообразующую мишень, отличающаяся тем, что ИЭЛЯУ снабжена баком с жидким ядерным топливом, в котором выполнены две полости, в одной из которых, снабженной крышкой-отражателем, размещено экспериментальное оборудование, а в другой – ускоритель-драйвер, модулятор реактивности содержит две параллельные алюминиевые трубы с покрытием из бериллия, закрепленные на общем валу, один конец которого укреплен в подшипнике, а второй в роторе электродвигателя, отделенном от статора стенкой, выполненной из немагнитного материала, ускоритель-драйвер содержит цилиндрический вакуумный кожух, состоящий из металлической части – анода и части, выполненной из диэлектрического материала, газовое оборудование, снабженное регулируемым газовым натекателем, средствами контроля газового давления, установленные снаружи кожуха индукторы, между которыми размещены магнитные катушки, источники импульсного питания индукторов и катушек, источник дейтронов, укрепленный на вакуумной стороне анодной трубы, катод, выполненный в виде трубы, на поверхность которой нанесен слой бериллия, укрепленной коаксиально на фланце диэлектрической части кожуха, на вакуумной стороне которого нанесен металлический слой, толщиной много меньшей скин-слоя электромагнитного колебания, период которого равен удвоенной длительности импульсов напряжения на индукторах.
РИСУНКИ
|
|