|
|
(21), (22) Заявка: 2006125668/06, 17.07.2006
(24) Дата начала отсчета срока действия патента:
17.07.2006
(43) Дата публикации заявки: 27.01.2008
(46) Опубликовано: 10.09.2008
(56) Список документов, цитированных в отчете о поиске:
RU 2177650 C2, 27.12.2001. RU 2255384 C2, 27.06.2005. RU 2093906 C1,20.10.1997. RU 66589 U1, 10.09.2007. US 3787285 A, 22.06.1974.
Адрес для переписки:
630110, г.Новосибирск, ул. Б. Хмельницкого, 94, ОАО “Новосибирский завод химконцентратов”, патентно-информационный отдел
|
(72) Автор(ы):
Чиннов Александр Владимирович (RU), Липухин Николай Александрович (RU), Плужников Дмитрий Валентинович (RU), Самойлов Олег Борисович (RU), Романов Александр Иванович (RU), Шустов Мстислав Александрович (RU)
(73) Патентообладатель(и):
Открытое акционерное общество “Новосибирский завод химконцентратов” (RU)
|
(54) ТЕПЛОВЫДЕЛЯЮЩАЯ СБОРКА ЯДЕРНОГО РЕАКТОРА
(57) Реферат:
Изобретение относится к атомной энергетике, в частности к тепловыделяющим сборкам энергетических ядерных реакторов типа ВВЭР. В дистанционирующих решетках точки сварного соединения ячеек между собой размещены у торцов ячеек на максимальном расстоянии от пуклей. Каждый из секторов, составляющих обод дистанционирующей решетки, выполнен длиной, определяемой по формуле: L=(S-2·H-2·R)/2·Cos30,° где L – длина сектора, мм; S – размер «под ключ» тепловыделяющей сборки, мм; Н – толщина угловой пластины, мм; R – внутренний радиус гиба угловой пластины, мм. Увеличивается срок кампании тепловыделяющей сборки в ядерном реакторе. 7 ил.
Изобретение относится к атомной энергетике, в частности к тепловыделяющим сборкам энергетических ядерных реакторов типа ВВЭР.
Известна конструкция тепловыделяющей сборки ядерного реактора (см. Крамеров А.Я. Вопросы конструирования ядерных реакторов. – М.: Атомиздат, 1971, с.198, рис.7.2), содержащая гексагональный пучок тепловыделяющих элементов, размещенный в расположенных по длине сборки дистанционирующих решетках, головную и хвостовую части, соединенные наружным гексагональным чехлом.
Наличие чехла обеспечивает необходимую прочность и жесткость тепловыделяющей сборке, но вносит «паразитный» металл в активную зону и увеличивает линейную тепловую нагрузку тепловыделяющих элементов за счет вынужденного увеличения шага между тепловыделяющими сборками (остается меньше тепловыделяющих элементов в единице объема активной зоны), а также увеличивает неравномерность энерговыделения по тепловыделяющей сборке.
Известна конструкция тепловыделяющей сборки ядерного реактора (см. Крамеров А.Я. Вопросы конструирования ядерных реакторов. – М.: Атомиздат, 1971, с.204, рис.7.11б), содержащая гексагональный пучок тепловыделяющих элементов, размещенный в расположенных по длине сборки дистанционирующих решетках, головную и хвостовую части, соединенные направляющими каналами, проходящими через дистанционирующие решетки. Наружный чехол отсутствует. В направляющих каналах перемещаются стержни-поглотители. Шаг между тепловыделяющими сборками уменьшен, неравномерность тепловыделения по сборке и линейные нагрузки тепловыделяющих элементов уменьшены.
Указанная сборка более экономична, однако применение аналогичных сборок на энергоблоках с реакторами на основе ВВЭР-1000 показало, что на третьем году эксплуатации обнаруживается искривление направляющих каналов и зависание рабочих органов системы защиты. Причиной этого является то, что тепловыделяющая сборка нагружена механически со стороны головной части для предотвращения ее всплытия в потоке движущегося снизу вверх теплоностителя. Кроме того, в процессе работы реактора появляется также термомеханическое нагружение конструкции тепловыделяющей сборки от тепловыделяющих элементов и направляющих каналов через дистанционирующие решетки. Поэтому жесткость указанной конструкции тепловыделяющей сборки оказалась недостаточной, что снижает безопасность ядерного реактора.
Эти недостатки устранены в тепловыделяющей сборке по патенту Российской Федерации №2093906, кл. G21С 3/30, 3/06, 1997 г., содержащей гексагональный пучок тепловыделяющих элементов, размещенный в расположенных по высоте сборки дистанционирующих решетках, головную и хвостовую части, соединенные опорными элементами, размещенными в углах сборки и выполненными в виде установленных по ее высоте от хвостовой части до верхней дистанционирующей решетки штампованных угловых пластин из циркониевого сплава, соединенных сваркой с дистанционирующими решетками и винтами с хвостовой частью.
В тепловыделяющей сборке такой конструкции повышается безопасность ядерного реактора путем обеспечения жесткости тепловыделяющей сборки при сохранении экономичности, уменьшенной неравномерности энерговыделения по тепловыделяющей сборке и уменьшенной величины линейной нагрузки тепловыделяющих элементов. Недостатком является возможность прогиба решетки вследствие термомеханических нагрузок в соединении ячейка – тепловыделяющий элемент и вероятность разрушения сварных соединений решетки с уголками. Увеличивая прочность и жесткость тепловыделяющей сборки в целом, угловые пластины не обеспечивают достаточную жесткость в центральной области ТВС, особенно в дистанционирующих решетках. Центральные области дистанционирующих решеток, не закрепленные жестко, испытывают заметное деформирующее воздействие восходящего потока теплоносителя, а также «растущих» тепловыделяющих элементов. Конструкция узла сопряжения дистанционирующей решетки с угловой пластиной напрямую влияет на размер «под ключ» тепловыделяющей сборки, как следует из описания, толщина обода дистанционирующей решетки уменьшена для размещения угловых пластин, чтобы оставить прежним шаг между тепловыделяющими сборками в реакторе, напрямую влияющего на водоурановое соотношение в нем. Для обеспечения качественной сварки и высокоточного размера «под ключ» свариваемые детали тепловыделяющей сборки должны иметь точные геометрические размеры. Угловая пластина, с целью недопущения образования трещин, имеет достаточно большой радиус гиба, так как гибка проводится вдоль направления проката (см. В.П.Романовский, МТМ СССР Государственное научно-техническое издательство машиностроительной литературы, M., 1949 г., стр.67-68), сопряжение сектора с угловой пластиной необходимо выполнять по плоскости, без захода на радиус гиба угловой пластины, поскольку это может повлиять на размер кассеты «под ключ» (он увеличится) и на качество сварки, так как не будет плотного контакта между свариваемыми деталями. С другой стороны, сектор обода дистанционирующей решетки, привариваясь к ячейкам, должен иметь достаточно места для простановки сварных точек, чтобы сварная точка не выходила на его торец.
Известна дистанционирующая решетка (см. патент Российской Федерации №2152086 G21С 3/356, опубликован 27.06.2000), в которой соединение ячеек осуществляется контактно-точечной сваркой, при этом сварные точки расположены на уровне заманов, что обеспечивает жесткость конструкции и положительно влияет на точность размещения тепловыделяющих элементов в тепловыделяющей сборке, но отрицательно сказывается на соединении ячейка – тепловыделяющий элемент, предполагая либо натяг, то есть возникновение больших усилий при осевом перемещении тепловыделяющего элемента и возможного прогиба центральной части дистанционирующей решетки, либо зазор, что нежелательно из-за возможной фреттинг-коррозии. Кроме того, при смещении сварных точек к середине ячейки по ее высоте уменьшится момент инерции сечения поля дистанционирующей решетки Ix=b·a3/12 (см. В.А.Анурьев. Справочник конструктора-машиностроителя, том 1, М., Машиностроение, 1978 г., стр.68, табл.11), поскольку уменьшится расстояние между сварными точками – величина «а», следовательно, способность сопротивляться прогибу центральной части дистанционирующей решетки уменьшится.
Наиболее близкой по технической сути и достигаемому результату является тепловыделяющая сборка ядерного реактора – прототип по патенту Российской Федерации №2177650, кл. G21С 3/33, 3/332, 1997 г., содержащая размещенные по длине сборки дистанционирующие решетки для гексагонального пучка тепловыделяющих элементов, опорные элементы в виде угловых пластин, жестко соединенных с дистанционирующими решетками и хвостовой частью, и направляющие каналы с расположенными со стороны нижнего торца у первой по ходу теплоносителя дистанционирующей решетки втулками, имеющими в плане сечение, размер которого превышает диаметр окружности, вписанной в ячейку, у остальных решеток втулки расположены со стороны верхнего торца. Это значительно уменьшает формоизменение дистанционирующих решеток. Для этого втулки должны быть жестко соединены с направляющими каналами с тем, чтобы направляющие каналы воспринимали механические нагрузки, возникающие в дистанционирующих решетках.
Недостатками прототипа являются дополнительный паразитный материал втулок в активной зоне, фиксация дистанционирующих решеток с одной стороны может привести к возрастанию напряженного состояния тепловыделяющей сборки, так как при «росте» тепловыделяющих элементов смещение их относительно дистанционирующих решеток происходит в двух направлениях, особенно по истечении больших сроков эксплуатации, это может привести как к деформациям частей и узлов дистанционирующей решетки, например, к деформации и разрушению ячеек при контакте втулки с полем ячеек, который возможен при «росте» тепловыделяющих элементов и выборе зазора между втулкой и дистанционирующей решеткой, так и к разрушениям сварных соединений, например сварных соединений дистанционирующих решеток с уголками.
Технической задачей изобретения является увеличение срока кампании тепловыделяющей сборки в ядерном реакторе, стабилизация водоуранового соотношения в реакторе за счет точного выполнения размеров «под ключ» тепловыделяющей сборки, уменьшение количества паразитного материала в активной зоне за счет сокращения количества втулок благодаря увеличению момента сопротивления сечения дистанционирующей решетки в ее центральной части, оптимизация натяга в соединении ячейка – тепловыделяющий элемент за счет увеличения расстояния между сварными точками по высоте ячейки для уменьшения усилий осевого перемещения тепловыделяющего элемента в ячейках при сохранении контакта в соединении, уменьшение, а также равномерное распределение механических нагрузок между узлами и элементами конструкции тепловыделяющей сборки, уменьшение формоизменения всей тепловыделяющей сборки в целом и ее отдельных элементов, повышение прочности контактно-точечных сварных соединений в дистанционирующих решетках и их соединения с угловыми пластинами в результате оптимизация узла сопряжения угловых пластин с сектором обода дистанционирующей решетки.
Эта техническая задача решается тем, что в тепловыделяющей сборке ядерного реактора, содержащей размещенные по длине сборки дистанционирующие решетки для гексагонального пучка тепловыделяющих элементов, опорные элементы в виде угловых пластин, жестко соединенных с дистанционирующими решетками и хвостовой частью, и направляющие каналы с втулками, согласно изобретению в дистанционирующих решетках ячейки между собой соединены сварными точками, размещенными на максимально близком к торцам ячеек расстоянии, а обод выполнен из секторов, длина каждого из которых определяется по формуле:

где L – длина сектора, мм;
S – размер «под ключ» тепловыделяющей сборки, мм;
Н – толщина угловой пластины, мм;
R – внутренний радиус гиба угловой пластины, мм.
Указанная совокупность признаков является существенной и достаточной для решения поставленной технической задачи, так как за счет смещения сварных точек между ячейками дистанционирующих решеток от пуклей к торцам ячеек с целью уменьшения усилий осевого перемещения тепловыделяющих элементов через ячейки при сохранении контакта в соединении оптимизируется натяг в соединении ячейка – тепловыделяющий элемент, увеличивается сопротивление прогибу поля ячеек в центре дистанционирующей решетки, что позволяет тепловыделяющим элементам свободно перемещаться относительно каркаса тепловыделяющей сборки без деформации центральной части дистанционирующих решеток и приводит к равномерному нагружению частей сборки, выполнение сектора обода длиной L, рассчитанной по приведенной формуле (1), позволяет избежать отклонений размера «под ключ» тепловыделяющей сборки, дефектов сварки секторов обода дистанционирующей решетки с угловыми пластинами, обеспечить оптимальное сопряжение сектора обода и ячеек дистанционинрующей решетки для контактной точечной сварки.
Сущность изобретения поясняется чертежами.
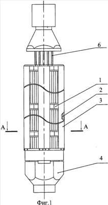
На фиг.1 – тепловыделяющая сборка ядерного реактора;
на фиг.2 – дистанционирующая решетка, разрез А-А, вид сверху;
на фиг.3 – дистанционирующая решетка, вид сбоку;
на фиг.4 – расположение сварных точек между ячейками, вид Б;
на фиг.5 – каркас с втулками;
на фиг.6 – прогиб решетки в процессе эксплуатации;
на фиг.7 – расположение сварных точек в соединении ячейка – ячейка, разрез В-В.
Тепловыделяющая сборка ядерного реактора включает размещенные по длине сборки дистанционирующие решетки 1 для гексагонального пучка тепловыделяющих элементов 2, опорные элементы в виде угловых пластин 3, жестко соединенных с дистанционирующими решетками 1 и хвостовой частью 4, образующие жесткий каркас 5, направляющие каналы 6 с втулками 7, сварные точки 8 между ячейками 9 дистанционирующей решетки 1, максимально смещенные от пуклей 10 к торцам 11 ячеек 9. В центре дистанционирующая решетка 1 испытывает прогиб 12 поля ячеек. Обод 13 дистанционирующей решетки 1 выполнен из секторов, имеющих длину L.
Предлагаемая тепловыделяющая сборка работает следующим образом.
При работе реакторов тепловыделяющая сборка нагружается механически сверху в осевом направлении пружинами (не показаны) для предотвращения ее всплытия в потоке движущегося снизу вверх теплоносителя. Кроме того, при разогреве всей конструкции до рабочих температур появляется термомеханическое нагружение тепловыделяющей сборки от тепловыделяющих элементов 2. Угловые пластины 3 вместе с хвостовой частью 4 и дистанционирующими решетками 1 образуют жесткий каркас 5, препятствующий деформации сборки, направляющих каналов 6 с втулками 7. За счет смещения сварных точек 8 между ячейками дистанционирующих решеток от пуклей 10 к торцам 11 с целью уменьшения усилий осевого перемещения тепловыделяющих элементов 2 через ячейки 9, при сохранении контакта в соединении, то есть создания более «мягкого» соединения ячейка-тепловыделяющий элемент и большего сопротивление прогибу 12 поля ячеек в центре дистанционирующей решетки 1 достигается возможность тепловыделяющим элементам 2 свободно перемещаться относительно каркаса 5 без деформации центральной части дистанционирующих решеток 1 и нагружать части тепловыделяющей сборки равномерно, поглощающим стержням беспрепятственно перемещаться внутри направляющих каналов 6. Выполнение сектора обода 13 длиной L, исходя из условия (1), позволяет избежать отклонений размера «под ключ» тепловыделяющей сборки, дефектов сварки секторов обода 13 дистанционирующей решетки 1 с угловыми пластинами 3, обеспечить оптимальное сопряжение сектора обода 13 и ячеек 9 дистанционирующей решетки 1 для контактной точечной сварки.
Использование изобретения позволяет увеличить срок кампании тепловыделяющей сборки в ядерном реакторе, стабилизировать водоурановое соотношение за счет точного выполнения размеров «под ключ» тепловыделяющей сборки, уменьшить количество паразитного материала в активной зоне за счет уменьшения или полного исключения количества втулок, расположенных на каналах, оптимизировать натяг в соединении ячейка – тепловыделяющий элемент за счет увеличения расстояния между сварными точками по высоте ячейки и соответственно большей стрелы прогиба в местах контакта ячейки с тепловыделяющим элементом, увеличить момент сопротивления сечения дистанционирующей решетки в ее центральной части, что позволит свести к минимуму вероятность прогиба решеток и «закусывание» тепловыделяющих элементов, уменьшить, а также равномерно распределить механические нагрузки между узлами и элементами конструкции тепловыделяющей сборки, уменьшить формоизменения всей тепловыделяющей сборки в целом и ее отдельных элементов, например деформацию и разрушение ячеек при контакте втулки с полем ячеек, которые возможны при «росте» тепловыделяющих элементов, и выборе зазора между втулкой и дистанционирующей решеткой, повысить прочность контактно-точечных сварных соединений в дистанционирующих решетках и в соединениях решеток с угловыми пластинами, в результате – оптимизация узла сопряжения угловых пластин с секторами обода дистанционирующей решетки.
Формула изобретения
Тепловыделяющая сборка ядерного реактора, содержащая размещенные по длине сборки дистанционирующие решетки для гексагонального пучка тепловыделяющих элементов, опорные элементы в виде угловых пластин, жестко соединенных с дистанционирующими решетками и хвостовой частью, и направляющие каналы с втулками, отличающаяся тем, что в дистанционирующих решетках точки сварного соединения ячеек между собой размещены у торцов ячеек на максимальном расстоянии от пуклей, а каждый из секторов, составляющих обод дистанционирующей решетки, выполнен длиной, определяемой по формуле
L=(S-2·H-2·R)/2·Cos30°,
где L – длина сектора, мм;
S – размер «под ключ» тепловыделяющей сборки, мм;
Н – толщина угловой пластины, мм;
R – внутренний радиус гиба угловой пластины, мм.
РИСУНКИ
|
|