|
|
(21), (22) Заявка: 2006144407/28, 12.12.2006
(24) Дата начала отсчета срока действия патента:
12.12.2006
(46) Опубликовано: 10.09.2008
(56) Список документов, цитированных в отчете о поиске:
RU 2097165 C1, 27.11.1997. RU 2125503 C1, 27.01.1999. DE 2327075 A, 12.12.1974. FR 757784 A, 04.01.1934.
Адрес для переписки:
144005, Московская обл., г. Электросталь, ул. Красная, 19, ОАО “ЭЗТМ”, начальнику технического отдела Н.Т. Пашенцеву
|
(72) Автор(ы):
Антощенков Юрий Михайлович (RU), Крестьянов Владимир Николаевич (RU), Майоров Владимир Викторович (RU)
(73) Патентообладатель(и):
Открытое акционерное общество “Электростальский завод тяжелого машиностроения” (RU)
|
(54) СПОСОБ ИЗГОТОВЛЕНИЯ ЯЗЫКА ДЛЯ БОЛЬШОГО КОЛОКОЛА
(57) Реферат:
Изобретение может быть использовано при изготовлении языков для больших колоколов. Способ изготовления языка для большого колокола, имеющего тело, ударную и крепежную части, включает изготовление литой заготовки, ее последующую ковку и механообработку. Литую заготовку получают в литейной форме, имеющей части с различной теплопроводностью, причем часть формы, формирующая тело и крепежную часть, имеет более высокую теплопроводность, а ковке подвергают только участок литой заготовки, полученный в части формы с более высокой теплопроводностью. Техническим результатом изобретения является обеспечение требуемой прочности, исключающей разрыв (разлом) языка, и отсутствие звучания языка при ударе. 3 ил.
Изобретение относится к области изготовления колоколов, которые используются в церквях и храмах, и касается способов изготовления языков, воспроизводящих звук, преимущественно для крупных колоколов.
Язык играет немаловажную роль в звучании колокола. Язык при ударе о колокол должен молчать или звук должен быть глухой, гасящийся внутри изделия и ни в коем случае не создавать резонанса.
В связи с тем что последний церковный колокол в России был отлит в 1926 г. и до 1995 г. в России вопрос о колоколах не поднимался, то и был утерян опыт изготовления колоколов и, следовательно, языков к ним.
Публикаций о способах изготовления языков нет, хотя о способах изготовления колоколов имеются публикации конца XIX и начала XX века, а также после 1996 г. По данным специалистов «Общества Древнерусской музыкальной культуры» (ОДМК), участвовавших в изготовлении колокола для Храма Христа Спасителя на АМО ЗИЛ, языки для крупных колоколов изготавливают литыми или коваными.
Язык колокола имеет в верхней части утолщение для крепления к подвеске, а в нижней части – боек, который может быть выполнен в виде шара (ФРГ №2327075, G10K 1/32, заявл. 26.05.73 г., опубл. 02.09.76 г.; РФ №2115959, G10K 1/28, заявл. 12.08.96 г., опубл. 20.07.98 г.; РФ №2260859, G10K 1/00, заявл. 22.07.2004 г., опубл. 20.09.2005 г.) или в виде цилиндра (РФ №2220461, G10K 1/00, заявл. 03.05.2001 г., опубл. 27.12.2003 г.; РФ №2268503, G10K 1/28, заявл. 18.10.2004 г., опубл. 20.01.2006 г.).
По условиям работы верхняя (крепежная) часть языка должна быть прочной, чтобы выдерживать динамические нагрузки, возникающие при его качании в подвеске колокола, а бойковая (ударная) часть не должна звучать при ударе о колокол.
На ОАО ЭЗТМ был изготовлен кованый язык массой около 2 тонн для Царь-колокола Свято-Троицкой Сергиевой Лавры. Для изготовления использовали слиток (литую заготовку) массой 6 тонн.
Недостатком откованного языка оказалась структура металла, хотя химический состав языка соответствовал химическому составу старинных языков. Язык имел плотную структуру, без пустот, а это привело к тому, что сам язык имеет звон и происходит наложение звуков колокола и языка, что недопустимо, так как язык должен молчать.
Задача настоящего изобретения состоит в разработке способа изготовления языка с необходимыми свойствами металла по длине, обеспечивающими требуемую прочность, исключающую разрыв (разлом) языка, и отсутствие звучания языка при ударе.
Поставленная задача достигается тем, что в способе изготовления языка, имеющего ударную и крепежную части, включающем изготовление литой заготовки, ее последующую ковку и механообработку, согласно изобретению заготовку получают в литейной форме с разной теплопроводностью, причем часть формы, формирующая основное тело и крепежную часть, имеет более высокую теплопроводность, а ковке подвергают только участок литой заготовки, полученный в части формы с более высокой теплопроводностью.
Такое выполнение способа позволит получить плотную структуру металла в крепежной части языка и обеспечить тем самым устойчивость языка к динамическим нагрузкам и структуру металла в ударной части, исключающей звучание, благодаря тому, что основное тело и крепежная часть языка, отливаемые в части формы с более высокой теплопроводностью, имеют кристаллическую структуру, идентичную строению кузнечного слитка, то есть плотную без пор и рыхлот, и последующая ковка этого участка увеличивает плотность, а ударная часть языка, отлитая в части формы с малой теплопроводностью, будет иметь металл с рыхлотами, которые мешают распространению звука.
Для пояснения изобретения ниже приведен пример осуществления способа, со ссылками на прилагаемые чертежи, на которых:
на фиг.1 изображен язык для колокола;
на фиг.2 изображена литейная форма для изготовления языка с ударной частью в виде шара;
на фиг.3 – эскиз поковки.
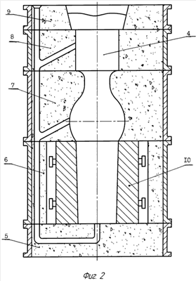
Способ изготовления языка для колокола, имеющего ударную 1, крепежную 2 части и тело 3, включает изготовление литой заготовки 4 в комбинированной литейной форме. Части литейной формы 5, 6, 7, 8, 9 имеют одну теплопроводность. Часть 10, формирующая тело 3 и крепежную часть 2 языка, выполнена из более теплопроводного материала, например из металла. Ковке подвергают участок литой заготовки, изготовленный в более теплопроводной части 10 литейной формы. Окончательную форму языка получают механообработкой.
Предложенный способ изготовления языка для колокола обеспечит получение языка высокого качества.
Формула изобретения
Способ изготовления языка для большого колокола, имеющего тело, ударную и крепежную части, включающий изготовление литой заготовки, ее последующую ковку и механообработку, отличающийся тем, что заготовку получают в литейной форме, имеющей части с различной теплопроводностью, причем часть формы, формирующая тело и крепежную часть, имеет более высокую теплопроводность, а ковке подвергают только участок литой заготовки, полученный в части формы с более высокой теплопроводностью.
РИСУНКИ
|
|