|
|
(21), (22) Заявка: 2007112743/12, 28.03.2007
(24) Дата начала отсчета срока действия патента:
28.03.2007
(46) Опубликовано: 10.09.2008
(56) Список документов, цитированных в отчете о поиске:
RU 2250514 С2, 27.09.2004. RU 19336 U1, 20.08.2001. FR 2887066 А1, 15.12.2006. US 5167199 А, 01.12.1992. US 3899843 А, 19.08.1975.
Адрес для переписки:
420043, г.Казань, Зеленая, 1, КГАСУ, ПИО, Ф.И. Давлетбаевой
|
(72) Автор(ы):
Шмелев Геннадий Николаевич (RU), Кузнецов Иван Леонидович (RU), Исаев Алексей Викторович (RU), Козлов Максим Владимирович (RU), Крупин Владимир Павлович (RU)
(73) Патентообладатель(и):
Федеральное государственное образовательное учреждение высшего профессионального образования Казанский государственный архитектурно-строительный университет ФГОУ ВПО КГАСУ (RU)
|
(54) РЕКЛАМНЫЙ ЩИТ
(57) Реферат:
Изобретение относится к несущим конструкциям средств наружной рекламы. Щит включает стойку, закрепленную на фундаменте, каркасы двух щитов с обшивками и фиксаторы положения щитов. Крепление щитов осуществляют при помощи консолей, закрепленных при помощи колец на стойке с возможностью вращения. Фиксаторы выполнены в виде двух противостоящих стержней, жестко закрепленных на стойке. Свободные концы стержней соединены гибкими связями с каркасами щитов. Гибкие связи снабжены стяжными элементами. Изобретение обеспечивает упрощение конструкции крепления, фиксации и регулирования положения каркасов щитов. 2 з.п. ф-лы, 3 ил.
Изобретение относится к несущим конструкциям средств наружной рекламы.
Известен рекламный щит, включающий стойку, закрепленную на фундаменте, каркас щита, прикрепленный к верхним концам стоек при помощи двух пар болтов, расположенных на разной высоте [патент РФ №2232433 от 17.06.2002, МПК7 G09F 15/00. Бюллетень №19 от 10.07.2004].
Недостаток щита заключается в том, что он не обеспечивает возможность установки двухконсольных щитов с регулированием их положения.
Эти недостатки устранены в другом рекламном щите, включающем стойку, закрепленную на фундаменте, каркас щита, прикрепленный при помощи консолей к кольцам, обеспечивающим поворот щита вокруг оси с фиксатором их положения [патент РФ №2236045 от 10.11.2002, МПК7 G09F 15/00. Бюллетень №25 от 10.09.2004].
Недостаток конструкции щита состоит в сложной конструкции фиксатора ввиду значительных усилий, действующих на элементы крепления.
Наиболее близким к изобретению является рекламный щит, включающий стойку, закрепленную на фундаменте, каркасы двух щитов с обшивками, прикрепленные при помощи консолей к кольцам, обеспечивающим поворот щитов вокруг оси стойки и фиксаторы, выполненные в виде ответных колец, жестко закрепленных на стойке с пильчатым профилем взаимного зацепления [патент РФ №2250514 от 10.11.2002, МПК7 G09F 15/00. Бюллетень №11 от 20.04.2005].
Недостаток рекламного щита состоит в сложной конструкции фиксаторов, требующих высокоточной механической обработки.
Задачей изобретения является упрощение конструкции крепления, фиксации и регулирования положения каркасов щитов.
Задача решается тем, что в рекламном щите, включающем стойку, закрепленную на фундаменте, каркасы двух щитов с обшивками, прикрепленные при помощи консолей к кольцам, обеспечивающим поворот каркасов вокруг оси стойки и фиксаторы положения щитов, согласно изобретению фиксатор положения щитов выполнен в виде двух противостоящих стержней, закрепленных на стойке, свободные концы которых соединены гибкими связями, снабженными стяжными элементами, с каркасами щитов. При этом стержни и гибкие связи расположены в плоскости нижних и верхних граней каркасов щитов. Каркасы щитов при помощи консолей могут быть установлены на стойке либо через общее кольцо, либо через отдельные кольца для каждой консоли.
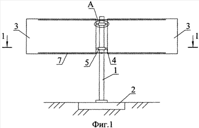
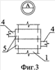
На Фиг.1 изображен общий вид рекламного щита; на Фиг.2 показан разрез 1-1 на Фиг.1; на фиг.3 изображен узел А на фиг.1 крепления консолей каркасов щитов на стойке при установке консолей на отдельные кольца.
Рекламный щит состоит из стойки 1, закрепленной на фундаменте 2. Крепление щитов 3 осуществляют при помощи консолей 4, закрепленных при помощи колец 5, на стойке 1 с возможностью вращения. Фиксатор положения каркасов рекламных щитов 3 выполнен в виде двух противостоящих стержней 6, жестко закрепленных на стойке 1. К свободным концам стержней 6 прикреплены гибкие связи 7, снабженные стяжными элементами 8. Стержни 6 и гибкие связи 7 установлены в плоскости верхних и нижних граней каркасов щитов 3. Каркасы щитов 3 при помощи консолей 4 могут быть установлены на стойке 1 либо через общее кольцо 5, либо через отдельные кольца 5 для каждой консоли 4 (фиг.3).
Установка рекламного щита выполняется следующим образом. Стойку 1 жестко закрепляют на фундаменте 2. На стойку 1 при помощи консолей 4, прикрепленных к каркасам щитов 3 и соответствующим кольцам 5, устанавливают каркасы щитов 3 с обшивками. К стойке 1 жестко прикрепляют два противостоящих стержня 6, к свободным концам которых прикрепляют гибкие связи 7, соединяющие их с каркасами щитов 3. Регулирование положения щитов осуществляют путем изменения длины гибких связей 7 при помощи стяжных элементов 8, выполненных в виде талрепов. Стержни 6 и гибкие связи 7 целесообразно устанавливать в плоскости верхних и нижних граней каркасов щитов 3, при этом на данных элементах устанавливают элементы подсветки. Для возможности установки каркасов щитов 3 под углом друг к другу консоли 4 могут быть установлены на стойке 1 на отдельных кольцах 5 (фиг.3).
Рекламный щит позволяет упростить конструкцию крепления, фиксации и регулирования положения каркасов щитов.
Формула изобретения
1. Рекламный щит, включающий стойку, закрепленную на фундаменте, каркасы двух щитов с обшивками, прикрепленные при помощи консолей к кольцам, обеспечивающим поворот каркасов вокруг оси стойки и фиксаторы положения щитов, отличающийся тем, что фиксаторы положения щитов выполнены в виде двух противостоящих стержней, закрепленных на стойке, свободные концы которых соединены гибкими связями, снабженными стяжными элементами, с каркасами щитов.
2. Рекламный щит по п.1, отличающийся тем, что консоли каркасов щитов установлены на стойке на отдельных кольцах для каждой консоли.
3. Рекламный щит по любому из пп.1 и 2, отличающийся тем, что стержни и гибкие связи расположены в плоскости нижних и верхних граней каркасов щитов.
РИСУНКИ
MM4A – Досрочное прекращение действия патента СССР или патента Российской Федерации на изобретение из-за неуплаты в установленный срок пошлины за поддержание патента в силе
Дата прекращения действия патента: 29.03.2009
Извещение опубликовано: 10.08.2010 БИ: 22/2010
|
|