|
|
(21), (22) Заявка: 2006137978/09, 30.10.2006
(24) Дата начала отсчета срока действия патента:
30.10.2006
(46) Опубликовано: 10.09.2008
(56) Список документов, цитированных в отчете о поиске:
RU 2126980 C1, 27.02.1999. RU 2054694 С1, 20.02.1996. RU 2276796 С2, 20.05.2006. SU 1773191 C, 09.01.1995. GB 2289602 А, 22.11.1995. US 4620191 А, 28.10.1985. ЕР 0585132 А, 02.03.1994. WO 93/13495 A1, 08.07.1993.
Адрес для переписки:
127051, Москва, М. Сухаревская, 6, стр.1, ООО “НПП “ТРИиС”, помещ. ТАРП ЦАО, С.А. Багдасаряну
|
(72) Автор(ы):
Багдасарян Сергей Александрович (RU), Багдасарян Александр Сергеевич (RU), Гуляев Юрий Васильевич (RU), Карапетьян Геворк Яковлевич (RU), Нефедова Наира Александровна (RU), Никитов Сергей Аполлонович (RU), Николаев Валерий Иванович (RU), Николаев Олег Валерьевич (RU)
(73) Патентообладатель(и):
ООО “Научно-производственное предприятие “Технологии радиочастотной идентификации и связи” (НПП “ТРИиС”) (RU)
|
(54) АНТИКОЛЛИЗИОННАЯ СИСТЕМА РАДИОЧАСТОТНОЙ ИДЕНТИФИКАЦИИ
(57) Реферат:
Изобретение относится к области радиотехники и может быть использовано для идентификации и охраны различных объектов. Техническим результатом является возможность использования полосовых фильтров, настроенных на различные частоты для обеспечения контроля возможно большего числа радиочастотных идентификационных меток, одновременно находящихся в зоне считывания. Антиколлизионная система радиочастотной идентификации содержит приемопередатчик (считыватель) с антенной, формирующий опросные радиоимпульсы на несущей частоте f0, и СВЧ радиочастотные идентификационные метки (РИМ) с антенной, по крайней мере, один полевой транзистор и выпрямитель. Приемопередатчик содержит вторую антенну и последовательно соединенные полосовой или режекторный фильтр и переключатель. Приемопередатчик формирует радиоимпульсы на частотах f0i, отличных от несущей f0, и запускает их с помощью первой антенны, подсоединенной к передающей части считывателя. Каждая СВЧ РИМ выполнена пассивной. СВЧ пассивная радиочастотная идентификационная метка (ПРИМ) содержит фильтр и линию задержки на поверхностных акустических волнах (ЛЗ на ПАВ), выполненную в виде звукопровода. На рабочей поверхности звукопровода расположены входные и выходные встречно-штыревые преобразователи (ВШП) с одинаковым или кратным периодом, определяемым из условия акустического синхронизма, размещенные в разных акустических каналах, и находящийся между ними перекрывающий оба акустических канала управляемый встречно-штыревой секционированный направленный ответвитель (ВШСНО). Вход и выход фильтра электрически соединены с антенной ПРИМ и с входом выпрямителя соответственно. Выход выпрямителя гальванически соединен с затвором каждого полевого транзистора со встроенным каналом, стоки которых электрически соединены с секциями ВШСНО ЛЗ на ПАВ, а входной и выходной ВШП электрически соединены с антенной ПРИМ и с ПРИМ соответственно. 6 з.п. ф-лы, 2 ил.
Изобретение относится к области радиотехники и может быть использовано для идентификации различных объектов.
Известна система радиочастотной идентификации, содержащая приемопередатчик с антенной и, по крайней мере, одну радиочастотную метку на поверхностных акустических волнах (ПАВ), представляющую собой линию задержки (ЛЗ) на ПАВ, имеющую приемопередающий встречно-штыревой преобразователь (ППВШП), антенну, соединенные с антенной, и отражатели ПАВ [1]. В данной системе опрашивающий сигнал, излученный антенной приемопередатчика принимается антенной, подсоединенной к ППВШП, далее преобразуется в ПАВ, которые затем отражаются от отражателей, формируя кодовую последовательность, которая с помощью ППВШП преобразуется в электромагнитный сигнал и излучается через антенну на приемопередатчик. Расстояние идентификации также может быть увеличено надлежащим подбором рабочих частот и антенны. Недостатком данной конструкции является невозможность одновременного опроса нескольких устройств идентификации. В противном случае при одновременном опросе нескольких таких устройств идентификации ответные сигналы от них придут одновременно и кодовые последовательности наложатся друг на друга, делая невозможным независимое считывание кода каждого устройства.
Устранить указанный недостаток позволяет антиколлизионная система идентификации, содержащая приемопередатчик (считыватель) и СВЧ радиочастотные идентификационные метки, которые содержат микросхему, позволяющую производить модуляцию отраженного от антенны опросного сигнала в различные моменты времени за счет изменения в процессе замыкания и размыкания антенны [2]. В этом случае можно организовать прием отраженных от различных меток сигналов в различные моменты времени. При этом кодовые последовательности от меток не наложатся друг на друга и будет считан код каждой метки, находящейся в поле излучения считывателя.
Но поскольку микросхема модулирует отраженный сигнал менее чем на 100%, при большом числе меток отраженные от них сигналы начнут интерферировать друг с другом, делая невозможным правильное считывание идентификационного кода. Поэтому несмотря на то что число кодовых комбинаций может превышать 109 при одновременном нахождении в зоне считывателя нескольких десятков или сотен меток, их невозможно все проконтролировать.
Задача, на решение которой направлено изобретение, состоит в создании системы радиочастотной идентификации на поверхностных акустических волнах (ПАВ), лишенной указанного недостатка.
Это достигается тем, что приемопередатчик содержит вторую антенну и последовательно соединенные полосовой или режекторный фильтр (ПРФ) и прерыватель, соединяющий вход приемной части считывателя со второй антенной, формирует радиоимпульсы на частотах f0i, отличных от несущей f0, (i=1, 2, 3…N, где N – число идентифицируемых объектов, находящихся одновременно в поле излучения считывателя), и запускает их с помощью первой антенны, подсоединенной к передающей части считывателя, а в качестве каждой СВЧ РИМ используется СВЧ пассивная РИМ (ПРИМ), а также содержит фильтр и линию задержки на поверхностных акустических волнах (ЛЗ на ПАВ), выполненную в виде звукопровода, с расположенными на его рабочей поверхности входным, выходным встречно-штыревыми преобразователями (ВШП) с одинаковым или кратным периодом, определяемым из условия акустического синхронизма f0=кVПАВ/ , где VПАВ – скорость ПАВ, – периоды ВШП, к=1, 2, 3…, и размещенными в разных акустических каналах, а также находящийся между ними перекрывающий оба акустических канала управляемый встречно-штыревой секционированный направленный ответвитель (ВШСНО), причем вход и выход фильтра электрически соединены с антенной ПРИМ и с входом выпрямителя соответственно, а выход выпрямителя гальванически соединен с затвором каждого полевого транзистора со встроенным каналом (ПТсВК), стоки которых электрически соединены с секциями ВШСНО ЛЗ на ПАВ, а входной и выходной ВШП электрически соединены с антенной ПРИМ и ПРИМ соответственно.
Антиколлизионная система радиочастотной идентификации отличается тем, что электрическое соединение ЛЗ на ПАВ с ПРИМ выполнено разъемным.
Антиколлизионная система радиочастотной идентификации отличается тем, что электрические соединения фильтра, ЛЗ на ПАВ с антенной выполнены разъемными.
Антиколлизионная система радиочастотной идентификации отличается тем, что фильтр выполнен в виде фильтра с малым вносимым затуханием на акустических волнах.
Антиколлизионная система радиочастотной идентификации отличается тем, что фильтр выполнен в виде в виде диэлектрического СВЧ фильтра.
Антиколлизионная система радиочастотной идентификации отличается тем, что фильтр выполнен в виде полосового фильтра на акустических волнах с малым вносимым затуханием.
Антиколлизионная система радиочастотной идентификации отличается тем, что фильтр выполнен в виде режекторного фильтра на акустических волнах.
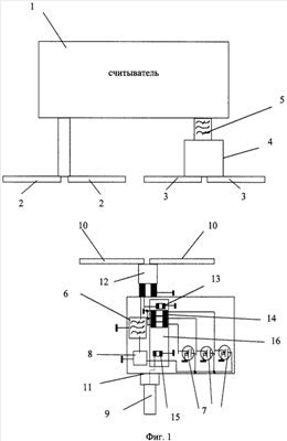
На фиг.1 показан чертеж предлагаемой системы, поясняющий принцип ее работы.
Система содержит считыватель 1, к которому подсоединена антенна 2, а также антенна 3 через антенный переключатель 4 и полосовой фильтр или режекторный фильтр 5 (ПРФ). Радиочастотная идентификационная метка на ПАВ 9 через разъем 11 подсоединена к ВШП 15 ЛЗ 16, стоки полевых транзисторов со встроенным каналом 7 подсоединены к ВШП управляемого встречно-штыревого направленного ответвителя 14 ЛЗ 16, а затвор соединен с выпрямителем 8, который соединен с полосовым фильтром (ПФ) 6, соединенным с антенной 10 через разъем 12. ВШП 13 ЛЗ 16 соединен с антенной 10 через разъем 12.
Система работает следующим образом. Считыватель 1 посылает через антенну 2 одновременно опросный радиоимпульс с несущей f0 и запускающий радиоимпульс с несущей f0i. Эти импульсы, принятые антенной 10 радиочастотной идентификационной метки, поступают на ПФ 6 и на сток (исток) ПТсИК 7. Так как транзистор 7 со встроенным каналом, то без открывающего напряжения, подаваемого на затвор, он остается закрытым, и опросный импульс не проходит на ПРИМ на ПАВ, так как ВШП ВШСНО 14 оказываются замкнутыми и ПАВ, которые падают на него от ВШП 13, преобразующего в ПАВ опросный радиоимпульс, не переводятся в другой акустический канал и не попадают на ВШП 15, соединенный с ПРИМ 9. ПФ 6 всех меток настроены на частоты запускающих импульсов. Поэтому в метке, где ПФ настроен на f0i, запускающий импульс проходит на выпрямитель 8, где формируется запирающие транзисторы 7 импульсы. Они закрываются, и опросный импульс может пройти на ПРИМ 9 на ПАВ через ЛЗ 16, так как ВШП ВШСНО 14 оказываются разомкнутыми ПТсВК 7. В этом случае опросный импульс преобразуется в ПАВ с помощью ВШП 13, подсоединенного к антенне, и принимается ВШП 15, подсоединенным к ПРИМ, так как ВШСНО переводит ПАВ из одного акустического канала в другой. Периоды ВШП 13 и 15 выбраны из условия акустического синхронизма f0=кVПАВ/ , где VПАВ – скорость ПАВ, , – периоды ВШП, к=1, 2, 3… Длительность запускающего импульса выбирается такой, чтобы сформированная опросным импульсом кодовая последовательность в ПРИМ 9 на ПАВ успела бы передаться полностью на считыватель.
Приемник считывателя 17 подключается к антенне 3 антенным переключателем 4 через полосовой или режекторный фильтр 5 после излучения опросного импульса через время t, равное времени прохождения начала кодовой последовательности от отражателей до ВШП в радиочастотной идентификационной метке на ПАВ 10 + время распространения ПАВ между ВШП 13 и ВШП 16 ЛЗ 15. В этом случае сигналы, отраженные от антенны 9 и ближайших металлических поверхностей, не попадают в приемник и не могут искажать уникальную кодовую последовательность метки, а полосовой или режекторный фильтр не пропустит в приемник считывателя запускающий импульс. После принятия кодовой последовательности и ее опознания считыватель отключает антенну 3 переключателем 4 и вновь излучает через антенну 2 запускающий на частоте f0i+1 и опросный на частоте f0 импульсы. В этом случае открывается транзистор в другой метке, так как запускающий импульс проходит именно на эту метку, в которой находится полосовой фильтр, настроенный на частоту f0i+1. Далее все происходит, как в предыдущем случае, и так до тех пор, пока не будут считаны все метки, находящиеся в поле излучения считывателя. Так как частоты запускающих импульсов должны находится друг от друга как можно ближе, чтобы устройство не занимало широкую полосу частот, то фильтры ПФ должны быть узкополосными. Поэтому они могут быть выполнены в виде фильтров с малыми потерями на ПАВ либо в виде фильтров на высокодобротных резонаторах объемных акустических волн. Полосовой фильтр и ЛЗ могут быть подсоединены к антенне и РИМ через разъемы. В этом случае можно сочетать различные ПФ и РИМ. Фильтр ПРФ может быть выполнен как на ПАВ, так как он должен не пропускать полосу частот, в которой излучаются все запускающие импульсы, и имеет полосу пропускания в несколько процентов. В качестве этого фильтра может быть также использован и диэлектрический фильтр, поскольку фильтр не очень узкополосный.
Пример выполнения. Блок-схема приемопередатчика показана на фиг.2. Управляющее устройство 18 формирует опросный и запускающий радиоимпульсы с помощью синтезатора частот 19 и генератора импульсов 20. Далее эти импульсы усиливаются в усилителе 21 и излучаются через первую антенну 2 на метки. После передачи этих импульсов через время t антенный переключатель 4 подключает вторую антенну 3 к приемнику 17 по команде управляющего устройства 18 на время t. Происходит прием кодовой последовательности в приемнике 17 и детектирование импульсов. При этом полосой фильтр 5 не пропускает запускающие импульсы в приемник 17. Далее продетектированные импульсы поступают на решающее устройство 22, которое формирует прямоугольные видеоимпульсы, а затем на устройство счета импульсов 23, которое определяет, оцифровывает код, превращая его в последовательность нулей и единиц, а затем на компьютер 24. Приняв код, компьютер 24 дает команду управляющему устройству, и оно формирует опросный и следующий запускающий импульсы. ЛЗ 15 на ПАВ выполнена на центральную частоту 860 МГц на подложке YX/128° срезе ниобата лития. ВШП 13 и 15 выполнены однонаправленными с внутренними отражателями, а отражательный ВШСНО 14 состоит из трех секций, каждая из которых состоит из ВШП в разных акустических каналах с 41 расщепленными штырями. В этом случае происходит 100% ответвление ПАВ из одного акустического канала в другой. Радиочастотные идентификационные метки были выполнены на центральную частоту f0=860 МГц с длительностью импульса в 128-разрядной кодовой последовательности 50 нс. Длительность кодовой последовательности равнялась при этом 12,8 мкс, t=4 мкс. Несущие частоты запускающих импульсов выбраны равными в диапазоне 810-850 МГц, через 0,2 МГц, а его длительность равна 12,8 мкс, т.е. он занимает полосу частот 72 кГц. В выпрямителе используются диоды шоттки с низким пороговым напряжением. Полосовые фильтры выполнены на ПАВ. Они имеют полосу пропускания 100 кГц. Фильтр ПРФ также выполнен на ПАВ с полосой пропускания 20 МГц на центральную частоту 860 МГц.
Источники информации
1. Патент ФРГ №1279785 А
Формула изобретения
1. Антиколлизионная система радиочастотной идентификации, состоящая из приемопередатчика (считывателя) с антенной, формирующего опросные радиоимпульсы на несущей частоте f0, и СВЧ радиочастотных идентификационных меток (РИМ), каждая из которых содержит антенну, по крайней мере один полевой транзистор и выпрямитель, отличающаяся тем, что приемопередатчик содержит вторую антенну и последовательно соединенные фильтр и переключатель, соединяющий вход приемной части считывателя со второй антенной, формирует радиоимпульсы на частотах f0i, отличных от несущей f0, (i=1, 2, 3…N, где N – число идентифицируемых объектов, находящихся одновременно в поле излучения считывателя), и запускает их с помощью первой антенны, подсоединенной к передающей части считывателя, а в качестве каждой СВЧ РИМ используется СВЧ пассивной радиочастотной идентификационной метки (ПРИМ), а также содержит фильтр и линию задержки на поверхностных акустических волнах (ЛЗ на ПАВ), выполненную в виде звукопровода, с расположенными на его рабочей поверхности входным, выходным встречно-штыревыми преобразователями (ВШП), с одинаковым или кратным периодом, определяемым из условия акустического синхронизма f0=кVПАВ/ , где VПАВ – скорость ПАВ, – периоды ВШП, к=1, 2, 3…, и размещенными в разных акустических каналах, а также находящийся между ними перекрывающий оба акустических канала управляемый встречно-штыревой секционированный направленный ответвитель (ВШСНО), причем вход и выход фильтра электрически соединены с антенной ПРИМ и с входом выпрямителя, соответственно, а выход выпрямителя гальванически соединен с затвором каждого полевого транзистора со встроенным каналом (ПТсВК), стоки которых электрически соединены с секциями ВШСНО ЛЗ на ПАВ, а входной и выходной ВШП электрически соединены с антенной ПРИМ и с ПРИМ соответственно.
2. Антиколлизионная система радиочастотной идентификации по п.1, отличающаяся тем, что фильтр выполнен в виде фильтра с малым вносимым затуханием на акустических волнах.
3. Антиколлизионная система радиочастотной идентификации по п.1, отличающаяся тем, что фильтр выполнен в виде диэлектрического СВЧ фильтра.
4. Антиколлизионная система радиочастотной идентификации по п.1, отличающаяся тем, что фильтр выполнен в виде полосового фильтра на акустических волнах с малым вносимым затуханием.
5. Антиколлизионная система радиочастотной идентификации по п.1, отличающаяся тем, что фильтр выполнен в виде режекторного фильтра на акустических волнах.
6. Антиколлизионная система радиочастотной идентификации по п.1, отличающаяся тем, что электрическое соединение ЛЗ на ПАВ с ПРИМ выполнено разъемным.
7. Антиколлизионная система радиочастотной идентификации по п.1, отличающаяся тем, что электрические соединения фильтра, ЛЗ на ПАВ с антенной выполнены разъемными.
РИСУНКИ
|
|