|
|
(21), (22) Заявка: 2006144897/09, 18.12.2006
(24) Дата начала отсчета срока действия патента:
18.12.2006
(46) Опубликовано: 10.09.2008
(56) Список документов, цитированных в отчете о поиске:
Справочник по радиоэлектронике. / Под ред. А.А.КУЛИКОВСКОГО. – М.: Энергия, 1970, с.441-443. RU 97112083 А, 10.06.1999. RU 2237260 С2, 27.09.2004. RU 2131622 С1, 10.06.1999. US 3845462 C1, 29.10.1974. US 3964012, 15.06.1976.
Адрес для переписки:
170023, г.Тверь, ул. Рихарда Зорге, 5а, кв. 63, пат. пов. А.А. Звонову, рег. № 294
|
(72) Автор(ы):
Шевченко Виктор Федорович (RU), Прокопченко Александр Владимирович (RU), Дементьев Георгий Станиславович (RU)
(73) Патентообладатель(и):
Открытое акционерное общество “Головное научно-производственное объединение по ремонту и обслуживанию вооружения и военной техники “Гранит” (ОАО “ГНПО “Гранит”) (RU)
|
(54) УСТРОЙСТВО ОТОБРАЖЕНИЯ РАДИОЛОКАЦИОННЫХ СИГНАЛОВ
(57) Реферат:
Устройство предназначено для отображения трехмерной радиолокационной информации на одном плоском экране индикатора радиолокационной станции (РЛС) и визуального наблюдения наведения оси ее биполярной антенны на выбранный воздушный объект. Предлагаемое устройство содержит две установленные друг над другом прозрачные светоизлучающие матрицы различных цветов, горизонтальные выводы которых соединены через дешифраторы дальности цели с выходами дальномерных каналов РЛС, вертикальные выводы одной матрицы соединены через дешифратор азимута цели с выходом азимутального канала РЛС, вертикальные выводы другой – через дешифратор угла места цели с выходом угломестного канала РЛС, причем светоизлучающие матрицы выполнены с сочетанием цветов, обеспечивающим визуальный эффект изменения цвета отметки от цели при одновременном включении близко расположенных ячеек обеих светоизлучающих матриц. Достигаемым техническим результатом изобретения является возможность отображения трехкоординатной информации о воздушных объектах на общем экране. 1 з.п.ф-лы, 7 ил.
Изобретение относится к индикаторным устройствам радиолокационных станций (РЛС), конкретно к устройствам отображения радиолокационных сигналов от воздушных объектов в трехмерной системе координат.
Известны устройства отображения радиолокационных сигналов от воздушных объектов в трехмерной системе координат на одном плоском круглом экране «дальность – азимут» в виде яркостной отметки, изменяющейся по цвету в зависимости от углового положения (текущей высоты полета) воздушного объекта относительно РЛС (RU 2237260, кл. G01S 7/04, 2004; JP 60200182, кл. G01S 7/12, 1985). При этом обеспечивается воспроизведение на экране цветного экрана многоцветной и многоступенчатой радиолокационной информации, обеспечивающей раздельное отображение близко расположенных целей или перекрывающих друг друга участков береговой черты в виде удаляющегося каскада частично перекрывающих друг друга подобных разноцветных изображений.
Недостатком этих устройств является качественный характер (неоднозначность) отображения углового положения воздушных объектов, снижающий точность отслеживания координат целей по углу места оператором РЛС, и применимость их только для РЛС кругового обзора.
Известно устройство отображения радиолокационных сигналов от воздушных объектов в трехмерной системе координат РЛС сопровождения целей в виде яркостной отметки на раздельных прямоугольных плоских черно-белых экранах «дальность-азимут» и «дальность – угол места» (Справочник по радиоэлектронике. Под ред. А.А.Куликовского. М., «Энергия», 1970. Т.3, с.441÷443). Указанное устройство содержит два раздельных черно-белых экрана «азимут-дальность» и «угол места – дальность», соединенных по сигнальным входам с выходами соответствующих угломестных и дальномерных каналов.
Недостатком известного устройства является невозможность отображения на одном экране всех трех координат воздушного объекта (азимут-дальность-угол места). Это в свою очередь приводит к необходимости использования двух операторов наведения для обеспечения захвата на сопровождение РЛС выбранной цели.
Задачей изобретения является создание нового вида устройства отображения радиолокационных сигналов от воздушных объектов с неизвестными ранее функциональными возможностями для РЛС с биплоскостными антеннами. Технический результат – возможность точного отображения трехкоординатной информации о воздушных объектах на одном общем экране и возможность визуального наблюдения совпадения углового положения общей оси биплоскостных антенн РЛС с направлением на воздушную цель.
Решение поставленной задачи и достижение заявленного технического результата достигается тем, что устройство отображения радиолокационных сигналов содержит две установленные друг над другом прозрачные светоизлучающие матрицы различных цветов, горизонтальные выводы которых соединены через дешифраторы дальности цели с выходами дальномерных каналов РЛС, вертикальные выводы одной матрицы соединены через дешифратор азимута цели с выходом азимутального канала РЛС, вертикальные выводы другой – через дешифратор угла места цели с выходом угломестного канала РЛС, причем светоизлучающие матрицы выполнены с сочетанием цветов, обеспечивающим визуальный эффект изменения цвета отметки от цели при одновременном включении близко расположенных ячеек обеих светоизлучающих матриц.
Например, для визуального восприятия отметки от сопровождаемой воздушной цели в желтом цвете одна светоизлучающая матрица выполнена на светодиодах с красным, а другая – с зеленым цветами свечения.
Выполнение устройства отображения радиолокационных сигналов в виде двух установленных друг над другом прозрачных светоизлучающих матриц различных цветов позволяет объединить радиолокационную информацию двух взаимно перпендикулярных угловых плоскостей сканирования РЛС на одном общем экране. Это, в свою очередь, обеспечивает возможность и удобство восприятия радиолокационной информации одним оператором РЛС, а также не требует идентификации целей и согласования совместных действий операторов, необходимых в известных РЛС с биплоскостными антеннами (Зенитное ракетное оружие мира. Справочник. С-Петербург, «Искусство России», 2005 с.202-203). Выбор цветов, обеспечивающий визуальный эффект изменения цвета отметки от цели при одновременном включении близко расположенных ячеек обеих светоизлучающих матриц, позволяет обеспечить возможность визуального наблюдения совпадения углового положения общей оси биплоскостных антенн РЛС с направлением на воздушную цель, а также срыв автосопровождения последней по изменению цвета отметки от цели.
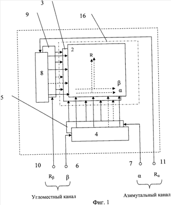
На фиг.1 представлена функциональная схема устройства отображения радиолокационных сигналов, на фиг.2÷6 – рисунки, поясняющие работу устройства, а именно:
– на фиг.2 и 3 – примеры пространственного положения воздушных объектов (целей) в двух взаимно ортогональных плоскостях (азимутальной – фиг.2 и угломестной – фиг.3) сканирования РЛС;
– на фиг.4 и 5 – радиолокационная информация о воздушной обстановке, соответствующая примерам, представленным на фиг.2 и 3, и отображаемая соответственно на нижней и верхней матрицах экрана индикаторного устройства РЛС;
– на фиг.6 – радиолокационная информация о воздушной обстановке, воспринимаемая оператором на совмещенной матрице устройства отображения радиолокационных сигналов (на планшете и/или экране индикаторного устройства РЛС);
– на фиг.7 – принцип суммирования цветов при попадании воздушной цели в равносигнальную зону РЛС с биплоскостной антенной.
Устройство 1 отображения радиолокационных сигналов содержит две установленные друг над другом прозрачные светоизлучающие матрицы 2 и 3 различных цветов. Вертикальные выводы матриц 2 и 3 соединены через дешифраторы 4 и 5 соответственно с сигнальными входами 6 и 7 устройства 1 по азимутальным и угломестным сигналам РЛС. Горизонтальные выводы матриц 2 и 3 соединены через дешифраторы 8 и 9 с сигнальными входами устройства 1 по сигналам R и R
При этом светоизлучающие матрицы 2 и 3 выполнены на ячейках различной цветности, обеспечивающих визуальный эффект изменения цвета отметки от цели при одновременном включении близко расположенных ячеек обеих светоизлучающих матриц. Например, светоизлучающая светодиодная матрица 2 может быть выполнена на светодиодах с красным свечением, а матрица 3 – с зеленым свечением. При совпадении угловых координат и для одной цели (R ,=R ) одновременное свечение светодиодов зеленого и красного цветов за счет эффекта сложения воспринимается сетчаткой глаза оператора в виде желтой отметки от цели. Дешифраторы 4, 5, 8, 9 выполнены по известным схемам управления матричными индикаторами (Якубовский С. В. и др., Цифровые и аналоговые интегральные микросхемы. Справочник. М., «Радио и связь», 1990, с.51-66), например, на микросхемах типа КМ 155ИД1, сигнальные входы которых соединены с соответствующим сигнальным входом 6, 7, 10, 11 устройства 1, а потенциальные выходы (плюсовые) – с соответствующими вертикальными и минусовые потенциальные выходы – с соответствующими горизонтальными выводами светодиодных матриц 2 и 3.
Устройство 1 отображения радиолокационных сигналов работает следующим образом.
Принятые радиосигналы от целей 12 и 13 в двух взаимно ортогональных системах координат (фиг.2 и фиг.3) относительно месторасположения РЛС 14 преобразуются в цифровую форму и в виде последовательностей импульсно-кодовых сигналов, характеризующих численные значения дальности R и азимута целей 12 и 13, подаются через входы 7 и 11 на дешифраторы 5 и 9 соответственно. При этом в соответствии с численными значениями дальности R и азимута целей 12 и 13 (фиг.2) на соответствующих потенциальных выходах дешифраторов 5 и 9 вырабатываются разнополярные сигналы, которые подаются на вертикальные и горизонтальные выводы матрицы 3. На пересечениях вертикальных и горизонтальных выводов матрицы 3, соответствующих пространственному (фиг.2) положению целей 12 и 13, появляется разность потенциалов, достаточная для возбуждения ячеек (например, зажигания красных светодиодов) матрицы 3 в точках 15красн (фиг.4). Аналогичным образом производится отображение сигналов от целей 12 и 13 (фиг.3) в угломестной плоскости (матрица 2) другим цветом, в данном примере (фиг.3 и фиг.5) – зеленым цветом. Согласно приведенным примерам, представленным на фиг.2÷5, воздушный объект 12 представляется на совмещенном экране 16 (фиг.6, матрица 2 + матрица 3) разнесенными по углам меткой 15красн с координатами ( 1, R1) и меткой 15зел с координатами (- 1, R1) соответственно красным и зеленым цветами, а воздушный объект 13 с координатами ( =0, =0, R2=R1) – желтой меткой 17 за счет совмещения азимутальной и угломестной меток с центром 18 равносигнальной зоны ( ,  ) РЛС 14. Это соответствует нахождению воздушного объекта 13 в направлении оси 18 (центра равносигнальной зоны) биплоскостных антенн РЛС 14. При выходе цели 13 из центра равносигнальной зоны РЛС 14 желтый цвет метки 17 превращается на экране (фиг.6) в две пространственно разнесенные метки зеленого 17зел. и красного 17кр. цветов (фиг.7). Оператор, наблюдая изменение цвета отметки 17, может судить о начале срыва автосопровождения и принять цель 13 на ручное сопровождение.
Изобретение разработано на уровне физической модели и технического предложения. Испытания модели и математическое моделирование показало возможность решения поставленной задачи и достижения заявленного технического результата.
Формула изобретения
1. Устройство отображения радиолокационных сигналов от целей, содержащее дальномерные, азимутальные и угломестные каналы радиолокационной станции (РЛС), отличающееся тем, что введены две установленные друг над другом прозрачные светоизлучающие матрицы различных цветов, горизонтальные выводы которых соединены через дешифраторы дальности соответствующей цели с выходами дальномерных каналов РЛС, вертикальные выводы одной матрицы соединены через дешифратор азимута соответствующей цели с выходом азимутального канала РЛС, вертикальные выводы другой – через дешифратор угла места соответствующей цели с выходом угломестного канала РЛС, при этом дешифраторы, в соответствии с пространственным положением целей, выполнены с возможностью выработки разнополярных сигналов на соответствующих потенциальных выходах дешифраторов, которые подаются на вертикальные и горизонтальные выводы матриц, с обеспечением на их пересечениях разности потенциалов, достаточной для возбуждения ячеек матриц, причем светоизлучающие матрицы выполнены с сочетанием цветов, обеспечивающим визуальный эффект изменения цвета отметки от цели при одновременном включении близко расположенных ячеек обеих светоизлучающих матриц.
2. Устройство по п.1, отличающееся тем, что светоизлучающие матрицы выполнены на светодиодах соответственно с красным и зеленым цветами свечения.
РИСУНКИ
|
|