|
(21), (22) Заявка: 2007103058/28, 25.01.2007
(24) Дата начала отсчета срока действия патента:
25.01.2007
(46) Опубликовано: 10.09.2008
(56) Список документов, цитированных в отчете о поиске:
RU 2148823 C1 10.05.2000. SU 1702301 A1, 30.12.1991. SU 1583835 A1, 07.08.1990. SU 1578641 A1, 15.07.1990. GB 2389807 A, 24.12.2003. WO 9621152 A2, 11.07.1996.
Адрес для переписки:
424000, Республика Марий Эл, г.Йошкар-Ола, ул. Строителей, 94, ЗАО СКБ “Хроматэк”
|
(72) Автор(ы):
Стариков Анатолий Иванович (RU), Объедков Николай Юрьевич (RU), Уржумцев Андрей Сергеевич (RU)
(73) Патентообладатель(и):
Закрытое акционерное общество Специальное конструкторское бюро “Хроматэк” (RU)
|
(54) УСТРОЙСТВО ДЛЯ ОТБОРА И ВВОДА ПРОБ В АНАЛИЗАТОР СОСТАВА
(57) Реферат:
Изобретение относится к аналитическому приборостроению и может найти применение в устройствах для автоматического отбора и введения проб жидкости, например, в газовый хроматограф. Устройство для отбора и ввода проб жидкости, например, в газовый хроматограф содержит дозирующий узел (4). В дозирующий узел (4) входят шприц (6) с рабочей полостью (7), полой иглой (8), поршнем (9). Дозирующий узел (4) содержит узел промывки, имеющий полую насадку (11), установленную на корпусе шприца (6). Полость насадки (11) сообщается с рабочей полостью (7) шприца (6) и трубопроводом (13) с емкостью (14) с промывочной жидкостью. На трубопроводе (13) и в емкости (14) размещены датчики температуры соответственно (15) и (16). Сопротивление датчика (15) зависит от протекания жидкости по трубопроводу (13) с определенной скоростью, а сопротивление датчика (16) зависит от уровня жидкости в емкости (14). Оперативная информация о состояниях этих датчиков поступает в контроллер (17). Тем самым контролируется надежность промывки рабочих полостей шприца (6) от остатков предыдущей пробы и обеспечивается качество хроматографического анализа. 2 ил., 1 табл.
Изобретение относится к аналитическому приборостроению и может найти применение в устройствах для автоматического отбора и ввода проб жидкости, например, в газовый хроматограф.
Известно устройство для отбора и ввода проб в анализатор состава, содержащее дозирующий узел с узлом промывки и дозирующим шприцем, на боковой поверхности поршня которого выполнен продольный паз, через который промывочная жидкость поступает во внутренний объем шприца (а.с. СССР №1578641, М. Кл. G01N 30/18).
Применение данного устройства ограничено малыми дозами вводимого вещества (долями мкл) вследствие использования полости иглы шприца в качестве всего рабочего объема шприца. Кроме того, в данном устройстве принципиальное значение имеет наличие зазора между поршнем и полостью иглы, что неизбежно приводит к образованию паразитного объема и, как следствие, к уменьшению точности дозирования. Кроме того, в этом устройстве присутствует сухое трение.
Известно устройство для отбора и ввода проб в анализатор состава, которое содержит узел промывки, состоящий из полой насадки, установленной на корпусе шприца. В этом устройстве промывочная жидкость из специальной емкости поступает в рабочие полости шприца через полость насадки и через иглу проходит в контейнер для ее слива (патент РФ №2148823, М. Кл. 7 G01N 30/18) – ближайший аналог.
Недостатком устройства является отсутствие автоматического контроля наличия течения промывочной жидкости через рабочие полости шприца. В результате этого недостатка (когда скорость течения промывочной жидкости V через рабочие полости шприца уменьшается и находится за пределами допустимых значений) становится невозможным проведение анализа, или происходит ухудшение его качества из-за наличия остатков предыдущей пробы в рабочих полостях шприца.
Задачей настоящего изобретения является устранение указанного недостатка, а именно повышение качества хроматографического анализа вследствие повышения надежности промывки рабочих полостей шприца, что приводит к надежности работы устройства в целом.
Эта задача решается тем, что в устройстве для отбора и ввода проб в анализатор состава, содержащем дозирующий узел с узлом промывки, содержащем полую насадку, установленную на корпусе дозирующего шприца со стороны ввода его поршня, при этом полость насадки сообщается с рабочей полостью шприца и емкостью с промывочной жидкостью, а в емкость с промывочной жидкостью и на трубопровод, соединяющий эту емкость с полой насадкой шприца, установлены датчики температуры, соединенные с контроллером устройства.
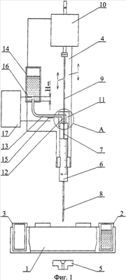
На фиг.1 и 2 изображено предлагаемое устройство, общий вид.
Устройство содержит кассету 1 с приводом (не показан) и контейнерами 2 с анализируемыми веществами и пустыми 3 (для слива промывочной жидкости), дозирующий узел 4, перемещаемый приводом (не показан) относительно входа в анализатор состава 5. В дозирующий узел 4 входят шприц 6 с рабочей полостью 7, полой иглой 8, поршнем 9 и привод 10 поршня 9. На корпусе шприца 6 установлена насадка 11 с полостью 12, соединенной с рабочей полостью 7 шприца 6 и трубопроводом 13 с емкостью 14 с промывочной жидкостью. На трубопроводе 13 и в емкости 14 размещены датчики температуры 15 и 16. Оперативная информация о состояниях датчиков температуры 15 и 16 поступает в контроллер 17.
Устройство работает следующим образом.
Перед началом отбора пробы из контейнера 2 и ввода ее в анализатор состава 5 производится промывка рабочей полости 7 шприца 6, полости иглы 8 и части поршня 9 шприца 6. Для осуществления промывки кассета 1 с помощью привода (не показан) переводится в положение, при котором контейнер 3, предназначенный для слива промывочной жидкости, устанавливается напротив иглы 8 шприца 6. Игла 8 шприца 6 перемещением дозирующего узла 4 с помощью привода (не показан) вводится в контейнер 3.
После этого поршень 9 поднимается программно-управляемым приводом 10 в положение промывки, при котором поршень 9 выходит из рабочей полости 7 шприца 6 через полость 12 насадки 11, образуя при этом зазор S между торцом поршня 9 и верхней границей рабочей полости 7 шприца 6. Величина промываемой части поршня 9 определена конструкцией насадки 11 и величиной зазора S и выбирается в зависимости от вязкости промывочной жидкости, давления в промывочной емкости 14 и требуемой для качественной промывки рабочей скорости течения промывочной жидкости V через рабочую полость 7 шприца 6 (размер Н). Численное значение рабочей скорости V (в мкл/с) течения промывочной жидкости через полости шприца имеет вполне определенное значение для каждого типа шприца. Для шприца рабочим объемом 10 мкл (и для жидкостей типа спирт этиловый, гексан), например, скорость V=3…4 мкл/с является достаточной для большинства реальных хроматографических анализов. Промывочная жидкость (обычно чистый растворитель) из емкости 14 (с датчиком уровня жидкости 16 и в которую может подаваться избыточное давление) поступает через соединенную с ней трубопроводом 13 полость 12 насадки 11 и зазор S в рабочую полость 7 шприца 6 и через иглу 8 шприца 6 проходит в контейнер 3, омывая при этом также поверхность поршня 9, находящуюся в полости 12 насадки 11, рабочую полость 7 и полость иглы 8 шприца 6. Чистый растворитель при этом протекает через рабочую полость 7 и полость иглы 8 шприца 6 с рабочей скоростью V, смешивается в этих полостях с остатками пробы, находящимися в рабочей полости 7 шприца 6 и в полости его иглы, и загрязненный сливается в контейнер 3. Время протекания растворителя через рабочую полость 7 и полость иглы 8 шприца 6 со скоростью V (соответствует количеству растворителя, протекающего через шприц) выбирается оператором таким, чтобы в хроматограмме текущего анализа не обнаруживались бы пики компонентов пробы предыдущего анализа.
В реальной практике скорость протекания растворителя через рабочие полости шприца 6 может быть значительно меньше V и даже иметь нулевое значение. Это происходит по нескольким причинам:
1) отсутствие растворителя или недостаточный его уровень в емкости 14;
2) наличие негерметичностей в тракте промывки шприца;
3) закупорка иглы шприца.
Если уровень растворителя в емкости 14 может надежно контролироваться оператором, то появление негерметичностей в тракте промывки шприца и закупорка его иглы носит случайный характер. Для оперативного контроля за уровнем растворителя и скорости его протекания V в предложенном устройстве применены датчики температуры.
Функциональное назначение датчиков температуры, используемых в устройстве: датчик температуры 16 – это датчик уровня промывочной жидкости в емкости 14; датчик температуры 15 является датчиком расхода промывочной жидкости, протекающей через трубопровод 13, полости насадки 11, шприца 6 и иглы 8.
Принцип действия устройства, основанный на применении датчиков температуры, заключается в изменении сопротивления датчика в зависимости от того, находится ли он в жидкости или на воздухе (датчик уровня жидкости), либо того, протекает или не протекает с определенной скоростью жидкость по трубопроводу, на котором датчик расположен.
Рассмотрим состояния датчиков при следующих условиях:
1) отсутствие жидкости в емкости 14 и трубопроводе 13;
2) наличие жидкости в емкости 14 и трубопроводе 13;
3) наличие жидкости в емкости 14 и ее отсутствие в трубопроводе 13.
Общим для всех рассматриваемых состояний является то, что чувствительный элемент датчика, питаемый прецизионным источником тока, нагревает этим током корпус датчика до температуры Ткор=tокр+ t, где Ткор – температура корпуса датчика, tокр – температура окружающей среды, a t – перегрев корпуса датчика по отношению к температуре окружающей среды. Сопротивление датчика при температуре tокр обозначим через R=Rокр, а при температуре tокр+ t через R1=R+ R, где R – приращение сопротивления датчика при перегреве его корпуса на величину t.
Прецизионный ток, протекающий через чувствительный элемент датчика в рабочем для устройства диапазоне температур, вызывает на нем разные падения напряжения: U=IR и U1=IR1, где U – падение напряжения на чувствительном элементе датчика при температуре окружающей среды; U1 – падение напряжения на чувствительном элементе датчика при температуре tокр+ t; I=Const – прецизионный ток питания чувствительного элемента датчика.
Информация с датчиков 15 и 16 в виде напряжений U и U1 поступает на входы пороговых устройств контроллера 17, сигналы с которого в виде логического нуля и логической единицы поступают в анализатор состава, причем напряжению U будет соответствовать логический нуль, а напряжению U1 будет соответствовать логическая единица.
При отсутствии жидкости в емкости 14 и течения ее по трубопроводу 13 корпуса датчиков 16 и 15 находятся при температуре Ткор=tокр+ t, a датчик 15, кроме того, теплом своего корпуса локально разогревает стенку трубопровода 13, следовательно, в этом состоянии падения напряжения на обоих датчиках имеют значения U1, а на выходе пороговых устройств контроллера 17 будут сигналы в виде логических единиц.
При наличии жидкости в емкости 14 и протекании ее через трубопровод 13 корпуса датчиков 16 и 15 будут находиться при температуре, близкой к tокр. В этом случае датчик 16, погруженный в жидкость, приобретает температуру этой жидкости – tокр, а корпус датчика 15 вместе с локально разогретой стенкой трубопровода 13 охлаждается до температуры, близкой к tокр проходящей через трубопровод 13 жидкостью. Следовательно, в этом состоянии падения напряжения на обоих датчиках имеют значения, близкие к U, а на выходе пороговых устройств контроллера 17 будут сигналы в виде логических нулей.
При наличии жидкости в емкости 14 и отсутствии протекания ее через трубопровод 13 датчик 16 будет находиться при температуре, близкой к tокр, падение напряжения на нем будет близким к U, а на выходе его порогового устройства в контроллере 17 будет сигнал в виде логического нуля. Датчик 15 вместе с локально разогретой им стенкой трубопровода 13 будет находиться при температуре tокр+ t, падение напряжения на нем будет близким к U1, а на выходе его порогового устройства в контроллере 17 будет сигнал в виде логической единицы.
Результаты изложенных выше рассуждений сведены в таблицу
| Наличие жидкости в емкости 14 |
Наличие потока жидкости в трубопроводе 13 |
Выходные сигналы контроллера 17 |
| Нет |
Нет |
1-1 |
| Да |
Да |
0-0 |
| Да |
Нет |
0-1 |
Необходимым условием промывки рабочих полостей шприца 6 является наличие жидкости в емкости 14 и наличие потока жидкости со скоростью V в трубопроводе 13. При выполнении этого условия выходные сигналы контроллера 17 имеют значения логических нулей. Такая комбинация сигналов датчиков воспринимается контроллером 17 как рабочая, все остальные – как аварийные события. Физический смысл этих событий:
1) в емкости 14 уменьшился до предельного значения (Нmin) уровень жидкости;
2) уменьшилась за пределы допустимых значений (от значения V) скорость потока жидкости через трубопровод 13.
При возникновении аварийных событий при работе устройства контроллер 17 выдает сигналы (1-1 или 0-1) анализатору состава на запрет дальнейшей работы устройства. Это позволяет:
1) избежать проведения ложного хроматографического анализа;
2) свести к минимуму потери рабочего времени оператора для диагностики неисправности и ее устранения.
Далее цикл работы устройства происходит в следующей последовательности. По истечении заданного времени промывки поршень 9 шприца 6 приводом 10 опускается вниз (до предела или до заданного объема рабочей полости), перекрывая зазор S (прерывая поток промывочной жидкости) и вытесняя промывочную жидкость из рабочего объема 7 шприца 6 в контейнер 3, предназначенный для слива промывочной жидкости, затем игла 8 перемещением привода (не показан) дозирующего узла 4 выводится из контейнера 3 и кассета 1 с помощью привода (не показан) переводится в положение, при котором напротив иглы 8 устанавливается контейнер 2 с анализируемой пробой. Игла 8 перемещением дозирующего узла 4 вводится в контейнер 2. Отбор и дозирование пробы осуществляется перемещением поршня 9 программно -управляемым приводом 10 до положения, соответствующего дозируемому объему пробы. При этом проба за счет разрежения, создаваемого перемещающимся поршнем 9, через иглу 8 поступает в рабочий объем 7 шприца 6. После отбора пробы игла 8 перемещением дозирующего узла 4 выводится из контейнера 2 с пробой. Кассета 1 с помощью привода переводится в положение, при котором контейнеры удаляются из зоны движения дозирующего узла 4. Игла 8 перемещением дозирующего узла 4 вводится в анализатор состава 5. Перемещением поршня 9 с помощью привода 10 на расстояние, соответствующее дозируемому объему пробы, осуществляется ввод пробы в анализатор 5. Затем перемещением дозирующего узла 4 игла 8 выводится из анализатора 5.
После окончания анализа цикл работы устройства, включающий промывку, отбор пробы и ввод пробы, повторяется.
Устройство испытано на серийном образце дозатора автоматического жидкостного ДАЖ-2М 214.2.508.006, получены положительные результаты.
Формула изобретения
Устройство для отбора и ввода проб в анализатор состава, содержащее дозирующий узел с узлом промывки, содержащем полую насадку, установленную на корпусе дозирующего шприца со стороны ввода его поршня, при этом полость насадки сообщается с рабочей полостью шприца и емкостью с промывочной жидкостью, отличающееся тем, что в емкость с промывочной жидкостью и на трубопровод, соединяющий эту емкость с полой насадкой шприца, установлены датчики температуры, соединенные с контроллером устройства.
РИСУНКИ
MM4A – Досрочное прекращение действия патента СССР или патента Российской Федерации на изобретение из-за неуплаты в установленный срок пошлины за поддержание патента в силе
Дата прекращения действия патента: 26.01.2009
Извещение опубликовано: 27.01.2010 БИ: 03/2010
NF4A – Восстановление действия патента СССР или патента Российской Федерации на изобретение
Дата, с которой действие патента восстановлено: 27.01.2010
Извещение опубликовано: 27.01.2010 БИ: 03/2010
|