|
|
(21), (22) Заявка: 2006145098/28, 18.12.2006
(24) Дата начала отсчета срока действия патента:
18.12.2006
(46) Опубликовано: 10.09.2008
(56) Список документов, цитированных в отчете о поиске:
RU 2205399 A, 27.052003. SU 1702301 A1, 30.12.1991. GB 2389807 A, 24.12.2003. WO 9621152 A2, 11.07.1996.
Адрес для переписки:
424000, Республика Марий Эл, г.Йошкар-Ола, ул. Строителей, 94, ЗАО СКБ “Хроматэк”
|
(72) Автор(ы):
Иванов Петр Борисович (RU), Стариков Анатолий Иванович (RU)
(73) Патентообладатель(и):
Закрытое акционерное общество Специальное конструкторское бюро “Хроматэк” (RU)
|
(54) УСТРОЙСТВО ТРАНСПОРТИРОВАНИЯ ПРОБ В ГАЗОВЫЙ ХРОМАТОГРАФ
(57) Реферат:
Изобретение относится к устройствам ввода пробы в разделительные колонки газовых хроматографов. Устройство содержит съемный механизм транспортирования пробы, выполненный в виде цилиндрического корпуса 7, в котором расположен шток 8 с соосно присоединенным к нему контейнером 9 для пробы. Шток 8 имеет возможность возвратно-поступательного движения. Герметизация между корпусом 7 и штоком 8 обеспечена уплотнительным элементом 10, который состоит из пакета плоских колец, выполненных из упругодеформируемого износостойкого материала. Изобретение обеспечивает улучшение качества хроматографического анализа и увеличение надежности устройства. 2 з.п. ф-лы, 6 ил.
Изобретение относится к устройствам ввода пробы в разделительные колонки газовых хроматографов.
Известны устройства, содержащие трубчатый корпус с поршнем и иглой, например микрошприцы Hamilton 701 и Hamilton 1710, предназначенные для ввода жидких, парогазовых и газовых образцов (проб) в газовые хроматографы (каталог Syringes Hamilton, USA, 2005).
Элементом герметизации аналитического тракта газового хроматографа в этих устройствах, при транспортировании пробы иглой, является эластичная, раздвигаемая самой иглой мембрана.
Недостатки, которыми обладают эти устройства, и которые проявляются при транспортировании пробы в рабочее пространство устройства ввода пробы газового хроматографа (например – испарителя), следующие:
1) невозможность ввода твердых образцов (проб);
2) попадание вместе с пробой мельчайших частичек материала мембраны, которые появляются на поверхности иглы в результате ее трения о мембрану, и искажают результат хроматографического анализа.
Наиболее близким техническим решением к предлагаемому устройству является дозатор твердых проб, выбранный в качестве ближайшего аналога, содержащий цилиндрический корпус, на одном конце которого расположен штуцер для соединения с испарителем хроматографа, а к другому его концу, содержащему запорный механизм, герметично присоединен съемный механизм транспортирования пробы, состоящий из цилиндрического корпуса с уплотнительным элементом для расположенного в нем штока с контейнером для пробы (патент РФ №2205399, МПК G01N 30/16, 2003).
Недостатком этого устройства является то, что в результате трения штока о материал уплотнения (силиконовой резины) на поверхности штока появляются мельчайшие частички материала уплотнения, которые вместе с пробой попадают в испаритель и искажают результат хроматографического анализа.
Задачей настоящего изобретения является улучшение качества хроматографического анализа.
Эта задача решается тем, что предлагаемое устройство транспортирования проб в газовый хроматограф содержит цилиндрический корпус, на одном торце которого расположен штуцер для соединения с испарителем хроматографа, к другому его торцу герметично присоединен съемный механизм транспортирования пробы, состоящий из цилиндрического корпуса, в котором с возможностью возвратно-поступательного движения расположен снабженный уплотнительным элементом шток с контейнером для ввода пробы в испаритель хроматографа, а корпус устройства имеет радиальный выступ, в канале которого расположен запорный механизм, состоящий из эластичного поршня и штока с уплотнительным элементом, причем уплотнительный элемент для штока механизма транспортирования пробы состоит из пакета плоских колец, выполненных из упругодеформируемого износостойкого материала, например тефлона, и каждое из колец имеет толщину 50-100 мкм.
Технический результат выражается в улучшении качества хроматографического анализа и увеличении надежности устройства за счет изменения материала уплотнения штока механизма транспортирования пробы и конструкции этого уплотнения.
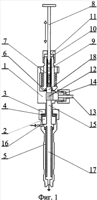
На фиг.1 изображено предлагаемое устройство, установленное на испарителе хроматографа; отверстие корпуса, по которому перемещается шток с контейнером с пробой, перекрыто поршнем запорного устройства.
На фиг.2 – то же; поршнем запорного устройства открыто отверстие корпуса для свободного перемещения штока с контейнером с пробой.
На фиг.3 – то же; контейнер с пробой опущен в испаритель хроматографа.
На фиг.4 изображен механизм транспортирования пробы, на фиг.5 – контейнер с пробой.
На фиг.6 изображено уплотнение штока.
Устройство транспортирования проб в газовый хроматограф содержит цилиндрический корпус 1, один конец которого выполнен в виде штуцера 2, который предназначен для соединения посредством гайки 3 и уплотнителя 4 с испарителем 5 газового хроматографа, а на другом конце этого корпуса соосно посредством байонетного соединителя (не показан) с уплотнителем 6 присоединен съемный механизм транспортирования пробы, выполненный в виде цилиндрического корпуса 7, в котором расположен шток 8 с соосно присоединенным к нему контейнером 9 для пробы. Шток 8 имеет возможность возвратно-поступательного движения. Герметизация между корпусом 7 и штоком 8 в предложенном устройстве обеспечена уплотнительным элементом 10, который состоит из пакета плоских колец толщиной 50 мкм, выполненных из тефлона. Пакет прижат к корпусу 7 гайкой 11. На конце корпуса 1 в радиальном канале выступа размещен запорный механизм, состоящий из эластичного поршня 12 и ступенчатого штока 13 с уплотнительным элементом 14. Возвратно-поступательное перемещение штока 13 с поршнем 12 осуществляется приводом (не показан).
Устройство работает следующим образом.
В исходном состоянии, изображенном на фиг.1, механизм транспортирования пробы с размещенной в контейнере 9 пробой герметично установлен на корпусе 1 устройства, а полости 15 и 18, по которым происходит перемещение контейнера 9 с пробой в испаритель 5, герметично разделены эластичным поршнем 12. Контейнер 9 с пробой при этом оказывается заключенным в герметичную полость 18 корпуса 7. В качестве пробы, размещенной в контейнере 9, могут быть использованы твердые и жидкие образцы (жидкий образец может быть размещен в полости отрезка капиллярной трубки).
Газ-носитель, поступающий в устройство по патрубку 16, заполняет полость 15 и движется через полость 17 испарителя в разделительную колонку хроматографа (не показана). При возвратном перемещении штока 13 и поршня 12 происходит сообщение полости 15 с полостью 18 корпуса 7, в которой находится контейнер 9 с пробой; полость 18 корпуса 7 заполняется газом-носителем, а шток 8 с контейнером 9, с пробой имеет возможность перемещения в полость 17 испарителя, где происходят рабочие процессы с пробой. Это положение изображено на фиг.2.
Основное преимущество уплотнительного элемента 10 – компенсация отклонений формы и взаимного расположения уплотнительных поверхностей в результате упругой деформации кромок каждого из колец.
Пакет из нескольких десятков плоских тонких колец при этом обеспечивает высокую герметичность при относительно небольших силах герметизации, с минимальным контактным давлением на уплотнительных поверхностях, обеспечивающим герметичность при заданном рабочем давлении среды. При этих условиях деформируются неровности поверхности контакта, уменьшается межповерхностный зазор и увеличивается сопротивление утечке среды. В предложенном устройстве диаметр отверстия каждого плоского кольца уплотнительного элемента 10 меньше диаметра штока 8, и при его монтаже в корпус 7 устройства упругие кромки колец деформируются в сторону полости корпуса 7. В дополнение к упругим свойствам кромок колец рабочее давление среды в полости корпуса 7 прижимает их упругие кромки к поверхности штока 8, обеспечивая необходимое значение герметичности. В условиях реальной работы устройства – в составе хроматографического комплекса (при анализе штрихов подписей деловых бумаг) негерметичность тракта испарителя не превышает 0,1 мл/мин при наработке нескольких тысяч циклов возвратно-поступательного перемещения штока с контейнером с пробой. Ложных пиков от компонентов материала колец уплотнителя (тефлона) при этом не наблюдается.
Положение устройства, при котором происходят рабочие процессы с пробой в полости 17 испарителя 5, изображено на фиг.3. Извлечение контейнера 9 с отработанной пробой из испарителя 5 происходит в порядке, противоположном описанному выше.
Предложенное устройство нашло применение в судебно-криминалистической экспертизе, в частности для анализа штрихов подписей деловых бумаг. Устройство компактно и удобно в работе.
Формула изобретения
1. Устройство транспортирования проб в газовый хроматограф, содержащее цилиндрический корпус, на одном торце которого расположен штуцер для соединения с испарителем хроматографа, к другому его торцу герметично присоединен съемный механизм транспортирования пробы, состоящий из цилиндрического корпуса, в котором с возможностью возвратно-поступательного движения расположен снабженный уплотнительным элементом шток с контейнером для ввода пробы в испаритель хроматографа, а корпус устройства имеет радиальный выступ, в канале которого расположен запорный механизм, состоящий из эластичного поршня и штока с уплотнительным элементом, отличающееся тем, что уплотнительный элемент для штока механизма транспортирования пробы состоит из пакета плоских колец, выполненных из упругодеформируемого износостойкого материала.
2. Устройство по п.1, отличающееся тем, что кольца выполнены из тефлона.
3. Устройство по п.1, отличающееся тем, что каждое из колец имеет толщину 50-100 мкм.
РИСУНКИ
|
|