|
|
(21), (22) Заявка: 2007103956/28, 01.02.2007
(24) Дата начала отсчета срока действия патента:
01.02.2007
(46) Опубликовано: 10.09.2008
(56) Список документов, цитированных в отчете о поиске:
SU 717642 A1, 25.02.1980. RU 2204129 C2, 10.05.2003. DE 19601707 A1, 25.07.1996. US 2006109003 A1, 25.05.2006.
Адрес для переписки:
614013, г.Пермь, ул. Акад. Королева, 1 ИМСС УрО РАН
|
(72) Автор(ы):
Баранников Владимир Александрович (RU), Солод Алексей Валерьевич (RU)
(73) Патентообладатель(и):
ГОСУДАРСТВЕННОЕ УЧРЕЖДЕНИЕ ИНСТИТУТ МЕХАНИКИ СПЛОШНЫХ СРЕД УРАЛЬСКОГО ОТДЕЛЕНИЯ РАН (RU)
|
(54) УСТРОЙСТВО ДЛЯ ОБНАРУЖЕНИЯ ДЕФЕКТОВ В МЕТАЛЛИЧЕСКИХ ИЗДЕЛИЯХ (ВАРИАНТЫ)
(57) Реферат:
Изобретение относится к устройствам для неразрушающего контроля качества изделий по электромагнитным параметрам и может быть использовано для дефектоскопии в машиностроении. Устройство для обнаружения дефектов в металлических изделиях содержит корпус, источник магнитного поля и датчик сигнала. Корпус выполнен из диэлектрического материала с цилиндрической выточкой с одного торца и с двумя кольцевыми концентрично расположенными пазами с другого торца. Источник магнитного поля выполнен в виде ферритового сердечника цилиндрической формы с кольцевым пазом на его торце, снабженным обмоткой возбуждения. Ферритовый сердечник расположен в цилиндрической выточке корпуса, а датчик сигнала выполнен в виде четырех дугообразных пермаллоевых сердечников, снабженных сигнальными обмотками, витки которых расположены вокруг сердечников, а сами сердечники расположены попарно и симметрично в кольцевых пазах корпуса, а сигнальные обмотки соединены в мостовую схему. Устройство снабжено механизмом балансировки в виде трех винтов, расположенных в отверстиях корпуса с резьбой вокруг ферритового сердечника через 120 градусов в плоскости, перпендикулярной оси корпуса. Технический результат: повышение чувствительности, увеличение глубины обнаружения дефекта, повышение точности определения параметров, расширение возможностей применения устройства для различных материалов. 2 н. и 1 з.п. ф-лы, 8 ил.
Изобретение относится к устройствам для неразрушающего контроля качества изделий по электромагнитным параметрам и может быть использовано для дефектоскопии в машиностроении.
Наиболее близким к предлагаемому изобретению по технической сущности является устройство для обнаружения дефектов в металлических изделиях, содержащее корпус, источник магнитного поля и датчик сигнала (авторское свидетельство СССР № 717642).
Недостатком устройства является низкая чувствительность, ограничение глубины, на которой может быть обнаружен дефект, низкая точность определения параметров дефекта, ограниченная область применения.
Задачами настоящего изобретения является повышение чувствительности, увеличение глубины обнаружения дефекта, повышение точности определения его параметров, расширение возможностей применения для различных материалов.
Для достижения этого технического результата устройство для обнаружения дефектов в металлических изделиях содержит корпус, источник магнитного поля и датчик сигнала и отличается тем, что корпус выполнен из диэлектрического материала с цилиндрической выточкой с одного торца и с двумя кольцевыми концентрично расположенными пазами с другого торца, причем источник магнитного поля выполнен в виде ферритового сердечника цилиндрической формы с кольцевым пазом на его торце, снабженным обмоткой возбуждения, при этом ферритовый сердечник расположен в цилиндрической выточке корпуса, а датчик сигнала выполнен в виде четырех дугообразных пермаллоевых сердечников, снабженных сигнальными обмотками, витки которых расположены вокруг сердечников, а сами сердечники расположены попарно и симметрично в кольцевых пазах корпуса, а сигнальные обмотки соединены в мостовую схему, при этом устройство снабжено механизмом балансировки в виде трех винтов, расположенных в отверстиях корпуса с резьбой вокруг ферритового сердечника через 120 градусов в плоскости, перпендикулярной оси корпуса. Кроме того, устройство для обнаружения дефектов в металлических изделиях (вариант) содержит источник магнитного поля и датчик сигнала, причем источник магнитного поля выполнен в виде ферритового сердечника цилиндрической формы с кольцевым пазом на его торце и продольным пазом на внешней боковой стороне и снабжен обмоткой возбуждения, расположенной в кольцевом пазу, причем в ферритовом сердечнике со стороны кольцевого паза симметрично продольному пазу выполнена выемка, в которой расположен пермаллоевый сердечник, снабженный дополнительной обмоткой возбуждения и двумя обмотками датчика сигнала, расположенными симметрично относительно оси продольного паза и соединенными в полумостовую схему.
Признаки, отличающие предлагаемое устройство для обнаружения дефектов от наиболее близкого к нему известного по авторскому свидетельству №717642 (прототип), характеризуют корпус, выполненный из диэлектрического материала с цилиндрической выточкой с одного торца и с двумя кольцевыми концентрично расположенными пазами с другого торца, причем источник магнитного поля выполнен в виде ферритового сердечника цилиндрической формы с кольцевым пазом на его торце, снабженным обмоткой возбуждения, при этом ферритовый сердечник расположен в цилиндрической выточке корпуса, а датчик сигнала выполнен в виде четырех дугообразных пермаллоевых сердечников, снабженных сигнальными обмотками, витки которых расположены вокруг сердечников, а сами сердечники расположены попарно и симметрично в кольцевых пазах корпуса, а сигнальные обмотки соединены в мостовую схему, при этом устройство снабжено механизмом балансировки в виде трех винтов, расположенных в отверстиях корпуса с резьбой вокруг ферритового сердечника через 120 градусов в плоскости, перпендикулярной оси корпуса.
Признаки, отличающие предлагаемое устройство для обнаружения дефектов (вариант) от наиболее близкого к нему известного по авторскому свидетельству №717642 (прототип), характеризуют источник магнитного поля, выполненный в виде ферритового сердечника цилиндрической формы с кольцевым пазом на его торце и продольным пазом на внешней боковой стороне и снабженный обмоткой возбуждения, расположенной в кольцевом пазу, причем в ферритовом сердечнике со стороны кольцевого паза симметрично продольному пазу выполнена выемка, в которой расположен пермаллоевый сердечник, снабженный дополнительной обмоткой возбуждения и двумя обмотками датчика сигнала, расположенными симметрично относительно оси продольного паза и соединенными в полумостовую схему.
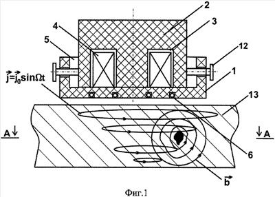
Сущность изобретение поясняется чертежами, где на фиг.1 изображен общий вид устройства в разрезе, на фиг.2 – разрез по А-А фиг.1, на фиг.3 – вид с торца корпуса устройства, на фиг.4 приведена электрическая схема соединения элементов устройства, на фиг.5 – разрез устройства для обнаружения дефектов (вариант), на фиг. 6 – вид на фиг.5 – сбоку, на фиг.7 – разрез по Б-Б фиг.5, на фиг.8 – электрическая схема датчика.
Устройство для обнаружения дефектов в металлических изделиях содержит корпус 1, источник магнитного поля и датчик сигнала. Источник магнитного поля выполнен в виде ферритового сердечника 2 с кольцевым пазом 3 на его торце, снабженным обмоткой возбуждения 4. Ферритовый сердечник 2 расположен в цилиндрической выточке 5 корпуса 1 цилиндрической формы, выполненного из диэлектрического материала. В корпусе 1 с торца выполнены два концентрично расположенных относительно оси корпуса кольцевых паза 6. Датчик сигнала выполнен в виде четырех дугообразных сердечников 7, изготовленных из сплава с высокой магнитной проницаемостью и узкой петлей гистерезиса, например пермаллоя (Электротехнический справочник. T.1./Под. ред. В.Г.Герасимова и др. М.: Энергоатомиздат, 1985, с.441, 442, 451, 454), снабженных сигнальными обмотками 8, 9, 10, 11, витки которых расположены вокруг сердечников 7, а сами сердечники расположены попарно и симметрично в кольцевых пазах 6 корпуса. Сигнальные обмотки 8, 9, 10, 11 соединены в мостовую схему, причем относительно диагонали возбуждения А-В обмотки включены согласно, относительно измерительной диагонали С-Д – встречно. В цепи питания обмоток установлено балластное сопротивление Rб.
Устройство снабжено механизмом балансировки сигнала в виде трех винтов 12, расположенных в отверстиях корпуса 1 с резьбой вокруг ферритового сердечника через 120 градусов в плоскости, перпендикулярной оси корпуса. Устройство перемещается по изделию 13.
Устройство для обнаружения дефектов в металлических изделиях (вариант) содержит источник магнитного поля и датчик сигнала. Источник магнитного поля выполнен в виде ферритового сердечника 14 цилиндрической формы с кольцевым пазом 15 на его торце 16 и продольным пазом 17 на внешней боковой стороне и снабжен обмоткой возбуждения 18, расположенной в кольцевом пазу 15, причем в ферритовом сердечнике со стороны торца 16 симметрично продольному пазу 17 выполнена выемка 19. В выемке 19 расположен пермаллоевый сердечник 20, снабженный дополнительной обмоткой возбуждения 21 и двумя обмотками датчика сигнала 22, расположенными симметрично относительно оси продольного паза 17 и соединенными в полумостовую схему.
Устройство работает следующим образом. При подаче на обмотку возбуждения 4 переменного напряжения в изделии возбуждается переменный магнитный поток. Основная часть магнитного потока, создаваемого обмоткой возбуждения 4, проходит через контролируемое изделие 13. В изделии от этого магнитного потока генерируется электрическое поле и возбуждается электрический ток в виде замкнутых кольцевых переменных токов Мостовая схема возбуждается переменным током причем а по каждому плечу моста протекает примерно одинаковый ток, со второй измерительной диагонали снимается сигнал разбаланса. Котировочным устройством мостовая схема устанавливается в такое положение, при котором векторы индукции магнитного поля, возбуждаемые обмоткой возбуждения, перпендикулярны сердечникам элементов, благодаря чему мостовая схема нечувствительна к этому полю.
При воздействии на такую схему однородного магнитного поля сигнал разбаланса отсутствует.
Если в зоне действия тока оказывается дефект проводимости, например неоднородное включение или пустота, то он искажает поле тока (фиг.2), генерируя возмущения в виде магнитных силовых линий поля возмущения (фиг.1), и, если они оказываются в зоне чувствительности мостовой схемы, то вызывают разбаланс моста.
Отличие в работе устройства (вариант) заключается, в том, что в магнитной цепи часть функции второго плеча мостовой схемы выполняет сердечник 20 и, таким образом, устройство чувствительно к нарушениям симметрии распределенного магнитного поля, обусловленное дефектом в контролируемом изделии.
Для испытаний был изготовлен опытный образец устройства для обнаружения дефектов. Датчик сигнала был выполнен из пермаллоя марки 80НХС. Напряжение возбуждения датчика 20 В. Балластное сопротивление Rб выбиралось равным 470 Ом.
Количество витков в обмотке возбуждения 500. Испытания показали, что устройство позволяет на опытном образце, выполненном из сплава металла Д16Т, обнаружить дефекты размером 1-3 мм на глубине 5 мм.
Формула изобретения
1. Устройство для обнаружения дефектов в металлических изделиях, содержащее корпус, источник магнитного поля и датчик сигнала, отличающееся тем, что корпус выполнен из диэлектрического материала с цилиндрической выточкой с одного торца и с двумя кольцевыми концентрично расположенными пазами с другого торца, причем источник магнитного поля выполнен в виде ферритового сердечника цилиндрической формы с кольцевым пазом на его торце, снабженным обмоткой возбуждения, при этом ферритовый сердечник расположен в цилиндрической выточке корпуса, а датчик сигнала выполнен в виде четырех дугообразных пермаллоевых сердечников, снабженных сигнальными обмотками, витки которых расположены вокруг сердечников, а сами сердечники расположены попарно и симметрично в кольцевых пазах корпуса, причем сигнальные обмотки соединены в мостовую схему.
2. Устройство для обнаружения дефектов в металлических изделиях по п.1, отличающееся тем, что оно снабжено механизмом балансировки, выполненным, например, в виде трех винтов, расположенных в отверстиях корпуса с резьбой вокруг ферритового сердечника через 120° в плоскости, перпендикулярной оси корпуса.
3. Устройство для обнаружения дефектов в металлических изделиях, содержащее источник магнитного поля и датчик сигнала, отличающееся тем, что источник магнитного поля выполнен в виде ферритового сердечника цилиндрической формы с кольцевым пазом на его торце и продольным пазом на внешней боковой стороне и снабжен обмоткой возбуждения, расположенной в кольцевом пазу, причем в ферритовом сердечнике со стороны кольцевого паза симметрично продольному пазу выполнена выемка, в которой расположен пермаллоевый сердечник, снабженный дополнительной обмоткой возбуждения и двумя обмотками датчика сигнала, расположенными симметрично относительно оси продольного паза и соединенными в полумостовую схему.
РИСУНКИ
|
|