|
|
(21), (22) Заявка: 2007107515/28, 28.02.2007
(24) Дата начала отсчета срока действия патента:
28.02.2007
(46) Опубликовано: 10.09.2008
(56) Список документов, цитированных в отчете о поиске:
SU 1334064 A1, 30.08.1987. SU 728117 A, 15.04.1980. SU 465553 Ф, 23.06.1975. SU 1170277 A, 30.07.1985. RU 35014 U1, 20.12.2003. SU 2290635 C1, 27.12.2006.
Адрес для переписки:
410037, г.Саратов, пр-кт 50 лет Октября, 5, СВИРХБЗ
|
(72) Автор(ы):
Шебанов Николай Павлович (RU), Мандыч Владимир Григорьевич (RU), Меркулов Павел Тимофеевич (RU), Левшов Игорь Александрович (RU), Конешов Сергей Александрович (RU), Фомичев Сергей Владимирович (RU), Федорец Николай Васильевич (RU)
(73) Патентообладатель(и):
ГОУ ВПО Саратовский военный институт радиационной, химической и биологической защиты (СВИРХБЗ) (RU)
|
(54) УСТРОЙСТВО ДЛЯ ПРОВЕРКИ РАБОТОСПОСОБНОСТИ ГАЗОВЫХ СИГНАЛИЗАТОРОВ
(57) Реферат:
Изобретение относится к области анализа воздушной среды путем определения ее химических и физических свойств. Устройство для проверки работоспособности газовых сигнализаторов содержит корпус с узлами крепления, уплотнения и термостатирования и крышку, входной и выходной трубопроводы со штуцерами и дозатор. Устройство содержит дозатор, который состоит из сосуда, внутренняя полость которого соединена с входным и выходным трубопроводами, а нижняя часть его заполнена рабочим раствором, над поверхностью которого размещена улавливающая воронка, соединенная через расширитель с выходным трубопроводом, при этом в верхней части сосуда установлена крышка с заливной горловиной и пробкой, причем между дозатором и корпусом устройства размещены термостатирующий стакан и посадочное центрирующее устройство, выполненные из термоизолирующих материалов. Таким образом, конструкция устройства для подтверждения работоспособности приборов контроля отравляющих веществ непосредственно на местах их установки в рабочей зоне объектов по уничтожению химического оружия соответствует предъявляемым требованиям к ним. Данное устройство является компактным, переносным и безопасным в эксплуатации. 2 ил.
Изобретение относится к измерительной технике, а именно к способам и устройствам обеспечения работоспособности газоанализаторов. Кроме того, оно относится к области анализа воздушной среды путем определения ее химических и физических свойств.
Известно устройство для обеспечения работоспособности газоанализатора (патент РФ № 2221240 «Способ обеспечения работоспособности газоанализатора», МПК G01N 27/00 от 01.10.2004). В нем на электрохимическом датчике закрепляют термоэлектрический модуль Пельтье и на пути воздушного потока газа – датчики температуры. При этом измеряют температуру электрохимического датчика и газа, и по разности температур посредством устройства обработки информации, контроллера и усилителя вырабатывают управляющее воздействие на термоэлемент Пельтье, пропорциональное направлению и силе тока через термоэлемент Пельтье, который в зависимости от направления тока нагревает или охлаждает электрохимический датчик.
Недостатком данного устройства и устройств данного типа является то, что работоспособность газоанализаторов проверяется только в процессе работы.
Однако при работе с отравляющими веществами (ОВ) необходимо первоначально убедиться в работоспособности измеряемого устройства, например, с помощью использования имитатора. Как правило, в качестве рабочего тела для имитаторов используют нетоксичные соединения.
Однако для достоверного подтверждения работоспособности газоаналитических средств непосредственно на местах их размещения на объектах по уничтожению химического оружия необходимо использовать парогазовые смеси, содержащие реальные образцы ОВ.
В связи с этим необходимо разработать устройство для подтверждения работоспособности приборов контроля О В непосредственно перед проведением измерений на местах установки в рабочей зоне объектов по уничтожению химического оружия. Дозаторы, использующие способ равномерного испарения жидкости в поток газа – носителя, по своему назначению и характеру решаемых задач являются наиболее предпочтительными.
В качестве такого устройство может быть предложен дозатор, который обеспечивает оперативный и качественный контроль изменения свойств парогазовых смесей в процессе дозирования ОВ (патент РФ №2280246 МПК «Капиллярный дозатор парогазовых смесей», G01N 1/22 от 20.07.2006).
Данный дозатор состоит из смесительной камеры с подводящим и отводящим штуцерами, камеры испарителя с дозируемым веществом и капилляра. Испарительная камера с дозируемым веществом выполнена в виде цилиндрической стеклянной виаллы со сменными насадками и капиллярами различного проходного сечения для создания парогазовых смесей с различной летучестью в широком диапазоне концентраций и образует со смесительной камерой разъемное соединение. Преимуществом предлагаемого капиллярного дозатора парогазовых смесей является возможность оперативного и качественного контроля как изменения свойств вещества в процессе дозирования, так и количества дозируемого вещества в единицу времени для веществ широкого спектра летучести.
Однако для создания паровоздушной смеси с заданной концентрацией с другими дозируемыми веществами необходимо или подсоединить другую виаллу с этим веществом, или залить в имеющуюся виаллу новое дозируемое вещество, одновременно заменив насадку с требуемым для этого вещества капилляром. Получение парогазовых смесей ОВ путем испарения ОВ из его жидкой фазы в поток газа-носителя является не желательным. Это обусловлено тем, что использование в разрабатываемом устройстве ОВ в чистом виде накладывает особые меры по соблюдению правил техники безопасности при эксплуатации устройства, а также существенно усложняет процедуру подтверждения работоспособности приборов контроля OB непосредственно на местах установки в рабочей зоне. При испарении OB из его жидкой фазы в газ-носитель получаемая парогазовая смесь будет иметь высокую концентрацию ФОБ, что влечет за собой использование дополнительных систем разбавления. Кроме того, для придания дозатору эжекционных свойств необходимо подавать газ-носитель под большим давлением, что связано с созданием большого объема парогазовых смесей на основе ОВ в процессе проверки газоанализаторов.
Поэтому в основу конструкции устройства для подтверждения работоспособности приборов контроля ОВ непосредственно на местах их установки в рабочей зоне должен быть положен способ равномерного испарения жидкости в поток газа-носителя. При использовании данного метода всегда устанавливается динамическое равновесие между поверхностью ОВ и газом, заканчивающееся созданием парогазовых смесей заданной концентрации.
Наиболее близким по принципу действия и технической сущности для дозатора парогазовых смесей заявляемого устройства является дозирующая ячейка Кэмба, основанная на испарении жидкостей с поверхности, реализующая динамический метод получения парогазовых смесей путем карбюрации (Д.К.Колеров. «Метрологические основы газоаналитических измерений». Изд-во Комитета стандартов, мер и измерительных приборов, М., 1967, рис.77, с.227).
Этот метод был разработан Кэмбом, Лабарданом, Мейром и Ваухером и заключается в испарении некоторого количества жидкости в поток газа-носителя. Основная часть прибора – испаритель. Сам прибор состоит из трубки высотой 600 мм, в нижней части которой находится выпариваемая жидкость. Внутрь трубки помещен цилиндр из плотной и особо пористой бумаги. Газ-носитель поступает по центральной трубке, нижний конец которой находится в 1 см над поверхностью жидкости. Газ-носитель из трубки проходит вдоль стенок пористой бумаги, насыщается парами смачивающей ее жидкости и выходит из трубки. Таким образом, работа данного дозирующего устройства основана на испарении жидкости с поверхности в поток движущегося вдоль этой поверхности газа.
Однако для данного устройства характерны следующие недостатки:
– неудобство замены фильтровальной бумаги и заливки ОВ, что требует соблюдения повышенных мер безопасности;
– некачественное смешение, т.к. смачиваемость бумаги переменна по высоте.
Задачей изобретения является улучшение качества смесеобразования при подготовке рабочей смеси малой концентрации на основе реальных ОВ.
Технический результат, который может быть получен при использовании изобретения, заключается в создании компактного переносного устройства для проверки исправности и работоспособности газоаналитических приборов на объектах по уничтожению химического оружия.
Поставленная задача достигается тем, что устройство для проверки работоспособности приборов контроля отравляющих веществ содержит корпус с узлами крепления, уплотнения и термостатирования и крышку, входной и выходной трубопроводы со штуцерами и дозатор. При этом дозатор состоит из сосуда, внутренняя полость которого соединена с входным и выходным трубопроводами, а нижняя часть его заполнена рабочим раствором, над поверхностью которого размещена улавливающая воронка, соединенная через расширитель с выходным трубопроводом, при этом в верхней части сосуда установлена крышка с заливной горловиной и пробкой, причем между дозатором и корпусом устройства размещены термостатирующий стакан и посадочное центрирующее устройство, выполненные из термоизолирующих материалов.
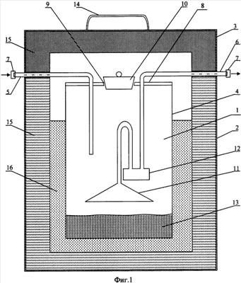
На фиг.1 представлен чертеж устройства, а на фиг.2 – его внешний вид,
где 1 – дозатор;
2 – защитный корпус;
3 – крышка защитного корпуса;
4 – сосуд дозатора;
5 – входная магистраль;
6 – выходная магистраль;
7 – транспортировочные заглушки;
8 – крышка дозатора;
9 – заливная горловина;
10 – пробка;
11 – улавливающая воронка;
12 – расширитель;
13 – рабочий раствор;
14 – ручка для транспортирования.
15 – термостатирующий стакан;
16 – посадочное центрирующее устройство.
Устройство для подтверждения работоспособности приборов контроля ОВ непосредственно на местах установки в рабочей зоне представляет собой дозатор 1, размещенный в защитном корпусе 2 с крышкой 3. Дозатор 1 выполнен из стекла марки «пиренс» и предназначен для генерирования парогазовых смесей ОВ. Он состоит из корпуса 4, входного 5 и выходного 6 трубопроводов, транспортировочных заглушек 7 и крышки 8 с заливной горловиной 9 и пробкой 10. Входной трубопровод 5 предназначен для подачи воздуха, необходимого для получения парогазовых смесей ОВ, во внутреннее пространство корпуса 2 дозатора. Выходной трубопровод 6 предназначен для улавливания парогазовых смесей ОВ и их подачи к воздухозаборному патрубку проверяемого газоаналитического прибора. Он состоит из улавливающей воронки 11 и расширителя 12. Улавливающая воронка 11 предназначена для улавливания приготовленной парогазовой смеси ОВ, ее первоначального перемешивания и направления в расширитель 12. Расширитель 12 предназначен для повторного перемешивания парогазовой смеси ОВ, а также для предотвращения попадания рабочего раствора 13 в воздухозаборную магистраль проверяемого газоаналитического прибора при внезапном опрокидывании устройства в ходе проверки.
Заливная горловина 9 предназначена для заправки дозатора 1 рабочим раствором 13, его удаления и проведения дегазации дозатора. Пробка 10 предназначена для герметизации заливной горловины 9. Транспортировочные заглушки 7 предназначены для герметизации входного 5 и выходного 6 трубопроводов.
Защитный корпус 2 с крышкой 3 предназначен для предотвращения механических воздействий на дозатор 1. Для транспортирования устройства на крышке 3 защитного корпуса 2 предусмотрена ручка 14.
Между дозатором 1 и внутренней поверхностью защитного корпуса 2 установлен термостатирующий стакан 15. Посадочное центрирующее устройство 16 для дозатора 1 выполнено из материала типа пенопласт и предназначено для надежной фиксации дозатора 1 во внутреннем пространстве защитного корпуса 2.
Устройство для подтверждения работоспособности приборов контроля ОВ непосредственно на местах их установки в рабочей зоне работает следующим образом.
При подключении выходного трубопровода 6 устройства к воздухозаборной магистрали проверяемого газоаналитического прибора атмосферный воздух через входную магистраль 5 устройства начинает поступать в дозатор 1. В результате чего во внутреннем пространстве корпуса 4 дозатора 1 формируется воздушный поток. Объемная скорость воздушного потока, проходящего через дозатор 1, определяется техническими характеристиками проверяемого газоаналитического прибора. Проходя над зеркалом жидкости, воздушный поток увлекает за собой пары ОВ и органического растворителя, испаряющиеся с поверхности рабочего раствора 13. Интенсивность испарения ОВ, в данных условиях, определяется концентрацией ОВ в рабочем растворе. Полученная таким образом парогазовая смесь поступает в улавливающую воронку 11, где происходит ее первоначальное перемешивание. Далее парогазовая смесь направляется в расширитель 12. После повторного перемешивания в расширителе готовая к использованию парогазовая смесь ОВ посредством выходного трубопровода 6 подается в воздухозаборную магистраль проверяемого газоаналитического прибора. Термостатирующий стакан 15 и материал посадочного центрирующего устройства 16 способствуют поддержанию температуры рабочего раствора 13 в заданных пределах.
Таким образом, конструкция устройства для подтверждения работоспособности приборов контроля ОВ непосредственно на местах их установки в рабочей зоне объектов по уничтожению химического оружия соответствует предъявляемым к ним требованиям. Данное устройство способно создавать парогазовые смеси ОВ заданного состава и является компактным, переносным и безопасным в эксплуатации. При этом концентрации отравляющих веществ в парогазовых смесях соответствуют пороговым уровням концентрации проверяемых газоаналитических приборов.
Формула изобретения
Устройство для проверки работоспособности газовых сигнализаторов, содержащее корпус с узлами крепления, уплотнения и термостатирования и крышку, входной и выходной трубопроводы с штуцерами и дозатор, отличающееся тем, что дозатор состоит из сосуда, внутренняя полость которого соединена с входным и выходным трубопроводами, а нижняя часть его заполнена рабочим раствором, над поверхностью которого размещена улавливающая воронка, соединенная через расширитель с выходным трубопроводом, при этом в верхней части сосуда установлена крышка с заливной горловиной и пробкой, причем между дозатором и корпусом устройства размещены термостатирующий стакан и посадочное центрирующее устройство, выполненные из термоизолирующих материалов.
РИСУНКИ
|
|