|
(21), (22) Заявка: 2006135604/28, 09.10.2006
(24) Дата начала отсчета срока действия патента:
09.10.2006
(43) Дата публикации заявки: 20.04.2008
(46) Опубликовано: 10.09.2008
(56) Список документов, цитированных в отчете о поиске:
SU 296023 A1 01.01.1971. SU 1499162 A1 07.08.1989. RU 2213339 C2 27.09.2003. EP 0693330 A1 24.01.1996.
Адрес для переписки:
445633, Самарская обл., г. Тольятти, Южное ш., 36, ОАО “АВТОВАЗ”, ОЭПП, ПТУ, ДИТО, С.Н. Буренкову
|
(72) Автор(ы):
Ананченко Игорь Юрьевич (RU), Жарков Валерий Алексеевич (RU), Афанасьев Евгений Васильевич (RU), Кирюшин Александр Анатольевич (RU)
(73) Патентообладатель(и):
Открытое акционерное общество “АВТОВАЗ” (RU)
|
(54) ШТАМП-ПРИБОР ДЛЯ ИСПЫТАНИЯ И СПОСОБ ИСПЫТАНИЯ ЛИСТОВОГО МАТЕРИАЛА НА ПРУЖИНЕНИЕ И ПРЕДЕЛЬНЫЕ ПАРАМЕТРЫ ПРИ ДВУХУГЛОВОЙ ГИБКЕ (ВАРИАНТЫ)
(57) Реферат:
Изобретение относится к листовой штамповке. Для испытания в качестве технического устройства используют штамп-прибор с пуансоном и матрицами, причем штамп-прибор устанавливается на прессовое оборудование, а в качестве измерительных приборов применяют индикаторы и транспортиры повышенной точности, при помощи которых с высокой точностью определяют линейные и угловые параметры образца после разгрузки. Технический результат: расширение технических возможностей прибора и максимальное приближение процедуры испытания к производственным способам гибки листа. 6 н. и 5 з.п. ф-лы, 7 ил.
Изобретение относится к листовой штамповке и может быть использовано во всех отраслях народного хозяйства для оценки параметров деформирования и штампуемости различных листовых материалов (металлов и неметаллов) при проектировании технологических процессов изготовления разнообразных деталей и изделий из этих листовых материалов, преимущественно для оценки штампуемости материалов из листового проката металла (в виде листа, полосы, ленты или рулона) перед гибкой и вытяжкой из этих материалов деталей автомобилей, тракторов, сельхозмашин, бытовой и другой техники на прессах простого, двойного и тройного действий, а также на многопозиционных прессах-автоматах, например, для гибки и вытяжки кузовных деталей автомобилей.
Известен прибор для технологического испытания листового материала на пружинение после загиба угла листового материала, например угла верхнего неприжатого листа в пачке листов при помощи прибора “Flex” (Романовский В.П. Справочник по холодной штамповке. Л.: Машиностроение, 1979. – с.495). Прибор “Flex” содержит полку и планку с прорезью. Испытания проводят следующим образом. Прибор “Flex” устанавливается полкой на лист так, чтобы угловой конец листа вошел в прорезь планки. Поворотом скобы угол листа загибается на 60 градусов до определенного положения. Упругое смещение пластины отмечается индикатором. Прибор снабжается таблицами упругих отклонений для различных материалов и толщин.
Недостатки этого прибора и способа испытания следующие: низкие точность и надежность результатов испытания, т.к. прибор невозможно точно зафиксировать в углу листа. Когда после гибки угла этот угол обратно выпрямляется, то в месте изгиба остается неровность, которая может осложнить последующее изготовление деталей из этого листа. Невозможность вручную изогнуть угол достаточно толстого листа. Изгиб листа при помощи данного прибора не соответствует производственным способам гибки листа при помощи пуансона и матрицы штампа.
Известен прибор для технологического испытания листового материала на пружинение при гибке по Эйлеру (Романовский В.П. Справочник по холодной штамповке. Л.: Машиностроение, 1979. – с.495). В прибор вставляется полоса в виде образца из листового материала. Далее производится изгиб этой полосы, вставленной в паз поворотно-сменного пуансона прибора с заданным отношением радиуса пуансона к толщине полосы. По шкале отсчитывается угол пружинения для различных отношений радиуса пуансона к толщине полосы и различных углов изгиба.
Недостатки этого прибора и способа испытания следующие: низкая точность результатов испытания, т.к. угол определяется визуально по грубой шкале в градусах. Невозможность вручную изогнуть образец из достаточно толстого листа. Изгиб листа при помощи данного прибора не соответствует производственным способам гибки листа при помощи пуансона и матрицы штампа.
Наиболее близким аналогом к предлагаемому штампу-прибору и способу испытания (по технической сущности и достигаемому эффекту) является прибор для технологического испытания листового материала на пружинение А.Е.Розенбелова (Розенбелов А.Е. Прибор для испытания листового материала на пружинение. Авторское свидетельство СССР 296023, G01n 3/26, опубл. 12.11.71, бюллетень № 8). Устройство содержит корпус, измерительный прибор в виде шкалы и оправку для обжатия испытуемого материала.
Испытания проводят следующим образом. В этот прибор вставляется полоса в виде образца из листового материала. Далее производится изгиб этой полосы вокруг пуансона с заданным отношением радиуса изгиба к толщине полосы. После освобождения полосы по шкале отсчитывается угол пружинения для различных отношений радиуса изгиба к толщине полосы и различных углов изгиба.
Недостатки этого прибора следующие: низкая точность результатов испытания, так как угол определяется визуально по грубой шкале в градусах. Невозможность вручную изогнуть образец из достаточно толстого листа. Изгиб листа при помощи данного прибора не соответствует производственным способам гибки листа при помощи пуансона и матрицы штампа.
Технической задачей изобретения является расширение технических возможностей прибора и максимально приблизить процедуру испытания к производственным способам гибки листа.
Техническим результатом применения штампа-прибора и способа испытания с его использованием является обеспечение возможности с высокой точностью определить угол пружинения и такие предельные параметры, как: максимально допустимый угол изгиба и минимально допустимый радиус изгиба до образования трещины на образце, а также вид трещины и характер разрушения материала после изгиба. Штамп-прибор устанавливают на мощное прессовое оборудование, что дает возможность испытывать образцы большой толщины и ширины, изготовленные из высокопрочных листовых материалов.
Указанный технический результат достигается за счет того, что штамп-прибор для испытания листового материала на пружинение и предельные параметры при двухугловой гибке содержит оправку для поджима испытуемого материала и измерительный прибор, причем оправка выполнена в виде прямоугольного пуансона с плоским торцом и двумя закругленными рабочими кромками, который установлен между двумя матрицами с закругленными рабочими кромками на расстоянии зазора с каждой стороны от пуансона, а измерительный прибор выполнен в виде двух индикаторов с горизонтальными осями и началом отсчета от двух вертикальных линий рабочих краев двух матриц, а также внутри пуансона, по его оси симметрии установлен индикатор с вертикальной осью и началом отсчета от горизонтальной плоскости торца пуансона.
Пуансон может быть закреплен на верхней плите штампа-прибора, две матрицы с закругленными рабочими кромками закреплены на нижней плите штампа-прибора, а два индикатора установлены под матрицами, а также для прижима изогнутого и разгруженного образца к пуансону снизу установлены подпружиненные толкатели.
С целью устранения смещения образца по отношению к пуансону в процессе изгиба образца на пуансоне с двух сторон могут быть закреплены планки-упоры с расстоянием между ними равным номинальной ширине образца с учетом верхнего предельного отклонения и гарантированного зазора между планками-упорами и образцом.
С целью устранения смещения образца по отношению к пуансону в процессе изгиба образца из магнитного материала в торце пуансона могут быть установлены магниты.
Пуансон может быть закреплен на нижней плите штампа-прибора, две матрицы с закругленными рабочими кромками закреплены на верхней плите штампа-прибора, а два индикатора установлены над матрицами.
Штамп-прибор для испытания листового материала на пружинение и предельные параметры при двухугловой гибке по второму варианту содержит оправку для поджима испытуемого материала и измерительный прибор, причем оправка выполнена в виде прямоугольного пуансона с плоским торцом и двумя закругленными рабочими кромками, который установлен между двумя матрицами с закругленными рабочими кромками на расстоянии зазора с каждой стороны от пуансона и закреплен на верхней плите штампа-прибора, а две матрицы закреплены на нижней плите штампа-прибора, а измерительный прибор выполнен в виде двух транспортиров для измерения угла изгиба двух полок образца и угла пружинения после разгрузки этих полок образца. Указанные транспортиры жестко закреплены на пуансоне, вокруг закруглений которого выполняют изгиб образца, и на таком расстоянии от торца пуансона, чтобы края двух изогнутых полок образца были на уровне шкал транспортиров. А также внутри пуансона, по его оси симметрии установлен индикатор с вертикальной осью и началом отсчета от горизонтальной плоскости торца пуансона.
Величина каждого из двух зазоров между пуансоном и матрицами равна или больше номинальной толщины образца с учетом верхнего предельного отклонения.
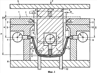
На фиг.1 изображен первый вариант штампа-прибора с верхним размещением пуансона; на фиг.2 – штамп-прибор с нижним размещением пуансона; на фиг.3 – второй вариант штампа-прибора с измерительным прибором в виде транспортира; на фиг.4 – штамп-прибор с планками-упорами; на фиг.5 – штамп-прибор с магнитами.
Штамп-прибор содержит закрепленный на верхней плите 3 прямоугольный пуансон 4 с плоским торцом и двумя закругленными рабочими кромками, две матрицы 2, 11 с закругленными рабочими кромками, закрепленные на нижней плите 6 на расстоянии зазора с каждой стороны от пуансона. Под матрицами установлены два индикатора 7, 9 с горизонтальными осями на расстоянии “а” по вертикали вниз от рабочих поверхностей двух матриц и началом отсчета от двух вертикальных линий рабочих краев двух матриц. Внутри пуансона 4 по его оси симметрии установлен индикатор 8 с вертикальной осью, имеющий начало отсчета от горизонтальной плоскости торца пуансона. Для прижима изогнутого и разгруженного образца к пуансону снизу установлены подпружиненные толкатели 12.
Штамп-прибор работает следующим образом. Плоский образец 1 в виде узкой длинной полосы укладывают на рабочие поверхности двух матриц 2, 11 симметрично относительно вертикальной оси штампа-прибора. Затем на прессе, испытательной машине или вручную задают вертикальное перемещение или только одному пуансону 4 или только матрицам 2, 11, или и пуансону 4 и матрицам 2, 11 навстречу друг другу. Рабочие поверхности пуансона 4 и матриц 2, 11 входят в контакт с образцом и постепенно, с увеличивающимся углом изгибают образец вокруг закругления пуансона в зазор между пуансоном 4 и матрицами 2, 11.
На фиг.1 показаны три этапа гибки образца в штампе-приборе:
I – начало изгиба плоского образца 1, показанного пунктирной линией, пуансоном 4 шириной “р”;
II – момент изгиба, когда левый и правый края образца 1, показанного пунктирной линией, одновременно касаются нижних точек закругленных кромок двух матриц 2, 11 радиуса rm после изгиба от горизонтали по двум закругленным рабочим кромкам пуансона 4 радиуса rр на максимальные углы, близкие к 90° и равные соответственно 90°- и 90°- ; в этот момент левая и правая полки образца отклонены от вертикали в зазоре z между пуансоном 4 и двумя матрицами 2, 11 на исходные углы и ;
III – момент, когда оба края образца опустились на уровень горизонтальных осей двух индикаторов 7, 9 и стрелки этих индикаторов показывают два максимальных горизонтальных отклонения двух полок образца “с” и “d” от вертикальных линий краев двух матриц 2, 11 за счет пружинения образца.
По мере изгиба образца боковые поверхности двух изогнутых полок образца касаются двух индикаторов 7, 9 с горизонтальным осями. После опускания краев образца ниже матриц 2, 11 образец разгружается и его изогнутые полки начинают расходиться под воздействием упругих деформаций. Оба индикатора 7, 9 показывают увеличивающееся отклонение полок образца от вертикальной линии.
Чтобы образец произвольно не падал и оставался в контакте с пуансоном, его поддерживают снизу подпружиненными толкателями 12. Сила, с которой толкатели воздействуют на образец и прижимают к пуансону, небольшая, чтобы не вызвать деформирование образца.
Перемещение пуансона или матрицы прекращают в момент, когда оба края образца опустятся на уровень горизонтальных осей двух индикаторов 7, 9 и стрелки этих индикаторов будут показывать два максимальных горизонтальных отклонения двух полок образца “с” и “d” от вертикальных линий краев двух матриц за счет пружинения образца.
На производстве при проектировании технологических процессов листовой штамповки деталей из рассчитанных в результате испытания двух углов пружинения образца учитывают либо максимальный из этих двух значений угол пружинения либо минимальный, либо среднее значение этих углов в зависимости от цели производства.
Чтобы изгиб образца происходил без его принудительного утонения, зазор между пуансоном 4 и каждой из матриц 2, 11 должен быть равен или больше номинальной толщины образца с учетом верхнего предельного отклонения.
Штамп-прибор (фиг.2) может иметь исполнение, когда содержит расположенные вверху две матрицы 2, 11 с закругленными рабочими кромками, расположенный внизу на расстоянии зазора от каждой матрицы прямоугольный пуансон 4 с плоским торцом и двумя закругленными рабочими кромками, два индикатора 7, 9 с горизонтальным осями на расстоянии “а” по вертикали вверх от рабочих поверхностей двух матриц 2, 11. Начало отсчета этих индикаторов устанавлено от вертикальной линии рабочего края соответствующей матрицы 2 и 11. Внутри пуансона 4 по его оси симметрии размещен третий индикатор 8 с вертикальной осью. Начало отсчета этого индикатора устанавлено от горизонтальной плоскости торца пуансона 4.
Указанный штамп-прибор работает аналогично вышеприведенному.
По второму варианту выполнения штампа-прибора (фиг.3) параметры пружинения образца определяют при помощи транспортиров после изгиба двух полок образца на любой угол от близкого к нулю и до 90° и для образцов любой толщины, в том числе вырезанных из особо тонких листовых материалов, например, толщиной меньше 0,2 мм. Штамп-прибор содержит прямоугольный пуансон 4 с плоским торцом и двумя закругленными рабочими кромками, расположенные на расстоянии зазора с каждой стороны от пуансона две матрицы 2, 11 с закругленными рабочими кромками. На пуансоне 4, вокруг закруглений которого выполняют изгиб образца, жестко закреплены два транспортира 7, 9 в виде полукруглой пластинки со шкалой для измерения углов изгиба двух полок образца и угла пружинения после разгрузки этих полок образца. Транспортиры закреплены на таком расстоянии от торца пуансона 4, чтобы края двух полок образца 1 в процессе изгиба перемещались на уровне и по окружности шкал транспортиров 7, 9. Начало отсчета делений по шкалам обоих транспортиров устанавливают от горизонтали. Применяют транспортиры повышенной точности с ценой деления, например, 0,5 градуса. Внутри пуансона 4 размещен индикатор 9 с вертикальной осью по оси симметрии пуансона 4. Начало отсчета этого индикатора устанавливают от горизонтальной плоскости торца пуансона.
Штамп-прибор работает следующим образом. Плоский образец 1 в виде узкой длинной полосы укладывают на рабочие поверхности двух матриц 2, 11 симметрично относительно вертикальной оси штампа-прибора. Затем на прессе испытательной машине или вручную задают вертикальное перемещение или только одному пуансону 4 или только матрицам 2,11, или и пуансону 4 и матрицам 2, 11 навстречу друг другу. Рабочие поверхности пуансона 4 и матриц входят в контакт с образцом 1 и постепенно, с увеличивающимся углом от горизонтали изгибают образец вокруг закругления пуансона 4 в зазор между пуансоном 4 и матрицами 2, 11. Величина этого зазора подбирается с учетом изгиба двух полок образца на заданный угол. В процессе изгиба образца 1, в момент когда оба края образца коснутся нижних точек закруглений двух матриц 2, 11, по двум транспортирам 7, 9 определяют угол изгиба от горизонтали для левой полки и угол изгиба для правой полки образца. После опускания краев образца ниже матриц 2, 11 образец 1 разгружается и его изогнутые полки начинают пружинить и расходиться под воздействием упругих деформаций образца. Перемещение пуансона 4 или матриц 2, 11 прекращают в момент, когда оба края образца выйдут из контакта со штампом-прибором. По двум транспортирам определяют угол от горизонтали для левой полки образца и угол для правой полки образца. По индикатору 8, расположенному внутри пуансона 4, определяют прогиб участка образца под торцом пуансона 4. Окончательно два угла пружинения двух полок образца после изгиба по двум закругленным рабочим кромкам пуансона 4 от горизонтали для левой полки и для правой полки образца 1 рассчитывают по формулам.
С целью устранения смещения образца 1 по отношению к пуансону 4 в процессе изгиба образца на пуансоне 4 с двух сторон закреплены планки-упоры 13 с расстоянием между ними, равным номинальной ширине образца, с учетом верхнего предельного отклонения на эту ширину и гарантированного зазора между планками-упорами и образцом (фиг.4).
С целью устранения смещения образца 1 по отношению к пуансону 4 в процессе изгиба образца, изготовленного из магнитного материала, например широко распространенной стали, в дополнение к толкателям 12 в торце пуансона установлены магниты 13 (фиг.5).
Способы испытания листового материала на пружинение и предельные параметры при двухугловой гибке с использованием указанных штампов-приборов осуществляются следующим образом.
Из испытуемого материала (в виде листа, полосы, рулона или ленты) вырезают плоский образец 1 в виде узкой длинной полосы толщиной s, шириной b и длиной L, складывающейся из длины под плоским торцом пуансона, длины напротив двух радиусных закруглений пуансона по средней линии образца и длины двух полок изогнутого образца. Для статистической обработки результатов испытания таких образцов вырезают несколько штук (например, шесть), причем образцы могут быть вырезаны вдоль направления прокатки, поперек или под каким-то углом (например, 45°) к направлению прокатки.
Плоский образец 1 укладывают на рабочие поверхности двух матриц 2, 11 симметрично относительно вертикальной оси штампа-прибора или укладывают на рабочий торец пуансона 4 симметрично относительно вертикальной оси штампа-прибора. Затем на прессе, испытательной машине или вручную задают вертикальное перемещение или только одному пуансону или только матрицам, или и пуансону и матрицам навстречу друг другу. Рабочие поверхности пуансона и матрицы входят в контакт с образцом и постепенно с увеличивающимся углом изгибают образец вокруг закругления пуансона радиуса rр в зазор z между пуансоном и матрицей.
В процессе изгиба образца определяют ход пуансона h в момент (этап II на фиг.1 или фиг.2), когда оба края образца одновременно коснутся нижних точек закруглений двух матриц. По формуле рассчитывают одинаковые исходные углы и отклонения левой и правой полок образца от вертикали в зазоре между пуансоном и матрицами при максимальном угле изгиба:

, – исходные углы отклонения левой и правой полок образца от вертикали;
z – величина зазора между пуансоном и матрицей;
s – толщина полосы;
h – ход пуансона, в момент когда оба края образца одновременно коснутся нижних точек закруглений двух матриц;
rр – радиус закругления пуансона;
rm – радиус закругления кромок двух матриц.
Если два края образца коснутся нижних точек радиусных закруглений матриц при различных ходах пуансона h, то по формуле (1) для каждого хода пуансона h рассчитывают разные исходные углы и .
По мере изгиба образца боковые поверхности двух изогнутых полок образца касаются двух индикаторов 7, 9 с горизонтальными осями. После опускания краев образца ниже матриц 2, 11 образец разгружают и его изогнутые полки начинают расходиться под воздействием упругих деформаций. Оба индикатора 7, 9 показывают увеличивающееся отклонение полок образца от вертикальной линии.
Перемещение пуансона или матрицы прекращают в момент, когда оба края образца опустятся на уровень горизонтальных осей двух индикаторов 7, 9 и стрелки этих индикаторов будут показывать два максимальных горизонтальных отклонения двух полок образца “с” и “d” от вертикальных линий краев двух матриц за счет пружинения образца. Далее по формулам рассчитывают углы и отклонения образца от вертикали:


и – углы отклонения левой и правой полок образца от вертикали;
z – величина зазора между пуансоном и матрицей;
s – толщина полосы;
h – ход пуансона, в момент когда оба края образца одновременно коснутся нижних точек закруглений двух матриц;
rр – радиус закругления пуансона;
rm – радиус закругления кромок двух матриц.
c и d – два максимальных горизонтальных отклонения двух полок образца от вертикальных линий краев двух матриц.
По индикатору 8 внутри пуансона 4 определяют прогиб участка образца под торцом пуансона.
Окончательно два угла пружинения и двух полок образца толщиной s и шириной b после изгиба по двум закругленным рабочим кромкам пуансона на углы, близкие к 90° и равные соответственно 90°- и 90°- , рассчитывают по формулам:

и – два угла пружинения и двух полок образца;
и – углы отклонения левой и правой полок образца от вертикали;
и – исходные углы отклонения левой и правой полок образца от вертикали.
Данный способ может быть применен не только для испытания листового материала, но и для физического моделирования заданного технологического процесса гибки.
Чтобы изгиб образца происходил без его принудительного утонения, зазор z между пуансоном и каждой из матриц должен быть равен или больше номинальной толщины образца s с учетом верхнего предельного отклонения . Наименьший предельный зазор zmin задают равным наибольшей предельной толщине образца s+ , а именно zmin=s+ . Наибольший предельный зазор zmax должен быть минимальным, чтобы угол гибки был как можно ближе к прямому углу в 90°. Величина наибольшего предельного зазора zmax зависит от толщины и марки материала образца, длины отгибаемых полок и других факторов. Для наиболее распространенных толщин и материалов наибольший предельный зазор zmax задают на 20% большим наибольшей предельной толщины образца s+ , а именно zmax=1,2(s+ ). Если испытывают образец с действительной толщиной s+ в штампе-приборе с действительным зазором s+ , то углы гибки полок образца равны ровно 90°. Если длина отгибаемых полок достаточно велика, например равна 100 номинальным толщинам образца, то даже для наибольшего предельного зазора углы гибки полок образца весьма близки к 90°, и с погрешностью до 0,2% принимают, что исходные углы и отклонения полок образца от вертикали равны нулю, а углы гибки обеих полок образца равны 90°.
По обоим вариантам параметры пружинения определяют после изгиба двух полок образца на угол, близкий к 90°. Причем образцы должны изготавливаться из достаточно толстого листового материала, чтобы сила надавливания индикаторов на края образца после его разгрузки не деформировала образец и не вносили искажения в результаты испытания.
По варианту 3 (фиг.3) параметры пружинения образца определяют при помощи транспортиров после изгиба двух полок образца на любой угол от близкого к нулю и до 90° и для образов любой толщины, в том числе вырезанных из особо тонких листовых материалов, например, толщиной меньше 0,2 мм.
Плоский образец 1 в виде узкой длинной полосы толщиной s, шириной b и длиной L укладывают на рабочие поверхности двух матриц 2, 11 симметрично относительно вертикальной оси штампа-прибора. Затем на прессе, испытательной машине или вручную задают вертикальное перемещение или только одному пуансону или только матрицам, или и пуансону и матрицам навстречу друг другу. Рабочие поверхности пуансона и матрицы входят в контакт с образцом и постепенно, с увеличивающимся углом от горизонтали изгибают образец вокруг закругления пуансона в зазор между пуансоном и матрицей. Величина этого зазора подбирается с учетом изгиба двух полок образца на заданный угол. В процессе изгиба образца в момент, когда оба края образца коснутся нижних точек закруглений двух матриц, по двум транспортирам 7, 9 определяют угол изгиба 1 от горизонтали для левой полки и угол изгиба 2 для правой полки образца. После опускания краев образца ниже матриц образец разгружается и его изогнутые полки начинают пружинить и расходиться под воздействием упругих деформаций образца. Перемещение пуансона или матрицы прекращают в момент, когда оба края образца выйдут из контакта со штампом-прибором. По двум транспортирам определяют угол 3 от горизонтали для левой полки образца и угол 4 для правой полки образца. По индикатору 8, расположенному внутри пуансона 4, определяют прогиб участка образца под торцом пуансона. Окончательно два угла пружинения и двух полок образца после изгиба по двум закругленным рабочим кромкам пуансона от горизонтали для левой полки и для правой полки рассчитывают по формулам:

и – два угла пружинения двух полок образца;
1 – угол отклонения от горизонтали для левой полки в начальный момент изгиба:
2 – угол отклонения от горизонтали для правой полки в начальный момент изгиба;
3 – угол отклонения от горизонтали для левой полки образца после выхода из контакта со штампом-прибором;
4 – угол отклонения от горизонтали для правой полки образца после выхода из контакта со штампом-прибором.
По варианту 4 (фиг.6) предельные параметры пружинения определяют после изгиба двух полок образца 1 на максимально допустимый до трещины угол.
Плоский образец 1 в виде узкой длинной полосы толщиной s, шириной b и длиной L укладывают на рабочие поверхности двух матриц 2, 11 симметрично относительно вертикальной оси штампа-прибора. Затем на прессе, испытательной машине или вручную задают вертикальное перемещение или только одному пуансону или только матрицам, или и пуансону и матрицам навстречу друг другу. Рабочие поверхности пуансона и матрицы входят в контакт с образцом и постепенно, с увеличивающимся углом от горизонтали изгибают образец вокруг закругления пуансона в зазор между пуансоном и матрицей. В момент, когда оба края образца коснуться нижних точек закруглений двух матриц, визуально или при помощи приборов определяют появление трещины на наружной поверхности образца в одном или двух местах изгиба образца. Если трещины нет, то увеличивают угол изгиба за счет уменьшения зазора между пуансоном и матрицами. Снова проводят испытание нового образца и так до тех пор, когда в момент касания обоих краев образца 1 нижних точек закруглений двух матриц 2, 11 на наружной поверхности образца 1 в одном или двух местах изгиба образца появится трещина 13 или 14. По двум транспортирам 7, 9 определяют максимально допустимый угол изгиба образца 1,max от горизонтали до образования трещины для левой полки, если здесь образовалась трещина, и максимально допустимый угол изгиба образца 2,max от горизонтали до образования трещины для правой полки, если здесь образовалась трещина. После опускания краев образца ниже матриц образец разгружается и его изогнутые полки начинают пружинить и расходиться под воздействием упругих деформаций образца. Перемещение пуансона или матриц прекращают в момент, когда оба края образца выйдут из контакта со штампом-прибором. По двум транспортирам определяют угол 3 от горизонтали для левой полки образца и угол 4 для правой полки образца. По индикатору, расположенному внутри пуансона, определяют прогиб участка образца под торцом пуансона. Окончательно два угла пружинения и двух полок образца после изгиба по двум закругленным рабочим кромкам пуансона на максимально допустимый до трещины угол от горизонтали для левой полки и на максимально допустимый до трещины угол для правой полки образца рассчитывают по формулам:

, – два угла пружинения двух полок образца после изгиба на максимально допустимый до трещины угол;
1,max – максимально допустимый угол изгиба образца от горизонтали до образования трещины для левой полки;
2,max – максимально допустимый угол изгиба образца от горизонтали до образования трещины для правой полки;
3 – угол отклонения от горизонтали для левой полки образца после выхода из контакта со штампом-прибором;
4 – угол отклонения от горизонтали для правой полки образца после выхода из контакта со штампом-прибором.
Если требуется определить вид трещины и характер излома в месте разрушения образца, то за счет уменьшения зазора между пуансоном и матрицами еще дополнительно увеличивают угол изгиба образца до полного разрушения образца.
По варианту 5 (фиг.7) предельные параметры определяют после изгиба двух полок образца 1 на минимально допустимый до трещины радиус изгиба.
Плоский образец 1 в виде узкой длинной полосы толщиной s, шириной b и длиной L укладывают на рабочие поверхности двух матриц 2, 11 симметрично относительно вертикальной оси штампа-прибора. Затем на прессе, испытательной машине или вручную задают вертикальное перемещение или только одному пуансону или только матрицам, или и пуансону и матрицам навстречу друг другу. Рабочие поверхности пуансона и матрицы входят в контакт с образцом и постепенно, с увеличивающимся углом от горизонтали изгибают две полки образца вокруг двух закруглений пуансона в два зазора между пуансоном и матрицами, величина каждого из этих зазоров равна или больше номинальной толщины образца с учетом верхнего предельного отклонения. Если в момент испытания, когда оба края образца коснутся соответствующих двух нижних точек закруглений радиуса rm двух матриц, на наружной поверхности образца в месте изгиба визуально или при помощи прибора не видна трещина, то испытание прекращают, в штамп-прибор устанавливают следующий пуансон с меньшим радиусом rр, аналогично изгибают следующий образец и так до тех пор, когда в момент касания двух краев образца соответствующих двух нижних точек закруглений двух матриц на наружной поверхности образца в месте изгиба появится трещина 13 или 14 для пуансона с минимальным радиусом изгиба rр,min. В этот момент определяют ход пуансона h и по формуле (1) рассчитывают исходные углы и отклонения левой и правой полок образца от вертикали в зазоре между пуансоном и матрицами при максимальном угле изгиба. После опускания краев образца ниже матриц образец разгружается и его изогнутые полки начинают пружинить и расходиться под воздействием упругих деформаций образца. Эти полки образца касаются двух индикаторов, которые показывают увеличивающееся по ходу испытания отклонение полок образца от вертикали. Перемещение пуансона или матриц прекращают в момент, когда оба края образца опустятся на уровень горизонтальных осей двух индикаторов и стрелки этих индикаторов будут показывать два максимальных горизонтальных отклонения двух полок образца “с” и “d” от вертикальных линий краев двух матриц за счет пружинения образца. Далее по формулам (2) и (3) рассчитывают углы и отклонения образца от вертикали. По индикатору, расположенному внутри пуансона, определяют прогиб участка образца под торцом пуансона. Окончательно два угла пружинения и двух полок образца толщиной s, шириной b и длиной L после изгиба по двум закругленным рабочим кромкам пуансона минимального радиуса rр,min до образования на образце трещины на углы, близкие к 90° и равные соответственно 90°- и 90°- , рассчитывают по формулам (4).
Все варианты данного способа испытания соответствуют производственным процессам гибки листового материала при помощи пуансона и матриц штампа и позволяют с высокой точностью определить угол пружинения и такие предельные параметры, как максимально допустимый угол изгиба и минимально допустимый радиус изгиба до образования трещины на образце, а использование для проведения испытания мощного прессового оборудования дает возможность испытывать образцы большой толщины и ширины, изготовленных из высокопрочных листовых материалов.
Формула изобретения
1. Штамп-прибор для испытания листового материала на пружинение и предельные параметры при двухугловой гибке, содержащий оправку для поджима испытуемого материала и измерительный прибор, отличающийся тем, что оправка выполнена в виде прямоугольного пуансона с плоским торцом и двумя закругленными рабочими кромками, который установлен между двумя матрицами с закругленными рабочими кромками, на расстоянии зазора с каждой стороны от пуансона, а измерительный прибор выполнен в виде двух индикаторов с горизонтальными осями и началом отсчета от двух вертикальных линий рабочих краев двух матриц, а также внутри пуансона, по его оси симметрии, установлен индикатор с вертикальной осью и началом отсчета от горизонтальной плоскости торца пуансона.
2. Штамп-прибор по п.1, отличающийся тем, что пуансон закреплен на верхней плите штампа-прибора, две матрицы с закругленными рабочими кромками закреплены на нижней плите штампа-прибора, а два индикатора установлены под матрицами, а также снизу установлены подпружиненные толкатели.
3. Штамп-прибор по п.1, отличающийся тем, что пуансон закреплен на нижней плите штампа-прибора, две матрицы с закругленными рабочими кромками закреплены на верхней плите штампа-прибора, а два индикатора установлены над матрицами.
4. Штамп-прибор для испытания листового материала на пружинение и предельные параметры при двухугловой гибке, содержащий оправку для поджима испытуемого материала и измерительный прибор, отличающийся тем, что оправка выполнена в виде прямоугольного пуансона с плоским торцом и двумя закругленными рабочими кромками, который установлен между двумя матрицами с закругленными рабочими кромками, на расстоянии зазора с каждой стороны от пуансона, и закреплен на верхней плите штампа-прибора, а две матрицы закреплены на нижней плите штампа-прибора, а измерительный прибор выполнен в виде двух транспортиров, которые жестко закреплены на пуансоне и на таком расстоянии от торца пуансона, чтобы края двух изогнутых полок образца были на уровне шкал транспортиров, а также внутри пуансона, по его оси симметрии, установлен индикатор с вертикальной осью и началом отсчета от горизонтальной плоскости торца пуансона.
5. Штамп-прибор по п.1 или 4, отличающийся тем, что величина каждого из двух зазоров между пуансоном и матрицами равна или больше номинальной толщины образца с учетом верхнего предельного отклонения.
6. Штамп-прибор по п.2 или 4, отличающийся тем, что на пуансоне с двух сторон закреплены планки-упоры, с расстоянием между ними, равным номинальной ширине образца с учетом верхнего предельного отклонения и гарантированного зазора между планками-упорами и образцом.
7. Штамп-прибор по п.2 или 4, отличающийся тем, что в торце пуансона установлены магниты.
8. Способ испытания листового материала на пружинение и предельные параметры при двухугловой гибке, включающий укладку плоского образца в устройство, гибку и разгрузку образца и определение угла пружинения образца, отличающийся тем, что изгиб двух полок образца осуществляют на угол, равный или близкий к 90°, при этом плоский образец в виде узкой длинной полосы толщиной s, шириной b и длиной L укладывают на рабочие поверхности двух матриц симметрично относительно вертикальной оси штампа-прибора или укладывают на рабочий торец пуансона, симметрично относительно вертикальной оси штампа-прибора, затем на прессе, испытательной машине или вручную задают вертикальное перемещение или только одному пуансону, или только матрицам, или и пуансону, и матрицам навстречу друг другу, рабочие поверхности пуансона и матриц входят в контакт с образцом и постепенно с увеличивающимся углом от горизонтали изгибают две полки образца вокруг двух закруглений пуансона в два зазора между пуансоном и матрицами, в процессе изгиба образца определяют ход пуансона в момент, когда оба края образца коснутся соответствующих двух нижних точек закруглений двух матриц, и по формуле рассчитывают исходные углы отклонения левой и правой полок образца от вертикали в зазорах между пуансоном и матрицами при максимальном угле изгиба:
= =arctg[(z-s)/(h-rp-rm-s)],
где , – исходные углы отклонения левой и правой полок образца от вертикали;
z – величина зазора между пуансоном и матрицей;
s – толщина полосы;
h – ход пуансона, в момент когда оба края образца одновременно коснутся нижних точек закруглений двух матриц;
rр – радиус закругления пуансона;
rm – радиус закругления кромок двух матриц, затем перемещение пуансона или матриц прекращают в момент, когда оба края образца опустятся на уровень горизонтальных осей двух индикаторов и стрелки этих индикаторов будут показывать два максимальных горизонтальных отклонения двух полок образца “с” и “d” от вертикальных линий краев двух матриц за счет пружинения образца, далее по формулам рассчитывают углы отклонения образца от вертикали:
=arctg[(z-s+c)/(h-rp-rm-s)]
=arctg[(z-s+d)/(h-rp-rm-s)],
где и – углы отклонения левой и правой полок образца от вертикали;
z – величина зазора между пуансоном и матрицей;
s – толщина полосы;
h – ход пуансона, в момент когда оба края образца одновременно коснутся нижних точек закруглений двух матриц;
rр – радиус закругления пуансона;
rm – радиус закругления кромок двух матриц;
c и d – два максимальных горизонтальных отклонения двух полок образца от вертикальных линий краев двух матриц, а по индикатору, расположенному внутри пуансона, определяют прогиб участка образца под торцом пуансона, окончательно, два угла пружинения двух полок образца после изгиба по двум закругленным рабочим кромкам пуансона на углы, близкие к 90° и равные соответственно 90°- и 90°- , рассчитывают по формулам:
= – и = – ,
где и – два угла пружинения и двух полок образца;
и – углы отклонения левой и правой полок образца от вертикали;
и – исходные углы отклонения левой и правой полок образца от вертикали.
9. Способ испытания листового материала на пружинение и предельные параметры при двухугловой гибке, включающий укладку плоского образца в устройство, гибку и разгрузку образца и определение угла пружинения образца, отличающийся тем, что изгиб двух полок образца осуществляют в диапазоне углов от угла, на сколь угодно малую величину, большую нуля, до угла, близкого к 90°, для чего плоский образец в виде узкой длинной полосы толщиной s, шириной b и длиной L укладывают на рабочие поверхности двух матриц симметрично относительно вертикальной оси штампа-прибора, затем на прессе, испытательной машине или вручную задают вертикальное перемещение или только одному пуансону, или только матрицам, или и пуансону, и матрицам навстречу друг другу, рабочие поверхности пуансона и матриц входят в контакт с образцом и постепенно с увеличивающимся углом от горизонтали изгибают две полки образца вокруг двух закруглений пуансона в два зазора между пуансоном и матрицами, величину этих зазоров подбирают с учетом изгиба двух полок образца на заданный угол, в процессе изгиба образца в момент, когда оба края образца коснутся нижних точек закруглений двух матриц, по двум транспортирам определяют угол изгиба от горизонтали для левой полки и угол изгиба для правой полки образца, после опускания краев образца ниже матриц перемещение пуансона или матриц прекращают в момент, когда оба края образца выйдут из контакта со штампом-прибором, по двум транспортирам определяют угол отклонения от горизонтали для левой полки образца и угол для правой полки образца, по индикатору, расположенному внутри пуансона, определяют прогиб участка образца под торцом пуансона, окончательно, два угла пружинения двух полок образца после изгиба по двум закругленным рабочим кромкам пуансона рассчитывают по формулам:
= 1– 3 и = 2– 4,
где и – два угла пружинения двух полок образца;
1 – угол отклонения от горизонтали для левой полки в начальный момент изгиба;
2 – угол отклонения от горизонтали для правой полки в начальный момент изгиба;
3 – угол отклонения от горизонтали для левой полки образца после выхода из контакта со штампом-прибором;
4 – угол отклонения от горизонтали для правой полки образца после выхода из контакта со штампом-прибором.
10. Способ испытания листового материала на пружинение и предельные параметры при двухугловой гибке, включающий укладку плоского образца в устройство, гибку и разгрузку образца и определение угла пружинения образца, отличающийся тем, что испытание образца осуществляют на максимально допустимый до трещины угол изгиба двух полок образца, для определения предельных параметров изгиба образца на любой угол до 90°, для чего плоский образец в виде узкой длинной полосы толщиной s, шириной b и длиной L укладывают на рабочие поверхности двух матриц симметрично относительно вертикальной оси штампа-прибора, затем на прессе, испытательной машине или вручную задают вертикальное перемещение или только одному пуансону, или только матрицам, или и пуансону, и матрицам навстречу друг другу, рабочие поверхности пуансона и матриц входят в контакт с образцом и постепенно с увеличивающимся углом от горизонтали изгибают две полки образца вокруг двух закруглений пуансона в два зазора между пуансоном и матрицами, в момент, когда оба края образца коснутся соответствующих нижних точек закруглений двух матриц, визуально или при помощи приборов определяют появление трещины на наружной поверхности образца в одном или двух местах изгиба образца, если трещины нет, то увеличивают угол изгиба за счет уменьшения зазора между пуансоном и матрицами, снова проводят испытание нового образца, и так до тех пор, когда в момент касания обоих краев образца нижних точек закруглений двух матриц на наружной поверхности образца в одном или двух местах изгиба образца появится трещина, по двум транспортирам определяют максимально допустимый угол изгиба образца от горизонтали до образования трещины для левой полки, если здесь образовалась трещина, и максимально допустимый угол изгиба образца от горизонтали до образования трещины для правой полки, если здесь образовалась трещина, после опускания краев образца ниже матриц перемещение пуансона или матриц прекращают в момент, когда оба края образца выйдут из контакта со штампом-прибором, по двум транспортирам определяют угол отклонения от горизонтали для левой полки образца и угол для правой полки образца, по индикатору, расположенному внутри пуансона, определяют прогиб участка образца под торцом пуансона, окончательно, два угла пружинения двух полок образца после изгиба по двум закругленным рабочим кромкам пуансона на угол от горизонтали для левой полки и для правой полки образца рассчитывают по формулам:
= 1,max– 3 и = 2,max– 4,
где , – два угла пружинения двух полок образца после изгиба на максимально допустимый до трещины угол;
1,max – максимально допустимый угол изгиба образца от горизонтали до образования трещины для левой полки;
2,max – максимально допустимый угол изгиба образца от горизонтали до образования трещины для правой полки;
3 – угол отклонения от горизонтали для левой полки образца после выхода из контакта со штампом-прибором;
4 – угол отклонения от горизонтали для правой полки образца после выхода из контакта со штампом-прибором, а если требуется определить вид трещины и характер излома в месте разрушения образца, то за счет уменьшения зазора между пуансоном и матрицами еще дополнительно увеличивают угол изгиба образца до полного разрушения образца.
11. Способ испытания листового материала на пружинение и предельные параметры при двухугловой гибке, включающий укладку плоского образца в устройство, гибку и разгрузку образца и определение угла пружинения образца, отличающийся тем, что испытание на изгиб двух полок образца осуществляют по минимально допустимому до трещины радиусу, для определения предельных параметров изгиба образца на угол, равный или близкий к 90°, для чего плоский образец в виде узкой длинной полосы толщиной s, шириной b и длиной L укладывают на рабочие поверхности двух матриц симметрично относительно вертикальной оси штампа-прибора, затем на прессе, испытательной машине или вручную задают вертикальное перемещение или только одному пуансону, или только матрицам, или и пуансону, и матрицам навстречу друг другу, рабочие поверхности пуансона и матриц входят в контакт с образцом и постепенно с увеличивающимся углом от горизонтали изгибают две полки образца вокруг двух закруглений пуансона в два зазора между пуансоном и матрицами, величина каждого из этих зазоров равна или больше номинальной толщины образца с учетом верхнего предельного отклонения, если в момент испытания, когда оба края образца коснутся соответствующих двух нижних точек закруглений двух матриц, на наружной поверхности образца в месте изгиба визуально или при помощи прибора не видна трещина, то испытание прекращают, в штамп-прибор устанавливают следующий пуансон с меньшим радиусом, аналогично изгибают следующий образец и так до тех пор, когда в момент касания двух краев образца соответствующих двух нижних точек закруглений двух матриц на наружной поверхности образца в месте изгиба появится трещина для пуансона с минимальным радиусом изгиба, в этот момент определяют ход пуансона и по формуле рассчитывают исходные углы отклонения левой и правой полок образца от вертикали в зазоре между пуансоном и матрицами при максимальном угле изгиба:
= =arctg[(z-s)/(h-rp-rm-s],
где , – исходные углы отклонения левой и правой полок образца от вертикали;
z – величина зазора между пуансоном и матрицей;
s – толщина полосы;
h – ход пуансона, в момент когда оба края образца одновременно коснутся нижних точек закруглений двух матриц;
rр – радиус закругления пуансона;
rm – радиус закругления кромок двух матриц, затем, после опускания краев образца ниже матриц, эти полки касаются двух индикаторов, которые показывают увеличивающееся по ходу испытания отклонение полок образца от вертикали, и далее перемещение пуансона или матриц прекращают в момент, когда оба края образца опустятся на уровень горизонтальных осей двух индикаторов и стрелки этих индикаторов будут показывать два максимальных горизонтальных отклонения двух полок образца от вертикальных линий краев двух матриц за счет пружинения образца, далее по формулам рассчитывают углы отклонения образца от вертикали:
=arctg[(z-s+c)/(h-rp-rm-s)] и
=arctg[(z-s+d)/(h-rp-rm-s)],
где и – углы отклонения левой и правой полок образца от вертикали;
z – величина зазора между пуансоном и матрицей;
s – толщина полосы;
h – ход пуансона, в момент когда оба края образца одновременно коснутся нижних точек закруглений двух матриц;
rр – радиус закругления пуансона;
rm – радиус закругления кромок двух матриц;
с и d – два максимальных горизонтальных отклонения двух полок образца от вертикальных линий краев двух матриц, затем по индикатору, расположенному внутри пуансона, определяют прогиб участка образца под торцом пуансона, окончательно, два угла пружинения двух полок образца после изгиба по двум закругленным рабочим кромкам пуансона минимального радиуса до образования на образце трещины на углы, близкие к 90° и равные соответственно 90°- и 90°- , рассчитывают по формулам:
= – и = – ,
где и – два угла пружинения и двух полок образца;
и – углы отклонения левой и правой полок образца от вертикали;
и – исходные углы отклонения левой и правой полок образца от вертикали.
РИСУНКИ
|