|
|
(21), (22) Заявка: 2006139114/03, 07.11.2006
(24) Дата начала отсчета срока действия патента:
07.11.2006
(46) Опубликовано: 10.09.2008
(56) Список документов, цитированных в отчете о поиске:
RU 2202766 С2, 20.04.2003. SU 249976 A1, 01.01.1969. RU 2077699 С1, 20.04.1997. RU 47508 U1, 27.08.2005. US 4646640 А, 03.03.1987. FR 2695719 A1, 18.03.1994.
Адрес для переписки:
362021, РСО-Алания, г. Владикавказ, ул. Николаева, 44, СКГМИ (ГТУ), патентный отдел, Т.А. Мешковой
|
(72) Автор(ы):
Саханский Юрий Владимирович (RU), Петров Юрий Сергеевич (RU)
(73) Патентообладатель(и):
Северо-Кавказский горно-металлургический институт (государственный технологический университет) (СКГМИ (ГТУ) Государственное образовательное учреждение высшего профессионального образования (RU)
|
(54) СЕТЕВОЙ ПРИБОР ВЗРЫВАНИЯ
(57) Реферат:
Изобретение относится к области взрывных работ, в частности к электрическому взрыванию зарядов, и может быть использовано в горной промышленности, строительстве и других областях. Сетевой прибор взрывания содержит микроконтроллер, устройство замедления в виде тиристорного ключа, запоминающее устройство, внешний источник энергии, преобразователь напряжения, устройство контроля и защиты прибора, датчик тока, датчик напряжения, аналого-цифровой преобразователь, устройство ввода и отображения информации. Прибор снабжен коммутирующим устройством и блоком контроля изоляции. Один вход тиристорного ключа подсоединен к преобразователю напряжения и через коммутирующее устройство к электровзрывной сети, а другой вход подключен к микроконтроллеру. Между преобразователем напряжения и тиристорным ключом подключены последовательно датчик тока и датчик напряжения, выходы которых подключены к входу аналого-цифрового преобразователя, выход которого подключен к входу микроконтроллера, к другим входам которого подключены устройство ввода и отображения информации, блок оперативно запоминающего устройства, устройство контроля и защиты прибора, и блок контроля изоляции, который подключен к электровзрывной сети через коммутирующее устройство, к входу которого подключен один из выходов микроконтроллера. Изобретение позволит повысить безопасность и безотказность в работе с электровзрывными сетями. 1 ил.
Изобретение относится к области взрывных работ, в частности к электрическому взрыванию зарядов, и может быть использовано в горной промышленности, строительстве и других областях.
Известен блок контроля изоляции, содержащий индикаторный прибор, амперметр или вольтметр (см. патент РФ №2022289, МПК G01R 31/02, 27/18, опубл. 30.10.1994 г.).
Недостатком данного прибора является его автономное применение и невозможность использования в совокупности с современными электровзрывными приборами.
Наиболее близким по технической сущности к заявляемому устройству является сетевой прибор взрывания (см. патент РФ №2202766, МПК7 F42D 1/055, опубл. 20.04.2003 г.).
Недостатком данного прибора является отсутствие контроля состояния изоляции электровзрывной цепи, что приводит к снижению числа срабатываемых электродетонаторов и к снижению безопасности проводимых электровзрывных работ.
Задачей предлагаемого технического решения является повышение безопасности и безотказности в работе за счет контроля изоляции электровзрывной сети.
Решение технической задачи достигается тем, что известный сетевой прибор взрывания, содержащий микроконтроллер, устройство замедления в виде тиристорного ключа, запоминающее устройство, внешний источник энергии, преобразователь напряжения, устройство контроля и защиты прибора, датчик тока, датчик напряжения, аналого-цифровой преобразователь, устройство ввода и отображения информации, согласно изобретению он дополнительно снабжен коммутирующим устройством, блоком контроля изоляции, при этом один вход тиристорного ключа подсоединен к преобразователю напряжения и через коммутирующее устройство к электровзрывной сети, а другой вход подключен к микроконтроллеру, причем между преобразователем напряжения и тиристорным ключом подключены последовательно датчик тока и датчик напряжения, выходы которых подключены к входу аналого-цифрового преобразователя, выход которого подключен к входу микроконтроллера, к другим входам которого подключены устройство ввода и отображения информации, блок оперативно запоминающего устройства, устройство контроля и защиты прибора, блок контроля изоляции, который подключен к электровзрывной сети через коммутирующее устройство, к входу которого подключен один из выходов микроконтроллера.
Данный сетевой прибор взрывания позволит повысить безопасность и безотказность в работе с электровзрывными сетями.
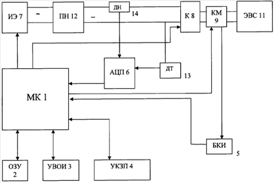
Сущность изобретения поясняется чертежом, на котором изображена функциональная схема сетевого прибора взрывания.
Устройство состоит из микроконтроллера 1 (МК) и выполняет функции центрального блока управления, на входы которого поступают сигналы из блока оперативно-запоминающего устройства 2 (ОЗУ), устройства ввода и отображения информации 3 (УВОИ), устройства контроля и защиты прибора 4 (УКЗП), блока контроля изоляции 5 (БКИ), аналого-цифрового преобразователя 6 (АЦП), выходы которого подключены к источнику энергии 7 (ИЭ), тиристорному ключу 8 (К) и коммутатору 9 (KM). Источник энергии 7 подключен к электровзрывной цепи 11 (ЭВС) через преобразователь напряжения 12 (ПН), тиристорный ключ 8 (К) и коммутатор 9 (KM). На участке схемы между преобразователем напряжения 12 и тиристорным ключом 8 параметры тока и напряжения контролируются датчиком тока 13 (ДТ) и датчиком напряжения 14 (ДН). Сигналы с датчика тока 13 и датчика напряжения 14 поступают на вход аналого-цифрового преобразователя 6, выход которого соединен с входом микроконтроллера 1. На управляющий вход тиристорного ключа 8 поступает сигнал с выхода микроконтроллера 1, в соответствии с которым тиристорный ключ 8 находится либо в закрытом, либо в открытом состоянии. Блок контроля изоляции 5 соединен с электровзрывной цепью 11 через коммутатор 9. На вход коммутатора 9 поступает сигнал с выхода микроконтроллера 1, в соответствии с которым коммутатор 9 либо отключает, либо подключает прибор к электровзрывной сети 11.
Устройство работает следующим образом.
После включения прибора происходит автоматический запуск программы управления микроконтроллером 1, которая инициализирует преобразователь напряжения 12, тиристорный ключ 8, УКЗП 4, блок ОЗУ 2, УВОИ 3, БКИ 5.
При отсутствии аварийных ситуаций подается управляющий импульс на ПН, после чего напряжение от источника энергии преобразуется в ПН в постоянное и подается на тиристорный ключ, находящийся в закрытом состоянии, после этого на УВОИ подается управляющий сигнал и микроконтроллер ожидает ввода заданных параметров предстоящего инициирования. После их ввода управляющая программа микроконтроллера 1 проверяет параметры системы и ожидает нажатия кнопки «взрыв» на УВОИ, при нажатии которой микроконтроллер 1 начинает посылать управляющие импульсы тиристорному ключу 8 и коммутатору 9, и одновременно начинает обрабатывать данные, поступающие с АЦП, УКЗП, БКИ, после чего он передает обработанную информацию в блок ОЗУ. После подачи управляющего импульса с микроконтроллера 1 на коммутатор 9 он отключает от цепи БКИ. В это же время с заданной задержкой микроконтроллер 1 посылает управляющие импульсы на тиристорный ключ 8, при этом данные, поступающие в АЦП с ДТ и ДН, после преобразования в цифровой формат с АЦП передаются микроконтроллеру 1, где производится интегрирование данных. Во время работы прибора на УКЗП передаются данные с тиристорного ключа 8, АЦП, ПН и при возникновении опасной ситуации производится блокировка отдельных блоков или же отключение всего прибора.
При возникновении в ЭВС, подключенной к сетевому прибору взрывания, короткого замыкания или обрыва линии, блокируется ключ 8, отвечающий за передачу энергии к ней, и микроконтроллер 1 подает на УВОИ данные об отказе ЭВС. Аналогично – при возникновении тока утечки на землю при повреждении изоляции ЭВС, сигнал об этом поступает с БКИ в микроконтроллер 1, который останавливает процесс инициирования и передает на УВОИ информацию о выявлении дефекта изоляции.
Использование предлагаемого сетевого прибора взрывания позволит по сравнению с прототипом осуществлять контроль как потребляемой энергии ЭВС, так и контроль состояния ее изоляции. Контроль потребляемой энергии позволяет установить срабатывание ЭД и появление отказов. Контроль изоляции позволяет выявить дефекты изоляции ЭВС и своевременно устранить их, что приводит в конечном итоге к повышению безопасности и безотказности работы прибора.
Формула изобретения
Сетевой прибор взрывания, содержащий микроконтроллер, устройство замедления в виде тиристорного ключа, запоминающее устройство, внешний источник энергии, преобразователь напряжения, устройство контроля и защиты прибора, датчик тока, датчик напряжения, аналого-цифровой преобразователь, устройство ввода и отображения информации, отличающийся тем, что он дополнительно снабжен коммутирующим устройством, блоком контроля изоляции, при этом один вход тиристорного ключа подсоединен к преобразователю напряжения и через коммутирующее устройство – к электровзрывной сети, а другой вход подключен к микроконтроллеру, причем между преобразователем напряжения и тиристорным ключом подключены последовательно датчик тока и датчик напряжения, выходы которых подключены к входу аналого-цифрового преобразователя, выход которого подключен к входу микроконтроллера, к другим входам которого подключены устройство ввода и отображения информации, блок оперативно запоминающего устройства, устройство контроля и защиты прибора и блок контроля изоляции, который подключен к электровзрывной сети через коммутирующее устройство, к входу которого подключен один из выходов микроконтроллера.
РИСУНКИ
MM4A – Досрочное прекращение действия патента СССР или патента Российской Федерации на изобретение из-за неуплаты в установленный срок пошлины за поддержание патента в силе
Дата прекращения действия патента: 08.11.2008
Извещение опубликовано: 20.07.2010 БИ: 20/2010
|
|