|
(21), (22) Заявка: 2006139927/02, 14.11.2006
(24) Дата начала отсчета срока действия патента:
14.11.2006
(46) Опубликовано: 10.09.2008
(15) Информация о коррекции:
Версия коррекции № 1 (
Изобретение относится к техническим устройствам для задействования боевых частей (БЧ) боеприпасов с бортовым источником питания (БИП) и может быть использовано для кумулятивных снарядов или ракет, вращающихся и невращающихся, в частности для противотанковых управляемых ракет (ПТУРов).
Известно устройство по патенту US 6142080 от 07.11.2000 г., в котором электрическая схема содержит бортовой источник питания, резистор, электроконденсатор и электродетонатор (ЭД). Зарядка электроконденсатора осуществляется в момент пуска снаряда центробежным замыкателем, а разрядка электроконденсатора на электродетонатор происходит при замыкании цепи разрядки тем же центробежным замыкателем после окончания действия центробежной силы при встрече с целью или с землей. При этом электродетонатор вызывает срабатывание капсюля-детонатора накольного типа, осуществляющего подрыв БЧ и в штатном режиме, и в режиме самоликвидации. Указанное устройство может быть применено только в снарядах, имеющих вращение более 20 оборотов в секунду, в невращающихся же снарядах или снарядах, вращающихся с небольшой угловой скоростью, устройство не может быть использовано.
Известно устройство по патенту US 6244184 от 12.06.2001 г., содержащее электроконденсатор, который заряжается от внешнего источника питания через резистор, диод и SIDAK – электронное устройство, предотвращающее случайную подачу электрического напряжения ниже определенной величины, например ниже 30 В. Дальнее взведение (перемещение заслонки) обеспечивается выдергиванием чеки с использованием осевых или центробежных сил при выстреле. Конденсатор соединяется с ЭД через тиристор, которым управляет цифровая микросхема. Микросхема выдает команду на тиристор в момент удара при встрече с целью, при этом срабатывает ЭД и происходит подрыв БЧ. В случае, если не произошло срабатывания ЭД (например, при промахе), то по истечении определенного времени, отсчитываемого микросхемой, последняя выдает команду на срабатывание ЭД, обеспечивая тем самым самоликвидацию БЧ. Применяемые в рассмотренном техническом решении электронные устройства сложны и не обеспечивают в полной мере требования безопасности в служебном обращении, при выстреле и на полете до истечения времени дальнего взведения (требования по несрабатыванию по легким преградам, кустам, стальным сеткам, фанере и т.д.).
При анализе уровня техники не выявлены аналоги, совокупность признаков которых была бы достаточно близка к совокупности существенных признаков заявляемого устройства, поэтому существенные признаки его не разделены на известные и новые.
Задача, решаемая изобретением, – достижение надежной работы боеприпасов в штатном режиме и обеспечение их безопасности в служебном обращении и при выстреле, при этом конструкция ПИМ должна быть несложной и состоять из небольшого количества хорошо отработанных элементов. Существенными признаками ПИМ являются: наличие электродетонатора для подрыва БЧ боеприпаса и пиротехнически управляемого перекидного электроконтакта, задействованного в системе боевого взведения и в системе самоликвидации. Существенным признаком системы боевого взведения ПИМ являются: наличие инерционного замыкателя, электровоспламенителя, резистора, электроконденсатора и заслонки с пиротехнической задержкой ее перемещения. Существенным признаком системы самоликвидации ПИМ является наличие электроконтакта, который замыкает цепь электродетонатора на заряженный электроконденсатор по истечении времени самоликвидации, задаваемого пиротехнически. Причинно-следственные связи между существенными признаками заявляемого изобретения и механизм получения технического результата изложены в разделе «осуществление изобретения».
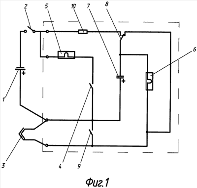
На фиг.1 показана электросхема, поясняющая работу боеприпаса, при этом элементы, физически расположенные в ПИМ, обведены пунктирной линией. На фиг.2 показана конструкция ПИМ в осевом разрезе по стопорам, удерживающим концы пружин (электроконтактов), на фиг.3 показано расположение элементов на втулке ПИМ при виде сверху, на фиг.4 – вид снизу на пиротехнику, на фиг.5 – разрез по стопору заслонки, на фиг.6 – разрез по фиксатору заслонки. В тексте описания применены следующие сокращенные наименования: ПИМ – предохранительно-исполнительный механизм; БЧ – боевая часть; БИП – бортовой источник питания; ПТУР – противотанковая управляемая ракета; ЭД – электродетонатор; ЭВ – электровоспламенитель.
На борту боеприпаса расположены (фиг.1) БИП 1, замыкатель 2 и головные контакты 3. Собственно ПИМ включает инерционный замыкатель 4, электровоспламенитель 5, электродетонатор 6, электроконденсатор 7, перекидной электроконтакт 8, электроконтакт самоликвидации 9 и резистор 10. Элементы ПИМ конструктивно смонтированы (фиг.2) во втулке 11 и заключены в корпус 12 с крышкой 13, резиновым уплотнительным кольцом 14 и изоляционной гетинаксовой прокладкой 15, имеющей центральное отверстие 16. В невзведенном положении путь передачи огневого импульса перекрыт заслонкой 17, отверстие 18 в ней после взведения заслонки устанавливается в соосное с ЭД 6 положение. Функцию перекидного контакта 8 (фиг.1) в системе боевого взведения выполняет свободный конец пружины кручения 19 (фиг.2), который в служебном обращении удерживается стопором 20 (фиг.3) и прижат к контакту 21, а после опускания стопора перекидывается и поджимается к контакту 22. Аналогично свободный конец пружины кручения 23 выполняет функцию электроконтакта 9 системы самоликвидации, он удерживается стопором 24, а после опускания последнего – упирается в контакт 25. Заслонка 17 в невзведенном положении (в служебном обращении) удерживается стопором 26 (фиг.5), который опирается на пиротехнический состав 27. Стопоры 20 и 24 опираются на составы 28 и после их выгорания опускаются под воздействием пружин 29. Составы 28 (фиг.2) под каждым из стопоров 20 и 24 последовательно поджигаются от пиротехнической дорожки 30 (фиг.4), которая запрессована в кольце 31. Время полного выгорания дорожки входит в время самоликвидации. Состав 27 (фиг.5) под стопором 26 пиротехнического замедлителя системы боевого взведения в самом своем начале поджигается электровоспламенителем 5 (фиг.1, 4). Суконная прокладка 32 (фиг.2) поджимается кольцом 31 к дну корпуса 12, препятствуя проскоку огня по поверхности запрессовки кольца. Пружина 33 (фиг.3) предназначена для перемещения заслонки 17 в боевое положение, а для удержания заслонки во взведенном положении предназначен фиксатор 34 (фиг.6) с пружиной 35. Подача электрических импульсов на срабатывание системы боевого взведения, зарядку электроконденсатора 7 и на срабатывание ПИМ осуществляется через клеммы 36 (фиг.3). Короткое замыкание электрических проводов между собой исключено, т.к. на провода надеты изоляционные трубки из материала, который не теряет своих изоляционных свойств при температуре до 300°С, что значительно ниже температуры, возникающей при срабатывании электровоспламенителя 5 и при горении пиротехнических составов. Это в свою очередь исключает необходимость постановки в электрическую схему ПИМ диода, который может существенно снизить надежность работы и усложнить конструкцию ПИМ.
Работает ПИМ следующим образом. После пуска боеприпаса срабатывает замыкатель 2 (фиг.1) и на ПИМ (через клеммы 36, фиг.3) подается напряжение от БИП 1. При достижении перегрузок определенной величины после пуска замыкаются контакты инерционного замыкателя 4 (фиг.1) и срабатывает ЭВ 5, который, поджигая пиротехнические составы, запускает все связанные с ними механизмы. Срабатывания ЭД 6 пока не может произойти, т.к. перекидной электроконтакт 8 еще не подключил БИП 1 к электроконденсатору 7 и, даже если на последнем был какой-то наведенный извне заряд, а головные контакты 3 в момент пуска оказались замкнутыми или замкнулись до истечения времени дальнего взведения (нештатные ситуации), то этот заряд снимется по шунтирующей цепи через неперекинувшийся электроконтакт 8. После выгорания пиротехнического состава под стопором 20 (фиг.2) последний опустится под действием пружины 29, конец пружины кручения 19 перекинется с контакта 21 (фиг.3) на контакт 22. При этом снимается электрический шунт с ЭД 6 (фиг.1) и происходит подключение БИП 1 к электроконденсатору 7, который начнет заряжаться через резистор 10. Параметры резистора 10 подобраны так, что если в момент переключения электроконтакта 8 головные контакты 3 окажутся замкнутыми (нештатная ситуация), то это не вызовет срабатывания ЭД 6 напрямую от БИП 1, т.к. ток зарядки конденсатора меньше тока срабатывания ЭД 6 и поэтому является безопасным, но в то же время сопротивление резистора 10 не будет препятствовать постепенному накоплению заряда на электроконденсаторе 7. Спустя время, достаточное для удаления боеприпаса на безопасное расстояние, после выгорания состава под стопором 26 (фиг.3, 5) он опустится и освободит заслонку 17, которая переместится под действием пружины 33 в боевое положение и закрепится там фиксатором 34 (фиг.6). При встрече с целью замкнутся головные контакты 3 (фиг.1), электроконденсатор 7 разрядится на ЭД 6, последний сработает и подорвет боеприпас. Надежность срабатывания обеспечивается даже в том случае, если к этому времени БИП 1 будет разряжен или разрушен (нештатная ситуация). По истечении времени самоликвидации после выгорания пиротехнического состава под стопором 24 (фиг.2) он опустится под действием пружины 29 (фиг.2), освобождая конец пружины кручения 23, который, развернувшись, замкнет электроконтакт 9 (фиг.1, 3). Электроконденсатор 7 разрядится на ЭД 6 и вызовет самоуничтожение боеприпаса, если он до этого не сработал в штатном режиме при встрече с целью. Кроме рассмотренных ранее нештатных ситуаций ПИМ рассчитан на нейтрализацию следующих отклонений. В случае, если перед пуском или в момент пуска головные контакты 3 окажутся случайно замкнутыми, зарядка электроконденсатора 7 не произойдет, так как после срабатывания перекидного электроконтакта 8 электроконденсатор 7 будет зашунтирован через контакты 3 и через ЭД 6. Это полностью исключает срабатывание боеприпаса на траектории, а неразорвавшийся боеприпас после падения на местность будет безопасным для последующего уничтожения. В случае, если не произойдет по каким-либо причинам срабатывание боеприпаса при встрече с целью или его самоликвидация, через 0,5-1 мин полностью разрядится БИП 1, а через 2-3 мин – электроконденсатор 7 (он разрядится через шлаки сгоревших пиротехнических составов системы дальнего взведения и самоликвидации). Боеприпас и в этом случае не будет представлять опасности для транспортирования с целью его последующего уничтожения.
В заявленном устройстве технический результат в части надежности и безопасности достигается также за счет применения хорошо отработанных элементов: электроконтактов с пиротехническими составами, электроконденсатора, резистора, ЭВ, ЭД, перемещаемых механических деталей при небольшом количестве этих элементов (за счет простоты конструкции).
Формула изобретения
1. Предохранительно-исполнительный механизм управляемых боеприпасов с бортовым источником питания, подключаемым с временной задержкой после пуска, характеризующийся тем, что он содержит электродетонатор для подрыва боевой части и перекидной электроконтакт, выполненный с возможностью управления пиротехническим замедлителем и установленный в системе боевого взведения и в системе самоликвидации.
2. Предохранительно-исполнительный механизм по п.1, характеризующийся тем, что система боевого взведения содержит инерционный замыкатель, электровоспламенитель, резистор, электроконденсатор и заслонку, выполненную с задержкой ее взведения пиротехническим замедлителем.
3. Предохранительно-исполнительный механизм по п.1, характеризующийся тем, что система самоликвидации содержит электроконтакт, замыкающий цепь электродетонатора на заряженный электроконденсатор по истечении времени самоликвидации, задаваемого пиротехническим замедлителем.
РИСУНКИ
TH4A – Переиздание описания изобретения к патенту Российской Федерации
Причина переиздания: Коррекция в графических материа
Извещение опубликовано: 10.11.2008 БИ: 31/2008
|
|