|
(21), (22) Заявка: 2006106143/02, 27.02.2006
(24) Дата начала отсчета срока действия патента:
27.02.2006
(43) Дата публикации заявки: 10.09.2007
(46) Опубликовано: 10.09.2008
(56) Список документов, цитированных в отчете о поиске:
RU 2176376 C1, 27.11.2001. RU 2088889 C1, 27.08.1997. RU 2251070 С2, 27.04.2005. RU 2206055 С2, 10.06.2003. DE 1703507 A1, 09.03.1972.
Адрес для переписки:
440005, г.Пенза-5, Пензенский Артиллерийский Инженерный Институт, научно-исследовательский отдел
|
(72) Автор(ы):
Зотов Павел Юрьевич (RU), Платонов Александр Александрович (RU), Козлов Андрей Юрьевич (RU), Сидоров Алексей Иванович (RU), Баранов Владимир Валерьевич (RU)
(73) Патентообладатель(и):
Пензенский Артиллерийский Инженерный Институт (RU)
|
(54) ВЕДУЩЕЕ УСТРОЙСТВО С ПРУЖИНАМИ КРУЧЕНИЯ
(57) Реферат:
Изобретение относится к ведущему устройству (ВУ) прижимного типа для бронебойно-подкалиберного снаряда (БПС) и может быть реализовано для всех типов орудий, имеющих в составе боекомплекта данный тип снарядов. Устройство состоит из трех секторов, снабженных цилиндрическими пружинами кручения, которые располагаются в посадочной полости секторов. После вылета БПС из канала ствола орудия, под действием сил реакций пружин кручения и нарастающей силы сопротивления воздуха начинается процесс отделения секторов ВУ. Процесс отделения секторов ВУ с пружинами кручения характеризуется большой динамичностью, вследствие чего исключается силовое воздействие отделяющихся секторов на активную часть снаряда и исключается соударение их с оперением стабилизатора снаряда, что положительным образом влияет на эффективность стрельбы данным типом БПС. 7 ил.
Изобретение относится к ведущему устройству (ВУ) “прижимного” типа для бронебойного подкалиберного снаряда (БПС) и может быть реализовано в качестве ВУ БПС для всех типов орудий, имеющих в составе боекомплекта данный тип снарядов.
Известно, что процесс отделения секторов ВУ от корпуса снаряда существенно влияет на величину технического рассеивания (точность стрельбы, кучность). Несмотря на относительную кратковременность этого процесса, силовое механическое и аэродинамическое взаимодействие между отделяющимися элементами и корпусом снаряда может привести к формированию значительных траекторных изменений. Общая картина отделения секторов носит несимметричный и асинхронный характер, что объясняется влиянием на процесс отделения возмущений, полученных снарядом при движении по каналу ствола орудия и в периоде последействия пороховых газов (ПГ).
Основными силовыми факторами, вызывающими отделение секторов ВУ “прижимного” типа, является сила давления встречного потока воздуха, при этом давление спутного потока ПГ препятствует в периоде последействия ( 10 м) процессу их отделения. Все это, а также значительная растянутость во времени приводит к значительной асимметрии отделения секторов ВУ и, как следствие, к дополнительным траекторным возмущениям БПС и, как правило, приводит к повреждению аэродинамических поверхностей снаряда, расположенных в его хвостовой части. Кроме того, как показали стрельбовые испытания, при отделении секторов ВУ имели место нарушения правильности полета БПС.
Существует конструкция поддона подкалиберного оперенного снаряда, движущегося по каналу ствола нарезного орудия [1], содержащего несколько дугообразных секций, каждая секция поддона дугообразный задний охватывающий конец, цилиндрическую среднюю часть, соединенную в единое целое с передним концом, и дугообразный охватывающий конец, соединенный со средней частью. На переднем конце секции выполнена периферийная канавка под обтюрирующее кольцо, вставленное в канавки секции поддона. Кольцо препятствует прорыву газов поддона во время запуска боеприпасов. Однако данная конструкция имеет следующие недостатки: при выходе снаряда из нарезного ствола орудия сбрасываемый поддон имеет такую же дульную скорость, как и снаряд, что небезопасно для расчета орудия; отделяющиеся при сбросе дугообразные секции поддона создают опасность повреждения стабилизатора снаряда.
Известна конструкция ведущего устройства для подкалиберного реактивного снаряда [2], состоящего из трех секторов, каждый из которых снабжен пружинным механизмом, обеспечивающим максимально быстрое отделение секторов от корпуса снаряда после вылета из трубы и состоящим из цилиндрической пружины с толкателем, находящихся в посадочном гнезде каждого сектора, смещенных относительно центра масс сектора. Однако данная конструкция имеет следующие недостатки: не всегда будет соблюдаться равенство опрокидывающих кольцевой сектор моментов в результате действия силы пороховых газов, следовательно, картина отделения секторов будет носить несимметричный и асинхронный характер и, как следствие, приведет к дополнительным траекторным возмущениям бронебойно-подкалиберного снаряда, кроме того, при сбросе секторов будет создаваться опасность повреждения стабилизатора снаряда.
Задачей предлагаемого изобретения является исключение опасности повреждения стабилизатора снаряда секторами ВУ, обеспечение максимально быстрого, синхронного отделения секторов от корпуса БПС после вылета из канала ствола и исключения контакта секторов ВУ с активной частью в момент отделения.
Указанная цель достигается тем, что в отделяющемся ведущем устройстве БПС, состоящем из трех секторов, внутри каждого сектора по обеим краям перпендикулярно продольной оси снаряда выполнена посадочная полость, в которую устанавливается цилиндрическая пружина кручения.
Данная конструкция отделяющегося ведущего устройства обеспечивает надежный и синхронный сброс секторов при выходе снаряда из канала ствола, без повреждения стабилизатора снаряда и исключает силовое воздействие секторов на корпус снаряда.
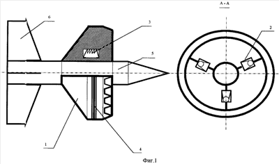
На фиг.1 изображен общий вид отделяющегося ведущего устройства бронебойного подкалиберного снаряда, на фиг.2 – устройство в момент отделения.
Ведущее устройство активного типа, изображенное на фиг.1, состоит из следующих элементов:
– три сектора (1);
– шесть посадочных полостей для цилиндрических пружин кручения (по две внутри корпуса каждого сектора (2);
– три цилиндрические пружины кручения (3);
– уплотнительное кольцо (4).
Цилиндрические пружины кручения (3) в полостях (2) установлены с целью сокращения по времени процесса отделения, исключения контакта в момент отделения и исключения соударения секторов (1) с хвостовым оперением (6) снаряда (5).
Принцип действия предлагаемого ВУ, изображенного на фиг.2, заключается в следующем. При вылете снаряда (5) из канала ствола и освобождении секторов (1) от уплотнительного кольца (4) еще в период последействия пороховых газов начинают активно действовать силы реакции сжатых цилиндрических пружин кручения (3) на сектора (1) БПС, после этого они начинают симметрично отделяться от корпуса снаряда (5) по нормали к нему.
Для обоснования основных параметров процесса отделения секторов ВУ с пружинами кручения, выбора геометрических размеров и прочностных параметров цилиндрической пружины кручения необходимо провести теоретический расчет процесса функционирования ведущего устройства в целом.
В связи с этим целесообразно провести расчеты в два этапа:
1) Определение параметров отделения секторов ведущего устройства от корпуса БПС.
2) Определение параметров цилиндрической пружины кручения для сектора БПС.
Для определения скорости отрыва секторов БПС Vсек на участке L0L1= (фиг.2) воспользуемся теоремой об изменении кинетической энергии. На этом участке к сектору БПС приложена сила тяжести G=mg и реакции упругой цилиндрической пружины кручения Fпк.
Согласно [1] работа силы тяжести при вертикальном перемещении вверх равна

Сила упругости пружины, восстанавливающей свою форму, направлена в сторону движения сектора БПС. Работа переменной силы упругости на перемещении L0L1= определяется по формуле из работы [3]

Исходя из этого, получим следующее уравнение для движения сектора БПС на участке L0L1:

так как начальная скорость сектора БПС V0=0, то получим

откуда

Для определения безопасной высоты Yс, на которую поднимется сектор БЛС, с целью исключения соударения его с оперением стабилизатора БПС, воспользуемся уравнением (1) для перемещения сектора на участке L0L2. Приняв, что начальная скорость и конечная скорость сектора равна нулю, уравнение (1) принимает вид

Сумма (5) состоит из работы силы упругости Fn на перемещении L0L1= и работы силы тяжести F на перемещении L0L2= +Yc, т.е.
, откуда

Для определения параметров пружинного механизма необходимо найти статическую силу упругости пружины по следующей зависимости:

где M2 – рабочий крутящий момент силы упругости пружины кручения,
r – плечо приложения силы к сектору.
Для создания заданного значения рабочего крутящего момента M2 необходимо определить основные параметры пружины кручения. Вначале определим жесткость пружины, определяется по зависимости

где М1=(0,3÷0,5)M2 – предварительный момент силы упругости пружины кручения.
В результате нагрева снаряда и его элементов в процессе движения по каналу ствола до температуры свыше 473 К необходимо выбрать соответствующую сталь (60С2) [4].
По методике, изложенной в работе [4], определим следующие параметры пружины:
Число рабочих витков

где l – развернутая длина пружины;
D0 – средний диаметр пружины;
Развернутая длина пружины определяется

где E – модуль упругости проволоки (табл.[4]);
– момент инерции поперечного сечения;
– угол закручивания при максимальной деформации,
– предварительный угол закручивания;
d – диаметр проволоки.
Диаметр проволоки определяется по зависимости

где Rк – коэффициент кривизны витка;
[ ] – допускаемое напряжение (табл.[4]).
Средний диаметр пружины

Внешний диаметр пружины

Шаг пружины

Высота пружины

Длина одного зацепа l0 принимается конструктивно. Полная длина проволоки определяется по зависимости

Расчетное максимальное напряжение

Масса пружины

где – плотность металла.
Для обеспечения расчета параметров процесса отделения секторов ВУ активного типа, выбора геометрических размеров пружин и посадочного гнезда в каждом секторе необходимо провести теоретический расчет процесса функционирования ВУ в целом.
Численная реализация рассмотренного метода производилась на ПЭВМ. Задаваясь внутрибаллистическими характеристиками артиллерийского орудия, геометрическими, массовыми характеристиками снаряда, а также исходными данными (рабочим крутящим моментом силы упругости цилиндрической пружины кручения М2, рабочим углом закручивания р и маркой рессорно-пружинной горячекатанной стали 60С2А(60С2), У8А по ГОСТ 14959-79 для цилиндрической пружины кручения, используемых в секторах ВУ), получаем на выходе численные значения статистической силы упругости цилиндрической пружины кручения (усилие отделения секторов), коэффициента жесткости пружины, скорость отделения секторов и высоты, на которую поднимется сектор. Программа позволяет провести оптимизацию геометрических параметров пружины и посадочного гнезда для нее в секторе. Основным критерием подбора размеров пружины является достижение максимального значения усилия отделения статистической силы упругости пружины кручения.
В качестве примера для проведения расчетов параметров ВУ за аналог изобретения был взят штатный образец БПС калибра 125 мм с “прижимными” секторами. На основе расчетов на ПЭВМ составлены графическая зависимость изменения сил давления пороховых газов и сопротивления воздуха в начале периода последействия пороховых газов (фиг.3), зависимость изменения диаметра проволоки, высоты пружины, диаметра проволоки, диаметра пружины внутреннего и внешнего от заданного значения силы (фиг.4, 5), зависимость общей длины проволоки от заданного значения силы (фиг.6), зависимость изменения сил давления пороховых газов, сопротивления воздуха и пружины кручения в начале периода последействия пороховых газов (фиг.7).
Анализ графиков на фиг.3 и фиг.7 позволяет сделать вывод: преобладание силы сопротивления воздуха с учетом дополнительной статической силы пружины кручения над силой давления пороховых газов наступает раньше (фиг.7), что способствует раннему отделению секторов. Кроме того, с помощью пружины кручения определенного типа можно создавать бесконтактное отделение секторов от БПС в нужный для нас момент.
С увеличением задаваемого параметра усилия пружины кручения увеличивается высота пружины, диаметр проволоки, диаметр пружины внутренний (внешний), а также (скорость отделения секторов от активной части БПС), но на геометрические параметры пружины накладывают ограничения габариты ВУ и прочностные характеристики его материала. Кроме того, увеличение длины цилиндрической пружины приводит к увеличению высоты посадочной полости для нее в секторе, которое, в свою очередь, ограничивается геометрическими размерами сектора.
Таким образом, предлагаемое ВУ с пружинами кручения позволяет исключить время силового воздействия секторов на активную часть при их отделении и исключает их столкновение с оперением стабилизатора БПС, что возможно положительным образом скажется на характеристике точности стрельбы данным типом БПС. Появляется возможность создавать бесконтактное отделение секторов от активной части БПС в нужный момент времени.
Источники информации
1. Патент USA 4326464, опубл. 27.04.82, МКИ F42B 13/15 – прототип.
2. RU 2176376 С1, опубл. 21.11.2001, МПК 7 F42B 14/06 – аналог.
3. Яблонский А.А. Курс теоретической механики. Ч.2. М., 1977, 433 с.
4. Заплетохин В.А. Конструирование деталей механических устройств. Справочник. – Л.: Машиностроение, 1990, 669 с.
Формула изобретения
Ведущее устройство бронебойно-подкалиберного снаряда, содержащее опорные кольцевые сектора с выемкой на переднем торце, отличающееся тем, что внутри каждого сектора по его краям перпендикулярно продольной оси снаряда выполнены посадочные полости, в которых установлены цилиндрические пружины кручения.
РИСУНКИ
|