|
|
(21), (22) Заявка: 2007110741/06, 26.03.2007
(24) Дата начала отсчета срока действия патента:
26.03.2007
(46) Опубликовано: 10.09.2008
(56) Список документов, цитированных в отчете о поиске:
RU 2208750 С1, 20.07.2003. SU 1760999 А, 07.09.1992. RU 2190173 С2, 27.09.2002. SU 322585 А, 20.03.1997. SU 1771528 A3, 23.10.1992. DE 1451131 A, 30.07.1970. ЕР 0780652 A, 25.06.1997.
Адрес для переписки:
115280, Москва, Автозаводская, 14/23, ОАО “ВТИ”, патентный отдел
|
(72) Автор(ы):
Афанасьев Борис Петрович (RU), Москвичев Виктор Федорович (RU), Рябов Георгий Александрович (RU), Тугов Андрей Николаевич (RU), Алексеев Сергей Сергеевич (RU), Ланцев Александр Сергеевич (RU)
(73) Патентообладатель(и):
Открытое Акционерное Общество “Всероссийский дважды ордена Трудового Красного Знамени теплотехнический научно-исследовательский институт” (ВТИ) (RU)
|
(54) КОНДЕНСАТОР ПАРА С ВОЗДУШНЫМ ОХЛАЖДЕНИЕМ И ЗАЩИТОЙ ОТ ЗАЛЕДЕНЕНИЯ КОНДЕНСАТА
(57) Реферат:
Изобретение предназначено для конденсации пара и может быть использовано в теплосиловых установках малой мощности энергетической и химической промышленности, а также на заводах по мусоросжиганию. Конденсатор содержит кожух, теплообменный пучок установлен внутри последнего с разделением его объема трубами пучка по ходу воздуха на входной и выходной участки, и в нижней части входного участка установлена продольная перегородка, торец которой примыкает к трубам теплообменного пучка, причем указанная перегородка разделяет входной участок кожуха на верхний отсек, примыкающий к верхней относительно перегородки части теплообменных труб, и нижний отсек, примыкающий соответственно к нижней части указанных труб. Для подачи охлаждающего воздуха в каждый из указанных отсеков предусмотрено отдельное регулирующее устройство. Изобретение обеспечивает надежное предотвращение заледенения конденсата в конденсаторе с воздушным охлаждением при конструктивной простоте соответствующего технического решения. 1 ил.
Изобретение относится к области теплотехники и может быть использовано в теплосиловых установках малой мощности энергетической и химической промышленности, а также на заводах по мусоросжиганию. Для таких установок конденсатор пара часто выполняется с воздушным охлаждением. Серьезной эксплуатационной проблемой при использовании конденсаторов такого типа является то, что низкая температура охлаждающего атмосферного воздуха в холодное время года может привести к заледенению конденсата в нижней части теплообменного пучка с возможным повреждением вследствие этого теплообменных труб.
Известен выбранный в качестве ближайшего аналога изобретения конденсатор пара с воздушным охлаждением, содержащий теплообменный пучок с горизонтальными верхним парораспределительным коллектором и нижним коллектором для сбора конденсата и соединяющими указанные коллекторы трубами, расположенными вертикально или наклонно к горизонтали, а также средство предотвращения заледенения конденсата в холодное время года [1]. В соответствии с [1] для предотвращения заледенения конденсата предусмотрено два различных технических решения. Одно из этих решений (аналог) связано с пароконденсатным трактом и состоит в том, что паропроводы направляемого в конденсатор пара подключены как к верхнему, так и к нижнему коллекторам теплообменного пучка. Недостатком такого технического решения является его конструктивная сложность из-за необходимости прокладки дополнительного паропровода и повышенная металлоемкость. Кроме того, для экономичной эксплуатации конденсатора в летнее время требуется отключение подачи пара в нижний коллектор с установкой в паровом тракте соответствующей запорной арматуры, работающей в условиях эрозионно опасной среды (влажного пара).
Другое техническое решение согласно [1] связано с воздушным трактом (ближайший аналог) и представляет собой жалюзи для регулирования подачи охлаждающего воздуха к теплообменному пучку. При этом предполагается в холодное время года с помощью жалюзи уменьшать подачу охлаждающего воздуха. Однако в случае отказа по указанным выше причинам от подвода пара к нижнему коллектору уменьшение подачи охлаждающего воздуха с помощью жалюзи согласно [1] не может предотвратить заледенение конденсата с достаточной степенью эффективности, так как не устраняет контакт холодного воздуха с содержащей конденсат нижней частью теплообменного пучка.
Достигаемым результатом изобретения является надежное предотвращение заледенения конденсата в конденсаторе с воздушным охлаждением при конструктивной простоте соответствующего технического решения.
Это обеспечивается тем, что конденсатор пара с воздушным охлаждением, содержащий теплообменный пучок с горизонтальными верхним парораспределительным коллектором и нижним коллектором для сбора конденсата и соединяющими указанные коллекторы теплообменными трубами, расположенными вертикально или наклонно к горизонтали, а также средство предотвращения заледенения конденсата в холодное время года, выполненное в виде устройства для регулирования подачи охлаждающего воздуха к теплообменному пучку, согласно изобретению дополнительно содержит кожух, теплообменный пучок установлен внутри последнего с разделением его объема трубами пучка по ходу воздуха на входной и выходной участки, и в нижней части входного участка установлена продольная перегородка, торец которой примыкает к трубам теплообменного пучка, причем указанная перегородка разделяет входной участок кожуха на верхний отсек, примыкающий к верхней относительно перегородки части теплообменных труб, и нижний отсек, примыкающий соответственно к нижней части указанных труб, и для подачи охлаждающего воздуха в каждый из указанных отсеков предусмотрено отдельное регулирующее устройство.
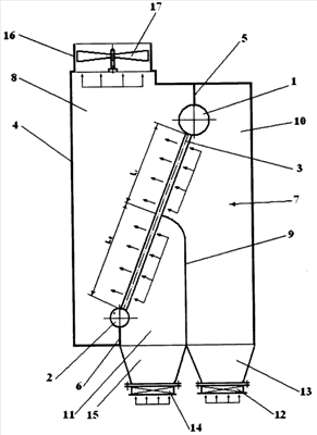
На чертеже схематически изображен конденсатор согласно изобретению в продольном разрезе.
Конденсатор пара с воздушным охлаждением согласно изобретению содержит теплообменный пучок с горизонтальными верхним парораспределительным коллектором 1 и нижним коллектором 2 для сбора конденсата и соединяющими указанные коллекторы теплообменными трубами 3, расположенными вертикально или наклонно к горизонтали, исходя из рациональной компоновки поверхностей теплообмена. Трубы 3 имеют с внешней стороны поперечное оребрение (на чертеже не показано) для компенсации путем увеличения поверхности теплообмена низкого коэффициента теплоотдачи при взаимодействии теплообменных труб с охлаждающим воздухом. Рекомендуемый диапазон углов наклона труб 3 к горизонтали составляет 60÷75°. Теплообменный пучок установлен внутри кожуха 4. При этом пучок и соединенные с его коллекторами 1 и 2 продольные перегородки соответственно 5 и 6 разделяют объем кожуха 4 на входной и выходной участки соответственно 7 и 8. В нижней части входного участка 7 установлена еще одна продольная перегородка 9, торец которой примыкает к трубам 3 теплообменного пучка, причем перегородка 9 разделяет входной участок 7 кожуха 4 на верхний отсек 10, примыкающий к верхней относительно перегородки 9 части теплообменных труб 3, и нижний отсек 11, примыкающий соответственно к нижней части указанных труб. Возможен конструктивный вариант (на чертеже не показан), при котором разделение кожуха 4 на участки 7 и 8 осуществляется непосредственно теплообменным пучком без использования перегородок 5, 6. Для подачи охлаждающего воздуха в каждый из указанных отсеков 10, 11 предусмотрено отдельное регулирующее устройство в виде по меньшей мере одного регулирующего клапана 12, установленного в подводящем коробе 13, и по меньшей мере одного регулирующего клапана 14, установленного в подводящем коробе 15. Отношение длины L1 труб 3 теплообменного пучка в верхнем отсеке 10 к длине L2 труб 3 теплообменного пучка в нижнем отсеке 11 может лежать в пределах 0,5÷4,0. В верхней части выходного участка 8 кожуха 4 предусмотрен выхлопной патрубок 16 с установленным в нем вытяжным вентилятором 17 для прокачки через теплообменный пучок охлаждающего воздуха. Возможен вариант (на чертеже не показан) с установкой напорного вентилятора перед коробами 13, 15 с установленными в них регулирующими клапанами соответственно 12,14. Возможен также вариант (на чертеже не показан) с установкой индивидуальных напорных регулируемых вентиляторов в коробах 13 и 15 взамен установки регулирующих клапанов 12, 14.
Конденсатор пара согласно изобретению работает следующим образом. Внутри труб 3 теплообменного пучка в направлении от верхнего парораспределительного коллектора 1 к нижнему коллектору 2 сбора конденсата движется пар, а охлаждающий атмосферный воздух – в межтрубном пространстве при близком к поперечному обтекании их. Пар в оребренных трубах 3 конденсируется потоком охлаждающего воздуха, а образующийся конденсат стекает за счет силы тяжести в нижний коллектор 2, откуда с помощью конденсатного насоса (на чертеже не показан) возвращается в рабочий контур соответствующей теплоэнергетической установки. Охлаждающий воздух поступает к трубам 3 под действием вытяжного вентилятора 17 по двум коробам 13 и 15, подключенным к верхнему отсеку 10 и нижнему отсеку 11 входной части 7 кожуха 4. Регулирование подачи охлаждающего воздуха в каждый из указанных отсеков осуществляют с помощью регулирующих клапанов 12 и 14. При установке напорного вентилятора перед коробами 13 и 15 регулирование подачи воздуха к верхней и нижней частям труб 3 теплообменного пучка также осуществляют с помощью регулирующих клапанов 12 и 14. При установке индивидуальных вентиляторов в коробах 13 и 15 указанное регулирование осуществляют с помощью этих вентиляторов без использования клапанов 12 и 14. Во всех вариантах регулирование подачи охлаждающего воздуха возможно с использованием современных средств автоматики и защит. Смешение потоков воздуха, поступающих к теплообменному пучку через верхний отсек 10 и нижний отсек 11 кожуха 4, осуществляется за теплообменным пучком в выходной части 8 кожуха 4 перед вентилятором 17. В холодное время года подачу охлаждающего воздуха в нижний отсек 11 уменьшают вплоть до ее полного прекращения с помощью регулирующих клапанов 14 или соответствующего напорного вентилятора. Это позволяет предотвратить возможность заледенения конденсата в трубах и коллекторе нижней части теплообменного пучка и повреждения его труб, связанного с таким заледенением.
Источники информации
1. Патент RU №2208750, F28D 1/06, 1998.
Формула изобретения
Конденсатор пара с воздушным охлаждением, содержащий теплообменный пучок с горизонтальными верхним парораспределительным коллектором и нижним коллектором для сбора конденсата и соединяющими указанные коллектора теплообменными трубами, расположенными вертикально или наклонно к горизонтали, а также средство предотвращения заледенения конденсата в холодное время года, выполненное в виде устройства для регулирования подачи охлаждающего воздуха к теплообменному пучку, отличающийся тем, что он дополнительно содержит кожух, теплообменный пучок установлен внутри последнего с разделением его объема трубами пучка по ходу воздуха на входной и выходной участки, и в нижней части входного участка установлена продольная перегородка, торец которой примыкает к трубам теплообменного пучка, причем указанная перегородка разделяет входной участок кожуха на верхний отсек, примыкающий к верхней относительно перегородки части теплообменных труб, и нижний отсек, примыкающий соответственно к нижней части указанных труб, и для подачи охлаждающего воздуха в каждый из указанных отсеков предусмотрено отдельное регулирующее устройство.
РИСУНКИ
|
|