|
|
(21), (22) Заявка: 2007101128/06, 10.01.2007
(24) Дата начала отсчета срока действия патента:
10.01.2007
(46) Опубликовано: 10.09.2008
(56) Список документов, цитированных в отчете о поиске:
RU 2230262 С1, 10.06.2004. RU 31161 U1, 20.07.2003. SU 1383946 А1, 27.09.1996. RU 2003003 С1, 15.11.1993. RU 2133404 С1, 20.07.1999. FR 2654200 А, 10.05.1991.
Адрес для переписки:
356236, Ставропольский край, Шпаковский р-н, с. Верхнерусское, ул. Батайская, 35, ООО “Верхнерусское”, ген. директору
|
(72) Автор(ы):
Сердюков Алексей Алексеевич (RU)
(73) Патентообладатель(и):
Сердюков Алексей Алексеевич (RU)
|
(54) КОНДЕНСАЦИОННАЯ УНИВЕРСАЛЬНАЯ ВОДОГРЕЙНАЯ УСТАНОВКА НАРУЖНОГО РАЗМЕЩЕНИЯ
(57) Реферат:
Изобретение предназначено для нагрева воды и может быть использовано для отопления и горячего водоснабжения. Конденсационная водогрейная установка содержит котел наружного размещения, соединенный через автоматический термостатический трехходовой кран с системой отопления здания, бойлер горячего водоснабжения. В дымосборнике котла наружного установлен дополнительный теплообменник в виде гофрированной нержавеющей трубы, соединенный патрубками с нижним объемом двухобъемного бойлера через циркуляционный насос и обратный клапан. Газовые трубы газотрубной части котла содержат турбуляторы с защитными шайбами от конденсационных капель, которые удалены от кромок газовых труб кронштейнами турбуляторов. Основание дымосборника содержит конденсатоотводящую трубку, а соединение патрубка водопроводной воды с дополнительным теплообменником после обратного клапана, отделяющего двухобъемный бойлер от водопровода, выполнено с возможностью сохранения конденсатного режима работы установки на все время расхода горячей воды. Изобретение обеспечивает снижение себестоимости установки и повышение КПД. 4 ил.
Область техники, к которой относится изобретение
Изобретение относится к области производства водогрейных установок, в частности к конденсационным универсальным водогрейным установкам наружного размещения, использующих скрытую теплоту парообразования паров воды в дымовых газах за счет дополнительного улавливания энергии при конденсации водяных паров.
Уровень техники
Известна водогрейная установка, состоящая из теплообменной секции с трубопроводами, запорной арматурой, снабженной дымогарными трубами с турбулизаторами-катализаторами, газожидкостной горелкой со спиралью и корпусной стенкой, наружная поверхность которой защищена тепловоздушным кожухом. Теплообменная секция разделена волнистыми перегородками на теплообменники, при этом в полости каждого теплообменника могут быть размещены электронагреватели (см. пат. РФ №2148216, кл. F24Н 1/34, опубл. 27.04.2000 г.).
Недостатком данной установки является невысокая надежность, КПД, высокая стоимость получения тепла.
Известна водогрейная универсальная котельная установка, состоящая из водогрейного отопительного котла, содержащего газогорелочное устройство, газоход, патрубки греющей и обратной воды, верхнего барабана, в который вмонтирована система горячего водоснабжения, выполненная в виде многоходового скоростного водоводяного подогревателя, содержащего пучки латунных трубок, разделенных по концам камеры и расположенных последовательно снизу вверх (см. пат. РФ №2133925, кл. F24Н 1/22, опубл. 27.07.1999 г.).
Недостатком данной установки является высокая стоимость получения тепла.
Наиболее близкой по технической сущности и достигаемому положительному эффекту и принятая автором за прототип является установка горячего водоснабжения (варианты), содержащая водогрейный котел с прямым и обратным патрубками, подключенными к системе отопления, патрубок подачи холодной водопроводной воды, дымовую трубу, нижняя часть которой выполнена в виде экономайзера с прямым и обратным патрубками, соединенными с емкостным бойлером, разделенным на две части – верхнюю и нижнюю, и снабженным патрубком горячей воды, при этом емкостный бойлер и экономайзер заполнены водопроводной водой и образуют контур естественной циркуляции нагреваемой воды отходящими дымовыми газами водогрейного котла, при этом упомянутым патрубком подачи холодной водопроводной воды снабжен емкостной бойлер, экономайзер выполнен кольцеобразным, емкостной бойлер установлен в верхней части экономайзера и разделен на упомянутые две части с помощью подогревателя, подключенного к системе отопления, при этом бойлер соединен с обратным и прямым патрубками экономайзера в нижней части.
Установка горячего водоснабжения, содержащая водогрейный котел с прямым и обратным патрубками, подключенными к системе отопления, патрубок подачи холодной водопроводной воды, дымовую трубу, нижняя часть которой выполнена в виде экономайзера с прямым и обратным патрубками, соединенными с емкостным бойлером, разделенным на две части: верхнюю и нижнюю, и снабженным патрубком горячей воды, при этом емкостный бойлер и экономайзер заполнены водопроводной водой и образуют контур циркуляции воды, нагреваемой отходящими дымовыми газами водогрейного котла, при этом упомянутым патрубком подачи холодной водопроводной воды снабжен бойлер, экономайзер выполнен кольцеобразным, емкостной бойлер установлен в нижней части экономайзера и разделен на упомянутые две части с помощью подогревателя, подключенного к системе отопления, бойлер соединен с обратным и прямым патрубками экономайзера в нижней части, на трубопроводе, соединяющем нижнюю часть емкостного бойлера с обратным патрубком кольцеобразного экономайзера, установлен насос, при этом экономайзер и емкостной бойлер образуют контур принудительной циркуляции воды, нагреваемой отходящими дымовыми газами водогрейного котла (см. пат. РФ №2230262, кл. F24Н 1/48).
Недостатком данной установки является высокая стоимость ее производства и высокая стоимость получения тепла.
Раскрытие изобретения
Технический результат, который может быть получен с помощью предлагаемого изобретения, сводится к снижению себестоимости установки, повышению КПД за счет дополнительного улавливания энергии при конденсации водяных паров.
Технический результат достигается с помощью конденсационной универсальной водогрейной установки наружного размещения, содержащей котел наружного размещения, соединенный через автоматический термостатический трехходовой кран с системой отопления здания, бойлер горячего водоснабжения, при этом в дымосборнике котла наружного размещения установлен дополнительный теплообменник в виде гофрированной нержавеющей трубы, соединенный патрубками с нижним объемом двухобъемного бойлера через циркуляционный насос и обратный клапан, а газовые трубы газотрубной части котла содержат турбуляторы с защитными шайбами от конденсационных капель, которые удалены от кромок газовых трубок кронштейнами турбуляторов, при этом основание дымосборника содержит конденсатоотводящую трубку, а соединение патрубка водопроводной воды с дополнительным теплообменником после обратного клапана, отделяющего двухобъемный бойлер от водопровода, выполнено с возможностью сохранения конденсатного режима работы установки на все время расхода горячей воды.
Краткое описание чертежей
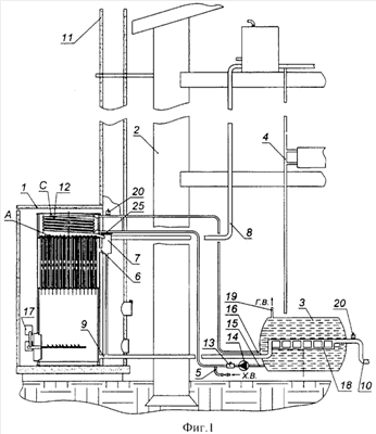
На фиг.1 дана конденсационная универсальная водогрейная установка наружного размещения, общий вид.
На фиг.2 – вид А фиг.1.
На фиг.3 – вид по В фиг.2.
На фиг.4 – вид С фиг.1
Осуществление изобретения
Конденсационная универсальная водогрейная установка наружного размещения состоит из котла 1 наружного размещения, установленного снаружи здания 2, двухобъемного бойлера 3, системы 4 отопления здания 2, водопровода 5, при этом котел 1 наружного размещения содержит прямой патрубок 6, соединенный с автоматическим термостатическим трехходовым краном 7 и прямой линией 8 отопления, и обратный патрубок 9, соединенный с обратной линией 10 отопления. Дымовую трубу 11, закрепленную к стене здания 2, сборник дымовых газов (не обозначен), в котором установлен теплообменник 12 из нержавеющей гофрированной трубы, соединенный одним патрубком с обратным клапаном 13, циркуляционным насосом 14 и нижним патрубком 15 двухобъемного бойлера 3, а вторым патрубком соединен со средним патрубком 16 двухобъемного бойлера 3, атмосферную газовую горелку 17, причем двухобъемный бойлер 3 содержит теплообменник 18, соединенный с обратной линией 10 системы 4 отопления, а также верхний патрубок 19. На верхнем патрубке теплообменника 12 и теплообменника 18 установлены автоматические воздухоотводчики 20, а газотрубная часть котла 1 состоит из газовых труб 21, в каждую из которых вставлен турбулятор 22, удерживаемый на кромках трубы 21 кронштейном 23, к которому приварена защитная шайба 24 от конденсата, над трубной частью газовых труб 21 установлена конденсатоотводящая трубка 25.
Конденсационная универсальная водогрейная установка наружного размещения работает следующим образом. Систему 4 отопления здания 2 заполняют теплоносителем, а двухобъемный бойлер 3 – водой из водопровода 5. При этом воздух из системы 4 отопления здания 2 удаляется в расширительный бак (не показан), а воздух из теплообменников 12 и 18 удаляется автоматическими воздухоотводчиками 20, зажигают горелку 17, дымовые газы по газовым трубам 21, закручиваясь турбуляторами 22 по зазору, равному диаметру кронштейна 23, поднимаются вверх, омывают поверхность теплообменника 12 и удаляются дымовой трубой 11, закрепленной к зданию 2, в атмосферу. Включают циркуляционный насос 14, вода из нижнего объема двухобъемного бойлера 3 через обратный клапан 13 поступает в теплообменник 12 и в подогретом состоянии по патрубку 16 поступает в двухобъемный бойлер 3 ввиду того, что водопроводная вода имеет температуру 5-15°С, на поверхностях теплообменника 12 постоянно образуются капли конденсата, которые падают вниз на защитные шайбы 24 от конденсата, решетку газовых труб 21 и удаляются за пределы котла 1 по конденсатоотводящей трубке 25, после прогрева теплоносителя в котле 1 открывается автоматический термостатический трехходовой кран 7 и теплоноситель по прямому патрубку 6 котла 1 попадает в прямую линию 8 отопления и систему 4 отопления здания 2 и, отдав тепло системе 4 отопления, теплоноситель по обратной линии 10 отопления поступает в теплообменник 18 двухобъемного бойлера 3, нагревая воду, находящуюся в верхнем объеме бойлера 3, и затем по обратному патрубку 9 в котел 1 наружного размещения, при этом автоматический термостатический трехходовой кран 7 постоянно поддерживает температуру теплоносителя в котле 1 наружного размещения в заданных пределах. Горячая вода по патрубку 19 из верхнего объема двухобъемного бойлера 3 поступает на потребление в здание 2 (система потребления здания 2 не показана). При любом расходе воды на потребление холодная вода из водопровода 5 поступает в теплообменник 12 и в подогретом состоянии по патрубку 16 поступает в нижний (холодный) объем двухобъемного бойлера 3. Циркуляционный насос 14 через обратный клапан 13 обеспечивает циркуляцию нижнего объема двухобъемного бойлера 3, при этом конденсат постоянно образуется на поверхностях теплообменника 12, тепло улавливается и отводится в нижнюю (холодную) часть двухобъемного бойлера 3. Теплообменник 18 за счет тепла теплоносителя обратной линии 10 нагревает верхний (горячий) объем двухобъемного бойлера 3, и по патрубку 19 горячая вода поступает на потребление. При исчезновении напряжения циркуляционный насос 14 останавливается, холодная вода при разборе горячей воды из патрубка 19 поступает в теплообменник 12, по патрубку 16 поступает в нижний (холодный) объем двухобъемного бойлера 3, вытесняя горячую воду через патрубок 19, конденсационный режим работы котла 1 наружного размещения сохраняется. На потребление постоянно поступает необходимое количество воды из верхнего (горячего) объема двухобъемного бойлера 3, так как теплообменник 18 постоянно нагревает этот объем. При восстановлении подачи электроэнергии циркуляционный насос 14 включается, обеспечивая конденсационный режим работы котла 1 наружного размещения до прогрева всего нижнего объема бойлера 3 до температуры выше точки росы (ориентировочно 56°С).
Предлагаемое изобретение по сравнению с прототипом и другими известными техническими решениями имеет следующие преимущества:
– уменьшение себестоимости установки за счет изготовления котла из традиционных материалов, за исключением только теплообменника, установленного в дымосборнике, который изготавливают из нержавеющей гофрированной трубы;
– повышение КПД до 100%;
– удешевление производства тепла и снижение стоимости нагрева воды.
Формула изобретения
Конденсационная универсальная водогрейная установка наружного размещения, содержащая котел наружного размещения, соединенный через автоматический термостатический трехходовой кран с системой отопления здания, бойлер горячего водоснабжения, отличающаяся тем, что в дымосборнике котла наружного размещения установлен дополнительный теплообменник в виде гофрированной нержавеющей трубы, соединенный патрубками с нижним объемом двухобъемного бойлера через циркуляционный насос и обратный клапан, а газовые трубы газотрубной части котла содержат турбуляторы с защитными шайбами от конденсационных капель, которые удалены от кромок газовых труб кронштейнами турбуляторов, при этом основание дымосборника содержит конденсатоотводящую трубку, а соединение патрубка водопроводной воды с дополнительным теплообменником после обратного клапана, отделяющего двухобъемный бойлер от водопровода, выполнено с возможностью сохранения конденсатного режима работы установки на все время расхода горячей воды.
РИСУНКИ
|
|