|
(21), (22) Заявка: 2007129970/06, 07.08.2007
(24) Дата начала отсчета срока действия патента:
07.08.2007
(46) Опубликовано: 10.09.2008
(56) Список документов, цитированных в отчете о поиске:
RU 1702104 А1, 30.12.1991. DE 3122476 А1, 23.12.1982. RU 2293919 С1, 20.02.2007. RU 2209374 С2, 27.07.2003. FR 2466708 А1, 10.04.1981. US 5191724 А, 09.03.1993.
Адрес для переписки:
630032, г.Новосибирск, ул. Планировочная, 18/1, ЗАО “СибКОТЭС”, Ф.А. Серанту
|
(72) Автор(ы):
Смышляев Анатолий Александрович (RU), Галускин Вадим Борисович (RU), Клепиков Николай Степанович (RU), Кудрявцев Андрей Викторович (RU), Серант Феликс Анатольевич (RU), Харченко Валерий Викторович (RU)
(73) Патентообладатель(и):
ЗАО “СибКОТЭС” (RU), ОАО “Инжиниринговая компания “ЗИОМАР” (RU)
|
(54) ДЕЛИТЕЛЬ ПЫЛЕГАЗОВОГО ПОТОКА
(57) Реферат:
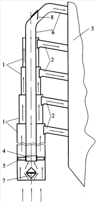
Изобретение относится к области пылеприготовления и может быть использовано при подготовке твердого топлива к сжиганию на тепловых электростанциях. Делитель пылегазового потока образован размещенными одна над другой цилиндрическими обечайками 1 с уменьшающимися диаметрами по ходу пылегазового потока. Каждая из обечаек 1 соединена патрубком 2 с топочной камерой 3. В нижней обечайке 1 коаксиально расположены цилиндрическая полая вставка 4 и завихритель 5. Внутри обечаек 1 установлен трубопровод 6, нижняя часть которого присоединена к цилиндрической полой вставке 4, а верхняя к топочной камере 3. В нижней обечайке 1 перед цилиндрической полой вставкой 4 и соосно с ней установлен рассекатель 7. На трубопроводе 6 перед топочной камерой 3 установлен регулирующий клапан 8. Делитель позволяет подать самую тонкую фракцию пылегазового потока в верхнюю горелку, тем самым организовать выше основной зоны горения восстановительную зону с пониженным содержанием кислорода. В этой зоне под действием продуктов неполного горения часть оксидов азота (NOx) восстанавливается до безопасного атомарного азота (N2). Это позволяет улучшить экологические показатели работы котельных установок путем снижения вредных выбросов, содержащихся в продуктах сгорания. 1 з.п. ф-лы, 1 ил.
Изобретение относится к области пылеприготовления и может быть использовано при подготовке твердого топлива к сжиганию на тепловых электростанциях.
Современные тенденции подавления оксидов азота (NOx) в топках котельных агрегатов осуществляются технологическими методами. Существуют одно-, двух- и трехступенчатые схемы подавления образования оксидов азота. Обеспечить нормативные выбросы (NOx) можно, используя трехступенчатую схему, в которой существует зона с восстановительной атмосферой, расположенная выше основной зоны горения топлива. Лучшим способом организаций такой зоны является подача в нее природного газа. Для высокореактивных углей организация такой зоны может быть достигнута за счет подачи этого же топлива, но тонкость помола пыли должна быть в 2-3 раза мельче, чем в основных горелках. Существующие делители пылегазового потока по своей конструкции не могут обеспечить такое разделение.
Известен делитель пылегазового потока, включающий вертикальный корпус, состоящий из поярусно расположенных цилиндрических обечаек с уменьшающимися диаметрами по ходу пылегазового потока, каждая из которых снабжена отводящим патрубком, и завихрителя, размещенного на входе в первую обечайку, при этом каждая обечайка, начиная со второй, имеет диаметр, определяемый по формуле:
,
где: di – диаметр обечайки с i – порядковым номером;
d1 – диаметр первой обечайки;
n – количество обечаек.
(DE 3122476 С2, МПК В04С 3/00, F23K 1/00).
Недостатком настоящего делителя является невозможность подачи самой тонкой фракции пылегазового потока в его верхний отвод. Этим самым исключается применение восстановительной зоны с пониженным содержанием кислорода выше основной зоны горения.
Ближайшим аналогом является делитель пылегазового потока, содержащий два или более цилиндрических корпуса, расположенных коаксиально один над другим с уменьшающимся сечением по ходу движения потока, завихритесь, центральную цилиндрическую полую вставку и отводы пылегазовой взвеси. В центральной цилиндрической полой вставке дополнительно установлены два запорных поворотных клапана, причем ее диаметр равен 0,5-0,6 диаметра корпуса делителя (RU 17021104 А1, МПК F23K 1/00).
Недостатком настоящего делителя является невозможность подачи самой тонкой фракции пылегазового потока в его верхний отвод. Этим самым исключается применение восстановительной зоны с пониженным содержанием кислорода выше основной зоны горения.
Задачей изобретения является создание делителя пылегазового потока, который бы из пылегазового потока отбирал самую мелкую его фракцию и подавал в верхний патрубок для сжигания в зоне восстановления. Это позволит оптимизировать топочный процесс.
Из уровня техники не выявлено решений, имеющих признаки, совпадающие с отличительными признаками изобретения. Поэтому можно считать, что предложенное техническое решение соответствует условию изобретательского уровня.
Сущность изобретения заключается в том, что делитель пылегазового потока образован размещенными одна над другой цилиндрическими обечайками с уменьшающимися диаметрами по ходу пылегазового потока. Каждая из этих обечаек соединена патрубком с топочной камерой. В нижней обечайке коаксиально расположены цилиндрическая полая вставка и завихритель. Внутри обечаек установлен трубопровод, нижняя часть которого присоединена к цилиндрической полой вставке, а верхняя к топочной камере.
В нижней обечайке перед цилиндрической полой вставкой и соосно с ней установлен рассекатель.
На трубопроводе перед топочной камерой установлен регулирующий клапан.
На чертеже представлен продольный разрез делителя пылегазового потока.
Делитель пылегазового потока образован размещенными одна над другой цилиндрическими обечайками 1 с уменьшающимися диаметрами по ходу пылегазового потока. Обечайки 1 соединены патрубками 2 с топочной камерой 3. В нижней обечайке 1 коаксиально расположены цилиндрическая полая вставка 4 и завихритель 5. Внутри обечаек 1 установлен трубопровод 6, нижняя часть которого присоединена к цилиндрической полой вставке 4, а верхняя часть изогнута в сторону топочной камеры 3 и присоединена к ней.
В нижней обечайке 1 перед цилиндрической полой вставкой 4 и соосно с ней установлен рассекатель 7. На трубопроводе 6 перед топочной камерой 3 установлен регулирующий клапан 8.
Делитель пылегазового потока работает следующим образом. Пылегазовый поток поступает в нижнюю обечайку 1 и проходит через завихритель 5, приобретая при этом вращательное движение. Крупные частицы пылегазового потока отбрасываются к стенкам обечаек 1 и движутся вдоль их. В каждой последовательно расположенной обечайке 1 пылегазовый поток попадает в патрубок 2, а затем через горелочные устройства (не показаны) в зону активного горения топочной камеры 3.
Часть пылегазового потока самой мелкой фракции попадает в цилиндрическую полую вставку 4, затем в трубопровод 6 и по нему через горелку (не показана) в восстановительную зону топочной камеры 3 с пониженным содержанием кислорода. Здесь под действием продуктов неполного сгорания часть оксидов азота (NOx) восстанавливается до безопасного атомарного азота (N2). Изменяя положение регулирующего клапана 8, устанавливают необходимый расход пыли в восстановительную зону топочной камеры 3. Этим самым регулируют распределение пылегазового потока по ярусам основных горелок (не показаны), что позволяет оптимизировать топочный процесс.
Перед цилиндрической вставкой 4 и соосно с ней установлен рассекатель 7. Он отражает крупные частицы пылегазового потока от центра к стенке нижней обечайки 1. Этим самым обеспечивается надежная подача самой тонкой фракции пылегазового потока в восстановительную зону топочной камеры 3.
Заявляемый делитель пылегазового потока позволит существенно улучшить экологические показатели котельных установок путем снижения вредных выбросов, содержащихся в продуктах сгорания, в частности выбросов оксидов азота (NOx). Это является определяющим фактором возможности наращивания энергетических мощностей во многих регионах страны при работе котлов на твердом топливе.
Формула изобретения
1. Делитель пылегазового потока, образованный размещенными одна над другой цилиндрическими обечайками с уменьшающимися диаметрами по ходу пылегазового потока, каждая из которых соединена патрубком с топочной камерой, в нижней обечайке коаксиально расположены цилиндрическая полая вставка и завихритель, отличающийся тем, что внутри обечаек установлен трубопровод, нижняя часть которого присоединена к цилиндрической полой вставке, а верхняя – к топочной камере, кроме того, в нижней обечайке перед цилиндрической полой вставкой и соосно с ней установлен рассекатель.
2. Делитель пылегазового потока по п.1, отличающийся тем, что на трубопроводе перед топочной камерой установлен регулирующий клапан.
РИСУНКИ
PD4A – Изменение наименования обладателя патента СССР или патента Российской Федерации на изобретение
(73) Новое наименование патентообладателя:
Закрытое акционерное общество «Е4-СибКОТЭС» (RU)
(73) Новое наименование патентообладателя:
Открытое акционерное общество «Инжиниринговая компания «ЗИОМАР» (RU)
Адрес для переписки:
630032, г. Новосибирск, ул. Планировочная, 18/1, ЗАО «Е4-СибКОТЭС»
Извещение опубликовано: 10.11.2009 БИ: 31/2009
|