|
|
(21), (22) Заявка: 2006140568/06, 16.11.2006
(24) Дата начала отсчета срока действия патента:
16.11.2006
(46) Опубликовано: 10.09.2008
(56) Список документов, цитированных в отчете о поиске:
SU 246220 А1, 11.06.1969. SU 517733 А1, 15.06.1976. GB 2150265 А, 26.06.1985. US 3152786 А, 13.10.1964. DE 1500056 А1, 05.11.1970.
Адрес для переписки:
640000, г.Курган, ул. Пушкина, 91, кв.24, А.Л. Шанаурину
|
(72) Автор(ы):
Макаров Владимир Васильевич (RU), Шанаурин Анатолий Леонтьевич (RU)
(73) Патентообладатель(и):
Макаров Владимир Васильевич (RU), Шанаурин Анатолий Леонтьевич (RU)
|
(54) ШИБЕРНАЯ ЗАДВИЖКА
(57) Реферат:
Изобретение относится к арматуростроению, в частности к запорной трубопроводной арматуре, и предназначено для использования в нефтяной, газовой и химической промышленности. Шиберная задвижка содержит корпус и подпружиненные с обеих сторон к шиберу седла с принудительным отводом. В нишах шибера помещены с возможностью вращения сухари. Сухари охватываются при закрытой задвижке выемками щек. Щеки установлены на горловинах седел. Изобретение направлено на увеличение циклической стойкости затвора задвижки. 2 з.п. ф-лы, 4 ил.
Изобретение относится к арматуростроению, в частности к запорной трубопроводной арматуре, и может быть использовано в нефтяной, газовой и химической промышленности.
Известна короткошиберная задвижка ЗШ 65-210 (см. проспект ОАО «Торговый дом «Боткинский завод»), содержащая корпус с установленными в нем подпружиненными седлами, взаимодействующими с двух сторон с плоским шибером управляемым штоком посредством винтовой передачи.
К недостаткам известной конструкции относится постоянный контакт уплотнительных полей седел с ответными полями шибера, что снижает циклическую стойкость затвора вследствие повышенного износа уплотнительных полей как седел, так и шибера.
Известна также шиберная задвижка (см. а.с. №517733 F16K 3/10, прототип), свободная от указанных недостатков, содержащая корпус, установленные в нем плавающие седла, управляемые рамкой, жестко закрепленной на шибере, наклонные продольные стороны которой взаимодействует с пазами седел своей средней частью, заклинивая в них в крайних положениях шибера.
К недостаткам данной задвижки следует отнести необходимость выполнения с высокой кинематической точностью взаимодействующих между собой элементов деталей: пазы седел, длина и ширина наклонных продольных сторон рамки, а также точность расположения рамки на шибере.
Целью изобретения является увеличение циклической стойкости затвора задвижки.
Поставленная цель достигается тем, что в нишах шибера помещены с возможностью вращения сухари, охватываемые при закрытой задвижке выемками щек, установленных на горловинах седел; выемки расположены на буртах щек, а сухари – на боковых поверхностях, перпендикулярных уплотнительным поверхностям шибера; сухари выполнены в виде тела вращения, например роликов.
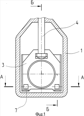
На фиг.1 изображен поперечный разрез задвижки; на фиг.2 – разрез по А-А на фиг.1; на фиг.3 – разрез по Б-Б на фиг.1; на фиг 4 – вариант.
Шиберная задвижка содержит корпус 1, в проходном сечении которого помещены седла 2, поджимаемые к шиберу 3, управляемому штоком 4, тарельчатыми пружинами 5. В выемках 6 штуцера 3 размещены два или четыре с каждой рабочей стороны шибера сухари 7, взаимодействующие при «открытии-закрытии» задвижки со щеками 8, установленными на горловине 9 седел 2, и имеющие впадины 10 для сухарей 7, причем количество впадин 10 равно количеству сухарей 7.
Задвижка работает следующим образом.
Открытие задвижки – под действием штока 4 шибер 3 начинает движение вверх и сухари 7, находящиеся в выемках 10 щек 8, также начинают движение вверх, взаимодействуя с последними, и отводят щеки 8, смонтированные на горловине 9 седел 2, от шибера 3 на величину выступания сухарей 7 над уплотнительной поверхностями шибера 3, сжимая пружины 7. При дополнительном подъеме шибера сухари 7 взаимодействуют с поверхностями щек 8 до полного открытия задвижки, сохраняя при этом зазор между седлами 2 и шибером 3.
Закрытие задвижки – при движении шибера 3 вниз сухари 7 двигаются по поверхности щек 8, (а варианте исполнения по ребрам щек 8) до тех пор, пока сухари 7 не совместятся со впадинами 10 щек 8. Но т.к. глубина впадин 10 больше величины выступания сухарей 7 из шибера 3 (в вариант глубина впадин больше величины отвода щек 8 от шибера 3), то пружина 5 плотно прижимает седла 2 к штуцеру 3. Задвижка закрыта.
Таким образом, благодаря тому, что щеки соединены с седлами с возможностью управления последними, а выступание сухарей из шибера меньше, чем выемки в щеках, происходит надежный отвод седел при открытии задвижки и гарантированный прижим седел при закрытии. Такие действия исключают трение уплотнительных полей седел и шибера, что исключает их износ, а значит повышает циклическую стойкость затвора.
Формула изобретения
1. Шиберная задвижка, содержащая корпус, подпружиненные с обеих сторон к шиберу седла с принудительным отводом, отличающаяся тем, что в нишах шибера помещены с возможностью вращения сухари, охватываемые при закрытой задвижке выемками щек, установленных на горловинах седел.
2. Шиберная задвижка по п.1, отличающаяся тем, что выемки расположены на буртах щек, а сухари – на боковых поверхностях, перпендикулярных уплотнительным поверхностям шибера.
3. Шиберная задвижка по п.1, отличающаяся тем, что сухари выполнены в виде тела вращения, например роликов.
РИСУНКИ
|
|