|
|
(21), (22) Заявка: 2005123788/11, 26.07.2005
(24) Дата начала отсчета срока действия патента:
26.07.2005
(43) Дата публикации заявки: 10.02.2007
(46) Опубликовано: 10.09.2008
(56) Список документов, цитированных в отчете о поиске:
SU 1016594 А, 07.05.1983. SU 1444726 А1, 15.12.1988. US 3446317 А, 27.05.1969. SU 1767215 A1, 07.10.1992.
Адрес для переписки:
443115, г.Самара, ул. Тополей, 4, кв.135, С.Н. Калинину
|
(72) Автор(ы):
Калинин Сергей Николаевич (RU)
(73) Патентообладатель(и):
Калинин Сергей Николаевич (RU)
|
(54) ГИДРАВЛИЧЕСКИЙ АМОРТИЗАТОР
(57) Реферат:
Изобретение относится к гидравлическим амортизаторным стойкам подвески транспортных средств, в частности к устройствам, обеспечивающим их регулирование, преимущественно к устройствам, позволяющим стабилизировать характеристики гидравлических амортизаторных стоек подвески автомобиля при колебаниях температуры внешней среды в пределах от +40°С до -40°С независимо от типа используемого масла. Гидравлический амортизатор содержит гидроцилиндр, поршень с перепускными отверстиями, соединяющими поршневую и штоковую полости, шток, пружину перепускного клапана и тарелку перепускного клапана с одним или несколькими отверстиями для пропуска масла. Часть одного или нескольких отверстий постоянно частично находится над перепускным отверстием или отверстиями в поршне. Пружина перепускного клапана выполнена витой и жестко связана одним концом с тарелкой, а вторым концом – со штоком. Тарелка выполнена с возможностью поворота под действием пружины при изменении длины пружины под действием температуры. Пружина может быть выполнена цилиндрической и соединяться с тарелкой через втулку, жестко связанную с тарелкой и пружиной. Изобретение позволяет создать гидравлическую амортизаторную стойку, например, передней подвески автомобиля ВАЗ, которая имеет постоянную характеристику при любой температуре окружающего воздуха и любом сорте используемого масла, что особенно важно в зимнее время. 1 з.п. ф-лы, 2 ил.
Изобретение относится к гидравлическим амортизаторным стойкам подвески транспортных средств, в частности к устройствам, обеспечивающим их регулирование, преимущественно к устройствам, позволяющим стабилизировать характеристики гидравлических амортизаторных стоек подвески автомобиля при колебаниях температуры внешней среды в пределах от +40°С до -40°С.
Известна подвеска транспортного средства, содержащая направляющее устройство, основной и дополнительный упругие элементы в виде цилиндрических пружин, одна из которых представляет собой пружину сжатия, и гидроцилиндр, в которой основной упругий элемент расположен между осью колеса и опорным элементом кузова транспортного средства, а дополнительный – между опорным элементом кузова и перемычкой, связанной с указанным гидроцилиндром, который другим концом связан с осью колеса, при этом дополнительный упругий элемент представляет собой пружину растяжения, гидроцилиндр связан с осью колеса своим штоком, а с верхним концом дополнительного упругого элемента – своим корпусом, в гидроцилиндре штоковая и бесштоковая полости выполнены со штуцерами для перекачки жидкости из одной полости в другую, при этом указанная перемычка жестко зафиксирована на корпусе гидроцилиндра (авт.св. СССР №1678650, кл. В60G 17/00, опубл. 23.09.91 г., бюл. №35).
Недостатком известной подвески является зависимость характеристик подвески от температуры окружающей среды и от вязкости жидкости, что особенно заметно при низких температурах.
Известна также система регулирования характеристики подвески транспортного средства, содержащая установленный между рамой и мостом упругий элемент и гидроцилиндр, соединенный с системой гидрообеспечения через регулятор уровня корпуса, акселерометр, установленный рядом с колесом, связанный через двойной интегратор и усилитель с указанным регулятором, датчик давления в полостях гидроцилиндра и датчик прогиба упругого элемента, которые подключены к усилителю через блоки формирования, при этом упругий элемент и гидроцилиндр выполнены в виде цилиндра без противодавления, снабженного газовой пружиной, размещенной в поршневой полости, причем поршневая полость с газовой пружиной и кольцевая штоковая полость герметично отделены одна от другой, система содержит блок компенсации, входами соединенный с датчиками давления в полостях указанного цилиндра, а выходом подключенный к усилителю через блок формирования, при этом кольцевая штоковая полость подсоединена к системе гидрообеспечения через регулятор уровня, который соединен с датчиками линейного перемещения и ускорения штока пневмогидравлического цилиндра, задающим блоком и через блок компенсации с датчиками давления в полостях пневмогидравлического цилиндра, а поршневая полость с газовой пружиной подсоединена к системе гидрообеспечения через регулятор уровня, который соединен только с датчиком линейного перемещения штока пневмогидравлического цилиндра и задающим блоком (авт. св. СССР № 1773743, кл. В 60 G 25/00, опубл. 07.11.92 г., бюл. № 41).
Недостатком известной системы регулирования является ее сложность и зависимость характеристики подвески от внешних температурных условий, особенно при низких температурах.
Наиболее близкой к заявляемому изобретению является телескопическая гидравлическая амортизаторная стойка передней подвески автомобиля, содержащая цилиндр, поршень с перепускными отверстиями, шток, тарелку перепускного клапана и пружину перепускного клапана, выполненную в виде изогнутой под тупым углом по одной диаметральной оси тарельчастой пластины (Косарев С.Н., Волгин С.Н., Козлов П.Л., Яметов В.А. «Автомобили ВАЗ-2110, ВАЗ-21102, ВАЗ-21103, ВАЗ-2111, ВАЗ-2112», Руководство по ремонту, эксплуатации и техническому обслуживанию. Каталог запасных частей. Издательство «Колесо», Москва, 2001 г., стр.88).
Недостатком известной телескопической гидравлической амортизаторной стойки является снижение характеристики амортизатора при низких температурах вследствие увеличения вязкости рабочей жидкости (масла), а также нестабильность характеристики при использовании различных сортов масла вследствие того, что зависимость вязкости масла от температуры (кривая графика) различна у разных сортов масел (особенно это различие существенно при температурах ниже нуля градусов).
Задачей изобретения является улучшение амортизирующих качеств гидравлической амортизаторной подвески автомобиля в широком диапазоне рабочих температур при использовании различных сортов масел.
Поставленная задача решается предлагаемым гидравлическим амортизатором, содержащим гидроцилиндр, поршень с перепускными отверстиями, соединяющими поршневую и штоковую полости, шток, тарелку перепускного клапана и пружину перепускного клапана, при этом тарелка перепускного клапана снабжена одним или несколькими отверстиями для пропуска масла, причем часть одного или нескольких отверстий постоянно частично находится над перепускным отверстием или отверстиями в поршне, а пружина перепускного клапана выполнена витой и жестко связана одним концом с тарелкой, а вторым концом – со штоком, при этом тарелка выполнена с возможностью поворота. Пружина может быть выполнена цилиндрической. Пружина может соединяться с тарелкой через втулку, жестко связанную с тарелкой и пружиной.
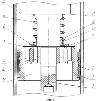
Изобретение иллюстрируется чертежами, где на фиг.1 показан предлагаемый гидравлический амортизатор в разрезе, на фиг.2 – вид сверху на поршень с тарелкой.
Гидравлический амортизатор (фиг.1,2) включает в себя гидроцилиндр 1, в котором размещен шток 3 с поршнем 2. В поршне выполнены перепускные отверстия 4 и 16, закрытые тарелкой 5. Поршневая 13 и штоковая 14 полости заполнены маслом. В тарелке 5 перепускного клапана выполнено одно или несколько отверстий 8 для пропуска масла. Поскольку вязкость различных сортов масла при изменении температуры отражается различными кривыми, то и форма и площадь отверстий 8 будут различными у различных сортов используемого масла. Таким образом, для каждого типа используемого масла должна быть изготовлена своя тарелка 5 с таким отверстием 8, которое по площади соответствовало бы зависимости усилия амортизатора от температуры данного сорта масла в интервале температур от 40°С до +80°С. Отверстия 8 постоянно частично находятся над перепускными отверстиями 4 (фиг.2). Тарелка 5 выполнена с возможностью поворота под действием пружины 6. Пружина 6 выполнена витой и цилиндрической, причем один конец пружины жестко связан со штоком на участке 11, а второй конец пружины жестко соединен или с пластиной 5 непосредственно, или через втулку 12, которая в свою очередь жестко соединена с тарелкой 5. В случае применения втулки 12 переток масла из полости в полость осуществляется через кольцевой зазор 10 между втулкой и штоком. Для увеличения длины пружины она может быть выполнена цилиндрической с диаметром, равным диаметру штока.
Гидравлический амортизатор работает следующим образом. При температуре +20°С тарелка 5 находится в таком положении, что переток масла между полостями происходит через часть отверстий 4 и 8. При ходе сжатия тарелка 5 отходит от поверхности 7 поршня 2, и отверстия 4 и 16 полностью открываются. При снижении температуры масла до -20°С и ниже вязкость масла в гидроцилиндре повышается вследствие чего переток масла из поршневой полости в штоковую затрудняется, а амортизационные свойства снижаются. В этот момент под действием минусовой температуры происходит уменьшение длины пружины 6 (температурное сжатие), а жестко связанная с ней тарелка 5 при этом поворачивается, увеличивая пропускное сечение отверстий 4 и 8 и переток масла из одной полости в другую, за счет чего амортизирующие свойства остаются стабильными. Чем ниже будет температура окружающего воздуха, тем больше будут открыты отверстия 4 и 8. При повышении температуры до плюсовой пружина 6 удлиняется и перемещает тарелку 5 в другую сторону (температурное расширение), уменьшая пропускное сечение отверстий 4 и 8. Таким образом, пружина 6 выполняет сразу две функции: прижимает тарелку 5 к поверхности 7 поршня 2 и одновременно является поворотным механизмом тарелки. Для различных сортов масла можно изготовить поршни с такими отверстиями 4 в тарелках 5, что их площадь будет соответствовать зависимости усилия амортизатора от температуры.
Предлагаемый амортизатор прост по конструкции и обеспечивает улучшение амортизирующих качеств в широком интервале рабочих температур и при использовании любых сортов масла. Амортизатор предлагаемой конструкции можно устанавливать на автомобилях как на заводах-изготовителях, так и на предприятиях автосервиса.
Таким образом, предлагаемое изобретение позволяет создать гидравлическую амортизаторную стойку, например, передней подвески автомобиля ВАЗ, которая имела бы более высокие амортизирующие свойства при любой температуре и любом типе используемого масла, что особенно важно в зимнее время.
Формула изобретения
1. Гидравлический амортизатор, содержащий гидроцилиндр, поршень с перепускными отверстиями, соединяющими поршневую и штоковую полости, шток, пружину перепускного клапана и тарелку перепускного клапана с одним или несколькими отверстиями для пропуска масла, причем часть одного или нескольких отверстий постоянно частично находится над перепускным отверстием или отверстиями в поршне, а пружина перепускного клапана выполнена витой и жестко связана одним концом с тарелкой, а вторым концом – со штоком, при этом тарелка выполнена с возможностью поворота под действием пружины при изменении длины пружины под действием температуры.
2. Гидравлический амортизатор по п.1, отличающийся тем, что пружина выполнена цилиндрической и соединена с тарелкой через втулку, жестко связанную с тарелкой и пружиной.
РИСУНКИ
|
|