|
|
(21), (22) Заявка: 2006139164/06, 08.11.2006
(24) Дата начала отсчета срока действия патента:
08.11.2006
(46) Опубликовано: 10.09.2008
(56) Список документов, цитированных в отчете о поиске:
Оборудование технологическое для молочной промышленности. Отраслевой каталог. ЦНИИТЭИ. – М.: Легпищемаш, 1984, Центробежный насос типа 50-1Ц7. SU 1763727 А1, 23.09.1992. RU 2246639 C1, 20.02.2005. GB 1416873 A, 10.12.1975. DE 3538081 A, 30.04.1987.
Адрес для переписки:
109316, Москва, ул. Талалихина, 33, МГУПБ, отдел маркетинга и патентной работы
|
(72) Автор(ы):
Космодемьянский Юрий Викторович (RU), Юрин Виктор Николаевич (RU)
(73) Патентообладатель(и):
Государственное образовательное учреждение высшего профессионального образования “Московский государственный университет прикладной биотехнологии” (RU), Открытое акционерное общество “Очаковский молочный завод” (RU)
|
(54) ЦЕНТРОБЕЖНЫЙ НАСОС ДЛЯ ТАНГЕНЦИАЛЬНОЙ МИКРО- ИЛИ УЛЬТРАФИЛЬТРАЦИИ
(57) Реферат:
Изобретение относится к пищевой, химической, фармацевтической и другим отраслям промышленности и используется для снижения энергоемкости процессов тангенциальной микро- и ультрафильтрации жидкостей. Центробежный насос состоит из ротора с радиальными каналами или лопастями. Ротор вращается в неподвижном цилиндрическом полом статоре. Статор имеет центральный осевой входной канал, тангенциально расположенный к статору расширяющийся отводной канал и второй входной канал, расположенный тангенциально к статору и сужающийся в направлении циркулирующего потока. Снабжение насоса вторым тангенциальным входным каналом позволяет в несколько раз уменьшить подачу фильтруемой жидкости через центральный входной канал за счет использования энергии циркулирующей фильтруемой жидкости в замкнутом гидравлическом контуре, что снижает ее нагрев. Это также позволяет снизить мощность привода насоса, исключить применение теплообменника-охладителя в контуре циркуляции и снизить общий расход энергии, т.е. снизить энергоемкость фильтрации. 5 ил.
Изобретение относится к пищевой, химической, фармацевтической и другим отраслям промышленности и используется для снижения энергоемкости процессов тангенциальной микро- и ультрафильтрации жидкостей.
В канальных аппаратах для тангенциальной микро- и ультрафильтрации применяют центробежные насосы, которые выполняют одновременно две функции: создают давление фильтрации и высокоскоростное течение потока по фильтрующим каналам, ограничивающее рост толщины структур, образованных на фильтрующей поверхности задерживаемыми компонентами.
На фиг.1 показана традиционная схема установки центробежного насоса 3 в контуре циркуляции баромембранного аппарата, включающего охладитель циркулирующей жидкости 5 и блок канальных фильтров 6. Из резервуара 1 фильтруемая жидкость непрерывно подается в трубопровод 7 контура циркуляции концентрата фильтруемой жидкости, по которому вместе с циркулирующей жидкостью поступает в центральный входной канал 2 центробежного насоса 3, из которого выходит через тангенциальный канал 4, поступая в блок канальных фильтров 6. Из последнего через регулирующий вентиль 8 полученный концентрат отводится в резервуар 9, а фильтрат из межканального пространства блока 6 – в резервуар 10.
Известны центробежные насосы, состоящие из прикрепленного к валу двигателя ротора с радиальными лопастями, установленного внутри цилиндрического статора с тангенциальным отводным каналом и крышкой с центральным входным каналом и уплотняющим устройством (Бадеке К. и др. Насосы. Справочное пособие. Перевод с немецкого. Москва, Машиностроение, 1979, с.207, рис.130).
Скорость течения жидкостей, создаваемая центробежным насосом в различных гидравлических системах, как правило, значительно меньше окружной скорости движения жидкости в насосе. Поэтому выходной канал насоса делают плавно расширяющимся для частичного перехода энергии перекачиваемой жидкости из кинетической формы в потенциальную с соответствующим уменьшением скорости ее течения и повышением давления.
Недостаток известных центробежных насосов с центральным подающим каналом заключается в том, что при применении в замкнутых гидравлических контурах в них не используется полностью энергия подаваемой в насос жидкости, что вызывает нагрев потока и требует отвода тепла с помощью встроенного в контур охладителя и приводит к потерям гидравлической энергии при повышенном потреблении энергии приводом насоса.
Наиболее близким по технической сущности и достигаемому результату является центробежный насос типа 50-1Ц7 Московского завода молочного оборудования (фиг.2), используемый в аппаратах для тангенциальной микро- и ультрафильтрации, состоящий из ротора 11 с радиальными каналами 12 или лопастями, вращающегося на валу электродвигателя 13 в неподвижном цилиндрическом полом статоре 14, закрытом крышкой 15, имеющей осевой входной канал 2 и тангенциально к статору расположенный расширяющийся отводной канал 4 (Оборудование технологическое для молочной промышленности. Отраслевой каталог. ЦНИИТЭИ. Москва, Легпищемаш, 1984, Центробежный насос типа 50-1Ц7).
Этот насос имеет тот же недостаток, что и у предыдущих аналогов.
При поступлении в центробежный насос фильтруемая жидкость совершает сложное движение с многократным преобразованием форм своей энергии, сопровождающимся интенсивным перемешиванием, внутренним трением и выделением теплоты. Для ее отвода в контур циркуляции включают охладитель, который, в свою очередь, создает дополнительное гидромеханическое сопротивление и соответствующее выделение теплоты, что требует увеличения расхода энергии на охлаждение. Установка охладителя усложняет устройство фильтрующей установки в целом и повышает энергоемкость процесса.
Задача изобретения направлена на снижение энергоемкости процесса микро- и ультрафильтрации за счет снижения непроизводительных затрат энергии.
Поставленная задача решается тем, что центробежный насос для тангенциальной микро- и ультрафильтрации, состоящий из ротора с радиальными каналами или лопастями, вращающемся в неподвижном цилиндрическом полом статоре, имеющем осевой центральный входной канал и тангенциально к статору расположенный расширяющийся отводной канал, согласно изобретению дополнительно содержит второй входной канал, расположенный тангенциально к статору и сужающийся в направлении циркулирующего потока.
Предлагаемое устройство насоса для тангенциальной микро- и ультрафильтрации имеет второй входной канал, установленный тангенциально к статору и имеющий сужающуюся форму, благодаря которой циркулирующая фильтруемая жидкость, поступающая при давлении фильтрации, ускоряет свое течение до скорости, близкой к окружной скорости фильтруемой жидкости в насосе (за счет преобразования части потенциальной энергии потока в кинетическую). В результате в контуре циркуляции снижаются потери энергии на внутреннее трение и выделение теплоты, отпадает необходимость охлаждения циркулирующей фильтруемой жидкости при помощи охладителя (становится достаточным естественный теплообмен поверхности фильтрационного аппарата с окружающим пространством), снижается мощность привода насоса; в несколько раз уменьшается подача фильтруемой жидкости через центральный входной канал насоса.
Изобретение поясняется чертежами.
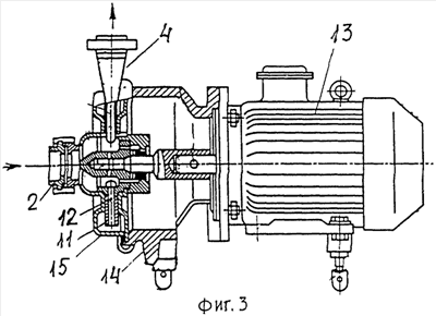
На фиг.1 показана традиционная схема установки центробежного насоса в аппарате для микро- или ультрафильтрации; на фиг.2 – центробежный насос типа 50-1Ц7 Московского завода молочного оборудования, общий вид и вид сбоку; на фиг.3 представлен центробежный насос для микро- или ультрафильтрации, общий вид; на фиг.4 – то же, вид сбоку; на фиг.5 – установка предлагаемого насоса в аппарате для тангенциальной фильтрации.
Насос состоит (фиг.3, 4) из ротора 11 с радиальными каналами или лопастями 12, установленного внутри полого статора 14 на валу электродвигателя 13, крышки 15 с центральным входным каналом 2, дополнительным входным каналом 16, расположенным тангенциально к статору 14, и выполненным сужающимся в направлении циркулирующего потока фильтруемой жидкости, а также отводным каналом 4, расширяющимся по ходу течения.
Работа центробежного насоса показана на примере его установки в аппарате для тангенциальной микро- и ультрафильтрации, включающей резервуары 1, 9, 10, центробежный насос 3, блок фильтрующих каналов 6, вентиль 8 регулирования скорости отвода концентрата (фиг.5).
Фильтруемая жидкость из резервуара 1 по трубопроводу поступает в центральный входной канал 2 центробежного насоса 3, из которого через отводной канал 4 поступает в блок фильтрующих каналов 6 и из него через дополнительный тангенциальный входной канал 16 насоса, имеющий сужающуюся форму (для ускорения течения до уровня близкого к окружной скорости фильтруемой жидкости в насосе 3, за счет преобразования части потенциальной энергии потока в кинетическую), где он сливается с фильтруемой жидкостью, поступающей через центральный входной канал 2. Смесь через канал 4 поступает вновь в блок фильтрующих каналов 6.
Таким образом, в предлагаемом центробежном насосе с дополнительным вторым входным каналом, позволяющим в несколько раз уменьшить подачу фильтруемой жидкости через центральный входной канал, используется энергия давления подаваемой в него циркулирующей фильтруемой жидкости в замкнутом гидравлическом контуре, что снижает ее нагрев. При этом для ее охлаждения становится достаточен естественный теплообмен поверхности фильтрационного аппарата с окружающим пространством. Это также позволяет снизить мощность привода насоса, исключить применение теплообменника-охладителя в контуре циркуляции и снизить общий расход энергии.
Формула изобретения
Центробежный насос для тангенциальной ультра- и микрофильтрации, состоящий из ротора с радиальными каналами или лопастями, вращающегося в неподвижном цилиндрическом полом статоре, имеющем центральный осевой входной канал и тангенциально к статору расположенный расширяющийся отводной канал, отличающийся тем, что дополнительно содержит второй входной канал, расположенный тангенциально к статору и сужающийся в направлении циркулирующего потока.
РИСУНКИ
|
|