|
|
(21), (22) Заявка: 2006134792/28, 02.10.2006
(24) Дата начала отсчета срока действия патента:
02.10.2006
(43) Дата публикации заявки: 10.04.2008
(46) Опубликовано: 10.09.2008
(56) Список документов, цитированных в отчете о поиске:
ФРЕНКЕЛЬ М.И. Поршневые компрессоры. – М.-Л., 1980, с.240. SU 896256 А, 07.01.1982. SU 909611 A, 28.02.1982. DE 10358523 A1, 28.10.2004. EP 0508823 A1, 14.10.1992.
Адрес для переписки:
644050, г.Омск, пр. Мира, 11, ГОУ ВПО ОмГТУ, информационно-патентный отдел, нач.ИПО О.И.Бабенко
|
(72) Автор(ы):
Юша Владимир Леонидович (RU), Березовский Денис Викторович (RU)
(73) Патентообладатель(и):
Государственное образовательное учреждение высшего профессионального образования “Омский государственный технический университет” (RU)
|
(54) СПОСОБ ОПРЕДЕЛЕНИЯ СИЛЫ ГАЗОВОГО ПОТОКА В КЛАПАНАХ ПОРШНЕВЫХ КОМПРЕССОРОВ
(57) Реферат:
Изобретение относится к области экспериментальной газодинамики и может быть использовано при исследовании рабочего процесса в машинах объемного действия. В герметичной рабочей камере размещают поршень двойного действия так, что образуются две рабочие полости, сообщающиеся между собой через установленный на поршне самодействующий клапан. Через малые равные промежутки времени  измеряют мгновенные значения положения Н поршня и высоты h подъема пластины в клапане, по которым определяют мгновенную силу давления РГ газа на пластину клапана с использованием приводимой формулы. Изобретение позволяет определять действующую на пластину клапана объемного компрессора силу газового потока при его течении через клапан в условиях изменяющихся давлений на входе и выходе клапана. 1 ил.
Изобретение относится к области экспериментальной газодинамики, а также к способам определения силы давления газа на пластину клапана при течении газа через проточную часть клапана и может быть использовано при исследовании рабочего процесса в машинах объемного действия, в частности в поршневых компрессорах и их систем газораспределения.
Известные компрессоры осуществляют повышение давления газа или пара и могут быть разделены на три группы по способу их действия, т.е. по тому, каким образом энергия передается газу, и по тому, какие физические явления используются для повышения давления газа:
1. объемные компрессоры;
2. динамические компрессоры;
3. тепловые компрессоры.
Объемные компрессоры повышают давление газа путем уменьшения замкнутого объема (камеры), содержащего определенное количество газа. Процесс сжатия в объемных компрессорах происходит периодически. Необходимо, чтобы рабочая полость объемного компрессора периодически то увеличивалась, то уменьшалась. Во время увеличения объема рабочей полости газ заполняет последнюю, входя в нее. Во время уменьшения этого объема газ сжимается, его давление повышается, и затем в сжатом виде газ выталкивается из рабочей полости.
Наиболее типичным представителем объемных компрессоров является поршневой. Поршневым компрессором называется компрессор объемного действия, в котором изменение объема рабочей полости осуществляется поршнем, совершающим прямолинейное возвратно-поступательное движение.
Сжатие газа может осуществляться поршнями в цилиндрах простого действия, имеющих одну рабочую полость, или в цилиндрах двойного действия с двумя рабочими полостями. В соответствии с количеством рабочих полостей компрессоры делят на компрессоры простого действия и компрессоры двойного действия.
Органами распределения поршневых компрессоров называют узлы или элементы, которые периодически открываются и закрываются, сообщая и разделяя рабочую полость цилиндра и полости и нагнетательного патрубков.
Наиболее широкое применение в качестве органов распределения нашли самодействующие клапаны, в которых клапанная плита (седло) разделяет две полости с различными давлениями. В плите выполнено отверстие, которое перекрывается запорным элементом – клапанной пластиной. Запорный элемент представляет собой тонкую стальную пластину, которая может подниматься и открывать отверстие, сообщая две полости. На пластину действуют с одной стороны давление одной величины, с другой – давление другой величины и сила упругости пружины. Подъем пластины лимитируется ограничителем подъема.
Известен способ для определения силы газового потока на исследуемый объект путем статических продувок этого объекта в аэродинамической трубе [Краснов Н.Ф. Прикладная аэродинамика. – М., 1974. – c.18.].
Способ заключается в том, что исследуемый объект (например, модель летательного аппарата) закрепляют при помощи специальных державок на чувствительных элементах измерительного прибора (например, весов) и помещают в проточную часть аэродинамической трубы; при течении газа через проточную часть аэродинамической трубы измеряют полную аэродинамическую силу, действующую со стороны газового потока на исследуемый объект и являющуюся результатом воздействия на обтекаемую поверхность объекта трения и давления одновременно.
Для определения силы газового потока, действующей на пластину клапана, этот способ непригоден, так как на процесс воздействия газового потока на пластину влияют конструктивные параметры других деталей клапана, а также взаимное расположение пластины по отношению к этим деталям. Таким образом, продувка в аэродинамической трубе отдельно взятой пластины не будет соответствовать условиям ее функционирования в проточной части клапана. Кроме того, установившийся режим обтекания газовым потоком исследуемого объекта в аэродинамической трубе не соответствует нестационарному характеру течения газа в клапане при работе, например, поршневого компрессора или любой другой машины объемного действия.
Известен способ определения силы газового потока, действующей на пластину клапана, путем статических продувок проточной части клапана [Френкель М.И. Поршневые компрессоры. – М.-Л., 1980. – с.240.].
Способ заключается в том, что клапан устанавливают в продувочной камере с весами, а через проточную часть клапана направляется стационарный газовый поток; при этом давление газового потока на пластину, установленную в клапане без пружин, уравновешивается гиревой нагрузкой; причем одновременно с силой газового потока, действующей на пластину, измеряют высоту подъема пластины в клапане и давление газа перед клапаном и за ним.
Задачей изобретения является определение силы газового потока, действующей на пластину самодействующего клапана объемного компрессора, при его течении через клапан в условиях подвижности пластины и изменяющихся давлений на входе и выходе клапана.
Данный технический результат достигается тем, что в герметичной рабочей камере размещают поршень двойного действия таким образом, что образуются две рабочие полости, сообщающиеся между собой через установленный на поршне самодействующий клапан; при возвратно-поступательном движении поршня одновременно измеряют мгновенные значения положения поршня Н и высоты подъема пластины в клапане h, а силу газового потока РГ, действующую на пластину клапана, определяют по формуле:

где m – масса пластины, кг;
g – ускорение свободного падения, м/с2;
 =1/(N·v),
где N 360 – число измерений за цикл;
v – частота рабочего цикла;
Хi, Xi-1, Xi+1 – координата пластины в начале i-го, (i-1)-го и (i+1)-го шага,
причем Xi=Hi+hi, Xi-1=Hi-1+hi-1, Xi+1=Hi+1+hi+1,
где Hi, hi-1, Нi+1 – положение поршня в начале i-го, (i-1)-го и (i+1)-го шага мм,
hi, hi-1, hi+1 – высота подъема пластины в начале i-го, (i-1)-го и (i+1)-го шага мм,
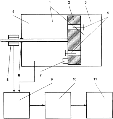
Предложенный способ определения мгновенной силы газового потока, действующей на пластину клапана, может быть осуществлен устройством, схема которого представлена на чертеже. Устройство содержит: движущийся возвратно-поступательно поршень двойного действия 2, размещенный в рабочей камере 1 и разделяющий ее на две рабочие полости 3 и 4, которые сообщаются между собой через самодействующие клапаны 5, установленные на поршне 2, и у которых отсутствуют упругие элементы (пружины); сальник 6 – для поддержания герметичности рабочей камеры 1; датчик перемещения пластины 7 и датчик положения поршня 8; усилитель 9 – для усиления аналоговых сигналов датчиков; аналого-цифровой преобразователь (АЦП) 10 – для преобразования сигнала в цифровой; ЭВМ 11 – для обработки цифрового сигнала, полученного с АЦП 10.
Сам способ реализуют следующим образом. При запуске описанного выше устройства поршень 2 совершает возвратно-поступательное движение в рабочей камере 1 и изменяет геометрические объемы полостей 3 и 4; при этом газ перетекает между полостями 3 и 4 через один из клапанов 5, через какой из клапанов – зависит от текущего процесса в камере – нагнетание или всасывание. Одновременно измеряют положение пластины в этом клапане с помощью датчика 7 и положение поршня 2 с помощью датчика 8. Сигналы с датчиков 7 и 8 непрерывно поступают на вход усилителя 9, где происходит амплитудное усиление сигнала для последующей обработки, и далее на АЦП 10, откуда преобразованный сигнал в цифровом виде поступает в ЭВМ 11. В ЭВМ полученные данные запоминаются в виде массивов двоичных чисел, причем следующее значение массива записывается через определенный интервал времени  =1/(N·v), где N 360 – число измерений за полный цикл, например, за один оборот приводного вала машины объемного действия; v – частота цикла, например, частота вращения приводного вала машины объемного действия. Далее этот массив двоичных чисел приводят к десятичному виду, переводят полученное значение в необходимые единицы измерения в соответствии с уравнениями преобразования датчиков и рассчитывают силу газового потока, действующую на пластину клапана, по формуле (1).
Применение формулы (1) можно обосновать следующим образом. Известно уравнение динамики пластины самодействующих клапанов [Пластинин П.И. Поршневые компрессоры. – М., 2000. – с.18]:

где m – масса пластины, кг;
а – ускорение пластины, м/с2;
РПР – сила упругости пружин, Н;
РТР – сила трения пластины о газ, Н;
РД – сила давления газа на пластину, Н;
G=m·g – вес пластины, Н.
Рассматривая силу газового потока РГ как РГ=РТР+РД, то есть как силу, учитывающую воздействие на пластину трения и давления со стороны газового потока, а также учитывая отсутствие в клапане упругого элемента (РПР=0), величину силы газового потока РГ, действующую на пластину, можно представить в следующем виде:

Известно, что для малых промежутков времени  допустимо рассматривать неравномерное движение тела в пределах каждого промежутка времени  как равноускоренное или равнозамедленное; в этом случае справедливы следующие соотношения [Яблонский Л.А., Никифорова В.М. Курс теоретической механики. – СПб.: Лань, 2001. – с.148, 157]: 
где v – скорость тела,
х – координата этого тела,
 – промежуток времени.
Для нашего случая, выбирая из массива чисел данные для i-го, (i-1)-го и (i+1)-го шагов измерения, можно записать
v=v1-vi-1;
Xi=Нi+hi;
Xi-1=Hi-1+hi-1,
Xi+1=Hi+1+hi+1,
Тогда
и .
Откуда и получается расчетная формула (1):

Таким образом, предлагаемый способ позволяет определить мгновенную силу газового потока, действующую на пластину клапана через малые промежутки времени при его течении через клапан в условиях подвижности пластины и изменяющихся давлений на входе и выходе клапана.
Формула изобретения
Способ определения силы газового потока, действующей на пластину самодействующего клапана объемного компрессора, путем продувки газа через проточную часть клапана, состоящий в том, что в герметичной рабочей камере размещают поршень двойного действия таким образом, что образуются две рабочие полости, сообщающиеся между собой через установленный на поршне самодействующий клапан; при возвратно-поступательном движении поршня одновременно измеряют мгновенные значения положения поршня Н и высоты подъема пластины в клапане h, a силу газового потока РГ, действующую на пластину клапана, определяют по формуле

где m – масса пластины, кг;
g – ускорение свободного падения, м/с2;
 =1/(N·v),
где N 360 – число измерений за цикл;
v – частота рабочего цикла;
Xi, Xi-1, Xi+1 – координата пластины в начале i-го, (i-1)-го и (i+1)-го шага,
причем Xi=Hi+hi, Xi-1=Hi-1+hi-1, Xi+1=Hi+1+hi+1,
где Hi, Hi-1, Hi+1 – положение поршня в начале i-го, (i-1)-го и (i+1)-го шага, мм;
hi, hi-1, hi+1 – высота подъема пластины в начале i-го, (i-1)-го и (i+1)-го шага, мм.
РИСУНКИ
|
|