|
|
(21), (22) Заявка: 2003120045/06, 08.07.2003
(24) Дата начала отсчета срока действия патента:
08.07.2003
(30) Конвенционный приоритет:
12.07.2002 FR 0208819
(43) Дата публикации заявки: 10.01.2005
(46) Опубликовано: 10.09.2008
(56) Список документов, цитированных в отчете о поиске:
RU 2123149 С1, 10.12.1998. ГАХУН Г.Г. Конструкция и проектирование жидкостных ракетных двигателей. – М.: Машиностроение, 1989, с.374, 375. ЕР 0188161 А1, 23.07.1986. US 6135138 А, 24.10.2000. US 4154446 А, 15.05.1979. US 3967842 А, 06.07.1976.
Адрес для переписки:
191186, Санкт-Петербург, а/я 230, “АРС-ПАТЕНТ”, пат.пов. В.М.Рыбакову, рег. № 90
|
(72) Автор(ы):
ВАЛЕНТИН Доминик (FR)
(73) Патентообладатель(и):
СНЕКМА МОТОРС (FR)
|
(54) ПОВОРОТНАЯ КРИОТЕХНИЧЕСКАЯ МУФТА, ПИТАЮЩАЯ ЛИНИЯ ДЛЯ КРИОГЕННОЙ ЖИДКОСТИ И РАКЕТНЫЙ ДВИГАТЕЛЬ
(57) Реферат:
Поворотная криотехническая муфта содержит первый участок криогенной линии и второй участок криогенной линии, способные взаимно разворачиваться вокруг оси, средство предотвращения смещения в радиальном направлении одного из участков криогенной линии и средство предотвращения смещения в осевом направлении одного из участков криогенной линии относительно другого из указанных участков. Первый участок содержит охватывающую деталь с двойными стенками, между которыми создан вакуум, а второй участок содержит охватываемую деталь с двойными стенками, между которыми создан вакуум, по меньшей мере, частично входящую в охватывающую деталь. Между свободным концом охватываемой детали, введенной в охватывающую деталь, и одним из средств предотвращения смещения в радиальном направлении и в осевом направлении заключена первая уплотнительная прокладка. Между свободным концом охватывающей детали и другим из средств предотвращения смещения в радиальном и осевом направлениях заключена вторая уплотнительная прокладка. Вблизи второй уплотнительной прокладки расположены нагревательные средства. Другое изобретение группы относится к питающей линии для криогенной жидкости, соединяющей неподвижный модуль с подвижным модулем, обладающим, по меньшей мере, одной степенью свободы, и содержащей, по меньшей мере, одну указанную поворотную криотехническую муфту. Еще одно изобретение группы относится к ракетному двигателю, работающему на жидком криогенном топливе. Ракетный двигатель содержит, по меньшей мере, один топливный бак, по меньшей мере, один турбонасос для питания устройства впрыска топлива, камеру сгорания, по меньшей мере, один приводной механизм для изменения положения камеры сгорания и, по меньшей мере, одну указанную поворотную муфту. Последняя установлена в, по меньшей мере, одной питающей линии, ведущей от топливного бака к турбонасосу, или в, по меньшей мере, одной питающей линии, ведущей от турбонасоса к устройству впрыска топлива. Изобретение позволяет снизить массу и габариты муфты, а также воспринимать значительные изгибающие усилия от вибрации или ускорения при работе муфты в составе ракетного двигателя. 3 н. и 22 з.п. ф-лы, 13 ил.
Область техники
Настоящее изобретение относится к поворотному криотехническому соединению, представляющему собой поворотную криотехническую муфту (именуемую далее для краткости также “поворотной муфтой” или “муфтой”) и к использованию данной муфты, в частности, в составных линиях подачи энергоносителей и в ракетных двигателях, работающих на криогенном топливе.
Уровень техники
Муфты с эластичными уплотнениями не могут использоваться при криогенных температурах, поскольку минимальная температура эксплуатации таких муфт ограничивается -50°С.
Ранее уже предлагались муфты для использования при криогенных температурах. Однако у этих муфт отсутствовала способность поворота, что сильно ограничивало интерес к их использованию.
Примеры поворотных муфт для криогенной техники приводятся в патентных документах ЕР 0188161, US 6135138 и ЕР 0709616.
В документе ЕР 0188161 описывается устройство, представляющее собой поворотное уплотнение для криогенной жидкости, используемое в промышленности, а именно при транспортировке сжиженного природного газа (GNL). Трубопровод сжиженного природного газа окружен снаружи кольцевым пространством, обеспечивающим возможность рециркуляции холодных паров.
В документе US 6135138 описывается устройство, применяемое, в частности, для охлаждения датчиков инфракрасного излучения на спутнике. В этом устройстве используется трехосная конфигурация с центральным каналом для жидкого азота, одним коаксиальным каналом для холодных паров и другим коаксиальным каналом для рекуперации утечек на уплотнениях.
В документе ЕР 0709616 описывается поворотная муфта, использующая волокнистую теплоизоляцию между двумя коаксиальными стенками и обеспечивающая центровку и передачу осевых усилий посредством шарикового подшипника, стойкого к воздействию температуры окружающей среды, перед которым последовательно размещены две уплотнительные прокладки. Кольцевой зазор со стороны криогенной жидкости закрыт торцевым уплотнением или уплотнением лабиринтного типа.
Описанные образцы поворотных муфт, используемых на земле, представляют собой относительно сложную или громоздкую структуру, которая, помимо прочего, не приспособлена к работе в условиях окружающей среды, где появляются значительные вибрации и ускорения, как в случае, например, с ракетой-носителем в космическом пространстве.
Раскрытие изобретения
Задача, поставленная перед изобретением, заключается в том, чтобы устранить недостатки вышеперечисленных устройств и обеспечить такую версию поворотных криотехнических муфт, конструкция которых привела бы к уменьшению массы или габаритов. При этом муфта могла бы выдерживать значительные изгибающие усилия, порождаемые вибрациями или ускорениями.
Изобретение, кроме этого, направлено на создание поворотной криогенной муфты умеренной себестоимости, которая обеспечивает высокую степень эксплуатационной безопасности и допускает значительные угловые смещения.
Изобретение, в частности, решает задачу создания поворотной криотехнической муфты, которая может использоваться как в промышленных установках на земле, так и в космических установках, а именно в ракетных двигателях, где основным требованием является уменьшение бортовой массы и габаритов оборудования с одновременным обеспечением эксплуатационной надежности и прочности в условиях окружающей среды, в которых вибрации и ускорения оказывают значительные воздействия на бортовое оборудование.
Данные задачи решены посредством создания поворотной криотехнической муфты, которая характеризуется тем, что содержит первый участок криогенной линии и второй участок криогенной линии, способные взаимно разворачиваться вокруг оси поворотной муфты. Поворотная муфта содержит, кроме того, средство предотвращения смещения в радиальном направлении одного из первого и второго участков криогенной линии, а также средство предотвращения смещения в осевом направлении одного из первого и второго участков криогенной линии относительно другого из этих участков. При этом средство предотвращения смещения в радиальном направлении и средство предотвращения смещения в осевом направлении определяют ось вращения поворотной муфты. Первый и второй участки содержат соответственно охватывающую и охватываемую детали с двойными стенками, между которыми создан вакуум. Охватываемая деталь входит, по меньшей мере, частично в охватывающую деталь. Между свободным концом охватываемой детали, введенной в охватывающую деталь, и одним из средства предотвращения смещения в радиальном направлении и средства предотвращения смещения в осевом направлении заключена первая уплотнительная прокладка, а между свободным концом охватывающей детали и другим из первого и второго средств предотвращения смещения заключена вторая уплотнительная прокладка. При этом рядом со второй уплотнительной прокладкой расположены нагревательные средства.
Такой тип криогенной поворотной муфты позволяет уменьшить момент трения во время разворота и допускает работу муфты в горизонтальной плоскости, препятствуя при этом обледенению поворотной прокладки благодаря наличию нагрева.
Различные конкретные характеристики позволяют повысить надежность герметизации и качество поворотной муфты. Первая уплотнительная прокладка предпочтительно представляет собой самосмазывающийся вкладыш, взаимодействующий с сопряженной опорной поверхностью средства предотвращения смещения в радиальном направлении или средства предотвращения смещения в осевом направлении. Этот самосмазывающийся вкладыш желательно выполнить из одного из следующих материалов: политетрафторэтилен (ПТФЭ), политрифторхлорэтилен (ПТФХЭ), графит с наполнителем, бронза с добавкой ПТФЭ, керамика с наполнителем.
В одном из конкретных вариантов выполнения самосмазывающийся вкладыш снабжен прорезью, обеспечивающей баланс давлений между внутренней зоной первого и второго участков и кольцевым зазором, заключенным между охватывающей и охватываемой деталями, перекрывающими одна другую.
В другом варианте самосмазывающийся вкладыш снабжен нагруженным упругим элементом, который обеспечивает распределение контактного давления на опорную поверхность, образуя предохранительный клапан.
Вторая уплотнительная прокладка может быть упругой фрикционной прокладкой, которая взаимодействует с внешней поверхностью охватываемой детали вблизи от средства предотвращения смещения в радиальном направлении.
Еще в одном варианте выполнения вторая уплотнительная прокладка является кольцевой прокладкой прямоугольного сечения и прилегает к плоскому участку средства предотвращения смещения в осевом направлении. Вторая уплотнительная прокладка, на которой посредством нагревательных средств постоянно поддерживается температура окружающей среды, выполнена из эластомера или из ПТФЭ.
Согласно рекомендуемому варианту выполнения нагревательные средства содержат электронагреватель. Однако нагревательные средства могут также выполняться в другом виде и могут, например, содержать устройство нагрева за счет принудительной конвекции.
Средство предотвращения смещения в радиальном направлении содержит центрующее кольцо, тогда как средство предотвращения смещения в осевом направлении включает в себя осевой упор с сухой смазкой, содержащий подшипник большого диаметра.
Охватывающая деталь и охватываемая деталь с двойными стенками, между которыми создан вакуум, в предпочтительном варианте изготовлены из нержавеющей стали или из суперсплава на основе никеля.
Согласно конкретному варианту выполнения в вакуумированном пространстве между двойными стенками охватывающей и охватываемой деталей намотаны по спирали проволока или шнур из изоляционного материала. Внутренняя поверхность двойных стенок охватывающей и охватываемой деталей предпочтительно выполнена из сплава инвар на основе железа с содержанием никеля около 36%.
В случае применения изобретения к поворотной муфте высокого давления, например, когда поворотная муфта установлена на выходе турбонасоса и получает криогенную жидкость под давлением порядка 10-20 МПа, двойные стенки охватывающей и охватываемой деталей снабжены, как правило, внутренним усилением, образованным разделительными изоляционными пластинками с очень низкой теплопроводностью. В этом случае между двойными стенками желательно разместить металлические листы, образующие радиационный экран и чередующиеся с изоляционными пластинками.
Другое полезное свойство изобретения реализуется в том случае, когда между двойными стенками охватывающей и охватываемой деталей помещен цеолит, охлаждаемый за счет теплопроводности.
Изобретение охватывает также питающую линию для криогенной жидкости, соединяющую неподвижный модуль с подвижным модулем, обладающим, по меньшей мере, одной степенью свободы. Питающая линия согласно изобретению характеризуется тем, что содержит, по меньшей мере, одну поворотную криотехническую муфту, выполненную в соответствии с любым из описанных выше вариантов.
Такая линия подачи может содержать, например, три подобные поворотные криотехнические муфты с взаимно параллельными осями.
Изобретение распространяется также на ракетный двигатель, работающий на жидком криогенном топливе. Он содержит, по меньшей мере, топливный бак, турбонасос или два турбонасоса для питания устройства впрыска топлива, камеру сгорания, имеющую сопло с горловиной и диффузором и, по меньшей мере, один приводной механизм для изменения положения камеры сгорания относительно неподвижной опорной конструкции камеры сгорания. Двигатель по изобретению характеризуется тем, что дополнительно содержит, по меньшей мере, одну поворотную муфту или, по меньшей мере, две поворотные муфты, выполненную (выполненные) в соответствии с любым из описанных вариантов и установленную (установленные) в питающей линии (в питающих линиях), ведущей (ведущих) от топливного бака к турбонасосу (турбонасосам), или в питающей линии (в питающих линиях), ведущей (ведущих) от турбонасоса (турбонасосов) к устройству впрыска топлива.
Такой ракетный двигатель может устанавливаться в верхней ступени ракеты-носителя. В этом случае в конфигурации запуска ось его камеры сгорания ориентирована перпендикулярно продольной оси ракеты-носителя в пределах ±15°.
Предпочтительно ракетный двигатель имеет ось шарнирного поворота, расположенную на уровне горловины сопла. Ракетный двигатель предпочтительно содержит два турбонасоса, установленных в фиксированном положении относительно ракеты-носителя. Для обеспечения возможности разворота ракетного двигателя относительно ракеты-носителя вокруг, по меньшей мере, одной оси у каждого из этих турбонасосов выходной трубопровод питания устройства впрыска топлива снабжен, по меньшей мере, одной поворотной криотехнической муфтой, выполненной в соответствии с любым из описанных выше вариантов.
Таким образом, с точки зрения операционных возможностей изобретение позволяет увеличить угловое смещение криогенного ракетного двигателя относительно оси ракеты благодаря тому, что в двигателе используются поворотные криотехнические муфты, выполненные в соответствии с изобретением.
В частности, использование устройства тепловой развязки и локального нагрева позволяет применить фрикционную прокладку, работающую при температуре окружающей среды, тогда как топливо остается на низких температурах.
В случае пилотируемого ракетного двигателя его угловое смещение может, таким образом, значительно превышать 6°, т.е. смещение, которое допускается при использовании простого сильфона. Это представляет особый интерес для ракет-носителей многоразового использования. Изобретение, кроме этого, допускает угловые смещения без изменения внутреннего объема питающей линии, то есть без изменения давления.
Изобретение позволяет также существенно уменьшить высоту промежутка между ступенями ракеты-носителя путем размещения двигателя почти перпендикулярно ее продольной оси. Использование изобретения в составе испытательных стендов двигателя и во вспомогательном наземном оборудовании стартового стола (в трубопроводах наземного топливного питания ракеты) позволяет заменить гибкие линии с вакуумной изоляцией, применение которых связано со значительными усилиями и которые занимают значительное пространство, единственной линией, включающей три муфты по изобретению и обеспечивающей две аксиальные степени свободы и вращательную степень свободы, которая может быть использована для компенсации перекоса интерфейса питания.
В подобных наземных установках обеспечивается непрерывность вакуума между сегментами линии и муфтами, что облегчает реализацию изобретения.
Применительно к питанию ракеты-носителя, когда используются не столь крупные питающие линии, аэродинамические усилия будут более слабыми, так же как подвижные массы: таким образом, удельные значения усилий, приходящиеся на тарели клапанов, будут менее жесткими.
Такое исполнение может быть распространено на всю связь между неподвижным топливным баком для криогенного топлива и космическим кораблем. Оно обеспечивает меньшие габариты, чем в случае с использованием гибкой линии.
Краткое описание чертежей
Другие свойства и преимущества изобретения станут ясны из последующего описания конкретных вариантов его осуществления, приведенных в виде примеров со ссылкой на прилагаемые чертежи, на которых:
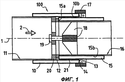
фиг.1 – это схематичный вид в осевом разрезе первого варианта выполнения криогенной поворотной муфты по изобретению;
фиг.2 – это сечение плоскостью, перпендикулярной оси поворотной муфты по фиг.1, иллюстрирующее вариант вкладыша с прорезью;
фиг.3 – это вид одной части поворотной муфты, показанной на фиг.1, в соответствии с вариантом, в котором используется вкладыш с напряженным упругим элементом;
фиг.4 и 5 – это частичные виды в осевом разрезе двух конкретных вариантов выполнения поворотных криотехнических муфт по изобретению, иллюстрирующие детали выполнения тонких двойных теплоизолирующих стенок;
фиг.6 – это детальный вид другого варианта выполнения двойной стенки, которая может быть интегрирована в поворотную криотехническую муфту высокого давления по изобретению;
фиг.7 – это частичный вид в осевом разрезе варианта выполнения поворотной муфты по изобретению, рассчитанного на применение в установках высокого давления;
фиг.8 и 9 – это схематичные виды ракетного двигателя, оснащенного поворотными муфтами по изобретению, соответственно в плоскости симметрии пространства между ступенями ракеты-носителя и в направлении по стрелке F на фиг.8, перпендикулярном данной плоскости симметрии;
фиг.10 – это схематичный вид сбоку на ракетный двигатель по фиг.8 и 9 в его номинальном положении;
фиг.11 – это вид в перспективе примера опорной конструкции камеры сгорания ракетного двигателя, оснащенного поворотными криотехническими муфтами в соответствии с изобретением, и
фиг.12 и 13 – это виды, соответственно снизу и сбоку, варианта установки поворотной муфты по изобретению в составной линии подачи криогенной жидкости.
Осуществление изобретения
Обратимся сначала к фиг.1, на которой приведен вид в разрезе конкретного варианта выполнения поворотной криотехнической муфты 100 по изобретению. Криогенная жидкость движется, например, по направлению стрелки 2 внутри криогенной питающей линии, включающей участки 11, 16 линии, из которых один выполнен с возможностью разворота относительно другого.
В примере, показанном на фиг.1, участок 11 представляет собой передний (верхний по направлению потока) участок, а участок 16 – задний (нижний по направлению потока) участок. Однако в других вариантах выполнения направление движения жидкости может быть противоположным относительно стрелки 2.
Ось 1 муфты, то есть ось разворота участка 16 линии относительно другого участка 11 линии, определяется с одной стороны средством предотвращения смещения в осевом направлении, включающим в себя осевой упор 19, а с другой стороны – средством предотвращения смещения в радиальном направлении, содержащим центрующее кольцо 13.
Осевой упор 19 служит для восприятия постоянных нагрузок и взаимодействует с центрующим кольцом 13 для поглощения изгибающих нагрузок, обусловленных в основном ускорениями статического и динамического характера.
Центрующее кольцо 13, которое имеет температуру окружающей среды, может представлять собой шарикоподшипник.
Осевой упор 19 может быть выполнен в виде подшипника скольжения или в виде шарикоподшипника. В нем используется технология сухой смазки, совместимой с криогенными жидкостями. В качестве примера: осевой упор 19 может включать обоймы из Ag-MoS2, шарики из Si3N4 и корпус из композитного материала бронза – ПТФЭ.
В варианте, показанном на фиг.1, 4 и 5, поворотная муфта 100 содержит охватывающую деталь 10, находящуюся в контакте с участком 11 линии и имеющую двойные стенки, между которыми создан вакуум. Муфта содержит, кроме того, охватываемую деталь 15, находящуюся в контакте с участком 16 линии и также имеющую двойные стенки, между которыми создан вакуум. Охватываемая деталь 15 частично входит в охватывающую деталь 10.
Самосмазывающийся вкладыш 12 кольцевой формы и, например, квадратного сечения упирается в опорную часть 20 осевого упора 19 и также контактирует со свободным концом 15а охватываемой детали 15 через опорную часть 20′ осевого упора 19 (фиг.4 и 5). Самосмазывающийся вкладыш 12 обеспечивает герметичность в отношении криогенной жидкости, т.е. является первой уплотнительной прокладкой.
Данный вкладыш может изготавливаться, например, из ПТФЭ, ПТФХЭ, графита с наполнителем, бронзы с добавкой ПТФЭ или из керамики с наполнителем. Последний вариант рекомендуется в случае применения жидкого кислорода. Вкладыш может также оснащаться нагруженным упругим элементом 38, например, в виде сильфона (фиг.3) для распределения давления контакта на опорную часть 20.
Нагруженный упругий элемент 38 имеет вторую функцию: он действует как предохранительный клапан. Если некоторый объем жидкости случайно проникает в кольцевой зазор 21 (например, в результате пиротехнического удара, который отжимает вкладыш 12 в течение доли секунды), жидкость будет испаряться при контакте с горячими стенками. Это приведет к увеличению давления, которое может повредить муфту. Нагруженный упругий элемент в этом случае вызовет смещение 15 вкладыша 12 и отвод избытка газа.
Такая же функция может легко выполняться за счет прорези 37 в верхней части вкладыша 12, обеспечивающей баланс давлений в питающей линии и в кольцевом зазоре 21 между двойными стенками охватываемой 15 и охватывающей 10 деталей. На фиг.2 приведен пример такой прорези, выполненной в вертикальной плоскости VV’ поворотной муфты.
Герметичность в отношении газов обеспечивается посредством второй (фрикционной) уплотнительной прокладки 14 из эластомера или ПТФЭ, работающей при температуре окружающей среды. Эта прокладка взаимодействует с центрующим кольцом 13, обеспечивающим ее функционирование в благоприятных условиях. Кольцевой зазор 21 заполняется, таким образом, газом под давлением криогенной жидкости.
Температура указанной прокладки 14 контролируется посредством принудительной конвекции с использованием нагревателя 17, в качестве которого может быть использован электронагреватель или нагревательное устройство другого типа. Окружающая среда второй уплотнительной прокладки 14 может быть в действительности очень холодной (тепловая защита криогенного двигателя или использование на верхней ступени в вакууме и тени). Нагрев (электрический или другой) позволяет поддерживать температуру, приемлемую для материала указанной прокладки. Нагревательные средства могут выполняться в виде втулки, охватывающей данную прокладку 14.
Вторая уплотнительная прокладка 14 может перемещаться относительно стенки детали 15 с тем, чтобы обеспечить дифференциальное расширение. Взамен этого перемещения можно, в частности, в случае использования муфты высокого давления, установить сильфон между второй уплотнительной прокладкой 14, центрующим кольцом 13 и двойной стенкой детали 10.
Тепловой поток, поступающий на вторую уплотнительную прокладку 14, уменьшается путем использования двойных стенок с вакуумом между ними, что устраняет конвективные потоки. Излучаемые потоки могут в случае необходимости устраняться с помощью дополнительной изоляции. Материалы, используемые для изготовления двойных стенок, например нержавеющая сталь или суперсплав на основе никеля, обладают при криогенных температурах очень низкой теплопроводностью, что способствует уменьшению теплового потока.
В случае применения двойных стенок со средним диаметром 100 мм, длиной 100 мм, толщиной 1 мм, выполненных из нержавеющей стали, интеграл теплопроводности в диапазоне 20-300 К которой равен 30,5 Вт/см, потери Р за счет теплопроводности в диапазоне 20-300 К сокращаются до уровня:
Р=30,5×6,3/10=19 Вт.
Таким образом, очень легко поддерживать на второй уплотнительной прокладке 14 нужную температуру, просто подавая эквивалентную электрическую мощность на нагреватель 17, если он электрического типа. Электронагреватель, как правило, будет способен создавать более высокую мощность с ограничением по температуре путем управления по принципу «все или ничего», либо за счет использования материала, который становится изолятором при превышении заданной температуры. Наличие подаваемой мощности позволяет предотвратить аварийное проникновение жидкости в зазор 21. Зазор 21 между деталями 10 и 15 минимизируется с тем, чтобы уменьшить «мертвый» объем, то есть уменьшить вероятность попадания в него криогенной жидкости.
Сопротивление моменту вращения очень незначительно. Силы трения второй уплотнительной прокладки 14, вкладыша 12 и двух подшипниковых опор 19 и 13 могут быть минимизированы за счет выбора соответствующей конструкции (подшипниковые опоры 19 и 13 могут быть выполнены в виде шарикоподшипников). Единственной значительной силой является нагрузка на подшипник 19.
Габариты по диаметру муфты 100 могут быть уменьшены путем изменения толщины двойных стенок на охватывающей 10 и охватываемой 15 деталях. Если не используется изоляционный материал, эти двойные стенки могут быть значительно сближены. Чтобы предотвратить случайный контакт между ними (как следствие овальности), будет достаточным применить проволоку 31, 32 или шнур квадратного сечения из изоляционного материала, намотанный в виде спирали на внутренней стенке 10b, 15b (фиг.4 и 5).
Уменьшение габаритов по диаметру позволяет уменьшить нагрузку, то есть 25 усилие, приходящееся на осевой упор 19. Другое преимущество заключается в выигрыше по массе, что особенно ценно для ступени ракеты-носителя.
Уровень вакуума внутри двойной стенки охватывающей 10 и охватываемой 15 деталей может быть улучшен благодаря использованию цеолита 33, 34, охлаждаемого за счет проводимости через стенку. Даже тогда, когда легкая утечка разрушает статический вакуум, охлаждение приводит давление к значению ниже 10-1 Па (за счет подавления конвекции и проводимости в остаточном газе).
Замена осевого упора 19 на подшипник 40 большого диаметра (фиг.5) позволяет устранить перекрытие центральной зоны, которая обусловлена наличием крестовины 18, несущей осевую подшипниковую опору, и увеличивает жесткость поворотной муфты.
Для наиболее легкого достижения баланса давлений вкладыш 12, обеспечивающий герметичность в отношении жидкостей, может быть просто открыт в его верхней части (фиг.2). Пары, появившиеся, скорее всего, в результате случайной утечки через вкладыш, отводятся, таким образом, естественным путем. Так как отверстие расположено в верхней части, жидкость при нормальной работе муфты не поступает обратно в кольцевой зазор 21.
Во избежание необходимости встраивания сильфона, компенсирующего расширение между наружной и внутренней частью 10b, 15b двойной стенки охватываемой детали 15 или охватывающей детали 10, можно выполнить данную внутреннюю стенку 10b, 15b из сплава на основе железа с содержанием никеля около 36%, который известен под наименованием “инвар”.
Как уже было показано, охватывающая 10 и охватываемая 15 детали на участках 11 и 16 могут иметь двойные стенки, между которыми создается вакуум с обеспечением очень высокой степени термоизоляции (фиг.1), или представлять собой двойные стенки, расположенные с малым зазором (фиг.4 и 5). Изоляционная пена 35, 36 может быть дополнительно нанесена на участки 11, 16 и частично покрывать охватывающую 10 и охватываемую 15 детали.
Эти условия хорошо подходят, например, для случая, когда поворотная муфта размещена между топливным баком и турбонасосом ракетного двигателя. В этом случае, поскольку давление в топливных баках относительно низкое, порядка 2-5 бар (200-500 кПа), будет относительно легко обеспечена устойчивость к локальному продольному изгибу наружной части двойной стенки.
Однако, если поворотная муфта находится в условиях высокого давления, например, порядка 100-200 бар (10-20 МПа), как в случае, когда она установлена между выходом канала нагнетания турбонасоса и устройством впрыска топлива, то на двойной стенке с вакуумированным внутренним пространством следует сделать усиление, как это показано на примере двойной стенки 50, изображенной на фиг.6.
В этом случае внутреннее усиление, образуемое установкой разделительных пластинок 54 с очень низкой теплопроводностью, предусматривается во внутреннем пространстве двойной стенки 50. Для того чтобы уменьшить тепловые потери из-за теплопроводности и излучения, усиление может содержать изолирующие пластинки 54, чередующиеся с металлическими листами 55, которые образуют радиационные экраны и размещаются параллельно внутренней (базовой) стенке 51.
Такое расположение позволяет воспользоваться нелинейным изменением теплопроводности в зависимости от температуры. Двойная стенка может быть цилиндрической или конической формы. Одна из стенок 51, 52, предпочтительно 52, 20 снабжается рифлениями 53, которые обеспечивают возможность установки данной стенки с натягом на элементы 54, 55 усиления. Эти рифления 53 обеспечивают, таким образом, компенсацию дифференциальных расширений.
В представленном на фиг.7 варианте выполнения для энергоносителей высокого давления упругая фрикционная вторая уплотнительная прокладка 14 может быть модифицирована так, что у нее не будет скоса. В этом случае она будет представлять собою прокладку 14а, просто прилегающую к плоской части 13а обоймы подшипника, которая тогда будет выполнять функцию осевого упора 39. В данном варианте подшипник 40 (фиг.5) представляет собой радиальную подшипниковую опору 40а, а самосмазывающийся вкладыш 12 покоится на напряженном упругом элементе 38 для компенсации дифференциального расширения между двумя частями муфты. Кольцевая прокладка 14а, предпочтительно с прямоугольным сечением, сопрягается с охватывающей деталью 10 за счет вкладыша 41, с которым она контактирует своим торцом.
Как показано на фиг.12 и 13, поворотные криотехнические муфты 101, 102, 103, соответствующие изобретению и имеющие взаимно параллельные оси, могут быть заключены между участками 111, 113, 115, 117, также преимущественно параллельными между собой, которые соединяются посредством коленчатых труб 117а, 117b, 114a, 114b, 116a, 116b. Каждая поворотная муфта обеспечивает одну вращательную степень свободы.
На фиг.12 и 13 изображена составная питающая линия с небольшими габаритами поворотных соединений, обеспечивающая перемещение криогенной 15 жидкости между неподвижным 120 и подвижным 110 модулями. Пунктиром показана та же линия в отведенном положении.
Такие составные питающие линии могут использоваться для следующих целей:
– заправка транспортного средства (автомобиль или автобус с топливным элементом, самолет, судно),
– заправка резервуара от грузового транспортного средства,
– обслуживание пусковой платформы.
В случае заправки ступени ракеты-носителя эти линии имеют гораздо меньшую массу, чем существующие технические решения, и меньшую парусность, что уменьшает нагрузку на бортовые системы ракеты-носителя. На фиг.8-11 представлены варианты применения поворотной криотехнической муфты по изобретению на ракетных двигателях, работающих на жидком криогенном топливе. В случае применения на ракетном двигателе взаимный разворот частей поворотной муфты согласно изобретению находится в диапазоне от нескольких градусов до 180 градусов в зависимости от поставленной задачи. Все электрические соединения и линии подачи энергоносителей малого сечения обеспечиваются системой кабелей и гибких каналов, образующих петли для обеспечения возможности разворота. Две подшипниковые опоры обеспечивают вращение рамы под двигателем и передачу тягового усилия, при этом две поворотные муфты остаются коллинеарными.
В случае верхней ступени продольная ось XX’ двигателя в конфигурации запуска почти перпендикулярна (в пределах ±15° для оптимизации положения диффузора сопла) оси YY’ ракеты-носителя. Двигатель удерживается в нужном положении либо посредством силового цилиндра, либо посредством фиксаторов, расположенных на юбке и удерживающих диффузор сопла.
Конструкция, включающая подшипниковые опоры на оси, перпендикулярной оси разворота, и воспринимающая тяговое усилие камеры сгорания, имеет отверстия, обеспечивающие прохождение линий питания и сильфонов, а также установочные площадки, обеспечивающие возможность установки турбонасосов. Она также оснащена средствами крепления силового цилиндра угловой настройки.
Данная конструкция и рама под двигателем могут быть металлическими или из композитного материала. Они могут быть выполнены монолитными, что обеспечивает, помимо прочего, функцию тепловой защиты от излучения сопла (когда оно охлаждается радиационным методом) или Солнца.
Подача топлива может осуществляться через поворотные муфты одновременно по линии с большим смещением относительно оси и по линии с малым смещением. Турбонасосы могут быть ориентированы либо параллельно, либо перпендикулярно оси двигателя. Турбонасосы могут быть неподвижными относительно ракеты-носителя, при этом четыре поворотных уплотнения высокого давления допускают ориентацию сопла с двумя степенями свободы.
В случае цикла с газогенератором турбонасосы устанавливаются на раме под двигателем, а камера сгорания получает топливо через две поворотные муфты высокого давления, расположенные на оси конструкции (внутри подшипниковых опор). Это позволяет уменьшить угловую инерцию камеры сгорания.
На фиг.8 показан разрез ракетного двигателя 205, установленного в пространстве между ступенями, ограниченном юбкой 203, нижней ступенью 204 и верхней ступенью 202 ракеты-носителя. Юбка 201, являющаяся станиной двигателя 205, крепится к верхней ступени 202. Двигатель 205 поддерживается в нужном положении либо за счет силового цилиндра 211, закрепленного на опорной конструкции (станине 201) двигателя 205, либо фиксаторами, расположенными на той же станине 201 и поддерживающими диффузор 207 сопла двигателя 205, у которого имеются также горловина 208 сопла и камера 209 сгорания.
Продольная ось Х’Х двигателя 205 почти перпендикулярна оси Y’Y ракеты-носителя, что обеспечивает значительный выигрыш по высоте относительно традиционного положения 205А, изображенного на фиг.8 пунктиром. Выигрыш по высоте представлен в виде отрезка Н.
Все электрические соединения и линии подачи жидкостей малого сечения обеспечиваются системой кабелей и гибких каналов, имеющих петли 210, допускающие угловое отклонение. Такое расположение обеспечивает легкий доступ к торцу устройства 209А впрыска топлива, что дает возможность очень легко заменить устройство зажигания.
Предпочтительно, как это показано на фиг.8, ось 206 шарнирного поворота двигателя не размещается в верхней части камеры сгорания, а находится на уровне горловины 208 сопла для максимального увеличения длины двигателя и, следовательно, максимального использования места в пространстве между ступенями.
Фиг.9 – это поперечный разрез в плоскости, перпендикулярной продольной оси XX’ ракетного двигателя и содержащей ось 206 разворота двигателя 205.
На фиг.9 одновременно можно видеть юбку 203, закрывающую пространство между ступенями, и юбку (станину) 201, которая передает на верхнюю ступень 202 5 ракеты-носителя тяговое усилие от двигателя 205, когда он развернут в рабочее положение.
Через 217, 218 обозначены две подшипниковые опоры, обеспечивающие вращение опорной рамы 214 двигателя вокруг оси 206 и восприятие тягового усилия.
Подача топлива к двигателю 205 производится посредством двух турбонасосов 221, 223, перед которыми находятся сильфоны 222, 224, делающие допустимым угловое отклонение относительно оси, перпендикулярной оси 206 поворота. Подшипниковые опоры на оси, перпендикулярной оси 206 поворота, не изображены.
На фиг.9 показаны две поворотные муфты 215, 216, линии 212, 213 подачи топлива, подходящие к поворотным муфтам 215, 216, и линии подачи топлива 225, 226, заключенные между поворотными муфтами 215, 216 и турбонасосами 221, 223. На фиг.9 также видны силовой цилиндр 211 и гибкие линии питания.
Фиг.10 представляет двигатель в положении тяги. Для приведения двигателя 205 в положение 205А тяги поворотом вокруг оси 206 был использован силовой цилиндр 211.
Функция цилиндра 211 может быть разделена на две части: первая часть должна обеспечить длинный и фиксированный ход для разворачивания из положения запуска в положение 205А тяги, а вторая часть – обеспечить более короткий ход вокруг среднего положения 205А, допуская угловое отклонение порядка ±6° для возможности пилотирования.
Относительно варианта выполнения, представленного на фиг.8-10, можно отметить, что ось 206 шарнирного поворота могла бы быть помещена на уровне диффузора 207, а не на уровне горловины 208 сопла. Однако в таком случае нужно было бы увеличить расстояние между этой осью и днищем топливного бака верхней ступени 202, что уменьшит выигрыш пространства на юбке 203. Таким образом, предпочтительным является размещение оси 206 на уровне горловины 208 сопла или вблизи нее.
При рассмотрении фиг.9 видно, что опоры 217, 218 опорной рамы 214 не совмещены с поворотными муфтами 215, 216. Эти элементы должны быть коллинеарными, но не обязательно совмещенными. Хотя подшипники поворотных муфт 215, 216 способны выдерживать значительные радиальные нагрузки, предпочтительней разделить функцию поворотного соединения линий питания и функцию восприятия тягового усилия.
На фиг.11 приводится пример конструкции 201′, которая несет ось 232 поворота, перпендикулярную оси 206 разворота на 90°, в пределах примерно 5°. Эта конструкция, которая также воспринимает тяговое усилие камеры сгорания ракетного двигателя 205, на фиг.9 не представлена.
Конструкция 201′ снабжена отверстиями 231, обеспечивающими проход линий транспортировки энергоносителей и сильфонов. На фиг.11 изображены турбонасосы 221, 223, которые установлены на соответствующих фланцах.
На фиг.11 представлены различные линии 233-239 транспортировки энергоносителей, таких как жидкий водород LH2, газообразный водород GH2, жидкий кислород LOX. Направление транспортировки между различными элементами показано стрелками. Цикл, представленный на фиг.11, соответствует вытеснительной подаче топлива, но возможны, естественно, и другие схемы.
В частности, турбонасосы 221, 223 могут быть установлены параллельно оси Х’Х камеры сгорания ракетного двигателя 205.
Заметим, что меры, позволяющие уменьшить высоту пространства между ступенями ракеты-носителя, имеют важное практическое значение. Так, монтаж, осуществленный в соответствии с фиг.8-11, может позволить выиграть более двух метров на длине юбки между ступенями ракеты-носителя. Это соответствует прямому выигрышу свыше 200 кг по выводимой на орбиту массе и увеличению жесткости ракеты-носителя, а следовательно, снижению уровня вибраций, влияющих на полезный груз.
Такие меры обеспечивают также удлинение ступени в рамках заданной длины ракеты-носителя, что позволяет значительно улучшить конструктивные показатели ступени.
Вышеописанные меры также применимы для двигателя с развертываемым диффузором. Они позволяют, в частности, объединить в одно целое несколько функциональных частей: тепловую защиту двигателя, опорную раму двигателя, опору механизма развертываемого диффузора. Так как ось шарнирного поворота может размещаться вблизи центра тяжести двигателя, начальный поворот и активирование сопла при пилотировании не оказывают нежелательного влияния на высоту ступени.
Так как охлаждение линий подачи топлива возможно в любой момент, а поворотные муфты обеспечивают постоянное сочленение участков линий питания, нет риска разъединения этих линий. Это значительно увеличивает безопасность работы ракеты-носителя.
Формула изобретения
1. Поворотная криотехническая муфта, характеризующаяся тем, что содержит первый участок (11) криогенной линии и второй участок (16) криогенной линии, способные взаимно разворачиваться вокруг оси (1) поворотной муфты, средство предотвращения смещения в радиальном направлении одного (16) из первого и второго участков (11, 16) криогенной линии, средство предотвращения смещения в осевом направлении одного (16) из первого и второго участков (11, 16) криогенной линии относительно другого (11) из указанных участков (11, 16), причем средство предотвращения смещения в радиальном направлении и средство предотвращения смещения в осевом направлении определяют указанную ось (1) поворотной муфты, первый участок (11) содержит охватывающую деталь (10) с двойными стенками, между которыми создан вакуум, второй участок (16) содержит охватываемую деталь (15) с двойными стенками, между которыми создан вакуум, по меньшей мере, частично входящую в охватывающую деталь (10), между свободным концом (15а) охватываемой детали (15), введенной в охватывающую деталь (10) и одним из средств предотвращения смещения в радиальном направлении и в осевом направлении заключена первая уплотнительная прокладка, между свободным концом (10а) охватывающей детали (10) и другим из средств предотвращения смещения в радиальном и осевом направлениях заключена вторая уплотнительная прокладка (14), при этом вблизи второй уплотнительной прокладки (14) расположены нагревательные средства (17).
2. Поворотная муфта по п.1, отличающаяся тем, что первая уплотнительная прокладка является самосмазывающимся вкладышем (12), который взаимодействует с опорной частью (20) средства предотвращения смещения в радиальном направлении или средства предотвращения смещения в осевом направлении.
3. Поворотная муфта по п.2, отличающаяся тем, что самосмазывающийся вкладыш (12) изготовлен из одного из следующих материалов: политетрафторэтилен (ПТФЭ), политрифторхлорэтилен (ПТФХЭ), графит с наполнителем, бронза с добавкой ПТФЭ, керамика с наполнителем.
4. Поворотная муфта по п.2, отличающаяся тем, что самосмазывающийся вкладыш (12) снабжен прорезью (37), обеспечивающей баланс давлений между внутренней зоной первого и второго участков и кольцевым зазором (21), заключенным между охватываемой (15) и охватывающей (10) деталями, перекрывающими одна другую.
5. Поворотная муфта по п.2, отличающаяся тем, что самосмазывающийся вкладыш (12) снабжен нагруженным упругим элементом (38), обеспечивающим распределение контактного давления на опорную часть (20), образуя тем самым предохранительный клапан.
6. Поворотная муфта по п.1, отличающаяся тем, что вторая уплотнительная прокладка (14) является упругой фрикционной прокладкой, взаимодействующей с наружной поверхностью охватываемой детали (15) вблизи от средства предотвращения смещения в радиальном направлении.
7. Поворотная муфта по п.1, отличающаяся тем, что вторая уплотнительная прокладка является кольцевой прокладкой (14а) прямоугольного сечения, которая прилегает к плоскому участку средства предотвращения смещения в осевом направлении.
8. Поворотная муфта по п.6, отличающаяся тем, что вторая уплотнительная прокладка выполнена из эластомера или ПТФЭ.
9. Поворотная муфта по п.1, отличающаяся тем, что нагревательные средства (17) содержат электронагреватель.
10. Поворотная муфта по п.1, отличающаяся тем, что нагревательные средства (17) содержат устройство нагрева за счет принудительной конвекции.
11. Поворотная муфта по п.1, отличающаяся тем, что средство предотвращения смещения в радиальном направлении содержит центрующее кольцо (13).
12. Поворотная муфта по п.1, отличающаяся тем, что средство предотвращения смещения в осевом направлении включает в себя осевой упор (19) с сухой смазкой.
13. Поворотная муфта по п.1, отличающаяся тем, что средство предотвращения смещения в осевом направлении включает в себя подшипник (40) большого диаметра.
14. Поворотная муфта по п.1, отличающаяся тем, что охватывающая деталь (10) и охватываемая деталь (15) с двойными стенками, между которыми создан вакуум, изготавливаются из нержавеющей стали или суперсплава на основе никеля.
15. Поворотная муфта по п.1, отличающаяся тем, что в вакуумированном пространстве между двойными стенками охватывающей (10) и охватываемой (15) деталей намотаны по спирали проволока или шнур (31) из изоляционного материала.
16. Поворотная муфта по п.1, отличающаяся тем, что внутренняя поверхность (10b, 15b) двойных стенок охватывающей (10) и охватываемой (15) деталей выполнена из сплава инвар на основе железа с содержанием никеля около 36%.
17. Поворотная муфта по п.1, отличающаяся тем, что двойные стенки охватывающей (10) и охватываемой (15) деталей снабжены внутренним усилением, образованным разделительными изоляционными пластинками (54) с очень низкой теплопроводностью.
18. Поворотная муфта по п.17, отличающаяся тем, что между двойными стенками (51, 52) размещены металлические листы (55), образующие радиационные экраны и чередующиеся с изоляционными пластинками (54).
19. Поворотная муфта по любому из пп.1-18, отличающаяся тем, что между двойными стенками охватывающей (10) и охватываемой (15) деталей помещен цеолит (33, 34), охлаждаемый за счет теплопроводности.
20. Питающая линия для криогенной жидкости, соединяющая неподвижный модуль (120) с подвижным модулем (110), обладающим, по меньшей мере, одной степенью свободы, отличающаяся тем, что содержит, по меньшей мере, одну поворотную криотехническую муфту, выполненную в соответствии с любым из пп.1-19.
21. Питающая линия по п.20, отличающаяся тем, что содержит три поворотные криотехнические муфты (101, 102, 103) с взаимно параллельными осями, выполненные в соответствии с любым из пп.1-19.
22. Ракетный двигатель, работающий на жидком криогенном топливе и содержащий, по меньшей мере, один топливный бак, турбонасос или два турбонасоса (221, 223) для питания устройства (209) впрыска топлива, камеру (205) сгорания, имеющую сопло с горловиной (208) и диффузором (207), и, по меньшей мере, один приводной механизм (211) для изменения положения (205) камеры сгорания относительно неподвижной опорной конструкции (201), отличающийся тем, что дополнительно содержит, по меньшей мере, одну поворотную муфту или, по меньшей мере, две поворотные муфты (215, 216), выполненную (выполненные) в соответствии с любым из пп.1-19 и установленную (установленные) в питающей линии (в питающих линиях), ведущей (ведущих) от топливного бака к турбонасосу (турбонасосам), или в питающей линии (в питающих линиях), ведущей (ведущих) от турбонасоса (турбонасосов) к устройству впрыска топлива.
23. Ракетный двигатель по п.22, отличающийся тем, что установлен в верхней ступени ракеты-носителя, причем в конфигурации запуска ось XX’ его камеры сгорания ориентирована перпендикулярно продольной оси YY’ ракеты-носителя в пределах ±15°.
24. Ракетный двигатель по п.22, отличающийся тем, что имеет ось шарнирного поворота (206), расположенную на уровне горловины сопла.
25. Ракетный двигатель по п.21, отличающийся тем, что содержит два турбонасоса, установленные в фиксированном положении относительно ракеты-носителя, у каждого из которых питающая линия, ведущая к устройству (209) впрыска топлива, снабжена, по меньшей мере, одной указанной поворотной криотехнической муфтой для обеспечения возможности разворота ракетного двигателя относительно ракеты-носителя вокруг, по меньшей мере, одной оси.
РИСУНКИ
PD4A – Изменение наименования обладателя патента СССР или патента Российской Федерации на изобретение
(73) Новое наименование патентообладателя:
СНЕКМА (FR)
Адрес для переписки:
191186, Санкт-Петербург, а/я 230, АРС-ПАТЕНТ
Извещение опубликовано: 20.02.2009 БИ: 05/2009
|
|