|
|
(21), (22) Заявка: 2005117523/06, 07.06.2005
(24) Дата начала отсчета срока действия патента:
07.06.2005
(43) Дата публикации заявки: 20.12.2006
(46) Опубликовано: 10.09.2008
(56) Список документов, цитированных в отчете о поиске:
RU 2149271 C1, 20.05.2000. US 3942502 A, 09.03.1976. GB 2196059 A, 20.04.1988. US 3722321 А, 27.03.1973. SU 1355741 A1, 30.11.1987. SU 1592549 A, 15.09.1990.
Адрес для переписки:
445633, Самарская обл., г. Тольятти, ул. Заставная, 2, корп.3/1, ОАО “АВТОВАЗ”, ДТР, ПЛО, начальнику патентно-лицензионного отдела А.П. Голикову
|
(72) Автор(ы):
Фесина Михаил Ильич (RU), Ломакин Валерий Владимирович (RU), Малкин Илья Владимирович (RU), Дерябин Игорь Владимирович (RU), Андреянов Сергей Александрович (RU)
(73) Патентообладатель(и):
Открытое акционерное общество “АВТОВАЗ” (RU)
|
(54) КОЖУХ КАРТЕРА СЦЕПЛЕНИЯ СИЛОВОГО АГРЕГАТА КОЛЕСНОГО ТРАНСПОРТНОГО СРЕДСТВА
(57) Реферат:
Изобретение относится к машиностроению, в частности к корпусным деталям машин и механизмов, а конкретно – к кожухам силовых агрегатов колесных транспортных средств, например легковых автомобилей. Кожух изготовлен из низкошумного материала, последний состоит из несущего армирующего слоя, покрытого слоем вязкоупругого полимерного материала с высоким внутренним трением, а в зоне геометрического центра кожуха выполнен трубчатый вентиляционный канал, ориентированный своим открытым внешним срезом в направлении вращения маховика. Защитный кожух дополнительно может содержать четыре трубчатых вентиляционных канала, расположенных напротив центров тяжести условных квадрантов, образованных пересечением продольных и поперечных плоскостей, пересекающихся в зоне геометрического центра защитного кожуха. В зоны крепежа кожуха к картеру сцепления введены закладные виброизолирующие втулки, и его периферическая зона сопряжения с картером сцепления содержит объемную резиновую прокладку. Практическое использование изобретения позволяет уменьшить низко- и среднечастотное звуковое излучение, генерируемое силовым агрегатом транспортного средства, при одновременном уменьшении стоимости и повышении его эксплуатационных качеств. 3 з.п. ф-лы, 8 ил.
Изобретение относится к машиностроению, в частности к корпусным деталям машин и механизмов, а конкретно – к кожухам силовых агрегатов колесных транспортных средств, например легковых автомобилей.
Устройство и работа силового агрегата, например автомобиля ВА3-2108, описаны, в частности, в книге В.А.Вершигора и др. Автомобиль ВА3-2108, М., издательство ДОСААФ СССР, 1986, стр.105-106, рис.51. Как это видно из рис.51 указанной публикации, картер сцепления жестко смонтирован с помощью болтовых соединений к задней торцевой стенке блок-картера двигателя внутреннего сгорания (далее ДВС). Нижняя выступающая часть картера сцепления закрыта металлическими штампованными пластинчатыми деталями, включающими верхнюю и нижнюю крышки, которые выполняют функцию защитного кожуха (далее – защитный кожух). Картер сцепления является динамически нагруженной корпусной деталью силового агрегата транспортного средства, жестко соединенной с блок-картером ДВС – силовой установкой, генерирующей как полезную механическую энергию, так и паразитную виброакустическую энергию, которая беспрепятственно передается как жестким структурным путем через крепежные элементы на картер сцепления в зону его взаимного стыка с блок-картером ДВС, так и воздушным путем, излучаемым зоной примыкания картера ДВС с картером сцепления. Вследствие этого картер сцепления динамически (виброакустически) возбуждается и, в свою очередь, излучает акустическую (шумовую) энергию своими вибрирующими стенками как во внешнюю среду, так и в замкнутое пространство самого картера сцепления. В этом замкнутом пространстве генерируется также и акустическая энергия, излучаемая вращающимся колеблющимся маховиком ДВС (в основном – это изгибные и осевые виброперемещения маховика) и вращающимися деталями узла механизма сцепления (аэродинамический шум пропеллерного типа). Таким образом, в указанном внутреннем замкнутом пространстве, охваченном стенками картера сцепления, локализуется акустическая энергия высокой интенсивности с образованием стоячих акустических волн на собственных модах колебаний воздушной полости картера под защитным кожухом. При этом наиболее слабым звеном этой механической колебательной и шумоизлучательной системы является, как правило, наиболее виброактивные тонкостенные стенки защитного кожуха картера сцепления, возбуждаемые как жестким структурным путем от зоны их соединения с виброактивным торцом картера сцепления, так и воздушным путем со стороны зашумленного замкнутого картерного пространства. По сути дела, защитный кожух картера сцепления представляет собой вибрирующий пластинчатый излучатель звука типа диафрагмы громкоговорителя акустической системы. Например, как показали эксперименты, применение штатного защитного стального штампованного кожуха картера сцепления в конструкции силового агрегата автомобиля ВА3-2108 приводит к увеличению общих уровней шума, регистрируемых в нижней зоне силового агрегата на величину до 3 дБА (см. фиг 2). Как видно из фиг.3, данное увеличение общего уровня шума обусловлено возрастанием уровней звука в области высоких частот (1000…6300 Гц). При этом штатный защитный кожух одновременно обеспечивает и достаточно эффективную изоляцию звукового излучения из полости картера сцепления в области низких (20…125 Гц) – до 10 дБ и средних (200…500 Гц) частот – до 8 дБ.
В качестве прототипа принято известное техническое решение по патенту Российской Федерации №2149271, кл. 7 F02В 77/13, из которого известен низкошумный кожух картера сцепления силового агрегата транспортного средства, в частности легкового автомобиля, содержащий две тонколистовые детали (нижняя и верхняя крышки), закрепленные в стыке соединения блок-картера ДВС с картером сцепления и изготовленные из высокодемпфирующего металлического пористого волокнистого прессованного газопроницаемого материала, например из пористого сетчатого материала (далее ПСМ). В это же время, известная конструкция по прототипу обладает существенными недостатками, т.к. конструкция кожуха по прототипу обеспечивает слабую звукоизоляцию в области низких и средних частот звукового спектра ввиду использования неплотного пористого воздухопроницаемого ПСМ, обладающего низкой звукоизолирующей способностью в указанных частотных областях (пористый слой способен эффективно поглощать лишь высокочастотную звуковую энергию). В процессе эксплуатации транспортного средства, оборудованного защитным кожухом, выполненным по прототипу, из-за возможного попадания на поверхность защитного кожуха абразивной пыли, воды, смазки и т.п. происходит запыление («забивание») мелких пор применяемого материала (ПСМ), что приводит, во-первых, к частичной потере звукопоглощающих свойств структуры ПСМ, во-вторых, к снижению эффективности вентиляции внутреннего пространства картера, в котором размещены термонагруженные элементы механизма сцепления, и как следствие – ухудшается теплоотвод от термонагруженной конструкции корпуса картера сцепления (от «горячего» блока цилиндров и «горячих» деталей и узлов механизма сцепления в процессе фрикционного трения накладок). Еще одним из существенных негативных факторов является высокая стоимость применяемого в прототипе кожуха из ПСМ.
Задачей изобретения является обеспечение снижения низко- и среднечастотного звукового излучения, генерируемого силовым агрегатом транспортного средства, при уменьшении стоимости и повышении его эксплутационных качеств.
Для решения поставленной технической задачи предлагается конструкция защитного кожуха, выполненного из вязкоупругого с высоким внутренним трением («глухого») полимерного материала, например полиамида, эпоксидной смолы, полиэфирной смолы и т.п., с внутренним армирующим слоем типа стеклоткани, металлической сетки или перфорированной металлической пластины и содержащего, по крайней мере, один трубчатый вентиляционный канал, расположенный в зоне геометрического центра (или в зоне центра тяжести объема, образованного внутренним воздушным пространством под картером сцепления и защитным кожухом) данного кожуха и ориентированный своим открытым внешним срезом в направлении вращения маховика ДВС.
Оптимизация месторасположения отверстий осуществляется исходя из того, что зона виброскоростей защитного кожуха и зона узлов давлений воздушной полости, образуемой внутренним пространством картера сцепления под защитным кожухом, тяготеют к центру тяжести проекции защитного кожуха. Аналогичное заключение справедливо и для собственных форм механических колебаний, описывающих распределение вибронапряжений в структуре защитного кожуха, а колебательные узлы собственных мод воздушного объема полости, ограниченной стенками картера сцепления и защитного кожуха, по сути, совпадают как раз с пучностями виброскоростей стенки защитного кожуха. Зона совпадения узловых линий давления низших продольных и поперечных форм колебаний воздушного объема полости, ограниченной стенками картера сцепления и защитного кожуха, с зоной максимума виброскоростей механических колебаний стенки защитного кожуха реализуется как раз вблизи центра тяжести проекции защитного кожуха (для наиболее часто используемых в настоящее время защитных кожухов стенки постоянной толщины).
С учетом вышеприведенных выражений для практического определения оптимального (с акустической точки зрения) месторасположения входного отверстия трубчатого вентиляционного канала следует на плоскость разъема картера сцепления, на которой закреплен защитный кожух, спроецировать геометрическую фигуру, представляющую воздушный объем защитного кожуха, определить главные центральные оси инерции проекции данного воздушного объема, в точке пересечения которых будет располагаться центр тяжести проекции воздушного объема, который обратно спроецировать в обратную сторону на поверхность защитного кожуха. В полученной точке на поверхности защитного кожуха расположить входное отверстие трубчатого вентиляционного канала.
На практике не всегда удается указанным методом очень точно конкретизировать рациональное по акустике месторасположение отверстия. В этом случае окончательное определение уточненных положений зон максимумов виброскоростей и узлов давлений и далее мест их наиболее эффективного пересечения может быть при необходимости определено экспериментальным способом при помощи виброщупов и пространственно перемещаемых акустических зондов.
Как видно из фиг.7 и 8, применение заявляемого кожуха картера сцепления в конструкции силового агрегата транспортного средства, в частности легкового автомобиля, обеспечивает по сравнению со штатным защитным кожухом дополнительное снижение звукового излучения в области низких (20…125 Гц) и средних (200…500 Гц) частот и, наряду с этим, заграждает излучение высокочастотного шума из внутренней полости картера сцепления (в отличие от варианта с демонтированным защитным кожухом).
Таким образом, поставленная техническая задача решается, во-первых, за счет применения в конструкции защитного кожуха низкошумного материала, состоящего из несущего армирующего слоя, покрытого слоем вязкоупругого полимерного материала с высоким внутренним трением, и обеспечивающего за счет реализации высокого внутреннего трения в структуре материала и увеличения изгибной жесткости защитного кожуха эффективное подавление как средне-, так и высокочастотного звукового излучения. Во-вторых, выполнение трубчатого вентиляционного канала в зоне геометрического центра защитного кожуха позволяет снизить низкочастотное звуковое излучение структуры защитного кожуха, в первую очередь, вследствие реализации эффекта короткого акустического замыкания при перетекании упругой воздушной среды через образованное отверстие перфорации между лицевой и тыльной сторонами колеблющейся стенки защитного кожуха, т.к. именно в этой зоне защитного кожуха размещены пучности виброскоростей на первой собственной форме механических колебаний защитного кожуха, как закрепленной (опертой) по периметру пластины. В связи с этим, в процессе колебаний такой перфорированной пластины (диафрагмы) эффективно компенсируются поля давлений по обеим сторонам вибрирующей стенки защитного кожуха на его первой (поршневой) вибрационной моде. В-третьих, использование трубчатого вентиляционного канала, сообщающего полость картера с окружающей средой, способствует принудительному выбросу горячего воздуха и предотвращению попадания абразивной пыли в полость картера сцепления за счет повышения эффективности вентиляции внутреннего пространства картера, в котором размещены детали механизма сцепления, т.е. улучшает эксплутационные показатели транспортного средства. Выполнение вентиляционного отверстия в виде трубчатого канала способствует увеличению звукоизолирующего эффекта по ослаблению передачи средне- и высокочастотного звукового излучения из зашумленной воздушной полости картера сцепления, так как в трубчатом вентиляционном канале реализуется большая масса колеблющегося воздуха, способствующая снижению возбуждаемых амплитуд ее колебаний в сравнении с вариантом «тонкого» вентиляционного отверстия, в котором меньшая масса воздуха колеблется при прочих равных условиях возбуждения с большей амплитудой отклика.
При необходимости повышения эффективности конструкции кожуха как с точки зрения улучшения акустики, так и с точки зрения вентиляции картера сцепления возможно использование дополнительных четырех вентиляционных каналов с меньшей (примерно в 4 раза) площадью проходных сечений каждого из вентиляционных отверстий, расположенных напротив центров тяжести условных квадрантов, образованных пересечением продольных и поперечных плоскостей, пересекающихся в зоне геометрического центра защитного кожуха, т.е. в местах размещения пучностей колебаний вторых собственных вибрационных мод механических колебаний стенки защитного кожуха, как опертой по краям пластины. Также для дополнительного снижения передачи вибрационной энергии от корпуса картера сцепления на защитный кожух и снижение структурного (вибрационного) шума защитного кожуха возможно применение закладных виброизолирующих втулок, интегрированных в зоны крепежа защитного кожуха к картеру сцепления, а в периферической зоне сопряжения защитного кожуха с картером – введение уплотнительной объемной резиновой прокладки.
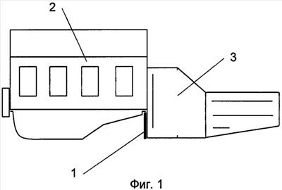
На фиг.1 показано размещение заявляемого устройства кожуха в составе силового агрегата транспортного средства. Позициями на фиг.1 показаны: 1 – кожух, 2 – ДВС, 3 – картер сцепления.
На фиг.2 и 3 показано влияние применяемой штатной конструкции защитного кожуха картера сцепления на шум, излучаемый во внешнюю среду, регистрируемый в нижней зоне силового агрегата (при установленном и демонтированном защитном кожухе), в виде графических зависимостей общих уровней шума (фиг.2) и уровней 1/3 октавных спектральных составляющих (фиг.3).
На фиг.4 показаны внешний вид заявляемого кожуха и месторасположение вентиляционного канала. Позициями на фиг.4 обозначены: 1 – кожух, 6 – трубчатый вентиляционный канал, 7 – открытый внешний срез (отгиб) трубчатого канала, 9 – крепежные элементы.
На фиг.5 показано сечение структуры заявляемого кожуха. Позициями на фиг.5 обозначены: 4 – вязкоупругий полимерный материал, 5 – внутренний армирующий слой, 6 – трубчатый вентиляционный канал, 7 – открытый внешний срез (отгиб) трубчатого канала.
На фиг.6 показан один из вариантов крепления заявляемого кожуха через виброизолирующие втулки. Позициями на фиг.6 обозначены: 1 – кожух, 8 – виброизолирующая втулка, 9 – крепежный элемент.
На фиг.7 и 8 показано влияние установки заявляемого кожуха картера сцепления, выполненного из эпоксидной смолы, армированной стеклотканью, на шум, излучаемый во внешнюю среду, регистрируемый в нижней зоне силового агрегата, в виде графических зависимостей общих уровней шума (фиг.7) и уровней 1/3 октавных спектральных составляющих (фиг.8).
Кожух 1, выполненный из вязкоупругого с высоким внутренним трением («глухого») полимерного материала 4, например полиамида, эпоксидной смолы, полиэфирной смолы и т.п., с внутренним армирующим слоем 5 типа стеклоткани, металлической сетки или перфорированной металлической пластины содержит, по крайней мере, один трубчатый вентиляционный канал 6, расположенный в геометрическом центре данного кожуха и ориентированный своим открытым внешним срезом (отгибом) 7 в направлении вращения маховика ДВС, жестко или через виброизолирующие втулки 8 закреплен, например болтами, шпильками или другими аналогичными крепежными элементами 9 к картеру сцепления 3 вне зоны сопряжения его поверхности с блок-картером ДВС 2.
Выполнение кожуха 1 из низкошумного конструкционного материала, содержащего внутренний армирующий слой 5, интегрированный в структуру вязкоупругого с высоким внутренним трением («глухого») полимерного материала 4 позволяет устранить недостатки. присущие прототипу, обозначенные выше. Ввиду того, что структура кожуха 1 обладает высокими вибродемпфирующими свойствами в области средних и высоких частот, а применение вентиляционного канала 6, расположенного в геометрическом центре кожуха 1 и ориентированного своим открытым внешним срезом (отгибом) 7 по направлению вращения маховика, с принудительной вентиляцией пространства полости под картером сцепления, как обеспечивает подавление высокочастотного излучения от вибрационных колебаний кожуха 1, так и увеличивает в низкочастотной области звукового спектра звукоизолирующий эффект по передаче во внешнюю среду излучения звука из зашумленного пространства картера сцепления 3. При этом улучшает эффективность вентиляции внутреннего пространства картера сцепления 3 с соответствующим дополнительным отводом тепла в окружающую среду, что, как следствие, позволяет улучшить при относительно низких материальных затратах акустические и эксплуатационные характеристики транспортного средства в целом.
Формула изобретения
1. Кожух картера сцепления силового агрегата транспортного средства, в частности легкового автомобиля, изготовленный из низкошумного материала, отличающийся тем, что материал состоит из несущего армирующего слоя, покрытого слоем вязкоупругого полимерного материала с высоким внутренним трением, а в зоне геометрического центра кожуха выполнен трубчатый вентиляционный канал, ориентированный своим открытым внешним срезом в направлении вращения маховика.
2. Кожух по п.1, отличающийся тем, что кожух дополнительно содержит четыре трубчатых вентиляционных канала, расположенных напротив центров тяжести условных квадрантов, образованных пересечением продольных и поперечных плоскостей, пересекающихся в зоне геометрического центра кожуха.
3. Кожух по п.1, отличающийся тем, что в зоны крепежа кожуха к картеру сцепления интегрированы закладные виброизолирующие втулки.
4. Кожух по п.1, отличающийся тем, что его периферическая зона сопряжения с картером сцепления содержит объемную резиновую прокладку.
РИСУНКИ
|
|