|
|
(21), (22) Заявка: 2006122240/06, 22.06.2006
(24) Дата начала отсчета срока действия патента:
22.06.2006
(43) Дата публикации заявки: 10.01.2008
(46) Опубликовано: 10.09.2008
(56) Список документов, цитированных в отчете о поиске:
RU 2189470 C1, 20.09.2002. RU 2102613 C1, 20.01.1998. GB 2115490 A, 07.09.1983. US 4799870 A, 24.01.1989. US 5171142 A, 15.12.1992. GB 1196774 A, 01.07.1970. WO 86/01856 A, 27.03.1986.
Адрес для переписки:
600021, г.Владимир, ул. Стрелецкая, 32, кв.2, В.Н.Карфидову
|
(72) Автор(ы):
Карфидов Владимир Николаевич (RU)
(73) Патентообладатель(и):
Карфидов Владимир Николаевич (RU)
|
(54) РОТОРНЫЙ ДВИГАТЕЛЬ КАРФИДОВА
(57) Реферат:
Изобретение относится к роторным двигателям, компрессорам, вакуумным насосам и гидравлическим машинам. Роторный двигатель содержит корпус с установленным в нем ротором с валом, с выполненными в нем каналами воздуха, топлива и масла. На сферической поверхности вала выполнены напорные площадки. В площадках выполнены окна воздуха и топлива в зоне их совмещения с окнами воздуха и топлива в шаровой опоре. Окна в шаровой опоре сообщены с камерами сгорания. Камеры сгорания нагреты до температуры, превышающей температуру воспламенения топлива, и выполнены в диске с жестко закрепленным на валу основанием ротора. На роторе подвижно установлены конуса с впускными окнами воздуха и топлива. Сфера и шаровая опора примыкают к внешним и внутренним окружностям конусов. Лопатки примыкают к торцам конусов и шарнирно связаны с диском. Лопатки своими внешними и внутренними окружностями совмещены со сферой и с половинами шаровой опоры. Каждая из половин шаровой опоры закреплена на внутренней окружности половин диска. Диск установлен диагонально по линиям смыкания с конусами с образованием рабочих объемов. Выпускные окна отработанных газов выполнены в сфере между ее торцами и диском в конце объема расширения, на расстоянии от линии смыкания, превышающем 180 градусов поворота ротора. В конусах, примыкающих к лопаткам, выполнены прорези в зоне их совмещения с выпускными окнами. Техническим результатом является повышение эффективности работы и упрощение конструкции двигателя. 8 з.п. ф-лы, 6 ил.
Изобретение относится к области машиностроения, к роторным двигателям, компрессорам, к вакуумным насосам и гидравлическим машинам.
Изобретение направлено на решение задачи создания экономичного, не шумящего, с высокой удельной мощностью и большим ресурсом роторного двигателя внутреннего сгорания, экологически более чистого, работающего на разных видах топлива.
Из патентной литературы известен «Роторный двигатель», содержащий корпус, снабженный двумя роторами, шаровые камеры которых жестко связаны с конусами, сообщенными полой перемычкой с выполненной в ней камерой сгорания, причем каждый ротор содержит диск, установленный в диагонально расположенной канавке на внутренней стороне корпуса с образованием первого и второго объемов, разделенных диском, жестко связанным с шаровой опорой и сферой с примыкающими к ее рабочей поверхности и к шаровой опоре лопатками, установленными в диске и в конусах в которых примыкающими к лопаткам выполнены окна, а на внешней поверхности шаровой камеры выполнены канавки параллельно лопаткам с установленными в них направляющими элементами, оси которых выполнены в шаровой опоре, лопатки в диске закреплены шарнирно, а в конусах – с возможностью их возвратно-поступательных перемещений.
Недостатком данного технического решения является то, что известными средствами обеспечить герметизацию рабочих объемов двигателя очень сложно. Эта же причина создает проблему подачи компонентов горючей смеси в камеру сгорания. Сама камера сгорания вне рабочего объема ротора так же создает проблемы с распределением раскаленных газов по рабочим объемам рабочего ротора (см. патент РФ 2151312 C1, F02В 53/08, 20.06.2000).
Известен также «Роторный двигатель Карфидова», содержащий корпус, снабженный двумя роторами, сообщенными между собой гантелеобразной перемычкой с выполненными на сферической поверхности перемычки канавками параллельно лопаткам, с установленными в канавках направляющими элементами, оси которых выполнены в шаровых опорах, последние установлены с возможностью совместного с конусами вращения, с разными углами и диагонально расположены в каждом роторе с закрепленными на дисках шаровыми опорами и сферами, рабочие поверхности которых сопряжены с внешними и внутренними окружностями конусов и лопаток. На сферической поверхности перемычки рабочего ротора выполнены противоположно расположенные напорные камеры, с внутренней стороны соединенные с трубопроводом с установленным в нем клапаном, а с внешней стороны установлены гильзы с юбками, совпадающими по размеру с параллельными стенками напорных камер, внешними торцами закрепленных на напорных площадках и примыкающих к внутренней поверхности шаровой опоры в зоне совмещения ее окон «топлива» и «воздуха» с окнами «топлива» и «воздуха» в напорных площадках, причем каждое окно последних сообщено с соответствующим трубопроводом.
Недостатком данного технического решения является то, что двухроторный двигатель является более сложным и имеет значительно большие габариты по сравнению с однороторным, что затрудняет его использование для привода малогабаритной техники с очень малым рабочим объемом двигателя, такой как бензопилы, газонокосилки и т.п., а также то, что для доработки горячих газов до более низких температуры и давления необходимо иметь рабочий ротор большего объема, чем компрессор. Данное решение принято за прототип (см. патент РФ 2189470 С1, 7 F02В 53/08, 11/00, F01C 3/00, 20.09.2000, Бюл. №26).
Техническим результатом от использования изобретения является повышение эффективности работы двигателя за счет инерционного и турбонаддува, катализаторов и высокотемпературных камер сгорания, обеспечивающих высокую температуру сгорания горючих смесей (до 3000°С), способность работы двигателя на разных видах топлива, а также совершение работы на дополнительные 40-60 градусов поворота ротора с последующей доработкой оставшегося избыточного давления на направляющем аппарате, что соответствует доработке на турбине. Ускоренное удаление отработанных газов при помощи турбовыпуска снижает температуру и атмосферное давление в выпускных окнах, что увеличивает кпд двигателя и уменьшает шум от его работы. Техническим результатом является и упрощение конструкции двигателя при выполнении его в однороторном варианте с небольшим рабочим объемом для использования его вместо двухтактных двигателей. Двигатель полностью сбалансирован, поддерживает герметичность рабочих объемов на протяжении всего рабочего ресурса, с компенсацией износа трущихся поверхностей, и поэтому имеет достаточно большой рабочий ресурс. Пуск двигателя осуществляется при любой температуре окружающей среды за счет одновременной подачи воздуха и топлива и постоянных электрических разрядов между камерой сгорания и инжектором в момент пуска, затем, после запуска двигателя зажигание отключается, а степень сжатия увеличивается за счет запираемого давления в объемах сжатия в момент закрытия окон. Турбонаддув и турбовыпуск обеспечиваются не за счет использования специальных турбин, а за счет самой конструкции двигателя. Упрощена герметизация тепловых стыков в шаровой опоре путем их перекрытия внутренними окружностями лопаток, улучшена система смазки и ее циркуляция.
Указанный технический результат достигается за счет того, что роторный двигатель, содержащий корпус с установленным в нем ротором, с валом ротора, с выполненными в нем каналами воздуха, топлива и масла, с напорными площадками на сферической поверхности вала, с выполненными в напорных площадках окнами воздуха и топлива в зоне их совмещения с окнами воздуха и топлива в шаровой опоре, сообщенными с камерами сгорания, нагретыми до температуры, превышающей температуру воспламенения топлива, и выполненными в диске, с жестко закрепленным на валу основанием ротора, на котором подвижно установлены конуса, с впускными окнами воздуха и топлива, с примыкающими к внешним и внутренним окружностям конусов и лопаток сферой и шаровой опорой, с примыкающими к торцам конусов лопатками, шарнирно связанными с диском, и своими внешними и внутренними окружностями, совмещенными со сферой и с половинами шаровой опоры, причем каждая из половин шаровой опоры закреплена на внутренней окружности половин диска, установленного диагонально по линиям смыкания с конусами, с образованием рабочих объемов.
Технический результат достигается также за счет того, что выпускные окна отработанных газов расположены в сфере между ее торцами и диском в конце объема расширения, на расстоянии от линии смыкания, превышающем 180 градусов поворота ротора, причем в конусах, примыкающих к лопаткам и к сфере, выполнены прорези в зоне их совмещения с указанными окнами. Объемы раздельного заполнения воздуха и топлива, объемы вытеснения, сжатия, расширения и выпуска выполнены в едином роторе. Выпускные клапаны из объемов вытеснения воздуха и топлива, выполненные в конусах, сообщены с объемами сжатия воздуха и топлива, расположенными в трубках, сообщенных с окнами в напорных площадках и в шаровой опоре в зонах их совмещения. Лопатки своими внутренними окружностями установлены на тепловые стыки между половинами шаровой опоры. Подшипники расположены с обеих сторон на торцах сферы с примыкающими к последней трубками, сообщенными с каналами смазки, выполненными в зазоре между внешней окружностью диска и сферой и с каналами в осях лопаток. Камеры сгорания, выполненные в диске в виде пустотелых цилиндров, с продольными прорезями из жаропрочного металла, например вольфрама, с обращенными к конусам прорезями, установлены на электрические изоляторы, расположенные в каналах диска и в сфере и связаны при помощи электродов в указанных изоляторах с кольцевым токоприемником высокого напряжения, причем с открытых концов цилиндрических камер сгорания, в шаровой опоре выполнены двухкомпонентные инжекторы, на расстоянии электрического пробоя от камер сгорания. На внутренней поверхности сферы установлены кулисы, в зоне их совмещения с выпускными окнами и подвижно закрепленные на основании ротора. В шарнирном соединении каждой из половин диска с лопаткой оси лопатки установлены в проушины, выполненные на торцах половин диска по его внешнему и внутреннему радиусу, а примыкающее к выступу лопатки уплотнение установлено подвижно в паз диска. Объем стыка в уплотнениях шарниров диска и лопаток, расположенных в объемах вытеснения воздуха и топлива, заполнен упругим веществом, например маслостойкой резиной, и выполнен с возможностью герметизации указанных шарниров за счет сжатия воздуха и топлива в их объемах. Подачу воздуха и топлива в камеры сгорания осуществляют раздельно через двухкомпонентные инжекторы. При запуске двигателя горючую смесь в камере сгорания воспламеняют многократными электрическими разрядами. Поток отработанных газов из выпускных окон направляют в противоположную от вращения ротора сторону направляющим аппаратом, причем последний закрепляют на выпускных окнах сферы ротора.
Роторный двигатель, содержащий корпус с установленным в нем ротором, с валом, с выполненными в нем каналами воздуха, топлива и масла, позволяет использовать указанные каналы для подачи воздуха, топлива и масла в соответствующие рабочие объемы двигателя. При этом воздух и топливо следуют из каналов в валу через коллекторы, закручиваются и за счет центробежной силы, с эффектом турбонаддува подаются во впускные окна рабочих объемов ротора, заполнение которых, дополнительно, сопровождается инерционным сжатием. Масло также центробежной силой подается на все трущиеся поверхности посредством масляных каналов. Напорные площадки на сферической поверхности вала, с выполненными в них окнами воздуха и топлива в зоне их совмещения с окнами воздуха и топлива в шаровой опоре, позволяют обеспечивать функции газораспределения и поддерживать герметичность рабочих объемов ротора, не допускать утечек воздуха и топлива из зоны совмещения их окон за счет запертого давления воздуха в напорных камерах, прижимающих напорные площадки к внутренней поверхности шаровой опоры, половин шаровой опоры к внутренним окружностям конусов и лопаток, а последние своими внешними окружностями прижимать к внутренней поверхности сферы.
Окна воздуха и топлива, сообщенные с двухкомпонентными инжекторами в шаровой опоре и камерами сгорания, выполненными в диске, позволяют обеспечивать раздельную подачу воздуха и топлива в инжекторы, а из них в камеры сгорания, в начале рабочего хода, со смешиванием компонентов и воспламенением их от электрических разрядов между камерами сгорания и инжекторами. Затем после нагрева камер сгорания до температуры воспламенения топлива и тем более использования в них высокотемпературных катализаторов процесс сгорания многократно ускоряется, что способствует полноте сгорания со скоростью подачи и соответственно развитию высоких оборотов. С жестко закрепленным на валу основанием ротора, на котором подвижно установлены конуса с выполненными в них впускными окнами воздуха, с примыкающими к внешним и внутренним окружностям конусов сферой и шаровой опорой, с примыкающими к торцам конусов лопатками, позволяет за счет подвижной установки конусов на основание ротора обеспечить компенсацию теплового расширения деталей ротора и износа трущихся поверхностей сферы, конусов, и лопаток, т.е. по мере износа сферических поверхностей этих деталей и изменения их радиусов, сохранять герметичность сопряжения элементов, образующих рабочие объемы ротора, а с учетом того, что на эти поверхности подается смазка, то это делает рабочий ресурс достаточно большим. Лопатки, шарнирно связанные с диском, своими внешними и внутренними окружностями совмещены со сферой и с половинами шаровой опоры, каждая из половин шаровой опоры закреплена на внутренней окружности половин диска, установленного диагонально по линиям смыкания с конусами, с образованием рабочих объемов, что позволяет образовать динамически сбалансированные (из-за отсутствия эксцентриситетов), а потому и достаточно высокопроизводительные рабочие объемы в роторе, необходимые для получения высокой удельной мощности двигателя, а также обеспечить охлаждение и смазку лопаток при их выдвижении за пределы основания ротора. Выпускные окна отработанных газов выполнены в сфере между ее торцом и диском в конце объема расширения, на расстоянии от линии смыкания, превышающем 180 градусов, причем в конусах, примыкающих к лопаткам, выполнены прорези, в зоне их совмещения с указанными окнами, что позволяет дорабатывать давление и температуру газа с получением дополнительной работы после поворота ротора на 180 градусов. Так, если сжатие воздуха и топлива производится в течение 180 градусов (а с учетом наддува – больше) поворота ротора, а рабочий ход например, до открытия выпускных окон производится, например, 240 градусов, то дополнительный объем расширения на 60 градусов приводит к доработке до более низких температуры и давления газа, снижению шума его выпуска и более высокому кпд, а на ускоренный турбовыпуск остается 120 градусов, из них в течение 60 градусов большая часть отработанных газов удаляется непосредственно в выпускные окна, прямо на направляющий аппарат, а после закрытия выпускных окон они совмещаются с прорезями в конусах, через которые удаляются остатки отработанного газа с поворотом ротора на оставшиеся 60 градусов, также в выпускные окна. При этом избыточное давление отработанных газов в выпускных окнах дорабатывается на направляющем аппарате – аналоге турбины. В двухроторном двигателе дополнительный объем расширения позволяет уменьшить размеры рабочего ротора и улучшить равномерность крутящего момента за счет перекрытия концов рабочего хода в двух первых объемах с началом рабочего хода в двух остальных объемах рабочего ротора. Объемы заполнения воздуха и топлива, их вытеснение, сжатие, подача горючей смеси в камеры сгорания, расширение продуктов сгорания и выпуск отработанных газов выполнены в едином роторе, что позволяет уменьшить размеры двигателя и производить его в однороторном варианте с небольшим рабочим объемом как альтернатива двухтактным поршневым двигателям, но с более высоким кпд, удельной мощностью, бесшумностью работы и полнотой сгорания топлива. Выпускные клапаны из объемов вытеснения воздуха и топлива сообщены с объемами сжатия, которые расположены в трубках, сообщенных с окнами в напорных площадках, которые в свою очередь сообщены с окнами воздуха и топлива в шаровой опоре в зоне их совмещения и двухкомпонентными инжекторами, что позволяет использовать объемы сжатия воздуха и топлива для подачи воздуха и топлива в камеры сгорания с таким давлением, какое необходимо, чтобы уровнять объемы воздуха и топлива, поступающие из объемов вытеснения, с теми объемами, которые поступают из объемов сжатия в камеры сгорания. Потому, чем больше топлива поступает в камеры сгорания, чем выше его теплотворная способность, тем более высокое давление воздуха и топлива необходимо, чтобы подать их в камеры сгорания. Таким образом, величина крутящего момента ротора зависит от величины запертого давления в объемах сжатия. Лопатки своими внутренними окружностями установлены на тепловые стыки между половинами шаровой опоры, что позволяет улучшить герметизацию, предотвратить возможность попадания масла в рабочие объемы ротора, упростить конструкцию и исключить возможность заклинивания ротора от теплового расширения. В предельном случае тепловое расширение лопаток и конусов при перегреве может быть скомпенсировано некоторой упругой деформацией половин шаровой опоры и смыканием ее стыков. Подшипники расположены с обеих сторон на торцах сферы, с примыкающими к последней трубками, сообщенными с каналом в зазоре между внешней окружностью диска и сферой и с каналами масла в осях лопаток, что позволяет отводить тепло и подводить смазку ко всем греющимся и трущимся поверхностям за счет вихря, образуемого концами лопаток и центробежной силой, которые создают разрежение в отверстиях, примыкающих к подшипникам вала, и повышенное давление в выпускных отверстиях масла и воздуха, что позволяет обеспечить их циркуляцию. Пространство между внутренней поверхностью корпуса и внешней поверхностью сферы изолировано от доступа масла путем установки масляных отражателей и порогов у торцов сферы, что позволяет использовать это пространство для отвода отработанных газов в атмосферу и для разбавления топлива через выпускные окна в сфере и через выпускную трубу в корпусе. Камеры сгорания, выполненные в диске в виде пустотелых цилиндров из жаропрочного металла, например, вольфрама, с продольными прорезями, последние обращены к конусам, что позволяет использовать высокую начальную температуру в объемах расширения, которая может достигать в камерах сгорания 3000°С, и высокотемпературные катализаторы, а т.к. камеры сгорания изолированы от диска и конусов воздушным зазором, то существенно уменьшить теплоперенос с камер сгорания на диск и на конуса. Камеры сгорания установлены на электрические изоляторы, расположенные в каналах диска и в сфере, и связаны при помощи электродов в указанных изоляторах с кольцевым токоприемником высокого напряжения, причем с открытых концов цилиндрической части камер сгорания, в шаровой опоре, выполнены двухкомпонентные инжекторы на расстоянии электрического пробоя, что позволяет производить запуск двигателя при невысокой степени сжатия и при любой температуре окружающей среды, за счет одновременной подачи смеси воздуха и топлива из двухкомпонентных инжекторов в открытый конец камер сгорания, с постоянными электрическими разрядами между камерами сгорания и инжекторами. Установки момента зажигания при этом не требуется, а после нагрева камер сгорания до температуры воспламенения топлива зажигание отключается. При этом раскаленные газы во время работы двигателя истекают из прорезей камер сгорания на жаропрочные конуса только в самом начале рабочего хода, когда расстояние между камерами сгорания и конусами минимально. На внутренней поверхности сферы выполнены кулисы в зоне их совмещения с выпускными окнами и подвижно закрепленные на основании ротора, что позволяет предотвращать утечку масла в выпускные окна и далее в выпускную трубу путем перекрытия выпускных окон в сфере кулисами, прижимаемыми к выпускным окнам при помощи центробежной силы, за счет их подвижного крепления на основании ротора в радиальном направлении, в тот момент, когда выпускные окна в сфере выходят из рабочих объемов за пределы конусов. В шарнирном соединении половин диска с лопатками оси лопаток установлены в проушины, закрепленные на торцах половин диска, по его внешнему и внутреннему радиусу, а примыкающие к выступам лопаток уплотнения подвижно установлены в пазы половин диска с возможностью герметизации давлением газа, что позволяет герметизировать рабочие объемы двигателя путем прижима уплотнений в шарнирах к выступам лопаток давлением газа. Объемы в уплотнениях шарниров диска и лопаток, в объемах вытеснения воздуха и топлива заполнены упругим веществом, например маслостойкой резиной, и выполнены с возможностью герметизации указанных шарниров давлением воздуха в его объемах, что позволяет уменьшить паразитные объемы в уплотнениях и повысить давление вытесняемых воздуха и топлива в объемы сжатия через клапаны. Выпускные окна в сфере ротора сообщены с направляющим аппаратом, закрепленным на указанной сфере с возможностью отклонения отработанных газов в противоположную вращению ротора сторону, что позволяет использовать избыточное давление и скорость потока отработанных газов при выходе из выпускных окон ротора для образования дополнительного крутящего момента на направляющем аппарате (аналоге турбины).
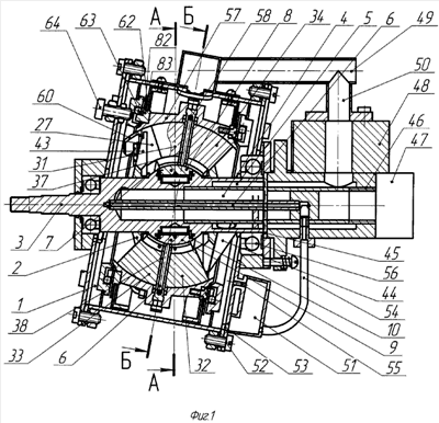
На фиг.1 изображен роторный двигатель – продольный разрез.
На фиг.2 изображен поперечный разрез.
На фиг.3 изображены окна в напорных площадках.
На фиг.4 изображен двигатель – продольный разрез, сечение Д-Д.
На фиг.5 изображен двигатель – поперечный разрез, сечение Б-Б.
На фиг.6 изображена диаграмма работы двигателя (развертка в полярных координатах).
Роторный двигатель содержит корпус 1 с ротором 2 установленный на вал 3 с выполненными в нем каналами воздуха 4, топлива 5 и масла 6. На сферической поверхности 7 вала выполнены напорные площадки 8 и 9 с напорными камерами 10, сообщенные каналами 11 с запертым в них воздухом клапаном 12. В напорных площадках расположены окна воздуха 13 и топлива 14, в зоне их совмещения с окнами воздуха 15 и топлива 16 в шаровой опоре 17. Окна в шаровой опоре сообщены с двухкомпонентными инжекторами 18 и 19, а те с камерами сгорания 20 и 21, установленными в диске 22 на изоляторах 23, с электродами 24 с закрепленным на них кольцевым токоприемником 25. На валу 3 жестко закреплено основание ротора 26 с подвижно закрепленными на них конусами 27, 28, 29 и 30. Перпендикулярно конусам установлены лопатки 31, 32, 33 и 34. Лопатки связаны с половинами диска проушинами 35 с установленными в них осями 36 лопаток с масляными каналами 6, шарнирами 37 и 38, сопряженными с выступами 39 лопаток. Между лопатками и конусами установлены уплотнения 40. Конуса 27 и 28 содержат впускные окна 41 воздуха и 42 топлива с впускными коллекторами 43 воздуха и 44 топлива, которые сообщены с каналами 4 и 5 в валу. Каналы 4, 5 и 6 через вращающееся соединение 45 сообщены с подающим коллектором 46, подвижно закрепленным на корпусе, а подающий коллектор сообщен с воздушным фильтром 47 с карбюратором 48, который в свою очередь сообщен с выпускным окном 49 отработанных газов в корпусе трубкой 50. Масляная емкость 51 закреплена на корпусе и сообщена с выпускными отверстиями 52 для воздуха и масла в корпусе трубками 53, через фильтр 47 с подающим коллектором 46 трубкой 54 и обеспечивающие циркуляцию газов трубками 55, сообщенными с корпусом вблизи подшипников 56 вала. Половины диска 22 своей внешней окружностью установлены в сферу 57 с возможностью теплового расширения диска в зазоре 58. Каждая из половин диска по внутренним окружностям закреплена в своей половине шаровой опоры 17, примыкающей к внутренним окружностям конусов и лопаток. Сфера содержит выпускные окна 59 отработанных газов, в зоне совмещения с которыми выполнены кулисы 60, подвижно закрепленные на основании ротора. Каждое выпускное окно отработанных газов содержит направляющий аппарат 61, закрепленный на роторе и сообщенный с окном 49 отвода отработанных газов в корпусе. Торцы сферы 62 содержат подшипники 63 с подведенными к ним каналами смазки 6. Подшипники содержат регулировочные винты 64. Объем 65 заполнения воздуха обслуживает лопатка 31, объем 66 заполнения топлива – лопатка 32. Объем 67 вытеснения воздуха и объем 68 вытеснения топлива через клапаны 69 и 70 в конусах 27 и 28 сообщены с объемами 71 сжатия воздуха и 72 сжатия топлива, выполненные в трубках 73 и 74, которые соединены с напорными площадками 8 и 9, в которых выполнены окна 13 и 14. Объемы расширения 75 и 76 содержат камеры сгорания 20 и 21. В объемах выпуска отработанных газов 77 и 78 в сфере выполнены выпускные окна 59 с примыкающими к ним прорезями 79 для удаления остатков отработанных газов, выполненных в конусах. Диски примыкают к конусам по линиям смыкания 80 и 81. На внутренней поверхности корпуса, примыкающие к выпускным отверстиям масла и воздуха 52 выполнены масляные пороги 82, а на торце сферы масляные отражатели 83.
Роторный двигатель работает следующим образом: при запуске двигателя и вращении ротора 2 лопатки 31 и 32 с примыкающими к ним впускными окнами воздуха 41 и топлива 42, в конусах 27 и 28 проходят линии смыкания 78 и 79 и образуются объемы заполнения воздуха 65 и топлива 66 и разрежение и в них, в результате чего воздух по каналу 4 в валу поступает из фильтра 47 во впускной коллектор 43, в окно 41 и объем 65. Топливо из карбюратора 48, разбавленное отработанными газами из выпускного окна 49, посредством трубки 50, направляется по каналу 5 вала во впускной коллектор 44, окно 42 и объем 66. Но т.к. при пуске двигателя степень сжатия в двигателе не высока, то топливо разбавляется воздухом(т.к. отработанных газов пока нет), а с появлением отработанных газов возрастает степень сжатия и воздух в разбавлении топлива заменяется отработанными газами. Процесс заполнения объемов воздуха и топлива продолжается в течение 270 градусов поворота ротора с начала впуска. С поворотом ротора на оставшиеся 90 градусов объемы впуска начинают уменьшаться, в результате чего воздух и топливо изменяют направление движения и начинается обратный выброс. Если ротор вращать достаточно быстро, то появляется инерционный наддув, по причине невозможности обратного выброса, а во впускных коллекторах появляется турбонаддув в результате действия центробежной силы. После вторичного прохода впускными окнами 41 и 42 линий смыкания 80 и 81 они оказываются в новых объемах заполнения воздуха и топлива, а заполненные объемы 65 и 66 отсекаются от впускных окон линиями смыкания. Воздух и топливо в заполненных объемах, теперь уже 67 и 68 начинают сжиматься и вытесняться через клапаны 69 и 70 лопатками 33 и 34 в объемы сжатия 71 и 72, выполненные в трубках 73 и 74. При этом воздух из трубок 73 поступает в окна 15 в напорных площадках 8 и 9 и по каналам 11 поступает в напорные камеры 10, где запирается клапаном 12. Запертое давление, действуя на площадь камер несколько большую, чем площадь окон в напорных площадках, прижимает половины шаровой опоры к конусам и лопаткам, а последние к сфере, герметизируя, таким образом рабочие объемы ротора, чему также способствует и центробежная сила. По окончании вытеснения воздуха и топлива в объемы сжатия и прохода лопатками 33 и 34 и камерами сгорания 20 и 21 линий смыкания образуются объемы расширения 75 и 76. Окна 13 и 14 в шаровой опоре совмещаются окнами 15 и 16 в напорных площадках. Воздух и топливо из объемов сжатия в трубках 73 и 74 направляются через совмещенные окна 13, 14 и 15, 16 в инжекторы 20 и 21, где воздух и топливо смешиваются, и подаются в камеры сгорания 20 и 21. На кольцевой токоприемник 25 подается высокое напряжение, которое по электродам 24 поступает на камеры сгорания 20 и 21. В результате электрических разрядов между камерами сгорания и инжекторами (или стенками диска и конусов) горючая смесь воспламеняется. Если объемы сжатия 71 и 72 в трубках 73 и 74, например, составляют 10-12% от объемов вытеснения, то в зависимости от части рабочего хода, в течение которой окна в напорных площадках и шаровой опоре будут совмещены, будет зависеть величина запертого давления в объемах сжатия в момент закрытия этих окон. Во время следующего цикла к запертому давлению в объемах сжатия добавится новое и так, пока не уравновесится давление подачи компонентов из объемов вытеснения в объемы сжатия с давлением подачи компонентов из объемов сжатия в камеры сгорания. Максимальное давление равновесия, а соответственно и кутящий момент ротора, таким образом, зависит от количества подаваемого топлива и воздуха. После поворота ротора более чем на 180 градусов после начала рабочего хода и открытия выпускных окон 61 остаточное давление отработанных газов подается на направляющий аппарат 63, что придает ротору некий дополнительный крутящий момент. Далее все повторяется.
Формула изобретения
1. Роторный двигатель, содержащий корпус с установленным в нем ротором с валом, с выполненными в нем каналами воздуха, топлива и масла, с напорными площадками на сферической поверхности вала, с выполненными в площадках окнами воздуха и топлива в зоне их совмещения с окнами воздуха и топлива в шаровой опоре, сообщенными с камерами сгорания, нагретыми до температуры, превышающей температуру воспламенения топлива, и выполненными в диске с жестко закрепленным на валу основанием ротора, на котором подвижно установлены конуса, с выполненными в них впускными окнами воздуха и топлива, с примыкающими к внешним и внутренним окружностям конусов, сферой и шаровой опорой, с примыкающими к торцам конусов лопатками, шарнирно связанными с диском, и своими внешними и внутренними окружностями, совмещенными со сферой и с половинами шаровой опоры, причем каждая из половин шаровой опоры закреплена на внутренней окружности половин диска, установленного диагонально по линиям смыкания с конусами, с образованием рабочих объемов, отличающийся тем, что выпускные окна отработанных газов выполнены в сфере между ее торцами и диском в конце объема расширения, на расстоянии от линии смыкания превышающем 180° поворота ротора, причем в конусах, примыкающих к лопаткам, выполнены прорези в зоне их совмещения с указанными окнами.
2. Роторный двигатель по п.1, отличающийся тем, что объемы заполнения воздуха и топлива, объемы их вытеснения, сжатия и подачи горючей смеси в камеры сгорания, объемы расширения и выпуска отработанных газов выполнены в едином роторе.
3. Роторный двигатель по п.1, отличающийся тем, что лопатки своими внутренними окружностями установлены на тепловые стыки шаровой опоры.
4. Роторный двигатель по п.1, отличающийся тем, что подшипники расположены с обеих сторон на торцах сферы, с примыкающими к последней трубками, сообщенными с каналами смазки, выполненными в зазоре между внешней окружностью диска и сферой и с каналами в осях лопаток.
5. Роторный двигатель по п.1, отличающийся тем, что камеры сгорания выполнены в диске в виде пустотелых цилиндров из жаропрочного металла, например вольфрама, с продольными прорезями, обращенными к конусам, установлены на электрические изоляторы, которые расположены в каналах диска и в сфере и связаны при помощи электродов в указанных изоляторах с кольцевым токоприемником высокого напряжения, причем с открытых концов цилиндрических камер сгорания, в шаровой опоре выполнены двухкомпонентные инжекторы на расстоянии электрического пробоя от камер сгорания.
6. Роторный двигатель по п.1, отличающийся тем, что на внутренней поверхности сферы выполнены кулисы в зоне их совмещения с выпускными окнами и подвижно закреплены на основании ротора.
7. Роторный двигатель по п.1, отличающийся тем, что в шарнирном соединении половин диска с лопатками оси лопаток установлены в проушины, закрепленные на торцах половин диска по его внешнему и внутреннему радиусу, а примыкающие к выступам лопаток уплотнения подвижно установлены в пазы половин диска с возможностью герметизации давлением газа.
8. Роторный двигатель по п.1 или 7, отличающийся тем, что объем стыка в уплотнениях шарниров диска и лопаток, расположенных в объемах вытеснения воздуха и топлива, заполнен упругим веществом, например маслостойкой резиной.
9. Роторный двигатель по п.1, отличающийся тем, что выпускные окна в сфере ротора сообщены с направляющим аппаратом, закрепленным на указанной сфере с возможностью отклонения отработанных газов в противоположную вращению ротора сторону.
РИСУНКИ
|
|