|
|
(21), (22) Заявка: 2005122446/03, 11.12.2003
(24) Дата начала отсчета срока действия патента:
11.12.2003
(30) Конвенционный приоритет:
16.12.2002 DE 10259011.7
(43) Дата публикации заявки: 27.06.2006
(46) Опубликовано: 10.09.2008
(56) Список документов, цитированных в отчете о поиске:
US 4518285 А, 21.05.1985. US 3406342 А, 15.10.1968. US 5062033 А, 29.10.1991. SU 1810555 А1, 23.04.1993. SU 926321 А, 07.05.1982. RU 2079667 С1, 20.05.1997. RU 2107398 С1, 20.03.1998. SU 1293361 А1, 28.02.1987. SU 1384787 А2, 30.03.1988. SU 1652602 А2, 30.05.1991. RU 2069270 С1, 20.11.1996. RU 2131976 С1, 20.06.1999. DE 10207698.7 А1, 24.10.2002. GB 2265652 А, 06.10.1993.
(85) Дата перевода заявки PCT на национальную фазу:
18.07.2005
(86) Заявка PCT:
DE 03/04084 (11.12.2003)
(87) Публикация PCT:
WO 2004/055329 (01.07.2004)
Адрес для переписки:
101000, Москва, М.Златоустинский пер., 10, кв.15, “ЕВРОМАРКПАТ”, пат.пов. И.А.Веселицкой, рег. № 11
|
(72) Автор(ы):
Хайнц КЕЛЛЕРМАНН (DE)
(73) Патентообладатель(и):
ТИФЕНБАХ КОНТРОЛ СИСТЕМС ГМБХ (DE)
|
(54) СИСТЕМА УПРАВЛЕНИЯ КРЕПЬЮ, ПРЕДНАЗНАЧЕННАЯ ДЛЯ УПРАВЛЕНИЯ ДВИЖЕНИЯМИ СЕКЦИЙ ЩИТОВОЙ КРЕПИ В ОЧИСТНОМ ЗАБОЕ ШАХТЫ
(57) Реферат:
Изобретение относится к горной промышленности и предназначено для управления движениями секций щитовой крепи в очистном забое шахты. Техническим результатом изобретения является обеспечение безопасной, безотказной и надежной работы выемочной машины и механизированной крепи с незначительными затратами на обслуживание. Для этого система содержит центральное устройство управления (ЦУУ) и множество блоков управления (БУ), каждый из которых расположен при соответствующей ему секции и функционально с ней сопряжен. При этом БУ секций соединены с ЦУУ, а также между собой двумя электрическими шинами с возможностью вызова БУ любой секции из ЦУУ или из БУ соседней секции для ввода управляющей команды. Причем БУ каждой секции запрограммирован таким образом, чтобы передавать поступающие по электрической шине управляющие команды, снабженные кодовым словом, присвоенным вызываемому в данный момент БУ, в этот БУ для исполнения. Кроме того, БУ каждой секции имеет переключательный элемент, позволяющий размыкать электрические шины. С помощью второй, аналогичной, электрической шины (параллельная шина) входящие сигналы, не снабженные кодовым словом, присвоенным вызываемому в данный момент БУ, можно передавать в БУ соседней секции. 2 з.п. ф-лы, 3 ил.
Настоящее изобретение относится к системе управления крепью, предназначенной для управления движениями секций крепи в очистном забое (лаве) шахты. Такая система управления известна, например, из заявок DE 10207698.7 А1 (ТВТ 2104) и DE 19982113.5-24 A1 (TBT 9805).
Указанная система управления крепью позволяет управлять отдельными секциями механизированной крепи, называемыми в данном описании секциями щитовой крепи, с центрального устройства управления или через отдельные блоки управления, расположенные при соответствующих секциях щитовой крепи и сопряженные с ними. При этом из блока управления одной секции можно управлять другими секциями, расположенными с ней по соседству или в ее окрестности. В принципе управляющие сигналы подаются на блоки управления всех секций по общей для всех блоков линии. Однако блоки управления секций запрограммированы таким образом, что на команды включения-выключения реагирует, приступая к их выполнению, лишь тот блок управления, которому присвоено кодовое слово, посланное с управляющей командой. Все остальные блоки управления секций передают управляющий сигнал с кодовым словом дальше.
В случае неисправности блока управления одной секции щитовой крепи приходится останавливать всю установку и до устранения неисправности управление невозможно даже в ручном режиме.
Задача настоящего изобретения состоит в том, чтобы создать систему управления крепью, в которой можно легко искать неисправности в блоке управления определенной секции, а в случае такой неисправности систему можно продолжать эксплуатировать в остальной ее части.
Решение этой задачи изложено в п.1 формулы изобретения.
Из-за протяженности очистного забоя существует опасность того, что при передаче сигналов от блока управления одной секции в блок управления другой секции щитовой крепи эти сигналы будут настолько ослабевать, что удаленные блоки управления и в особенности центральное устройство управления уже не смогут их принимать.
Эта проблема устраняется для обеих электрических шин, соответственно для всех пересылаемых сигналов за счет выполнения изобретения согласно п.2 формулы.
При вводе управляющей команды занимается общая линия (электрическая шина). Этот недостаток устраняется за счет выполнения изобретения согласно п.3 формулы. Поскольку одновременно с управляющим сигналом могут посылаться и другие сигналы, изобретение позволяет независимо от ввода управляющих сигналов также передавать оператору, соответственно на центральное устройство управления, сигналы от измерительных устройств или прочие сигналы состояния. Точно так же для каждого управляющего сигнала, одновременно и без задержки во времени, может выдаваться сигнал квитирования, которым подтверждается поступление и/или выполнение управляющей команды.
Ниже приводится пример осуществления изобретения со ссылкой на прилагаемые чертежи, на которых показано:
фиг.1 – вид в разрезе очистного забоя с крепью;
фиг.2 – схематический вид сверху на выемочную машину и группу секций крепи;
фиг.3 – схема взаимного расположения центрального устройства управления и блоков управления секций щитовой крепи.
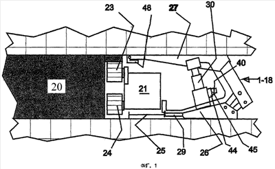
На фиг.1 показана одна из секций 1-18 крепи. На фиг.2 показано множество секций 1-18 крепи. Секции расположены вдоль пласта 20. Разработка пласта 20 ведется режущим инструментом 23, 24 очистной машины 21 в направлении 22 выработки. В рассматриваемом примере выполнения изобретения очистная машина выполнена в виде выемочной (врубовой) машины 21 режущего действия.
Выемочная машина 21 может перемещаться в направлении 19 резания с помощью не показанного на чертеже армированного комбайнового кабеля. Она имеет два режущих барабана 23, 24, которые установлены на разной высоте и врезаются в угольную стену, отбивая уголь. Отбитый уголь нагружается выемочной машиной, называемой также очистным комбайном, на конвейер. Конвейер состоит из лотка 25, в котором вдоль фронта угольного забоя перемещается тяжелый скребковый конвейер. Выемочная машина 21 установлена с возможностью перемещения вдоль фронта угольного забоя. Лоток 25 делится на отдельные секции, которые, будучи соединены друг с другом, могут перемещаться относительно друг друга в направлении 22 выработки. Каждая из секций лотка соединена с соответствующей секцией 1-18 крепи силовым цилиндром 29 (цилиндр шагающей подачи или передвижки), представляющим собой исполнительный орган. Каждая из секций крепи служит для крепления очистного забоя. Этой цели служит еще один силовой цилиндр 30, распирающий опорную и кровельную плиты. Кровельная плита на своем переднем обращенном к пласту конце имеет так называемый противоотжимной щиток 48, предназначенный для поддержания плоскости забоя. Этот щиток может отклоняться в сторону отработанной угольной стены. Перед подъезжающей выемочной машиной 21 противоотжимной щиток 48 должен быть убран. Для этого предусмотрен еще один силовой цилиндр, на чертеже не показанный. Эти функциональные элементы отдельной секции механизированной крепи представлены здесь лишь в качестве примера. Существуют и другие функциональные элементы, но для понимания изобретения их рассмотрение и описание не требуется.
Как было сказано выше, каждый из исполнительных органов представляет собой гидравлический цилиндр.
Эти цилиндры приводятся в действие с помощью основных клапанов 44 и вспомогательных клапанов 45, используемых для предварительного усиления регулирующего воздействия. На вспомогательном клапане установлено устройство 40 управления клапаном, т.е. корпус с находящимся в нем устройством управления клапаном.
На фиг.2 выемочная машина показана в процессе движения вправо. Поэтому противоотжимной щиток секции 17 крепи должен быть убран, т.е. откинут назад. С другой стороны, секция лотка 25, находящаяся при секции 9 крепи, которая по направлению 19 движения находится позади выемочной машины 21, передвигается вперед в направлении отрабатываемой угольной стены. Также вперед, по направлению к забою, соответственно к отрабатываемой угольной стене, перемещаются последующие секции 8, 7, 6, 5 и 4 крепи. На этих секциях крепи противоотжимной щиток уже вновь откинут вниз. Секции 3, 2, 1 крепи выдвинуты в положение готовности и остаются в этом положении до тех пор, пока выемочная машина снова не приблизится к ним справа. Управление этими движениями частично осуществляется автоматически, в зависимости от движения и мгновенного положения выемочной машины, и частично вручную. С этой целью при каждой секции 1-18 крепи расположен соответствующий блок 34 управления, функционально с ней сопряженный. Для каждой группы секций, соответственно блоков управления секций щитовой крепи, предусмотрено устройство 33 управления механизмами очистного забоя. Блок 34 управления относится к одной из секций 1-18 крепи и соединен со вспомогательными 45 и основными 44 клапанами всех исполнительных органов секции 1, 2, 3… (и так до 18) крепи через соответствующие устройства 40 управления клапанами (микропроцессор).
Каждый из блоков управления секций щитовой крепи служит в качестве центрального управляющего устройства. Вместе с тем, группа из нескольких блоков управления секций может быть подчинена устройству 33 управления механизмами очистного забоя, либо вся совокупность блоков управления секций может быть подчинена центральному устройству управления крепью (главному 50 и/или вспомогательному 51 устройствам централизованного управления), соединенному с блоками управления секций. Такой вариант показан на фиг.2.
Центральное устройство управления крепью состоит из главного 50 и вспомогательного 51 устройств централизованного управления.
Все блоки 34 управления секциями щитовой крепи соединены между собой кабелем 58 (электрической шиной). Через каждый из этих блоков управления секций щитовой крепи передаются управляющие команды для управления крепью. Управляющая команда при обращении к определенной секции крепи вызывает ту или иную функцию, например, в смысле разгрузки гидравлической стойки, передвижения секции, распора секции. Такая команда принимается и передается далее по электрической шине 58 всеми блоками 34 управления секций щитовой крепи. Любые управляющие команды, выдаваемые одним из устройств 33 управления механизмами очистного забоя, сразу же вводятся в блок управления секции, непосредственно соединенный с этим устройством 33 управления механизмами очистного забоя. Затем управляющие команды поступают из блока управления этой секции щитовой крепи по электрической шине 58 во все другие блоки 34 управления секций щитовой крепи. Однако благодаря предварительному кодированию эта команда активизирует на отработку определенного действия блок управления только одной из секций 1-18 щитовой крепи либо блоки управления определенной группы секций щитовой крепи. Затем активизированный блок управления секции преобразует полученную управляющую команду в команды управления клапанами, подаваемые в управляющие клапаны, соответственно главные клапаны, обслуживающие механизмы соответствующей(-их) секции(-й) крепи.
Автоматизированный вызов функций и процесс их отработки описаны, например, в заявке DE-A1 19546427.3.
Для централизованного ручного ввода команды предназначен аппарат 37 управления, выполненный в виде ручного пульта управления и носимый при себе оператором. Для ввода команд оператор может стоять за пределами лавы или, по крайней мере, на удалении от места непосредственной выемки полезного ископаемого.
Ручной пульт управления соединен каналом радиосвязи с радиоприемниками 38 устройств 33 управления механизмами очистного забоя. Ручной пульт управления в форме параллелепипеда имеет на одной стороне (сторона органов управления) кнопки управления. С помощью этих кнопок можно также ввести код задействуемого в данный момент блока управления секции крепи (одного из блоков 34.1, 34.2… управления секций щитовой крепи) и выдать управляющую команду для вызова заданной функции или режима ее выполнения (например, разгрузки гидравлической стойки или передвижки секции крепи). Для передачи радиосигнала служит, например, антенна 39 ручного пульта управления.
Если оператор перевернет ручной пульт управления на 180° вокруг его продольной оси, он увидит его сторону с органами управления. С этой стороны на пульте управления имеются два диода, дисплей, а также другие кнопки. Оператор может освещать оба диода своим нашлемным фонарем. Если он при этом закроет один из диодов, например, пальцем, пульт управления перейдет в режим контроля. Для проведения операций контроля оператор вводит код проверяемой секции крепи. В результате этого ручной пульт управления через свое инфракрасное приемо-передающее устройство 35 соединяется с настроенным на него инфракрасным приемо-передающим устройством 36 запрашиваемого через код устройства 33 управления механизмами очистного забоя. Теперь при помощи одной из кнопок можно опросить секции на предмет выполнения ими определенных функций или их рабочего состояния. Для этого в устройство управления механизмами очистного забоя заложена программа, при помощи которой в запрашиваемое через код устройство 33 управления секции щитовой крепи можно направить и отработать серию запросов относительно наличия тех или иных функций, рабочего состояния секции и точности выполнения ей этих функций. Полученные данные передаются затем посредством инфракрасных приемо-передающих устройств 35, 36 на ручной пульт управления и высвечиваются на дисплее. Таким образом, оператор может убедиться в том, что определенная крепь еще вполне работоспособна или уже требует технического обслуживания, замены функциональных элементов или элементов управления.
В результате обеспечивается безопасная, безотказная и надежная работа выемочной машины и механизированной крепи с незначительными затратами на обслуживание. Было установлено, что и при подземных работах возможна надежная, без помех, передача по радио требуемых сигналов положения и направления движения, и что с помощью одного или немногих радиоприемников возможно надежное управление крепью даже при значительной длине очистного забоя. С этой целью система управления выполнена с той особенностью, что сигналы, направляемые одному или нескольким устройствам управления, передаются остальным устройствам, и за счет использования общих вычислительных ресурсов можно надежно определять секции крепи, запрашиваемые в данный момент времени. В отношении технических средств реализации такой системы приводится ссылка на DE 19546427.3.
Выше уже говорилось о том, что блоки 34 управления секций щитовой крепи соединены между собой кабелем 58, который в описанных выше вариантах имеет только две жилы и служит для последовательной передачи кодового слова и управляющих команд для механизмов крепи. В ответ на поступившую команду срабатывают лишь те блоки 34 управления, соответственно те секции щитовой крепи, для которых заложенное в память кодовое слово идентично переданному кодовому слову. Таким образом, кабель 58 представляет собой двухжильный кабель, проложенный в виде электрической шины от блока 34 управления одной секции щитовой крепи до блока управления следующей секции и соединяющий друг с другом через расположенные между ними блоки 34 управления секции щитовой крепи, также главное 50 и вспомогательное 51 устройства централизованного управления.
В соответствии с настоящим изобретением вместо применявшегося до сих пор единственного двухжильного кабеля 58 параллельно с ним проложен второй двухжильный кабель 59, называемый в настоящей заявке параллельной шиной. Кабели 58, 59 также называются электрическими шинами.
Принцип подключения кабелей в отдельных блоках 34 управления секций щитовой крепи показан на фиг.3. Из множества блоков управления секций щитовой крепи показаны два таких блока 34.1 и 34.2 управления. Блоки управления секций щитовой крепи соединены электрическими шинами 58 и 59 с главным устройством 50 централизованного управления и вспомогательным устройством 51 централизованного управления. Электрическая шина 58 содержит две фазы 58.1 и 58.2, а электрическая шина 59 – две фазы 59.1 и 59.2.
Все четыре фазы обеих электрических шин подключены к входным элементам 52 блоков 34.1, 34.2, … управления секций щитовой крепи. Сигналы, поступающие с входных элементов, обрабатываются в блоках управления секций щитовой крепи, т.е. вначале проверяются на соответствие кодового слова, переданного вместе с сигналом, тому кодовому слову, что присвоено соответствующему блоку 34 управления секции щитовой крепи и хранится в памяти. Поскольку передаваемые сигналы являются управляющими сигналами, то затем производится соответствующая обработка и передача их на соответствующие функциональные элементы секции щитовой крепи, которые были описаны выше.
Одна фаза (58.2 и 59.2) каждой электрической шины подведена к переключательному элементу 53. Соответствующие фазы выходят из переключательного элемента 53 через выход и после этого подводятся к соответствующему переключательному элементу 53 блока 34.2 управления соседней секции щитовой крепи. В переключательном элементе 53 обе фазы 58.2 и 59.2 могут размыкаться синхронно или по отдельности.
Другая фаза (58.1 и 59.1) электрических шин соответственно 58 и 59 в этом случае подведена к элементу-усилителю 54. С выхода этого элемента-усилителя соответствующие фазы подведены к элементу-усилителю блока 34.2 управления соседней секции щитовой крепи. В этом случае каждый блок 34.1, 34.2, … управления секции щитовой крепи имеет еще один, “правый” входной элемент 52, который принимает и обрабатывает сигналы, поступающие с правой стороны, т.е. от вспомогательного устройства 51 централизованного управления или от блока 34.3, … управления расположенной правее секции щитовой крепи. Таким образом, блоки 34.1, 34.2 управления соседних секций щитовой крепи также соединены двумя кабелями, каждый из которых имеет две фазы.
Переключатель 53 со своими двумя переключательными элементами является нормально замкнутым, обеспечивая прохождение через него тока. Однако в случае появления неисправностей происходит размыкание электрических шин. Во-первых, благодаря этому облегчается поиск неисправностей. С этой целью одно из управляющих устройств (главное устройство централизованного управления, вспомогательное устройство централизованного управления, ручной пульт управления, устройство управления механизмами очистного забоя или блок управления секцией) размыкает по отдельности и поочередно переключательные элементы блоков управления секций щитовой крепи, расположенных слева или соответственно справа, и затем посылает контрольный сигнал. Так как контрольный сигнал немедленно квитируется соответствующими блоками управления секций щитовой крепи, в которые он поступает, то таким образом можно установить, какие из блоков управления секций щитовой крепи лежат в стороне от неисправного блока управления секции щитовой крепи. Во-вторых, размыкание может производиться в случае неисправности, чтобы изолировать неисправный блок управления секции крепи и отключить его от электрической шины, соответственно от электрических шин. Благодаря этому достигается возможность обращения к блокам управления других секций щитовой крепи, а устранение неисправности может производиться без остановки работ в лаве.
В элементе-усилителе 54 происходит восстановление входящих цифровых сигналов. Это достигается тем, что элемент-усилитель устанавливает, превышают ли входящие сигналы определенную заданную пороговую величину. Если да, то на выходе генерируются сигналы большей силы, предпочтительно сигналы первоначальной силы, чтобы гарантировать прохождение сигналов через блоки управления всех секций щитовой крепи. Этот вид усиления представляется в особенности целесообразным, поскольку управляющие сигналы, измерительные сигналы и т.д. передаются в цифровой форме.
Если теперь из одного из устройств 50, 51 централизованного управления или из устройства 37 ввода (фиг.2) в систему поступит управляющая команда, то эта управляющая команда будет передаваться по той электрической шине 58 или 59, которая в данный момент будет свободна. При этом управляющие команды проходят описанным выше образом через отдельные блоки 34.1, 34.2, … управления секций щитовой крепи. Срабатывает только тот блок управления секции щитовой крепи, для которого хранимое в памяти кодовое слово совпадает с кодовым словом, которым снабжен управляющий сигнал. Прием и/или выполнение соответствующей управляющей команды может подтверждаться сигналом квитирования, так как для этого в распоряжении имеется одна из двух электрических шин 58 или 59. Сигнал квитирования может быть передан немедленно и без задержки во времени, так что на устройстве ввода, т.е. на главном устройстве 50 централизованного управления, вспомогательном устройстве 51 централизованного управления или на аппарате 37 управления, также возможен немедленный контроль. Соответствующие управляющие сигналы передаются далее на устройство 40 управления клапаном (фиг.1). В результате срабатывает исполнительный электромагнит вспомогательного клапана 45 дополнительного усиления и приводится в действие соответствующий главный клапан 44 исполнительного органа 30. После этого и сигналы датчиков давления, которые расположены на каждом из исполнительных органов и/или клапанов, также могут передаваться обратно по электрическим шинам.
Формула изобретения
1. Система управления крепью, предназначенная для управления движениями секций щитовой крепи в очистном забое шахты и содержащая центральное устройство управления и множество блоков управления, каждый из которых расположен при соответствующей ему секции и функционально с ней сопряжен, причем блоки управления секций соединены с центральным устройством управления, а также между собой электрической шиной с возможностью вызова блока управления любой секции из центрального устройства управления или из блока управления соседней секции для ввода управляющей команды, а блок управления каждой секции запрограммирован таким образом, чтобы передавать поступающие по электрической шине управляющие команды, снабженные кодовым словом, присвоенным вызываемому в данный момент блоку управления, в этот блок управления для исполнения, отличающаяся тем, что блок управления каждой секции имеет переключательный элемент, позволяющий размыкать одну фазу по меньшей мере одной из электрических шин.
2. Система управления крепью по п.1, отличающаяся тем, что блок управления секции имеет усилитель сигналов, поступающих по меньшей мере по одной из двух электрических шин и не снабженных кодовым словом, присвоенным вызываемому в данный момент блоку управления секции.
3. Система управления крепью по п.1 или 2, отличающаяся тем, что блоки управления секций соединены с центральным устройством управления и между собой второй, аналогичной, электрической шиной (параллельная шина), а блок управления секции запрограммирован таким образом, чтобы поступающие по одной из электрических шин сигналы, не снабженные кодовым словом, присвоенным вызываемому в данный момент блоку управления, передавать в блок управления соседней секции.
Приоритет по пунктам:
16.12.2002 – пп.1-3.
РИСУНКИ
|
|