|
|
(21), (22) Заявка: 2006133237/03, 15.09.2006
(24) Дата начала отсчета срока действия патента:
15.09.2006
(43) Дата публикации заявки: 20.03.2008
(46) Опубликовано: 10.09.2008
(56) Список документов, цитированных в отчете о поиске:
КЛЕЩЕНКО И.И. и др. Приближенный способ расчета времени безводной эксплуатации несовершенной скважины с экраном на забое в нефтяной залежи с подошвенной водой, НТЖ “Нефтепромысловое дело”, № 3, М., 1998, с.25-27. RU 224415 С1, 10.01.2005. RU 2001133624 А, 20.08.2003. RU 2127807 С1, 20.03.1999. RU 2112875 С1, 10.06.1998. SU 1803532 А1, 23.03.1993. US 4503912 А, 23.03.1993.
Адрес для переписки:
625000, г.Тюмень, ул. Володарского, 38, ТюмГНГУ, патентно-информационный отдел
|
(72) Автор(ы):
Кустышев Александр Васильевич (RU), Обиднов Виктор Борисович (RU)
(73) Патентообладатель(и):
Государственное образовательное учреждение высшего профессионального образования “Тюменский государственный нефтегазовый университет” (RU)
|
(54) СПОСОБ БЕЗВОДНОЙ ЭКСПЛУАТАЦИИ СКВАЖИН
(57) Реферат:
Изобретение относится к нефтегазодобывающей промышленности, а именно к безводной эксплуатации скважин. Обеспечивает возможность длительной безводной эксплуатации скважин с сохранением первоначальной эффективной толщины пласта. Сущность изобретения: способ предусматривает оборудование скважин эксплуатационной и лифтовой колоннами и включает закачивание в пласт гидрофобизирующей композиции под давлением. Согласно изобретению во внутреннюю полость лифтовой колонны, находящейся под давлением, спускают до забоя с помощью колтюбинговой установки гибкую трубу. Открывают кольцевое и затрубное пространства скважины. Закачивают через гибкую трубу гидрофобизирующую композицию в необходимом объеме при поддержании в кольцевом и затрубном пространствах противодавления, превышающего давление закачивания гидрофобизирующей композиции не менее чем на 10%. Продавливают гидрофобизирующую композицию в пласт на необходимую глубину. После этого гибкую трубу извлекают из скважины. При этом закачивание гидрофобизирующей композиции проводят периодически, в периоды увеличения отборов газа из скважин, и без глушения этих скважин. 2 з.п. ф-лы, 3 ил.
Изобретение относится к нефтегазодобывающей промышленности, а именно к безводной эксплуатации скважин.
Опыт эксплуатации скважин месторождений Крайнего Севера, в частности, Ямбургского месторождения, показывает, что по мере отбора газа из залежи и падения пластового давления происходит подъем подошвенной пластовой воды, так называемого газо-водяного контакта (ГВК). При этом в связи с большими отборами (дебитами) газа из скважин, присущим этим месторождениям, подъем подошвенной пластовой воды происходит не равномерно по площади, а конусообразно. При этом конус подошвенной пластовой воды вытянут к забою скважины и по мере увеличения отбора (дебита) газа из скважины, а значит, и увеличения скорости газового потока, конус поднимается вдоль стенки скважины и перекрывает сначала нижние, а потом и верхние перфорационные отверстия, вплоть до полного обводнения скважины и прекращения добычи газа. По мере накопления в газовом потоке пластовой воды, иными словами по мере насыщения добываемого газа водой, происходит утяжеление извлекаемого из скважины столба газа и, связанного с этим, увеличение статического давления в скважине. Происходит снижение скоростей газового потока, газ уже не может поднять пластовую воду на дневную поверхность и она начинает выпадать из газового потока, скапливаться на забое скважины. По мере снижения скоростей газового потока, а значит, и снижения отбора (дебита) газа происходит опадание конуса подошвенной пластовой воды. Вода, находящаяся в конусе, частично возвращается в основную массу подошвенных пластовых вод под ГВК. Частично остается защемленной в порах и капиллярах цементного кольца и около скважинной зоны, а основная масса через перфорационные отверстия проникает на забой скважины и заполняет его, препятствуя отбору газа из скважины вплоть до полного прекращения добычи.
В настоящее время существует множество способов обеспечения безводной эксплуатации скважин на какой-то ограниченный срок. Это и установка цементного моста с прострелом вышележащего интервала продуктивного пласта, и закачивание в пласт гидрофобизирующих композиций с докреплением их цементным мостом и прострелом вышележащего интервала продуктивного пласта. Все они имеют общий недостаток: спустя некоторое время скважина вновь обводняется вследствие конусообразного подъема подошвенных пластовых вод и приходится эти операции вновь повторять, простреливая при этом вышерасположенные интервалы пласта, уменьшая эффективную газоносную мощность пласта вплоть до ее исчезновения и ликвидации скважины. Опыт эксплуатации скважин Ямбургского и других месторождений Крайнего Севера показывает, что необходимо принципиально новое решение, которое позволит с одной стороны изолировать приток пластовых вод, а с другой не уменьшить эффективную газоносную часть пласта.
Известен способ безводной эксплуатации скважин, включающий закачивание в пласт гидрофобизирующей композиции под давлением с созданием водоизоляционного экрана [Клещенко И.И. и др. Изоляционные работы при заканчивании и эксплуатации нефтяных скважин. – М.: Недра, 1998. – С.197-200].
Недостатком этого способа является невозможность обеспечения длительного периода безводной эксплуатации скважины, а также невозможность изоляции притока пластовых вод в газовых и газоконденсатных скважинах без глушения.
Известен способ безводной эксплуатации скважин, включающий закачивание в пласт гидрофобизирующей композиции под давлением с созданием водоизоляционного экрана [Клещенко И.И., Кустышев А.В., Телков А.П. Приближенный способ расчета времени безводной эксплуатации несовершенной скважины с экраном на забое в нефтяной залежи с подошвенной водой. – НТЖ Нефтепромысловое дело, 1998, №3].
Недостатком этого способа является невозможность обеспечения длительного периода безводной эксплуатации скважины, а также невозможность изоляции притока пластовых вод в газовых и газоконденсатных скважинах без глушения.
Задача, стоящая при создании изобретения, состоит в обеспечении возможности безводной эксплуатации скважин длительное время при разных (сезонных) режимах отбора газа (малых, больших) из пласта с сохранением первоначальной эффективной толщины (мощности) пласта, когда первоначальный интервал перфорации не перекрывается цементным мостом, а также проведения изоляции притока пластовых без глушения скважин.
Достигаемый технический результат, который получается в результате создания изобретения, состоит в возможности длительной безводной эксплуатации скважин с сохранением первоначальной эффективной толщины пласта.
Поставленная задача и технический результат достигаются тем, что способ создания водоизоляционного экрана в пласте при эксплуатации газовых и газоконденсатных скважин, оборудованных эксплуатационной и лифтовой колоннами, включает закачивание в пласт гидрофобизирующей композиции под давлением. При этом во внутреннюю полость лифтовой колонны, находящейся под давлением, спускают до забоя с помощью колтюбинговой установки гибкую трубу, открывают кольцевое и затрубное пространства скважины, закачивают через гибкую трубу гидрофобизирующую композицию в необходимом объеме при поддержании в кольцевом и затрубном пространствах противодавления, превышающего давление закачивания гидрофобизирующей композиции не менее чем на 10%, продавливают гидрофобизирующую композицию в пласт на необходимую глубину. После чего гибкую трубу извлекают из скважины, при этом закачивание гидрофобизирующей композиции проводят периодически, в периоды увеличения отборов газа из скважины и без глушения этих скважин. Кроме того, объем закачиваемой гидрофобизирующей композиции принимают в зависимости от толщины пласта и глубины установки водоизоляционного экрана. Противодавление в кольцевом и затрубном пространствах создают подачей газообразного агента от соседней скважины, или газопровода, или азотно-бустерной установки, или от двигателя внутреннего сгорания.
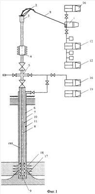
На фиг.1 представлена схема реализации данного способа в момент подъема конуса подошвенных пластовых вод и перекрытия им перфорационных отверстий, на фиг.2 – то же при закачивании гидрофобизирующей композиции в пласт и установке водоизоляционного экрана, на фиг.3 – то же после установки водоизоляционного экрана и ликвидации обводнения скважины.
Способ реализуется следующим образом.
В скважину, находящуюся под давлением, спускают с помощью колтюбинговой установки 1 через направляющий желоб 2, инжектор 3, блок превенторов 4, фонтанную арматуру 5, лифтовую колонну 6, размещенную внутри эксплуатационной колонны 7, гибкую трубу 8 на глубину на 1 м выше забоя 9. Далее открывают кольцевое 10 и затрубное 11 пространства скважины (соответственно между гибкой трубой 8 и лифтовой колонной 6; между лифтовой колонной 6 и эксплуатационной колонной 7). В скважину насосной установкой 12 через гибкую трубу 8 закачивают гидрофобизирующую композицию 13 в необходимом объеме, зависящем от толщины пласта и глубины (радиуса) установки водоизоляционного экрана 14. Продавливают гидрофобизирующую композицию 13 в пласт под давлением на необходимую для установки водоизоляционного экрана 14 глубину (радиус). При этом в кольцевом 10 и затрубном 11 пространствах скважины создают давление, превышающее не менее чем на 10% давление закачивания и продавливания в пласт гидрофобизирующей композиции 13. Поддержание противодавления в кольцевом 10 и затрубном 11 пространствах скважины осуществляется подачей газообразного агента 15, например природного газа, от соседней скважины или газопровода (не показано), инертного газа (азота) от азотно-бустерной установки 16, выхлопных газов от двигателя внутреннего сгорания (не показано). После завершения работ гибкую трубу 8 извлекают из скважины. Продавливание гидрофобизирующей композиции 13 вглубь пласта осуществляют подачей газообразного агента 15 в кольцевое 10 и затрубное 11 пространства скважины, а также во внутреннюю полость гибкой трубы 8.
Закачивание гидрофобизирующей композиции 13 в скважину осуществляется периодически с цикличностью, соответствующей увеличению отбора газа из скважины. Тем самым осуществляется профилактическая установка водоизоляционного экрана 14, препятствующего подъему (подтягиванию) конуса 17 подошвенных пластовых вод к забою 9 скважины и перекрытия им перфорационных отверстий 18 эксплуатационной колонны 7. Скважина будет эксплуатироваться в безводном режиме.
При снижении отборов газа из скважины в летний период безводный режим сохраняется, так как водоизоляционный экран 14 не разрушается, а конус 17 подошвенных пластовых вод «опадет» и не будет подниматься к забою 9 скважины.
При увеличении отборов газа из скважины происходит разрушение водоизоляционного экрана 14 и конус 17 подошвенных пластовых вод беспрепятственно может подняться и приблизиться к забою 9 скважины, перекрыть перфорационные отверстия 18 эксплуатационной колонны 7. Чтобы этого не произошло, в начальный период увеличения отбора газа из скважины необходимо повторно закачать в пласт гидрофобизирующую композицию 13 с целью восстановления водоизоляционного экрана 14 и недопущения подъема конуса 17 подошвенных пластовых вод к забою 9 скважины и перфорационным отверстиям 18 эксплуатационной колонны 7.
Увеличение отборов газа из скважины может произойти не только в зимний период, но и в другой период, например, при временной остановке ряда скважин на ремонтные или профилактические работы, тогда для поддержания общей добычи газа из месторождения в остальных скважинах добычу газа увеличивают.
Для предотвращения гидратообразования скважины, особенно при выносе в потоке газа воды, на устье размещают передвижную паровую установку 19.
Пример реализации способа
Необходимо провести профилактическую установку водоизоляционного экрана 14 с целью изоляции притока пластовой воды к забою 9 скважины. Глубина скважины L=1200 м, толщина продуктивной части пласта Н=60 м, высота подъема конуса 17 подошвенной пластовой воды h=20 м, пористость пласта m=0,17. Закачивание гидрофобизирующей композиции 13 осуществляется с помощью колтюбинговой техники без глушения скважины.
Установку водоизоляционного экрана 14 проводим на глубину (радиус) R=3,0 м. Тогда объем гидрофобизирующей композиции 13 составит
V= R2hm=96,1 м3.
Определим забойное давление при закачивании гидрофобизирующей композиции 13 Рз гфк. Поскольку темпы закачивания гидрофобизирующей композиции 13 малы, пренебрегаем потерями давления на трение в гибкой трубе 8
Рз гфк=Ру ц+10-5· ж·Н.
где Ру ц – давление на устье при закачивании гидрофобизирующей композиции, 6,0 МПа;
ж – плотность гидрофобизирующей композиции, 700 кг/м.
Рз гфк=10,2 МПа.
Определим забойное давление при закачивании газообразного агента 15 в кольцевое 10 и затрубное 11 пространста Рз г:
Рз г=Ру к+10-5· ж·Н,
где Ру к – давление на устье при закачке продавочного раствора (стабильного газового конденсата), 7,1 МПа;
ж – плотность газообразного агента, 560 кг/м3.
з г=10,5 МПа.
Таким образом, устанавливают водоизоляционный экран 14, предотвращающий дальнейшее продвижение (подъем) конуса 17 подошвенных пластовых вод к забою 9 скважины и перфорационным отверстиям 18.
При изменении режима работы скважины, связанного с увеличением отбора газа из скважины, и разрушением по этой причине водоизоляционного экрана 14 конус 17 подошвенных пластовых вод вновь начинает движение (подъем) в направлении к забою 9 скважины и перфорационным отверстиям 18. В этот момент проводят повторное закачивание гидрофобной композиции 13, которое восстанавливает водоизоляционный экран 14 и предотвращает дальнейший подъем конуса 17 подошвенных пластовых вод к забою 9 скважины и перфорационным отверстиям 18.
При реализации описанного способа удается предотвратить обводнение скважины, продлить сроки безводной эксплуатации скважины с сохранением эффективной толщины газоносного пласта, обеспечить сохранность фильтрационно-емкостных свойств пласта в связи с отсутствием загрязнения призабойной зоны пласта, так как скважина не глушится, а верхняя часть пласта предохраняется от подъема гидрофобизирующей композиции 13 подачей в скважину газообразного агента 15.
Предлагаемый способ позволяет длительное время эксплуатировать скважины без наличия в добываемом газе воды, проводить профилактические установки водоизоляционных экранов без глушения скважины, снизить степень загрязнения призабойной зоны пласта, сократить продолжительность ремонтных работ в 5-6 раз, снизить затраты на проведение работ и стоимость ремонта скважины в 3-4 раза.
Формула изобретения
1. Способ создания водоизоляционного экрана в пласте при эксплуатации газовых и газоконденсатных скважин, оборудованных эксплуатационной и лифтовой колоннами, включающий закачивание в пласт гидрофобизирующей композиции под давлением, отличающийся тем, что во внутреннюю полость лифтовой колонны, находящейся под давлением, спускают до забоя с помощью колтюбинговой установки гибкую трубу, открывают кольцевое и затрубное пространства скважины, закачивают через гибкую трубу гидрофобизирующую композицию в необходимом объеме при поддержании в кольцевом и затрубном пространствах противодавления, превышающего давление закачивания гидрофобизирующей композиции не менее чем на 10%, продавливают гидрофобизирующую композицию в пласт на необходимую глубину, после чего гибкую трубу извлекают из скважины, при этом закачивание гидрофобизирующей композиции проводят периодически, в периоды увеличения отборов газа из скважин и без глушения этих скважин.
2. Способ по п.1, отличающийся тем, что объем закачиваемой гидрофобизирующей композиции принимают в зависимости от толщины пласта и глубины установки водоизоляционного экрана.
3. Способ по п.1, отличающийся тем, что противодавление в кольцевом и затрубном пространствах создают подачей газообразного агента от соседней скважины, или газопровода, или от азотно-бустерной установки, или от двигателя внутреннего сгорания.
РИСУНКИ
|
|