|
|
(21), (22) Заявка: 2006144912/03, 19.12.2006
(24) Дата начала отсчета срока действия патента:
19.12.2006
(46) Опубликовано: 10.09.2008
(56) Список документов, цитированных в отчете о поиске:
SU 1108190 A, 15.08.1984. SU 1633080 A1, 07.03.1991. SU 1684462 A1, 15.10.1991. SU 827746 A, 07.05.1981. SU 1670085 A1, 15.08.1991. SU 868052 A, 30.09.1981. US 2199693 A1, 07.05.1940. US 2217592 A1, 08.10.1940.
Адрес для переписки:
117042, Москва, ул. Акад. Семенова, 21, корп.2, кв.139, А.Е. Кравченко
|
(72) Автор(ы):
Кравченко Алексей Евгеньевич (RU), Бебенин Владимир Юрьевич (RU), Черкасов Владимир Иванович (RU)
(73) Патентообладатель(и):
Закрытое Акционерное Общество “МОСКОВСКИЙ ОПЫТНЫЙ ЗАВОД БУРОВОЙ ТЕХНИКИ” (ЗАО “МОСКОВСКИЙ ОПЫТНЫЙ ЗАВОД БУРОВОЙ ТЕХНИКИ”) (RU)
|
(54) ШАРОШЕЧНЫЙ КАЛИБРАТОР
(57) Реферат:
Изобретение относится к горной промышленности, а именно к опорно-центрирующим и калибрующим устройствам низа бурильной колонны, и может быть использовано при бурении скважин. Обеспечивает повышение надежности и работоспособности устройства при выравненном рабочем ресурсе опор и вооружения шарошек. Калибратор содержит корпус 1 с центральным каналом 9 и продольными пазами на боковой поверхности. В пазах размещены шарошки 2 с цапфами 3 фигурной формы, находящиеся во вкладышах 7 с прорезями для взаимодействия с опорными кольцами 8, жестко соединенных с корпусом 1. Торцевые части каждой цапфы 3 выполнены в виде цилиндров 4,5. Диаметр поперечного сечения цилиндров 4 больше, чем диаметр поперечного сечения цилиндров 5. Средние части 6 выполнены в виде усеченного конуса. Цапфы 3 установлены с возможностью взаимодействия внешних поверхностей концевых цилиндров с внутренними цилиндрическими поверхностями вкладышей 7, а внешней поверхности средних частей 6 цапф 3 – с внешними коническими поверхностями опорных колец 8. Конические поверхности средних частей 6 цапф 3 и наружных поверхностей опорных колец 8 имеют одинаковый угол конусности, 3 з.п. ф-лы, 3 ил.
Изобретение относится к горной промышленности, а именно к опорно-центрирующим и калибрующим устройствам низа бурильной колонны, и может бать использовано при бурении скважин.
Известен шарошечный калибратор с продольными глухими пазами в корпусе, шарошки которого выполнены заодно с цапфами, размещенными во вкладышах («Разведка и охрана недр». М., 1974, №10, стр.36).
Недостатком данного калибратора является малый рабочий ресурс цапф шарошек по сравнению с рабочим ресурсом их вооружения, что приводит к преждевременному износу калибратора и выходу его из строя при вполне работоспособном вооружении шарошек.
Наиболее близким по технической сути и достигаемому техническому результату к настоящему изобретению является шарошечный калибратор, содержащий корпус с центральным каналом и глухими продольными пазами на боковой поверхности, в которых размещены шарошки с цапфами, установленные во вкладышах с прорезями для взаимодействия с опорными кольцами и жестко соединенные с корпусом (а.с. СССР №1108190, МКИ Е21/В 10/30, опубл. БИ №30, 1984).
Наиболее существенным недостатком данной конструкции является невозможность поддержания номинального диаметра скважины в течение всего рейса из-за износа опорных поверхностей цапф, вкладышей и колец. В результате калибратор теряет диаметр и снимается с отработки при неполном износе вооружения.
К недостаткам этого калибратора также относится недостаточная прочность из-за выполнения продольных пазов в корпусе сквозными, необходимость включения в конструкцию центральной втулки, которая обеспечивает подачу очистного агента к породоразрушающему инструменту, что также отрицательно влияет на прочностные характеристики колец, взаимодействующих с цапфами шарошек. Кроме того, не исключена возможность заклинивания колец, которые должны свободно проворачиваться от взаимодействия с цапфами, из-за значительных сил трения, возникающих при контакте колец с центральной втулкой.
Технический эффект, ожидаемый от использования изобретения, заключается в повышении надежности и работоспособности шарошечного калибратора и выравнивании рабочего ресурса опор и вооружения шарошек.
Указанный технический эффект достигается тем, что в шарошечном калибраторе, содержащем корпус с центральным каналом и глухими продольными пазами на боковой поверхности, в которых размещены шарошки с цапфами, установленные во вкладышах с прорезями для взаимодействия с опорными кольцами и жестко соединенные с корпусом, цапфы шарошек имеют фигурную форму, их торцевые части выполнены в виде цилиндров, причем диаметр поперечного сечения цилиндра, находящегося на одном конце больше, чем диаметр поперечного сечения цилиндра, находящегося на другом конце, а средняя часть выполнена в виде усеченного конуса, при этом цапфы установлены с возможностью взаимодействия внешних поверхностей концевых цилиндров с внутренними цилиндрическими поверхностями вкладышей и внешней поверхности средней части – с внешними коническими поверхностями опорных колец, при этом внешняя поверхность средней части цапфы и внутренняя коническая поверхность опорных колец имеют одинаковый угол конусности, и тем, что меньшие основания усеченных конусов цапф шарошек обращены в направлении устья, а большие основания усеченных конусов обращены к забою скважины. Технический эффект достигается еще и тем, что меньший диаметр конусной поверхности опорных колец обращен в сторону забоя, а больший – к устью скважины.
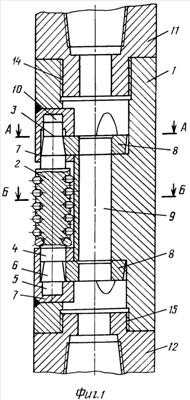
Сущность предлагаемого изобретения поясняется чертежами, где на фиг.1 представлен калибратор в разрезе, на фиг.2 – сечение А-А на фиг.1, на фиг.3 – сечение Б-Б на фиг.1.
Калибратор состоит из корпуса 1, шарошек 2 с фигурными цапфами 3, расположенными в одной плоскости под углом 120° относительно друг друга.
Торцевые части каждой из фигурных цапф 3 шарошек 2 выполнены в виде цилиндров 4 и 5, причем диаметр поперечного сечения цилиндра 4 больше, чем диаметр поперечного сечения цилиндра 5. Средняя часть 6 выполнена в виде усеченного конуса. Цапфы 3 шарошек 2 размещены с возможностью вращения в жестко соединенных посредством сварки с корпусом 1 вкладышах 7 и опорных кольцах 8. В корпусе калибратора 1 выполнен центральный канал 9 для прохода очистного агента на забой скважины. Между верхними торцами цилиндров 5 фигурных цапф 3 и внутренними стенками вкладышей 7 имеются компенсационные зазоры 10. Для соединения калибратора с породоразрушающим инструментом и буровым снарядом использованы переходники 11 и 12.
Для установки шарошек 2 с вкладышами 7, выполняющих роль опор скольжения, в корпусе калибратора выполнены три глухих паза 13 (см. фиг.3). Цилиндры 4 фигурных цапф 3 своей внешней поверхностью прилегают к телу шарошек 2 и размещены в передней части вкладышей 7, а цилиндры 5 фигурных цапф 3 размещены в задней части вкладышей 7. Выполнение цилиндрических поверхностей фигурных цапф 3, а соответственно и вкладышей 7, различного диаметра вытекает из необходимости свободного перемещения большего основания средней части 6 фигурных цапф 3, которая выполнена в виде усеченного конуса, в направлении устья скважины.
Опорные кольца 8 установлены в прорезях вкладышей 7, которые ограничивают их перемещение в вертикальной плоскости, и своими коническими поверхностями взаимодействуют с поверхностью средней части 6 фигурных цапф 3 шарошек 2 по принципу подшипников качения.
В теле корпуса 1 калибратора выполнены монтажные отверстия 14 и 15 с резьбой для соединения с переходниками 11 и 12 имеющими резьбу с шагом, равным шагу резьбы монтажных отверстий 14 и 15.
Из практики отработки шарошечных долот известно, что после проходки определенного интервала скважины долота теряют первоначальный диаметр. Это приводит к сужению призабойного участка скважины, что особенно заметно при бурении крепких горных пород. В результате при спуске в скважину нового долота ему приходится разбуривать этот зауженный интервал, что весьма отрицательно сказывается как на работе долота, которое дойдя до забоя уже теряет часть своего рабочего ресурса из-за износа периферийного вооружения, так и на технологии бурения скважины, т.к. процесс разбуривания требует дополнительных затрат времени и связан с возможностью возникновения аварийной ситуации.
Применение калибратора в значительной степени сокращает зауженный интервал скважины и увеличивает среднюю износостойкость шарошечного долота примерно на 25-30%.
Шарошки калибратора вступают в работу после того, как долото потеряет первоначальный диаметр даже на незначительную величину. В начальный момент работы предлагаемого калибратора в контакте находятся только цилиндрические части фигурных цапф 3 шарошек 2 (фиг.1), представляющие собой опоры скольжения, на которые действует сила реакции со стороны стенок зауженной скважины, направленная к оси калибратора. Конические поверхности фигурных цапф 3 шарошек 2 и опорных колец 8 не соприкасаются, т.к. между ними имеется минимальный зазор, предусмотренный конструкцией калибратора, исходя из условий его сборки.
Средняя часть 6 фигурных цапф 3, которая выполнена в виде усеченного конуса, и коническая поверхность колец 8 начнут взаимодействовать после того, как внешняя поверхность цилиндров 4 и 5 цапф 3 и сопряженные с ними цилиндрические поверхности вкладышей 7 износятся на величину, равную величине зазора между ними (на фиг.2 сечение А-А на фиг.1 показан один из моментов контакта конических поверхностей средней части 6 фигурных цапф 3 шарошек 2 и опорных колец 8). К этому моменту калибратор уже произведет определенную работу по калибровке стенок зауженной скважины.
После того как конические поверхности средней части 6 фигурных цапф 3 шарошек 2 и колец 8 вступят во взаимодействие, интенсивность износа опорных поверхностей цилиндров 4 и 5 фигурных цапф 3 шарошек 2 и вкладышей 7 заметно снизится, т.к. бóльшую часть работы примут на себя конические поверхности средней части 6 фигурных цапф 3 шарошек 2 и колец 8, которые работают по принципу подшипников качения, а не скольжения, как это имеет место у цилиндрических опорных поверхностей калибратора.
По мере износа уже всех трущихся поверхностей фигурных цапф 3 шарошек 2, вкладышей 7 и опорных колец 8, на которые помимо силы реакции со стороны стенок скважины действует еще и сила реакции от ее забоя, направленная к устью скважины, шарошки 2 будут стремиться сместиться в том же направлении, т.е. вверх от забоя. Благодаря тому, что конусности поверхностей средней части 6 фигурных цапф 3 шарошек 2 и опорных колец 8 направлены в противоположные стороны, шарошки 2 будут отжиматься в направлении стенок скважины вследствие того, что сила реакции с их стороны всегда меньше силы реакции со стороны забоя.
Такое смещение шарошек 2 будет происходить до тех пор, пока полностью не ликвидируются компенсационные зазоры 10 между верхними торцами цилиндров 5 фигурных цапф 3 шарошек 2 и внутренними стенками вкладышей 7. Иными словами, износ трущихся поверхностей фигурных цапф 3 шарошек 2, вкладышей 7 и опорных колец 8 будет компенсироваться постепенным поднятием шарошек по коническим поверхностям, сохраняя диаметр скважины в пределах первоначального диаметра долота более продолжительное время, чем это имеет место у известных калибраторов, а следовательно, и износостойкость его будет выше. К моменту предельного износа трущихся поверхностей фигурных цапф 3 шарошек 2, сопряженных с ними поверхностей вкладышей 7 и опорных колец 8, износ вооружения шарошек также достигнет максимально допустимой величины, т.е. произойдет выравнивание рабочих ресурсов опор и вооружения шарошек 2.
Исполнение пазов 13 глухими обеспечивает большую площадь поперечного сечения корпуса 1 калибратора в его опасном сечении, что в значительной степени снижает возможность его обрыва в скважине.
Сборка калибратора производится следующим образом.
В корпус 1 вставляются опорные кольца 8, затем в продольных пазах 13 корпуса 1 размещаются шарошки 2 с надетыми на их фигурные цапфы 3 вкладышами 7 до упора последних в донышки продольных пазов 13, после чего вкладыши 7 привариваются к корпусу 1. После этого переходники 11 и 12 навинчиваются на корпус калибратора 1. Калибратор готов к работе.
Таким образом, предлагаемое техническое решение калибратора имеет следующие преимущества перед известными:
1. Увеличивается рабочий ресурс цапф шарошек, обеспечивая большую износостойкость калибратора.
2. Выравниваются рабочие ресурсы опор и вооружения шарошек.
3. Более надежная конструкция корпуса гарантирует безаварийность работы в скважине.
Источники информации
1. «Разведка и охрана недр», м. 1974, №10, стр.36.
2. А.с. СССР №1108190, МКИ Е21/В 10/30, опуб. БИ №30, 1984 – прототип.
Формула изобретения
1. Шарошечный калибратор, содержащий корпус с центральным каналом и продольными пазами на боковой поверхности, в которых размещены шарошки с цапфами, находящиеся во вкладышах с прорезями для взаимодействия с опорными кольцами, жестко соединенных с корпусом, отличающийся тем, что цапфы шарошек имеют фигурную форму и торцевые части каждой цапфы выполнены в виде цилиндров, причем диаметр поперечного сечения цилиндров, находящихся на одном конце цапф, больше, чем диаметр поперечного сечения цилиндров, находящихся на другом конце, а средние части выполнены в виде усеченного конуса, при этом цапфы установлены с возможностью взаимодействия внешних поверхностей концевых цилиндров с внутренними цилиндрическими поверхностями вкладышей, а внешней поверхности средних частей цапф – с внешними коническими поверхностями опорных колец, при этом конические поверхности средних частей цапф и наружных поверхностей опорных колец имеют одинаковый угол конусности.
2. Шарошечный калибратор по п.1, отличающийся тем, что меньшие основания усеченных конусов цапф шарошек обращены в направлении устья, а большие основания усеченных конусов обращены к забою скважины.
3. Шарошечный калибратор по п.1, отличающийся тем, что меньший диаметр конусной поверхности опорных колец обращен в сторону забоя, а больший – к устью скважины.
РИСУНКИ
|
|