|
|
(21), (22) Заявка: 2007103720/03, 30.01.2007
(24) Дата начала отсчета срока действия патента:
30.01.2007
(46) Опубликовано: 10.09.2008
(56) Список документов, цитированных в отчете о поиске:
RU 2259457 C1, 27.08.2005. SU 1305310 A1, 23.04.1987. RU 2132934 C1, 10.07.1999. RU 2205935 C1, 10.06.2003. RU 27147 U1, 10.01.2003. RU 13909 U1, 10.06.2000. US 5415227 A1, 16.05.1995. US 6371210 A1, 16.04.2002. US 6564870 A1, 20.05.2003. US 20021255009 A, 12.09.2002.
Адрес для переписки:
423236, Республика Татарстан, г. Бугульма, ул. М. Джалиля, 32, “ТатНИПИнефть”, сектор создания и развития промышленной собственности
|
(72) Автор(ы):
Ибатуллин Равиль Рустамович (RU), Кунеевский Владимир Васильевич (RU), Амерханов Марат Инкилапович (RU), Страхов Дмитрий Витальевич (RU), Оснос Владимир Борисович (RU), Зиятдинов Радик Зяузятович (RU)
(73) Патентообладатель(и):
Открытое акционерное общество “Татнефть” им. В.Д. Шашина (RU)
|
(54) СПОСОБ СТРОИТЕЛЬСТВА МНОГОСТВОЛЬНОЙ СКВАЖИНЫ
(57) Реферат:
Изобретение относится к нефтегазодобывающей промышленности, а именно к строительству кустов нефтяных и газовых скважин. Способ включает прорезание обсадной колонны в требуемом интервале, спуск в интервал прорезания обсадной колонны труб с отклонителем, последовательное формирование по периметру обсадной колонны технологических каналов в продуктивном пласте при помощи гибкой трубы, спускаемой на дополнительной колонне труб с соплом, последовательно при помощи поворота отклонителя, формируя по периметру ряд технологических каналов. Гибкую трубу перед спуском в скважину оснащают фильтрами, фильтрующие отверстия которых перекрыты кислоторастворимым материалом. После формирования технологического канала гибкую трубу отсоединяют от дополнительной колонны труб и оставляют в технологическом канале. После чего дополнительную колонну труб извлекают из скважины и оснащают следующей гибкой трубой с фильтрами и после поворота отклонителя с помощью колонны труб на определенный угол формируют следующий технологический канал, аналогично первому. Далее процесс повторяется. После формирования последнего технологического канала во все технологические каналы закачивают кислоту для растворения кислоторастворимого материала фильтров. Обеспечивает повышение эффективности эксплуатации многоствольной скважины. 1 ил.
Изобретение относится к нефтегазодобывающей промышленности, а именно к строительству кустов нефтяных и газовых скважин.
Известен способ строительства многоствольной скважины (патент РФ №2256763, МПК7 Е21В 7/08, опубл. в бюл. №20 от 20.07.2005 г.), включающий спуск в обсадную колонну в требуемый интервал колонны труб, на конце которой расположен отклонитель, спуск в колонну труб гибкого вала с фрезой на конце до взаимодействия с отклонителем, вращение с поступательным перемещением гибкого вала с фрезой на конце, которая в результате взаимодействия с отклонителем прорезает окна в обсадной колонне и входит в пласт на заданное расстояние с получением технологических каналов, извлечение гибкого вала с фрезой из скважины, спуск в колонну труб гибкой трубы с соплом до входа под действием отклонителя в окна обсадной колонны, подачу жидкости под давлением через гибкую трубу с соплом с одновременным поступательным движением для увеличения технологических каналов до необходимой длины, при этом после спуска колонны труб с отклонителем в требуемый интервал, отклонитель фиксируют относительно обсадной колонны с возможностью последовательного поворота на определенный угол при каждом возвратно-поступательном движении колонны труб, далее после спуска в колонну труб гибкого вала с фрезой чередуют прорезание окна в обсадной колонне с получением технологического канала и извлечение фрезы из прорезанного окна с поворотом отклонителя на заданный угол при возвратно-поступательном движении колонны труб до завершения кругового цикла, затем после спуска в колонну труб гибкой трубы с соплом чередуют увеличение технологического канала до необходимой длины под действием жидкости, подаваемой под давлением в гибкую трубу с соплом, и извлечение сопла из окна обсадной колонны с поворотом отклонителя на заданный угол до завершения кругового цикла.
Наиболее близким по технической сущности к предлагаемому изобретению является способ строительства многоствольной скважины (патент РФ №2259457, МПК7 Е21В 7/06, опубл. в бюл. №24 от 27.08.2005 г.), включающий спуск в обсадную колонну колонны труб, на конце которой расположен отклонитель, вскрытие обсадной колонны в требуемом интервале, чередование спуска в колонну труб гибкой трубы с соплом до входа под действием отклонителя в окна обсадной колонны, подачу жидкости под давлением через гибкую трубу с соплом с одновременным поступательным движением для формирования технологических каналов до необходимой длины с извлечением гибкой трубы и поворотом колонны труб с отклонителем на необходимый угол до получения необходимого числа дополнительных стволов, после чего гибкую трубу окончательно извлекают из обсадной колонны, при этом вскрытие в обсадной колонне осуществляют по всему диаметру и на необходимую длину в требуемом интервале, после чего отклонитель устанавливают в зоне вскрытия, а гибкую колонну с соплом после формирования дополнительного ствола перед поворотом колонны труб с отклонителем извлекают только из зоны вскрытия обсадной колонны.
Как аналогу, так и прототипу, присущи общие недостатки:
во-первых, в процессе эксплуатации возможен обвал и засыпка горными породами одного или нескольких технологических каналов, что ведет к снижению дебита добываемой продукции;
во-вторых, отсутствие фильтрации в технологических каналах добываемой продукции может привести к частичной или полной потере проходного сечения в технологическом (их) канале (ах).
Задачей изобретения является повышение эффективности эксплуатации многоствольной скважины.
Указанная задача решается способом строительства многоствольной скважины, включающим прорезание обсадной колонны в требуемом интервале, спуск в интервал прорезания обсадной колонны колонны труб, на конце которой расположен отклонитель, фиксацию отклонителя относительно обсадной колонны с возможностью последовательного поворота на определенный угол, последовательное формирование по периметру обсадной колонны технологических каналов в продуктивном пласте необходимой длины при помощи гибкой трубы, спускаемой на дополнительной колонне труб с соплом на конце, через которые подают жидкость под давлением, последовательно при помощи поворота отклонителя, формируя по периметру ряд технологических каналов.
Новым является то, что гибкую трубу перед спуском в скважину оснащают фильтрами, установленными через определенное расстояние, фильтрующие отверстия которых перекрыты кислоторастворимым материалом, при этом после формирования технологического канала гибкую трубу отсоединяют от дополнительной колонны труб и оставляют в технологическом канале, после чего дополнительную колонну труб извлекают из скважины и оснащают следующей гибкой трубой с аналогичными фильтрами и после поворота отклонителя с помощью колонны труб на определенный угол формируют следующий технологический канал, аналогично первому, далее процесс повторяется, а после формирования последнего технологического канала во все технологические каналы закачивают кислоту для растворения кислоторастворимого материала фильтров.
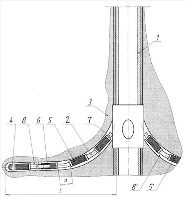
На чертеже изображена схема осуществления предлагаемого способа строительства многоствольной скважины.
Способ строительства многоствольной скважины осуществляется следующим образом.
Обсадную колонну 1 прорезают по периметру (любым известным способом), то есть вскрывают обсадную колонну 1 в интервале входа гибкой трубы 2 в продуктивный пласт 3.
После чего в интервал вскрытой обсадной колонны 1 спускают колонну труб с отклонителем (на чертеже не показано) на конце. Далее в интервале вскрытия обсадной колонны 1 фиксируют отклонитель с возможностью его последующего последовательного поворота с помощью колонны труб на определенный угол.
Затем в колонну труб спускают дополнительную колонну труб (на чертеже не показано), на конце которой присоединена гибкая труба 2 с соплом 4 на конце, при этом гибкую трубу 2 предварительно перед спуском в скважину оснащают фильтрами 5, установленными через определенное расстояние – а, причем фильтрующие отверстия (на чертеже не показано) фильтра 4 перекрыты кислоторастворимым материалом 6. Кроме того, гибкая труба 2 соединена с дополнительной колонной труб соединением 7 (например, срезным элементом), позволяющим впоследствии дополнительной колонне труб отсоединится от гибкой трубы 2. После спуска дополнительной колонны труб в интервал вскрытия обсадной колонны 1 гибкая труба 2 проходит сквозь отклонитель до взаимодействия сопла 4 со вскрываемым продуктивным пластом 3 в интервале вскрытия обсадной колонны 1.
Далее по дополнительной колонне труб в гибкую трубу 2 с соплом 4 подают жидкость под давлением, при этом одновременно придают дополнительной колонне труб и, соответственно, гибкой трубе 2 поступательное движение. Жидкость под большим давлением вытекает из сопла 4 гибкой трубы 2 и формирует технологический канал 8, который удлиняют до необходимой длины – L осевым перемещением дополнительной колонны труб вниз с устья скважины.
После чего разгрузкой дополнительной колоны труб отсоединяют ее в соединении 7 от гибкой трубы 2 с соплом 4. Это происходит потому, что сопло 4 гибкой трубы 2 находится во взаимодействии с продуктивным пластом 3. Далее извлекают дополнительную колонну труб из скважины, а гибкую трубу 2 оставляют в технологическом канале 8. Затем с устья скважины колонну труб с отклонителем поворачивают на определенный угол (в зависимости от количества технологических каналов, которые необходимо выполнить в интервале вскрытия обсадной колонны 1).
Далее на устье скважины на нижний конец дополнительной колонны труб присоединяют следующую гибкую трубу 2′ с соплом 4′ (на чертеже не показано) и аналогичными фильтрами 5′, отверстия которых перекрыты кислоторастворимым материалом 6′, после чего вновь спускают собранную компоновку в колонну труб и повторяют вышеописанный процесс, при этом образуется следующий технологический канал 8′. Далее процесс повторяется.
Таким образом, последовательно с помощью поворота отклонителя, посредством гибких труб 2”…2n, спускаемых на дополнительной колонне труб с соответствующими фильтрами 5”…5n, отверстия которых перекрыты кислоторастворимым материалом 6”…6n и соплами 4”…4n на конце, через которые подают жидкость под давлением, формируют технологические каналы 8”…8n необходимой длины в продуктивном пласте 3.
После формирования последнего технологического канала 8n во все технологические каналы 8…8n закачивают кислоту (например, соляную), которая растворяет кислоторастворимый материал 6…6n фильтров 5…5n и образует гидравлическую связь между продуктивным пластом 3 и технологическими каналами 8…8n обсадной колонны 1.
Предлагаемый способ строительства многоствольной скважины позволяет повысить эффективность эксплуатации многоствольной скважины, поскольку технологические каналы обсажены гибкой трубой, оснащенной фильтром.
Формула изобретения
Способ строительства многоствольной скважины, включающий прорезание обсадной колонны в требуемом интервале, спуск в интервал прорезания обсадной колонны колонны труб, на конце которой расположен отклонитель, фиксацию отклонителя относительно обсадной колонны с возможностью последовательного поворота на определенный угол, последовательное формирование по периметру обсадной колонны технологических каналов в продуктивном пласте необходимой длины при помощи гибкой трубы, спускаемой на дополнительной колонне труб с соплом на конце, через которые подают жидкость под давлением, последовательно при помощи поворота отклонителя формируя по периметру ряд технологических каналов, отличающийся тем, что гибкую трубу перед спуском в скважину оснащают фильтрами, установленными через определенное расстояние, фильтрующие отверстия которых перекрыты кислоторастворимым материалом, при этом после формирования технологического канала гибкую трубу отсоединяют от дополнительной колонны труб и оставляют в технологическом канале, после чего дополнительную колонну труб извлекают из скважины и оснащают следующей гибкой трубой с аналогичными фильтрами и после поворота отклонителя с помощью колонны труб на определенный угол формируют следующий технологический канал, аналогично первому, далее процесс повторяется, а после формирования последнего технологического канала во все технологические каналы закачивают кислоту для растворения кислоторастворимого материала фильтров.
РИСУНКИ
|
|