|
|
(21), (22) Заявка: 2007130254/03, 07.08.2007
(24) Дата начала отсчета срока действия патента:
07.08.2007
(46) Опубликовано: 10.09.2008
(56) Список документов, цитированных в отчете о поиске:
RU 2204688 С2, 20.05.2003. SU 898028 А, 15.01.1982. SU 1380329 A1, 10.12.1999. SU 1429632 A1, 20.08.2000. RU 2035581 C1, 20.05.1995. RU 2150575 C1, 10.06.2000. RU 34196 U1, 27.11.2003. RU 40375 U1, 18.08.2003. US 4280524 А, 28.07.1981. US 4298077 А, 03.11.1981. US 4300636 А, 17.11.1981. US 4936397 А, 26.06.1990. US 5174392 A, 29.12.1992. GB 2327691
Адрес для переписки:
614000, г.Пермь, ул. Карпинского, 24, ООО “ВНИИБТ – Буровой инструмент”, ОИС
|
(72) Автор(ы):
Голдобин Владимир Борисович (RU), Сударев Родион Петрович (RU)
(73) Патентообладатель(и):
Общество с ограниченной ответственностью “ВНИИБТ – Буровой инструмент” (RU)
|
(54) ПЕРЕЛИВНОЙ КЛАПАН ЗАБОЙНОГО ДВИГАТЕЛЯ
(57) Реферат:
Изобретение относится к буровой технике и может быть использовано в качестве клапанного устройства с винтовым забойным двигателем в составе колонны бурильных труб для сообщения или разделения внутренней полости бурильных труб с затрубным пространством в заданной технологической последовательности. Клапан содержит корпус, клапанную пару, выполненную с поясом скольжения, включающую седло, установленное в корпусе, и полый плунжер, размещенный внутри седла с радиальными отверстиями в них, пружину, расположенную на полом плунжере, и уплотнения. Клапанная пара выполнена золотникового типа, в которой диаметр проточного канала полого плунжера составляет 0,10-0,12 от длины полого плунжера, а площадь всех радиальных перепускных отверстий полого плунжера равна площади проточного канала в поперечном сечении полого плунжера. Полый плунжер выполнен цилиндрической формы с поясом скольжения и кольцевым буртом, расположенным в нижней части пояса скольжения, и подпружинен до упора верхним торцом кольцевого бурта к нижнему торцу седла. Радиальные перепускные отверстия полого плунжера и радиальные отверстия в седле и корпусе расположены на одном уровне, а пружина размещена между уступом в корпусе и нижним торцом кольцевого бурта полого плунжера. Обеспечивает высокую надежность срабатывания клапана в процессе бурения скважины, исключая розлив промывочной жидкости при подъеме колонны бурильных труб и обеспечивая заполнение внутренней полости труб при их спуске. 2 ил.
(56) (продолжение):
CLASS=”b560m”А, 29.07.1997. БАЛДЕНКО Д.Ф. и др. Винтовые забойные двигатели: Справочное пособие. – М.: ОАО “Издательство “НЕДРА”, 1999, с.71-74.
Изобретение относится к буровой технике и может быть использовано в качестве клапанного устройства с винтовым забойным двигателем в составе колонны бурильных труб для сообщения или разделения внутренней полости бурильных труб с затрубным пространством в заданной технологической последовательности.
Известен переливной клапан бурильной колонны с героторным двигателем (патент РФ 2204688, Е21В 21/10, Е21В 34/06), который по техническому решению наиболее близок к заявляемому объекту и выбран в качестве прототипа, включающий корпус с резьбой на его краях, плунжер, седло и установленную между ними пружину, причем плунжер размещен внутри седла и образует с ним клапанную ступенчатую пару, имеющую два пояса скольжения, при этом периметр уменьшенного пояса скольжения седла с нижней частью плунжера составляет 0,33-0,77 от периметра увеличенного пояса скольжения седла с верхней частью плунжера, а между корпусом и седлом имеется кольцевая щель, которая сообщена с полостью между седлом и плунжером радиальными отверстиями.
Существенным недостатком известного переливного клапана с героторным механизмом является затормаживание ступенчатого плунжера в седле на поясах скольжения при его перемещении вверх прижатыми к седлу и плунжеру манжетами после отключения бурового насоса за счет остаточного перепада давления между внутренней полостью клапана и затрубным пространством, а также действующей на верхнюю часть плунжера осевой силы. Полная разгерметизация клапанной пары произойдет только после выхода радиальных отверстий плунжера за пределы уменьшенного пояса скольжения седла в полость, где размещается пружина. Это приводит к снижению надежности срабатывания переливного клапана потому, что до момента его открытия на ступенчатый плунжер, кроме сил трения манжет о седло и плунжер, действуют неуравновешенные внешние силы, возникающие на торцах ступенчатого плунжера из-за разности давлений промывочной жидкости, находящейся во внутренней полости клапана и в затрубном пространстве. Результирующая сила, действуя на ступенчатый плунжер сверху вниз, препятствует его перемещению под усилием пружины вверх до упора для открытия переливного клапана. Максимальное усилие пружины определяется условием, при котором переливной клапан под действием потока промывочной жидкости должен закрыться раньше, чем произойдет запуск забойного двигателя. Результирующая сила действует на ступенчатый плунжер сверху вниз, и силы трения манжет о плунжер в известном переливном клапане всегда превышают усилие сжатой пружины до момента открытия клапана, так как это усилие уменьшается при перемещении плунжера вверх пропорционально увеличению длины пружины.
Эти и другие недостатки приводят к подъему части колонны бурильных труб из скважины при закрытом переливном клапане с розливом дорогостоящей промывочной жидкости в момент отсоединения очередной бурильной трубы, поднятой над ротором, разбрызгиванию и необходимости заполнения скважины промывочной жидкостью до требуемого уровня.
Предлагаемое техническое решение направлено на обеспечение надежного функционирования переливного клапана в процессе спуско-подъемных операций колонны бурильных труб с забойным двигателем при бурении скважин.
Поставленная техническая задача решается за счет того, что в переливном клапане забойного двигателя, содержащем корпус, клапанную пару, выполненную с поясом скольжения, включающую седло, установленное в корпусе, и полый плунжер, размещенный внутри седла, в которых выполнены радиальные отверстия, пружину, расположенную на полом плунжере и уплотнения, согласно изобретению клапанная пара выполнена золотникового типа, в которой диаметр проточного канала в полом плунжере составляет 0,10-0,12 от длины полого плунжера, а площадь всех радиальных перепускных отверстий в полом плунжере равна площади проточного канала в поперечном сечении полого плунжера, при этом полый плунжер выполнен цилиндрической формы с поясом скольжения и кольцевым буртом, расположенным в нижней части пояса скольжения, и подпружинен до упора верхним торцом кольцевого бурта к нижнему торцу седла, причем радиальные перепускные отверстия в полом плунжере и радиальные отверстия в седле и корпусе расположены на одном уровне, а пружина размещена между упором в корпусе и нижним торцом кольцевого бурта полого плунжера.
Выполнение переливного клапана забойного двигателя с клапанной парой золотникового типа, имеющей полый плунжер цилиндрической формы на всем участке с поясом скольжения, взаимодействующий с седлом, позволяет снизить осевую силу, требуемую для перемещения полого плунжера относительно седла. Это объясняется тем, что под действием перепада давления между внутренней полостью колонны бурильных труб и затрубным пространством силы, прижимающие манжеты к полому плунжеру в клапанной паре золотникового типа, и силы, действующие на торцевые поверхности полого плунжера при открытии клапана, уравновешены, следовательно, для перемещения полого плунжера в седле требуется преодолеть только силы трения манжет о полый плунжер. Кроме того, перемещение полого плунжера не влияет на изменение объема промывочной жидкости во внутренней полости переливного клапана.
Выполнение полого плунжера с диаметром проточного канала, составляющим 0,10-0,12 от длины полого плунжера, обеспечивает надежное закрытие переливного клапана забойного двигателя за счет гидравлической нагрузки, возникающей при течении промывочной жидкости через радиальные перепускные отверстия и проточный канал полого плунжера, обладающие оптимальным гидравлическим сопротивлением. Эта гидравлическая нагрузка достаточна для перемещения полого плунжера вниз, сжатия пружины, а также удержания полого плунжера в нижнем положении для герметичного перекрытия клапанной парой золотникового типа радиальных отверстий в седле. В этом положении полого плунжера внутренняя полость колонны бурильных труб разобщена с затрубным пространством и промывочная жидкость под давлением поступает через проточный канал полого плунжера переливного клапана к забойному двигателю.
Размещение пружины между упором в корпусе и нижним торцом кольцевого бурта полого плунжера, т.е. в закрытой от потока промывочной жидкости области, снижает износ и повышает долговечность и надежность работы клапана.
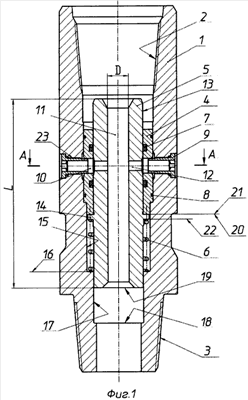
На фиг.1 изображен переливной клапан забойного двигателя, продольный разрез.
На фиг.2 показан переливной клапан забойного двигателя, поперечный разрез А-А.
Переливной клапан забойного двигателя, изображенного на фиг.1, содержит корпус 1 с присоединительными резьбами 2 и 3, седло 4, установленное в корпусе 1, плунжер 5, размещенный внутри седла 4, пружину 6, манжеты 7, уплотнительные кольца 8 и фильтры 9.
Седло 4 снабжено манжетами 7 и уплотнительными кольцами 8, расположенными в канавках седла 4. На седле 4 выполнены радиальные отверстия 10. Полый плунжер 5 выполнен цилиндрическим длиной «L» с проточным каналом 11 диаметром «D», с радиальными перепускными отверстиями 12 диаметром «d» на поясе скольжения 13 полого плунжера 5. В нижней части пояса скольжения 13 расположен кольцевой бурт 14. В корпусе 1 выполнена расточка 15 с уступом 16 для размещения пружины 6 и расточка 17 с уступом 18 для упора полого плунжера 5 нижним торцом 19 в уступ 18 при его перемещении в крайнее нижнее положение. Кольцевой бурт 14 полого плунжера 5 имеет верхний торец 20, примыкающий к нижнему торцу 21 седла 4, и нижний торец 22, который соприкасается с пружиной 6. В корпусе 1 выполнены радиальные отверстия 23 с резьбой для установки фильтров 9, которые фиксируют седло 4 в корпусе 1 от осевого перемещения. Радиальные отверстия 23 и 10 в корпусе 1 и седле 4, а также радиальные перепускные отверстия 12 в полом плунжере 5 расположены на одном уровне с равным угловым расположением осей в секущей плоскости А-А, что показано на фиг.1 и 2.
Предлагаемый переливной клапан забойного двигателя работает следующим образом.
При спуске забойного двигателя в компоновке с открытым переливным клапаном в скважину промывочная жидкость из затрубного пространства заполняет внутреннюю полость труб через отверстия в клапане, при этом уровень промывочной жидкости в затрубном пространстве и в колонне бурильных труб становится одинаковым.
После пуска бурового насоса промывочная жидкость подается по трубам к переливному клапану и винтовому забойному двигателю, давление над переливным клапаном повышается из-за гидравлического сопротивления потоку промывочной жидкости в проточном канале и перепускных отверстиях полого плунжера. Под действием гидравлической нагрузки полый плунжер будет перемещаться вниз, сжимая пружину и перекрывая поток жидкости через радиальные отверстия в седле, разобщая внутреннюю полость бурильных труб с затрубным пространством.
Уплотнительные кольца при этом герметизируют сопряжение седла с корпусом, а подвижное соединение полого плунжера с седлом клапанной пары золотникового типа герметизируется манжетами, предотвращая утечки промывочной жидкости при перепаде давления между внутренней полостью клапана и затрубным пространством.
При заданных параметрах исполнения радиальных перепускных отверстий и проточного канала в полом плунжере обеспечивается надежное закрытие переливного клапана под действием меньшего перепада давления, чем необходимо для запуска винтового забойного двигателя. Промывочная жидкость после закрытия переливного клапана поступает в забойный двигатель и приводит его в действие.
При прекращении циркуляции промывочной жидкости и подъеме колонны бурильных труб полый плунжер усилием сжатой пружины перемещается вверх, клапан открывается и жидкость из поднятых над устьем скважины труб поступает через отверстия клапана в затрубное пространство с выравниванием уровня жидкости в трубах и скважине.
Выполнение переливного клапана забойного двигателя с предложенной клапанной парой золотникового типа обеспечивает высокую надежность срабатывания клапана в процессе бурения скважины, исключая розлив промывочной жидкости при подъеме колонны бурильных труб и обеспечивая заполнение внутренней полости труб при их спуске.
Формула изобретения
Переливной клапан забойного двигателя, содержащий корпус, клапанную пару, выполненную с поясом скольжения, включающую седло, установленное в корпусе, и полый плунжер, размещенный внутри седла, в которых выполнены радиальные отверстия, пружину, расположенную на полом плунжере, и уплотнения, отличающийся тем, что клапанная пара выполнена золотникового типа, в которой диаметр проточного канала в полом плунжере составляет 0,10-0,12 от длины полого плунжера, а площадь всех радиальных перепускных отверстий в полом плунжере равна площади проточного канала в поперечном сечении полого плунжера, при этом полый плунжер выполнен цилиндрической формы с поясом скольжения и кольцевым буртом, расположенным в нижней части пояса скольжения, и подпружинен до упора верхним торцом кольцевого бурта к нижнему торцу седла, причем радиальные перепускные отверстия в полом плунжере и радиальные отверстия в седле и корпусе расположены на одном уровне, а пружина размещена между уступом в корпусе и нижним торцом кольцевого бурта полого плунжера.
РИСУНКИ
|
|