|
(21), (22) Заявка: 2005131194/03, 10.03.2004
(24) Дата начала отсчета срока действия патента:
10.03.2004
(30) Конвенционный приоритет:
10.03.2003 NZ 524666
(43) Дата публикации заявки: 10.02.2006
(46) Опубликовано: 10.09.2008
(56) Список документов, цитированных в отчете о поиске:
SU 188425 А, 01.11.1966. SU 120197 А, 03.06.1959. SU 480834 А, 15.07.1975. SU 901501 А, 30.01.1982. SU 1222833 А, 07.04.1986. US 4274494 А, 23.06.1981. US 4344599 А, 17.08.1982.
(85) Дата перевода заявки PCT на национальную фазу:
10.10.2005
(86) Заявка PCT:
NZ 2004/000051 (10.03.2004)
(87) Публикация PCT:
WO 2004/081332 (23.09.2004)
Адрес для переписки:
129090, Москва, ул. Б.Спасская, 25, стр. 3, ООО “Юридическая фирма Городисский и Партнеры”, пат.пов. С.А.Дорофееву, рег.№ 146
|
(72) Автор(ы):
УИЛЛЬЯМС Тимоти Гарри (NZ)
(73) Патентообладатель(и):
АТЛАС КОПКО РОКК ДРИЛЛС АБ (SE)
|
(54) УСОВЕРШЕНСТВОВАНИЯ БУРОВОГО УСТРОЙСТВА
(57) Реферат:
Изобретение относится к горной промышленности, проходке туннелей и области бурения ствола скважины. Устройство имеет основание, к которому поворотным образом подсоединен буровой монтажный рычаг, содержащий внутренний рычаг и внешний рычаг, внутренний рычаг имеет первый конец и второй конец, а внешний рычаг имеет шарнирно соединенный конец и свободный конец, первый конец внутреннего рычага шарнирно соединен посредством первого шарнирного соединения с основанием, а его второй конец шарнирно соединен посредством второго шарнирного соединения с концом шарнирного соединения внешнего рычага, монтажное средство для установки бура, выполненное на свободном конце внешнего рычага, и приводное средство для приведения в действие монтажного средства, расположенное на свободном конце внешнего рычага, по существу, по прямолинейной траектории. Обеспечивает возможность использования устройства в ограниченных пространствах. 20 з.п. ф-лы, 21 ил.
Область техники, к которой относится изобретение
Настоящее изобретение касается усовершенствований в буровом устройстве или касающихся бурового устройства. Более конкретно, но не исключительно, изобретение касается усовершенствований таких устройств, которые используются в условиях, отвечающих определенным требованиям, например, в горной промышленности, проходке туннелей и области бурения ствола скважины с промывкой водой.
Предшествующий уровень техники
Буровые устройства в горной промышленности и в области проходки туннелей используются для бурения скважин для установки штанговой крепи. Установку штанговой крепи предпринимают для предотвращения камнепада и обвалов и в других случаях стабилизирования кровли и стен туннеля или шахты.
В горной или добывающей промышленности буровые устройства также используют как часть процесса выемки горной породы, например, со скважинами, подлежащими бурению для закладки взрывчатых веществ для взрывных работ. Другие использования включают бурение скважин для таких целей, как очистная выемка и разведочное бурение.
Буровые устройства предшествующего уровня техники для использования в вышеупомянутых ситуациях обычно включают стрелу-манипулятор, вдоль которого скользит бурильный колонковый молоток. Стрелу-манипулятор обычно устанавливают в продольном направлении в люльке с буром, скользящим образом установленной на стреле-манипуляторе. Для перемещения каждого устройства из стрелы-манипулятора и бура обеспечен отдельный подающий механизм. В таком устройстве бур обычно перемещают посредством цепи или троса, который проходит вокруг колес, установленных на концах стрелы-манипулятора, и концы которого закреплены на буре. Цепь перемещают посредством приведения в действие гидравлического цилиндра или подобного устройства. Стрелу-манипулятор, в свою очередь, перемещают относительно люльки посредством гидравлического цилиндра, установленного между ней и люлькой.
Существенным фактором для конструирования бурового оборудования, используемого в подземных горных работах и проходке туннелей, является проблема размера и маневренности в ограниченном пространстве.
В известном устройстве, если требуется пробурить 6 м скважину, стрела-манипулятор должна также иметь длину 6 м. Такая конфигурация способна бурить более короткие отверстия, однако, когда требуется более короткое отверстие, 6 м стрела-манипулятор с 2 м буровой штангой имеет 4 м излишнюю стрелу-манипулятор позади бура.
Буровым установкам, закрепленным на колесных транспортных средствах, часто требуется маневрировать в весьма затруднительных положениях в подземных туннелях. Длина бурового устройства часто затрудняет его маневренность, и часто возникают соударения. Разборка для улучшения маневренности в общем является непрактичной.
В дополнение к пространственным соображениям, буровое устройство, используемое в горных работах, проходке туннелей и карьерных работах, должно иметь устойчивую и прочную конструкцию, чтобы справиться с другими аспектами жестких внешних условий.
К сожалению, скользящие приспособления известных буровых устройств не полностью отвечают этим требованиям и имеют необходимость в дорогостоящем обслуживании. Обычно самое большое повреждение происходит в незащищенном гидравлическом шланге, подводящем движущую силу к гидравлическим цилиндрам, производящим движение вперед стрелы-манипулятора, и к буру. Другой проблемной областью являются незащищенные барабаны для наматывания гидравлического шланга. Они постоянно подвергаются риску повреждения из-за падающих камней или риску раздавливания большим количеством двигающихся деталей.
В дополнение к повреждению от камнепада, из-за экстремальных рабочих условий происходят чрезмерный износ и разрывы. Система скольжения, используемая для продвижения буровой штанги в горную породу, плохо подходит для ситуации, при которой мелкие осколки горной породы от промывочной воды постоянно намываются и попадают между поверхностями износа. Там, где используют бурильный молоток, эта ситуация сочетается с действием бурильного молотка, которое производит существенную составляющую вибрацию, вызывающую ускорение износа между двигающимися деталями. Эти системы предшествующего уровня техники также имеют различные другие подверженные существенному износу детали, участвующие в процессе перемещения бура вперед, которые подвергаются подобному характеру износа.
Скользящая конфигурация известного устройства также мешает другим действиям, осуществляемым в процессе проходки туннелей или горных работ, например, таких как применение торкрет-бетона. Торкрет-бетон является чрезвычайно абразивным материалом, содержащим стальные волокна, суспендированные в бетоне. Его распыляют на внутренние поверхности туннелей для целей упрочнения крыши. Если торкрет-бетон случайно распыляют на скользящие поверхности известных устройств, износ ускоряется и стоимость ремонта увеличивается.
Другой признанной областью применения изобретения, прежде всего из-за компактного характера устройства, сконструированного согласно изобретению, является использование вместе с буровыми установками, которые может потребоваться транспортировать с одного участка на другой по дорогам и шоссе общественного пользования.
В имеющихся конструкциях обычно используется башенная конструкция для бурения в направлении, по существу, вертикально вниз. Такие устройства являются громоздкими и часто могут требовать значительного времени для наладки после транспортировки к месту бурения. Помимо этого, из-за общей конструкции такого оборудования транспортирование само по себе является проблемой. Перемещение такого оборудования, даже частично демонтированного, по дорогам общественного пользования означает, что требуются транспортные средства большой грузоподъемности, операция транспортирования является трудоемкой и дорогостоящей. Причинение неудобства людям также часто становится проблемой.
Целью изобретения является создание бурового устройства, которое решает по меньшей мере некоторые из указанных выше проблем, связанных с известными устройствами.
Сущность изобретения
В своем самом широком аспекте изобретение обеспечивает буровое устройство, имеющее основание, к которому поворотным образом подсоединен бурильный несущий рычаг, имеющий внутренний рычаг и внешний рычаг, при этом внутренний рычаг имеет первый конец и второй конец, а внешний рычаг имеет шарнирно соединенный конец и свободный конец, причем первый конец внутреннего рычага шарнирно соединен посредством первого шарнирного соединения с основанием, а второй его конец поворотным образом соединен посредством второго шарнирного соединения с шарнирно соединенным концом внешнего рычага, на свободном конце внешнего рычага расположено монтажное средство, приспособленное при использовании для установки бура, приводное средство, приспособленное для приведения в действие монтажного средства и расположенное на свободном конце внешнего рычага вдоль, по существу, прямолинейной траектории.
Предпочтительно внутренний рычаг смещен от внешнего рычага для обеспечения возможности поворота внешнего рычага без помех за пределы внутреннего рычага. Оптимально внешний рычаг можно поворачивать по меньшей мере на 320 градусов относительно внутреннего рычага.
Предпочтительно внутренний рычаг можно поворачивать на 180 градусов относительно основания.
По желанию, внутренний рычаг и внешний рычаг имеют, по существу, одинаковую длину, а основание выполнено с возможностью предотвращения столкновений со свободным концом внешнего рычага.
Монтажное средство может быть поворотным образом прикреплено посредством третьего шарнирного соединения к свободному концу внешнего рычага.
Предпочтительно приводное средство может содержать один или несколько гидравлических цилиндров. Эти гидравлические цилиндры производят поворот первого, второго и третьего шарнирных соединений.
По желанию, второе шарнирное соединение включает смещенный рычаг, расположенный на той же оси, что и внешний рычаг, но смещенный на 90 градусов относительно внешнего рычага, причем приведения в действие второго шарнирного соединения достигают посредством пары гидравлических цилиндров, смонтированных так, что, когда первый упомянутый гидравлический цилиндр полностью выдвинут или втянут и поэтому не имеет возможности поворачивать внешний рычаг, второй упомянутый гидравлический цилиндр находится в середине своего хода.
В более предпочтительном варианте изобретения третье шарнирное соединение служит в качестве соединения угловой коррекции бура, чтобы при использовании удерживать буровую штангу в правильной плоскости во время процесса бурения.
Предпочтительно устройство дополнительно включает опорный рычаг буровой штанги, чтобы при использовании поддерживать буровую штангу в правильном положении во время бурения.
По желанию, опорный рычаг является выдвигающимся для его перемещения назад или вперед параллельно оси бура.
Удобно, что гидравлический шланг, связанный со средством привода, полностью размещен внутри внутреннего и внешнего рычагов. Оптимально предоставить возможность гидравлической текучей среде, воде и воздуху достигать различного гидравлического оборудования и бура при использовании установленного на монтажном средстве, в соединениях используются уплотнения вращательного соединения и снабженные каналами штифты, которые образованы и выполнены с возможностью поворота на 360 градусов без перекручивания шлангов.
По желанию, монтажное средство включает насадку для нанесения торкрет-бетона, а устройство включает подающие трубы для торкрет-бетона для обеспечения возможности, при использовании, распылять торкрет-бетон, используя буровое устройство.
Оптимально устройство дополнительно включает компьютерное средство управления, обеспечивающее приведение в действие различных гидравлических цилиндров управления и их позиционирование согласно схеме, управляемой программным обеспечением.
По желанию, компьютерное средство управления включает датчики для устанавливания положений различных составных частей устройства и элементы самодиагностики, так что когда внутренний и внешний рычаги находятся в определенном физическом положении, датчики проверяются на точность.
В гидравлической схеме подачи текучей среды расположен датчик для распознавания начала заклинивания буровой штанги.
Предпочтительно устройство включает датчик, расположенный в гидравлической схеме подачи текучей среды, обеспечивающей вращение бурильной штанги, и приспособленный для определения частоты работы бурильного молотка с целью определения оптимальной скорости подачи/регулирования давления.
По желанию, изобретение дополнительно включает электронное запоминающее устройство для данных и средство отображения для данных, записанных от различных датчиков в гидравлической и пневматической подачах для определения износа инструмента и буровой штанги и их эффективности, твердости горной породы и геологии, и количестве болтов, установленных в данный период использования.
Преимущества настоящего изобретения состоят в том, что оно обеспечивает устройство подачи для бурения по коренным породам, в котором конструкция выполняет движения смещения настолько просто, насколько это возможно, и не использует механизм скольжения или незащищенные шланги.
Дополнительное преимущество состоит в том, что устройство согласно изобретению способно работать в многоцелевом режиме, причем его можно использовать в таких применениях, как распыление торкрет-бетона, а также установка штанговой крепи и разведочное бурение.
Еще одно дополнительное преимущество состоит в том, что устройство согласно изобретению может использовать диапазон различных длин буровой штанги в той же конфигурации без затрат пространства.
Еще одно дополнительное преимущество состоит в том, что изобретенное устройство можно легко складывать в компактную форму для целей транспортировки.
Краткое описание чертежей
Далее будут описаны два предпочтительных варианта изобретения, только посредством примера, и без ограничения относительно намеченного объема формулы изобретения. Предпочтительные варианты осуществления имеют частное применение в бурении по коренным породам и описаны ниже со ссылкой на прилагаемые чертежи, на которых изображено следующее:
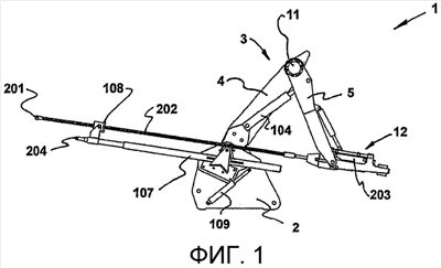
фиг.1 представляет вид сбоку бурового устройства согласно настоящему изобретению;
фиг.2 представляет вид сверху устройства, показанного на фиг.1;
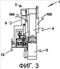
фиг.3 представляет вид сзади устройства, показанного на фиг.1;
фиг.4 представляет вид спереди устройства, показанного на фиг.1;
фиг.5 представляет схематический вид сбоку устройства, показанного на фиг.1-4 при использовании, изображающий различные гидравлические цилиндры и рычажные механизмы штифтовых соединений;
фиг.6 представляет схематический вид сбоку альтернативного, по существу, механически приводимого в действие варианта устройства согласно изобретению;
фиг.7 и 8 представляют перспективные схематические виды устройства, показанного на фиг.6 в различных состояниях приведения в действие;
фиг.9-12 представляют ряд перспективных видов устройства, показанного на фиг.1-4 на различных стадиях приведения в действие, изображающих возможный диапазон движения;
фиг.13-18 представляют ряд видов сбоку устройства, показанного на фиг.1-4 на различных стадиях приведения в действие во время процесса бурения;
фиг.19 представляет вид в перспективе устройства, показанного на фиг.1-4, сложенного для целей типа транспортировки;
фиг.20 представляет вид в перспективе устройства, показанного на фиг.1-4, показанного с задней правой стороны;
фиг.21 представляет вид в перспективе устройства, показанного на фиг.20, показанного с передней левой стороны.
Описание предпочтительных вариантов осуществления
На чертежах показано буровое устройство 1. Устройство 1 имеет основание 2, на котором поворотным образом установлен буровой рычаг 3. Буровой рычаг 3 имеет внутренний рычаг 4 и внешний рычаг 5.
Внутренний рычаг 4 имеет первый конец 6 и второй конец 7. Первый конец 6 поворотным образом соединен посредством первого шарнирного соединения 8 с основанием 2. Внешний рычаг 5 имеет первый конец 9 и второй конец 10. Второй конец 7 внутреннего рычага 4 поворотным образом соединен посредством второго шарнирного соединения 11 с первым концом 9 внешнего рычага 5.
На втором конце 10 внешнего рычага 5 расположен буровой монтажный узел 12.
Приведение в действие внутреннего и внешнего рычагов 4 и 5 достигают с помощью приводного средства, выполненного в виде гидравлических цилиндров 13. Надлежащее действие цилиндров 13 заставляет второй конец 10 внешнего рычага 5 следовать, по существу, по прямолинейной траектории.
Внутренний рычаг 4 смещается от внешнего рычага 5 для обеспечения возможности поворота внешнего рычага 5 за пределы внутреннего рычага 4 без помех. Смещение является таким, что внешний рычаг 5 может поворачиваться по меньшей мере на 320 градусов относительно внутреннего рычага 4.
Функция первого шарнирного соединения 8 состоит в удерживании бурового рычага 3 под правильным углом во время процесса бурения. В предпочтительном варианте осуществления, изображенном на фиг.1-5 и 9-21 (ниже “первом предпочтительном варианте осуществления”), этого достигают, используя два гидравлических цилиндра 101 и 102 для позиционирования. Эти цилиндры 101 и 102 смещены на 75 градусов относительно друг друга. Это обеспечивает расположение по меньшей мере одного из цилиндров 101/102 перпендикулярно к оси вращения первого шарнирного соединения 8 в любой заданный момент времени и возможность внутреннему рычагу 4 поворачиваться до 180 градусов относительно основания 2.
В первом предпочтительном варианте осуществления гидравлические цилиндры 103 и 104 управляют расположением рычагов 4 и 5 относительно друг друга. Шарнирное соединение 11 использует приспособление, которое обеспечивает возможность внешнему рычагу 5 поворачиваться больше, чем на 180 градусов.
Для этого использован смещенный рычаг 105, расположенный на той же оси, что и внешний рычаг 5, но имеющий смещение позиционирующего гидравлического цилиндра 103 на 90 градусов относительно позиционирующего цилиндра 104 внешнего рычага 5. Это означает, что, когда один цилиндр 103/104 полностью выдвинут или втянут и поэтому не имеет никакой возможности поворачивать рычаг, другой цилиндр 104/103 находится в середине своего хода. Таким образом, когда цилиндр 103 смещенного рычага полностью втянут и не может поворачивать смещенный рычаг 105, цилиндр 104 внешнего рычага находится в середине своего хода и перпендикулярен оси.
Внутренний рычаг 4 и внешний рычаг 5, по существу, имеют одинаковую длину, а расположение соединений 8, 11 и рычагов 4, 5 такое, что процесс бурения можно начать позади основного соединения 8, и это также означает, что длины рычагов 4, 5 должны составлять только порядка 28% длины буровой штанги. Например, при использовании 4 м буровой штанги каждый из внутреннего и внешнего рычагов 4, 5 должен иметь длину только приблизительно 1,2 м. Поэтому этот признак обеспечивает максимальную гибкость, например, диапазона длин буровой штанги, которые можно использовать.
Соединение 14 угловой коррекции бура установлено на свободном конце 10 внешнего рычага 5. Функция этого соединения 14 состоит в поддерживании бура в правильной плоскости во время процесса бурения. Используемый механизм известен, причем механическая сборка подобна сборке, которую используют для перемещения гидравлических ковшей экскаваторов. Эта система включает люльку 15 бура и позиционирующий цилиндр 106 люльки бура, перемещающий люльку 15 бура до 180 градусов.
Первый предпочтительный вариант осуществления изобретения дополнительно включает позиционирующий рычаг 107 буровой штанги. К переднему концу этого рычага 107 прикреплены салазки 108 буровой штанги. Рычаг 107 имеет три функции, а именно он нацеливает головную часть 201 буровой штанги 202, удерживает буровую штангу 202 в положении для забуривания скважины и перемещается в середину буровой штанги 202 в качестве опоры, когда бур 203 работает.
Рычаг 107 является выдвигающимся, с направлением перемещения назад или вперед, которое является линейным и параллельным оси бурения. Рычаг 107 прикреплен вращающимся образом к основанию 2, с вращением, приводимым в действие гидравлическим цилиндром 109, проходящим между рычагом 107 и основанием 2.
Устойчивость для буровой штанги 202, при осуществлении забуривания, не задается жесткостью рычага 107, а скорее точкой 204 на свободном конце рычага 107, проталкиваемого в породу. Это усилие получают, прикладывая продолжающееся усилие к рычагу 107, предпочтительно приводя к прикладываемому усилию до 8 тонн.
Фиг.5 схематически показывает точки действия и срабатывания различных гидравлических цилиндров, рычажных механизмов и шарнирных соединений.
В первом предпочтительном варианте осуществления весь гидравлический шланг, связанный с различным гидравлическим оборудованием, полностью размещен внутри внутреннего и внешнего рычагов 4, 5 (на фиг.5 не показано). Это является существенным преимуществом перед конструкциями предшествующего уровня техники.
Для обеспечения возможности гидравлической текучей среде, воде и воздуху достигать различного гидравлического оборудования в соединениях используют уплотнения вращательных соединений бурильного молотка и бура 203 и снабженные каналами штифты, и они сконфигурированы и выполнены с возможностью поворачиваться на 360 градусов без перекручивания шлангов.
В первом предпочтительном варианте осуществления устройство 1 дополнительно включает компьютерное средство управления, обеспечивающее приведение в действие различных гидравлических управляющих и позиционирующих цилиндров согласно схеме, управляемой программным обеспечением.
Компьютерное средство управления также обеспечивает возможность использовать множество различных длин буровых штанг 202 с блоком 1 одного и того же размера. Требуемую длину буровой штанги 202 можно просто выбирать из меню компьютера, и компьютер затем пересчитывает механическое перемещение для подходящей длины буровой штанги 202.
В первом предпочтительном варианте осуществления получают линейное перемещение рычага 3 (используемого при бурении или позиционировании), используя компьютерное средство управления. Для этой стратегии управления имеется множество элементов. Во-первых, положения рычага 3 и соединений 8, 11, 14 измеряют датчиками 301, 302, 303 и 304. Эти датчики являются прочными приборами, устойчивыми к вибрации, и их используют для измерения положения и скорости вращения.
Используя измеренные датчиками положения, вычисляют декартовские координаты рычага 107.
Затем рассчитывают требуемое угловое положение рычагов 4, 5, используя декартовские координаты рычага 107. Также рассчитывают требуемые угловые скорости. Это делают, дифференцируя требуемые угловые положения рычагов 4, 5.
Требуемые скорости соединений 8, 11 рычагов и положения рычагов 4, 5 используют для вычисления требуемых скоростей работы гидравлических цилиндров, которые достигают с помощью ПИД-контроллеров (пропорционально-интегрально-дифференциального регулирования) через усилители широтно-импульсной модуляции (ШИМ), приводя в действие гидравлические клапаны с пропорциональным управлением.
Переменными величинами процесса для ПИД-контроллеров являются положения соединений 8/11/14 рычагов. Ответную реакцию положений соединений рычагов измеряют датчиками 301, 302 и 303.
Линейное перемещение рычагов 4, 5 во время бурения во многих отношениях подобно позиционированию. Однако рычаги 4, 5 и люлька 15 бура следуют по воображаемой линии через салазки 108 буровой штанги, под тем же углом, что и рычаг 107, в коренную породу.
Во время бурения рычаг 107 проходит на половину нормы буровой штанги 202.
Перед началом бурения рычаг 107 направляет рычаги 4, 5 и люльку 15 бура. Оператор регулирует угол рычага 107 и его продолжение, пока не произойдет соприкосновение с породой.
Как показано на фиг.9-18, процесс бурения начинается с забуривания. Это является таким же процессом, что и описанный процесс бурения, за исключением того, что положение рычага 107 во время процесса остается фиксированным.
При бурении используют гидравлическое давление подачи, чтобы регулировать прицельную скорость буровой штанги 202. Давление подачи измеряют датчиком 305 нагрузки при бурении, установленным между буром 203 и люлькой 15 бура.
Как только достигают требуемой глубины бурения, буровая штанга 202 автоматически втягивается. Втягивание весьма подобно бурению, за исключением того, что вместо буровой штанги 202, следующей линейно в породу, она следует линейно в противоположном направлении, а рычаг 107 во время процесса остается фиксированным.
Элемент самодиагностики образует часть компьютерной системы управления. В этом отношении, для гидравлических клапанов с пропорциональным управлением требуются калибровочные данные, так что компьютер способен точно управлять скоростями работы цилиндров. Компьютер перемещает каждое соединение 8, 11, 14 в диапазоне щиротно-импульсной модуляции (ШИМ) во время измерения скорости для каждого соединения. На основании этого вычисляются скорости работы цилиндров. Эти данные модуляции/скоростей работы цилиндров запоминаются и используются для действий позиционирования и бурения.
Из-за механического и электрического характера систем управления первого предпочтительного варианта осуществления его хорошо применять непосредственно для хранения данных и отображения, например, износа инструментов и буровой штанги и эффективности, твердости горной породы и геологии, и простой информации, подобной количеству болтов, установленных за одну рабочую смену. В настоящее время доступные системы для установки анкерной крепи полностью механические и не предлагают никаких средств регистрации геологии породы или других важных данных.
Таким образом, первый предпочтительный вариант осуществления может дополнительно включать систему геодетектирования для регистрации геологии горной породы с помощью датчиков давления на бурильном молотке. По желанию, эта информация посылается на пульт управления сенсорного экрана (ПУСЭ) или аналогичное устройство и затем переводится в трехмерное изображение туннеля, на котором можно показывать скважины, пробуренные буровым агрегатом. Это позволяет строительным геологам видеть состояния горной породы в реальном времени. Отверстия можно закодировать цветом, чтобы указать изменяющуюся твердость горной породы.
На фиг.6-8 показан полностью механический вариант устройства 1.
В этом втором предпочтительном варианте осуществления нет компьютерного средства управления. Это просто механическая конструкция, включающая в себя гидравлические цилиндры и механические рычажные механизмы. Однако принципы действия, по существу, те же, что и в первом предпочтительном варианте осуществления, и подобные компоненты имеют одинаковые ссылочные позиции.
Как показано, имеется два расположенных рядом рычага 3 с двумя внутренними рычагами 4, разнесенными на расстояние для обеспечения возможности внешней паре 5 рычагов качаться между ними.
Рычажные механизмы 401 цилиндра поворачивают внутренние рычаги 4 против часовой стрелки, когда гидравлические цилиндры 13 втянуты. Во время первой половины хода внешние рычаги 5 вытягиваются вперед рычагами 402 реагирования (которые находятся в натяжении). Во время второй половины хода внешние рычаги 5 подталкиваются вперед рычагами 402 реагирования (рычаги реагирования находятся в сжатии), которые соединены с плечами 403 рычагов. Плечи 403 рычагов поворачиваются посредством рычажных механизмов 401 цилиндров, когда цилиндры 13 втянуты, таким образом вызывая вращение внешних рычагов 5 по часовой стрелке.
Характер бурения горной породы поддерживается посредством двух буровых рычагов 404.
В то время как гидравлика первого предпочтительного варианта осуществления была описана как управляемая компьютером, в альтернативном подходе управления можно достигнуть, используя делители потока и цилиндры с отличающимися размерами для поддержания прямолинейной траектории на конце рычага 5. В таком варианте осуществления соединение 11 внешнего рычага 5 с внутренним рычагом 4 проходит дважды вращательное расстояние соединения 8 внутреннего рычага. Для достижения этого отношения делитель потока используют так, чтобы объем цилиндров, используемых для управления внешним рычагом 5, составлял половину объема цилиндров, используемых для внутреннего рычага 4.
Другой способ достижения этого состоит в том, чтобы использовать исполнительные цилиндры между внутренним рычагом 4 и основанием 2. Они должны иметь вдвое больший объем по сравнению с цилиндром, используемым для управления внешним рычагом 5.
Для использования первого предпочтительного варианта осуществления устройства в буровой установке устройство 1 можно устанавливать на платформу грузовика или подобного транспортного устройства (не показано). Составляющие детали устройства 1 являются, по существу, такими же, как описаны выше, однако бур 203 заменен соответствующей режущей головой известной конфигурации.
Как показано на фиг.19, основание 2 можно, например, поворотным образом устанавливать на платформу транспортного средства с помощью креплений 501 и 502. В изображенной ориентации устройство 1 является наиболее компактным и идеально подходит для транспортирования. При использовании основание 2 можно повернуть с помощью гидравлических цилиндров под углом, например, 90 градусов так, чтобы рычаг 107 был направлен вертикально для начала действия бурения. Можно использовать известные стабилизаторы транспортных средств и подобные средства, чтобы обеспечить устойчивую буровую платформу.
Таким образом, преимущества настоящего изобретения заключаются в том, что устройство бурения по коренным породам, использующее технологию по изобретению, обеспечено буровым рычагом, который имеет несколько подверженных износу деталей, в котором отсутствует незащищенный гидравлический шланг, и следовательно, весьма сокращено обслуживание, что приводит к снижению стоимости и мешающего времени простоя. Дополнительно, его конструкция обеспечивает возможность использования устройства в ограниченных пространствах в отличие от обычных устройств.
Следует оценить, что в рамках изобретения устройство можно видоизменять для распыления торкрет-бетона для внутреннего покрытия туннелей. Так, можно использовать установленную таким образом основную механическую конструкцию, но насадка для торкрет-бетона будет работать в связи с буром для обеспечения возможности одной буровой установке выполнять две задачи. Компьютерное средство управления для перемещения можно видоизменять, чтобы оно подходило для дополнительного применения.
В вышеизложенном описании была сделана ссылка на целые части или компоненты, имеющие известные эквиваленты, и следовательно, такие эквиваленты включены здесь как отдельно предложенные.
Хотя это изобретение было описано посредством примера, используя возможные варианты осуществления, следует оценить, что к нему можно делать усовершенствования и/или модификации, не выходя при этом за рамки объема изобретения, как здесь заявлено.
Формула изобретения
1. Буровое устройство, имеющее основание, к которому поворотным образом подсоединен буровой монтажный рычаг, содержащий внутренний рычаг и внешний рычаг, при этом внутренний рычаг имеет первый конец и второй конец, а внешний рычаг имеет шарнирно соединенный конец и свободный конец, первый конец внутреннего рычага шарнирно соединен посредством первого шарнирного соединения с основанием, а его второй конец шарнирно соединен посредством второго шарнирного соединения с концом шарнирного соединения внешнего рычага, монтажное средство для установки бура, выполненное на свободном конце внешнего рычага, и приводное средство для приведения в действие монтажного средства, расположенное на свободном конце внешнего рычага по существу по прямолинейной траектории.
2. Устройство по п.1, в котором внутренний рычаг смещен от внешнего рычага для обеспечения возможности поворота внешнего рычага за пределы внутреннего рычага без помех.
3. Устройство по п.2, в котором внешний рычаг способен поворачиваться на по меньшей мере 320° относительно внутреннего рычага.
4. Устройство по любому из пп.1-3, в котором внутренний рычаг способен поворачиваться на 180° относительно основания.
5. Устройство по п.1, в котором внутренний рычаг и внешний рычаг имеют по существу одинаковую длину, а основание выполнено с возможностью предотвращения столкновения со свободным концом внешнего рычага.
6. Устройство по п.1, в котором монтажное средство поворотным образом прикреплено с помощью третьего шарнирного соединения к свободному концу внешнего рычага.
7. Устройство по п.1, в котором приводное средство содержит один или несколько гидравлических цилиндров.
8. Устройство по п.7, в котором один или несколько гидравлических цилиндров поворотным образом способны приводить в действие первое, второе и третье шарнирные соединения.
9. Устройство по п.8, в котором второе шарнирное соединение включает смещенный рычаг, расположенный на той же оси, что и внешний рычаг, но смещенный на 90° относительно внешнего рычага, причем приведение в действие второго шарнирного соединения обеспечено парой гидравлических цилиндров, установленных так, что, когда первый гидравлический цилиндр полностью выдвинут или втянут и поэтому не имеет возможности поворачивать внешний рычаг, второй гидравлический цилиндр находится в середине своего хода.
10. Устройство по п.6, в котором третье шарнирное соединение предназначено для соединения коррекции угла бура для удерживания при использовании буровой штанги в правильной плоскости во время процесса бурения.
11. Устройство по п.10, которое дополнительно включает опорный рычаг буровой штанги, при использовании поддерживающий буровую штангу в правильном положении во время бурения.
12. Устройство по п.11, в котором опорный рычаг является выдвигающимся для перемещения назад или вперед параллельно оси бурения.
13. Устройство по п.9, в котором гидравлический шланг, соединенный со средством привода, полностью размещен внутри внутреннего и внешнего рычагов.
14. Устройство по п.13, дополнительно включающее бур, смонтированный на монтажном средстве.
15. Устройство по п.14, в котором для обеспечения возможности достижения гидравлической текучей средой, водой и воздухом различного гидравлического оборудования и бура, смонтированного на монтажном средстве, в соединениях использованы уплотнения вращательных соединений и снабженные каналами штифты, которые сконфигурированы и выполнены с возможностью поворота на 360° без перекручивания шлангов.
16. Устройство по любому из пп.13-15, в котором монтажное средство включает насадку для торкрет-бетона, и имеются подающие трубы для торкрет-бетона для обеспечения возможности при использовании распылять торкрет-бетон, используя буровое устройство.
17. Устройство по п.8, которое дополнительно включает компьютерное средство управления, обеспечивающее приведение в действие различных гидравлических цилиндров управления и позиционирования согласно схеме, управляемой программным обеспечением.
18. Устройство по п.17, в котором компьютерное средство управления включает датчики, предназначенные для установки положений различных комплектующих деталей устройства, и элементы самодиагностики, так что, когда внутренний и внешний рычаги находятся в определенном физическом положении, датчики проверяются на точность.
19. Устройство по п.18, в котором в гидравлической схеме подачи текучей среды расположен датчик для определения начала заклинивания буровой штанги.
20. Устройство по п.18 или 19, которое включает датчик, расположенный в возвратной линии подачи гидравлической схемы подачи текучей среды, обеспечивающей вращение бурильной штанги, причем датчик приспособлен для определения частоты работы бурильного молотка с целью определения оптимальной скорости подачи/регулирования давления.
21. Устройство по п.18, которое дополнительно включает электронное запоминающее устройство для данных и средство отображения для данных, записанных от различных датчиков в гидравлической и пневматической подачах для установки износа инструмента и буровой штанги и их эффективности, твердости горной породы и геологии и количества болтов, установленных в данный период использования.
Приоритет по пунктам:
10.03.2003 – пп.1-21.
РИСУНКИ
|