|
|
(21), (22) Заявка: 2004128467/03, 23.10.2003
(24) Дата начала отсчета срока действия патента:
23.10.2003
(30) Конвенционный приоритет:
25.10.2002 DE 20216557.4
(43) Дата публикации заявки: 20.09.2005
(46) Опубликовано: 10.09.2008
(56) Список документов, цитированных в отчете о поиске:
US 4523414 А, 18.06.1985. DE 1112276 В, 03.08.1961. WO 94/27019 А, 24.11.1994. GB 845327 А, 17.08.1960. RU 2131007 С1, 27.05.1999.
(85) Дата перевода заявки PCT на национальную фазу:
28.10.2004
(86) Заявка PCT:
EP 03/11751 (23.10.2003)
(87) Публикация PCT:
WO 2004/038152 (06.05.2004)
Адрес для переписки:
101000, Москва, М.Златоустинский пер., 10, кв.15, “ЕВРОМАРКПАТ”, пат.пов. И.А.Веселицкой, рег. № 11
|
(72) Автор(ы):
ЭЛЬМЕР Хуберт (AT)
(73) Патентообладатель(и):
ДОРМА ГМБХ+КО.КГ (DE)
|
(54) ПЕРЕГОРОДКА
(57) Реферат:
Изобретение относится к области строительства, а именно к конструкциям ограждений. Изобретение позволит создать перегородку, в которой расположение и крепление подвижных стеклянных элементов друг к другу не зависело от конструкции дверных приборов. Перегородка из стекла, содержащая безрамные боковые элементы, которые крепятся к полу и потолочной конструкции, по меньшей мере одно безрамное окно верхнего света, которое крепится к двум боковым элементам и потолочной конструкции, и по меньшей мере одну расположенную под окном верхнего света и между двумя боковыми элементами поворотную дверную створку. Дверная створка с возможностью ее поворота крепится с помощью деталей дверного прибора к окну верхнего света и полу. Окно верхнего света и боковые элементы без помощи рам крепятся друг к другу, и к потолочной конструкции, и к полу. Со стороны пола и/или потолка предусмотрены профили. Боковые элементы и окно верхнего света скреплены с силовым замыканием между собой и с расположенными со стороны пола и/или потолка профилями массой, способной долговременно сохранять упругость. 7 з.п. ф-лы, 4 ил.
Настоящее изобретение относится к перегородке согласно ограничительной части п.1 формулы изобретения.
Из проспекта “DORMA Universal” (изданного 12/93) известны стеклянные перегородки, состоящие из боковых элементов и удерживаемых между ними с помощью дверных приборов и расположенных под так называемыми окнами верхнего света поворотных дверных створок. Дверные приборы выполняют двойную функцию, а именно обеспечивают поворотное крепление дверной створки и ее соединение с окном верхнего света и соответствующим боковым элементом, объединяя все эти компоненты перегородки в единую конструкцию. Подобная функциональная взаимосвязь между несколькими компонентами перегородки существенно сужает возможности по варьированию ее формы, поскольку для установки отдельных стеклянных элементов во всех возможных угловых положениях друг относительно друга требуется соответственно большое число разнообразных типов различающихся по своему конструктивному исполнению дверных приборов, изготовление которых является нерентабельным.
Помимо этого и монтаж таких дверных приборов связан с высокими затратами труда и времени, поскольку отдельные их детали, принимая во внимание высокую чувствительность стекла к механическим воздействиям, при сборке необходимо с высокой точностью и без создания механических напряжений располагать и регулировать друг относительно друга. В дополнение к вышесказанному видимые дверные приборы ухудшают создаваемое перегородкой зрительное впечатление, поскольку не отвечают существующей общей тенденции к приданию строительной конструкции “дематериализованного” или “воздушного” вида. Еще один недостаток таких дверных приборов состоит в том, что они затрудняют очистку стеклянных поверхностей.
Исходя из вышеизложенного, в основу настоящего изобретения была положена задача разработать перегородку, в которой расположение и крепление неподвижных стеклянных элементов друг к другу не зависело бы от конструкции дверных приборов, служащих для крепления поворотных стеклянных элементов перегородки.
Указанная задача решается в соответствии с отличительными признаками п.1 формулы изобретения. Предпочтительные варианты выполнения предлагаемой в изобретении перегородки приведены в зависимых пунктах формулы.
Разделение таких функций, как поворотное крепление подвижных стеклянных элементов перегородки и скрепление между собой ее неподвижных стеклянных элементов, позволяет без ограничений создавать перегородки самых разнообразных и сложных конструкций. В простейшем случае перегородка может иметь полностью прямолинейную форму. Однако в зависимости от количества используемых для сооружения перегородки стеклянных элементов их можно устанавливать под самыми разнообразными углами друг к другу и таким путем придавать перегородке ломаную форму. В соответствии с этим значительно расширяются возможности применения подобного набора стеклянных элементов, позволяющих сооружать из них не только перегородки самой простой формы, но и перегородки большой протяженности и сложной формы.
Подобный набор стеклянных элементов для сооружения перегородок позволяет выполнять, проектировать и размещать такие стеклянные элементы по так называемому модульному принципу, поскольку их соединение между собой никак не привязано к дверным приборам. Иными словами, расположение стеклянных элементов можно планировать без каких-либо ограничений и без каких-либо проблем согласовывать с преобладающими на месте сооружения перегородки условиями и фактическими потребностями.
Предлагаемое в изобретении решение предпочтительно позволяет создать перегородку, производящую зрительное впечатление “воздушной” конструкции. При этом существенно упрощается чистка такой перегородки, поскольку у нее значительно сокращено количество потенциальных мест скопления грязи, которыми являются края дверных приборов, а сама она имеет практически ровную стеклянную поверхность. Подобную перегородку сооружают из безрамных стекол, что позволяет также избежать затрат, связанных с работой по помещению стекол в рамы. Предлагаемая в изобретении перегородка состоит из нескольких расположенных между полом и потолочной конструкцией боковых элементов, между некоторыми из которых установлены расположенные под окнами верхнего света поворотные дверные створки, конкретное местоположение которых в перегородке можно варьировать изначально при ее проектировании.
Поворотная дверная створка крепится, например, сверху к окну верхнего света, а снизу – к полу. При этом отсутствие необходимости крепить дверной прибор к соседнему стеклянному элементу позволяет значительно уменьшить его размеры и упростить его конструкцию. Помимо этого для сооружения предлагаемой в изобретении перегородки используется комплект из практически однотипных элементов и деталей. За счет этого упрощается и удешевляется установка и крепление поворотной дверной створки под так называемым окном верхнего света, а также удается оптимизировать количество отдельных деталей дверных приборов и их конструкцию. Кроме того, значительно упрощаются и связанные с монтажом и юстировкой дверных приборов операции, которые большей частью могут выполняться заранее еще на заводе-изготовителе. В предпочтительном варианте дверная створка не имеет никаких иных навесных элементов и деталей, таких, например, как нажимные дверные ручки или замки, и поэтому вместе с примыкающими к ней боковыми элементами и окном верхнего света образует перегородку, создающую впечатление практически сплошной стеклянной поверхности.
Неподвижные стеклянные элементы, такие как окна верхнего света и боковые элементы, скрепляют между собой без помощи дверных приборов способной долговременно сохранять упругость массой, которая с силовым замыканием соединяет вертикальные стыковые края окна верхнего света с соответствующими вертикальных стыковыми краями боковых элементов. Сверху окно верхнего света и боковые элементы крепятся в расположенном со стороны потолка профиле, а боковые элементы дополнительно крепятся снизу в расположенном со стороны пола профиле, для чего и в этом случае используется способная долговременно сохранять упругость масса. В предпочтительном варианте указанные профили имеют П-образное сечение. Подобный тип крепления стеклянных элементов позволяет сооружать из них перегородки самой разнообразной формы и не накладывает никаких ограничений на угловые положения отдельных стеклянных элементов друг относительно друга.
Для повышения стойкости крепления стеклянных элементов перегородки к возникающим в процессе эксплуатации вибрационным нагрузкам и сотрясениям используемая для такого крепления стеклянных элементов перегородки масса обладает способностью долговременно сохранять свою упругость. В качестве такой массы предпочтительно использовать акриловые или силиконовые материалы прежде всего благодаря достаточно большому накопленному опыту касательно методов их переработки и работы с ними.
В неподвижных стеклянных элементах предлагаемой в изобретении перегородки не имеется отверстий, поскольку для их крепления не используются дверные приборы.
В качестве дополнительной меры по защите стеклянных элементов от вибрационных нагрузок и сотрясений и для повышения их жесткости на их поверхностях можно закреплять перпендикулярно выступающие от них вертикальные элементы жесткости в виде стеклянных связей жесткости трапециевидной формы, напоминающей самолетный киль. Такие трапециевидные стеклянные элементы жесткости предпочтительно опираются на пол их длинным основанием и крепятся к стеклянным элементам перегородки также с помощью способной долговременно сохранять упругость массы. Выполнение подобных элементов жесткости из стекла позволяет также сохранять создаваемое перегородкой зрительное впечатление цельной и имеющей приятный внешний вид конструкции.
Другие отличительные особенности и преимущества изобретения более подробно рассмотрены ниже на примере предпочтительных вариантов его осуществления со ссылкой на прилагаемые чертежи, на которых показано:
на фиг.1 – вид спереди фрагмента перегородки,
на фиг.2 – вид перегородки в сечении плоскостью А-А по фиг.1,
на фиг.3 – схематичный вид спереди собранной перегородки сложной формы и
на фиг.4 – схематичный вид сверху собранной перегородки сложной формы.
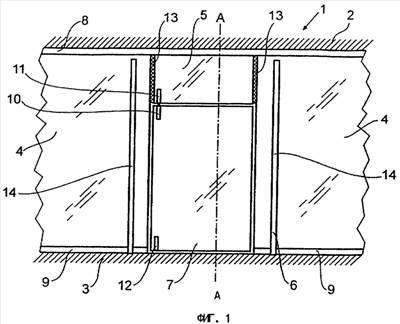
На фиг.1 и 2 показан фрагмент выполненной по первому варианту предлагаемой в изобретении перегородки 1, которая перекрывает промежуток от пола 3 до потолочной конструкции 2. Перегородка 1 состоит из различных безрамных стеклянных элементов, а именно из боковых элементов 4 и расположенного между ними окна 5 верхнего света. Это окно 5 верхнего света располагается только в верхней части перегородки 1, и поэтому под ним и между боковыми элементами 4 остается проход 6. В этом проходе 6 установлена стеклянная поворотная дверная створка 7. По потолочной конструкции 2 проходит непрерывный, предпочтительно П-образный, профиль 8, а на полу предусмотрено два таких П-образных профиля 9.
Дверная створка 7 с возможностью ее поворота крепится сверху к окну 5 верхнего света, а снизу – к полу 3. Сверху на дверной створке 7 закреплена имеющая симметричное исполнение деталь 10 дверного прибора, взаимодействующая с расположенной на окне 5 верхнего света ответной деталью 11 дверного прибора, при этом опорный палец одной из этих деталей дверного прибора взаимодействует с опорной втулкой другой из них. Помимо этого снизу на дверной створке 7 закреплена имеющее симметричное исполнение деталь 12 дверного прибора, которая взаимодействует с установленной в полу 3 опорой. В предпочтительном варианте в пол 3 встроен не показанный на чертеже дверной доводчик, который образует нижнюю систему крепления дверной створки 7 и обеспечивает автоматическое ее закрывание после ее открывания вручную. В показанном на чертеже варианте дверная створка 7 не имеет никаких иных навесных элементов и деталей, таких, например, как нажимные дверные ручки или замки, и поэтому вместе с примыкающими к ней боковыми элементами и окном верхнего света образует перегородку, создающую впечатление практически сплошной стеклянной поверхности.
Окно 5 верхнего света вдоль его вертикальных стыковых краев с силовым замыканием соединено способной долговременно сохранять упругость массой 13 с соответствующими вертикальными стыковыми краями боковых элементов 4. Помимо этого окно 5 верхнего света вдоль его верхнего горизонтального стыкового края с силовым замыканием закреплено с помощью способной долговременно сохранять упругость массы 13 в потолочном профиле 8. Оба боковых элемента 4 с их обращенных к полу и потолку сторон также с помощью способной долговременно сохранять упругость массы 13 закреплены в соответствующих профилях 8, 9.
На боковых элементах 4 можно, кроме того, с помощью способной долговременно сохранять упругость массы 13 закрепить перпендикулярно выступающие от них вертикальные элементы 14 жесткости. Подобные элементы 14 жесткости выполнены из стекла в виде связей жесткости трапециевидной формы, напоминающей самолетный киль, и снизу широким основанием опираются на пол.
На фиг.3 и 4 показаны различные конструкции, образованные в сборе предлагаемой в изобретении перегородкой. Каждая из таких перегородок 1 состоит из нескольких боковых элементов 4, окон 5 верхнего света и дверных створок 7, имеющих единый производный модуль, что позволяет составлять из подобных стеклянных элементов перегородки самых разнообразных форм. Так, в частности, стеклянные элементы, как это наиболее наглядно видно на примере показанного на фиг.4 варианта, можно за счет их не требующего применения соответствующих приборов крепления располагать под самыми различными углами друг к другу.
Рассмотренные в приведенном выше описании варианты осуществления изобретения носят исключительно иллюстративный характер и не ограничивают его объем. В эти варианты можно вносить различные изменения и модификации, не выходя при этом за объем изобретения, а также эквивалентных ему решений.
Формула изобретения
1. Перегородка из стекла, содержащая безрамные боковые элементы (4), которые крепятся к полу (3) и потолочной конструкции (2), по меньшей мере одно безрамное окно (5) верхнего света, которое крепится к двум боковым элементам (4) и потолочной конструкции (2), и по меньшей мере одну расположенную под окном (5) верхнего света и между двумя боковыми элементами (4) поворотную дверную створку (7), причем дверная створка (7) с возможностью ее поворота крепится с помощью деталей (10, 11, 12) дверного прибора к окну (5) верхнего света и полу (3), а окно (5) верхнего света и боковые элементы (4) без помощи рам крепятся друг к другу, а также к потолочной конструкции (2) и полу (3), отличающаяся тем, что со стороны пола и/или потолка предусмотрены профили (8, 9), а боковые элементы (4) и окно (5) верхнего света скреплены с силовым замыканием между собой и с расположенными со стороны пола и/или потолка профилями (8, 9) массой (13), способной долговременно сохранять упругость.
2. Перегородка по п.1, отличающаяся тем, что боковые элементы (4), окно (5) верхнего света и дверная створка (7) имеют единый производный модуль.
3. Перегородка по п.1, отличающаяся тем, что боковые элементы (4), окно (5) верхнего света и дверная створка (7) в горизонтальном направлении расположены на одной линии и/или под углом друг к другу.
4. Перегородка по п.1, отличающаяся тем, что установленная сверху на дверной створке (7) деталь (10) дверного прибора с возможностью поворота взаимодействует с установленной на окне (5) верхнего света ответной деталью (11) дверного прибора, а установленная снизу на дверной створке (7) деталь (12) дверного прибора крепится с возможностью поворота к расположенной в полу (3) опоре.
5. Перегородка по п.1, отличающаяся тем, что боковые элементы (4) и окно (5) верхнего света соединены между собой вдоль их вертикальных стыковых краев.
6. Перегородка по п.1, отличающаяся тем, что боковые элементы (4) и окно (5) верхнего света входят в расположенные со стороны пола и/или потолка профили (8, 9).
7. Перегородка по п.1, отличающаяся тем, что на боковых элементах (4) способной долговременно сохранять упругость массой (13) закреплены перпендикулярно выступающие от них под углом примерно 90° вертикальные элементы (14) жесткости.
8. Перегородка по пп.1-7, отличающаяся тем, что способная долговременно сохранять упругость масса (13) представляет собой силикон и/или акрил.
РИСУНКИ
MM4A – Досрочное прекращение действия патента СССР или патента Российской Федерации на изобретение из-за неуплаты в установленный срок пошлины за поддержание патента в силе
Дата прекращения действия патента: 24.10.2009
Извещение опубликовано: 27.09.2010 БИ: 27/2010
|
|