|
|
(21), (22) Заявка: 2006138375/03, 30.10.2006
(24) Дата начала отсчета срока действия патента:
30.10.2006
(46) Опубликовано: 10.09.2008
(56) Список документов, цитированных в отчете о поиске:
ГАНИЧЕВ И.А. Устройство искусственных оснований и фундаментов. – М.: Стройиздат, 1973, с.156-167. RU 2211896 С1, 10.09.2003. RU 2090703 С1, 20.09.1997. SU 1590512 А1, 29.04.1984. FR 2573789 А1, 30.05.1986. ШВЕЦ В.Б. и др. Усиление и реконструкция фундаментов. – М.: Стройиздат, 1985, с.82-86.
Адрес для переписки:
344006, г.Ростов-на-Дону, пр. Ворошиловский, 2/2, ОАО Институт “Ростовский ПромстройНИИпроект”, патентно-информационный отдел
|
(72) Автор(ы):
Голованов Александр Михайлович (RU), Пашков Валерий Иванович (RU), Рево Галина Алгирдасовна (RU), Пашков Денис Валерьевич (RU)
(73) Патентообладатель(и):
ОАО ИНСТИТУТ “РОСТОВСКИЙ ПРОМСТРОЙНИИПРОЕКТ” (RU), Голованов Александр Михайлович (RU), Пашков Валерий Иванович (RU)
|
(54) СПОСОБ ПОДЪЕМА И ВЫРАВНИВАНИЯ ЗДАНИЙ И СООРУЖЕНИЙ
(57) Реферат:
Изобретение относится к строительству и предназначено для восстановления эксплуатационной надежности зданий и сооружений. Способ подъема и выравнивания зданий и сооружений включает образование ниш под подошвой фундамента, монтаж в них домкратов и задавливание домкратами в грунт составных свай, зазор между головами которых и подошвой фундамента омоноличивают. Перед образованием ниш определяют физико-механические свойства грунта и массу той части здания, сооружения, которая подлежит подъему и выравниванию, и на основании полученных данных рассчитывают необходимое количество задавливаемых составных свай, несущую способность каждой сваи и определяют места их размещения. Общее количество задавливаемых свай рассчитывают по формуле: N n+1, где N – общее количество задавливаемых свай, шт., n – количество задавливаемых свай, общая несущая способность которых равна массе поднимаемой и выравниваемой части здания, сооружения, шт. После задавливания всех свай монтируют домкраты с опорой на головы этих свай и включают рабочий ход всех домкратов, которые одновременно воздействуют на подошву фундамента здания, сооружения, поднимая и выравнивая его, после чего поочередно демонтируют домкраты, устанавливают в зазоры между головами свай и подошвой фундамента клинья и омоноличивают эти зазоры. Технический результат состоит в повышении несущей способности фундамента и его эксплутационной надежности. 1 ил.
Изобретение относится к строительству и предназначено для восстановления эксплуатационной надежности зданий и сооружений.
Известны способы подъема и выравнивания здания, сооружения, включающие исследование здания, сооружения, изготовление и монтаж силовых поясов и домкратных ниш, установку домкратной системы и систем контроля, включение домкратной системы, отрыв здания, сооружения от фундамента и его выравнивание, установку в образовавшийся зазор распорок, удаление домкратов и последующее омоноличивание зазора вместе с распорками бетоном или высокопрочным цементным раствором (см. например, патенты РФ № 2211896, МПК Е02D 35/00, № 2242564, МПК Е02D 35/00, E04G 23/06).
Известен способ восстановления проектного положения фундамента и колонны, заключающийся в том, что над осевшим фундаментом устанавливают симметрично, относительно колонны, две двухконсольные балки-рычаги, шарнирно соединяют каждый рычаг с колонной и осевшим фундаментом средней частью, опирают более короткую консоль каждой балки через распределительную плиту на основание, а более длинную – через домкрат и распределительную плиту на основание, погружают в грунт глубинные вибраторы, включают их, нарушая сцепление фундаментов с грунтом и разжижая грунт, включают гидродомкраты и постепенно выдергивают фундамент вместе с колонной на необходимую величину и одновременно заполняют образовавшуюся под фундаментом пазуху разжиженным вибраторами грунтом, выключают глубинные вибраторы, включают обратный ход поршня гидродомкрата, приподнимая противоположный конец балки-рычага, подкладывают под него подкладку, включают прямой ход гидродомкрата и циклы повторяют, поднимая фундамент вместе с колонной на необходимую величину, затем переходят к рихтовке следующей колонны (см. патент РФ № 2139390, МПК Е02D 35/00).
Основным недостатком описанных выше технических решений является то, что они только поднимают и выравнивают здания и сооружения, но не усиливают одновременно фундамент в месте его осадки. В результате эти способы не гарантируют от будущей осадки и крена выровненное здание, сооружение. Указанный недостаток особенно актуален, когда здание, сооружение возведено на просадочных грунтах. В этом случае осадка и крен здания, сооружения может возобновиться в любое время, в том числе и непосредственно после его подъема и выравнивания по описанным способам.
За прототип выбран способ усиления фундамента, заключающийся в том, что под подошвой фундамента образуют ниши и монтируют в них домкраты, посредством которых задавливают в грунт составные железобетонные или металлические сваи. После задавливания свай домкраты удаляют, а в зазоры между головами свай и подошвой фундамента омоноличивают (см. например, Н.А.Цытович и др. «Основания и фундаменты», М. «Государственное издательство литературы по строительству, архитектуре и строительным материалам», 1959 г., с.448-449, рис.XII-16; И.А.Ганичев «Устройство искусственных оснований и фундаментов», М. «Стройиздат», 1973 г., с.158-162, рис.11.12, 11.13, 11.14).
Выбранный за прототип способ успешно применяется при усилении, а также при ремонте и реконструкции существующих фундаментов, в том числе и при замене элементов фундаментов. При этом после выполнения всех работ, предусмотренных этим способом, дальнейшая осадка фундамента, а следовательно, и осадка возведенного на нем здания, сооружения не происходит.
Тем не менее, указанный способ не предназначен для подъема и выравнивания зданий, сооружений. Им можно только усилить фундаменты и предотвратить дальнейшую осадку.
Техническая задача изобретения состояла в разработке способа подъема и выравнивания зданий, сооружений с одновременно усилением фундамента, исключающим последующую осадку здания, сооружения.
Сущность изобретения заключается в том, что в способе подъема и выравнивания зданий и сооружений, включающем образование ниш под подошвой фундамента, монтаж в них домкратов и задавливание домкратами в грунт составных свай, зазор между головами которых и подошвой фундамента омоноличивают, перед образованием ниш определяют физико-механические свойства грунта и массу той части здания, сооружения, которая подлежит подъему и выравниванию, и на основании полученных данных рассчитывают необходимое количество задавливаемых составных свай, несущую способность каждой сваи и определяют места их размещения, при этом общее количество задавливаемых свай рассчитывают по формуле: N n+1,
где N – общее количество задавливаемых свай, шт.;
n – количество задавливаемых свай, общая несущая способность которых равна массе поднимаемой и выравниваемой части здания, сооружения, шт.,
а после задавливания всех свай монтируют домкраты с опорой на головы этих свай и включают рабочий ход всех домкратов, которые одновременно воздействуют на подошву фундамента здания, сооружения, поднимая и выравнивая его, после чего поочередно демонтируют домкраты, устанавливают в зазоры между головами свай и подошвой фундамента клинья и омоноличивают эти зазоры.
Предложенное техническое решение обеспечивает подъем и выравнивание фундамента вместе с возведенным на нем зданием, сооружением с одновременным усилением фундамента, исключающим последующую осадку.
Как показали проведенные заявителями испытания заявляемый способ эффективен при выравнивании зданий, сооружений, возведенных на любых грунтах, в том числе на слабых и просадочных.
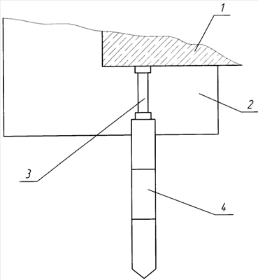
Изобретение поясняется чертежом, на котором изображена схема подъема и выравнивания здания, сооружения.
Способ подъема и выравнивания зданий и сооружений осуществляют следующим образом.
Сначала определяют физико-механические свойства грунта и массу той части здания, сооружения, которая подлежит подъему и выравниванию. На основании полученных данных рассчитывают необходимое количество задавливаемых под фундамент свай, несущую способность каждой сваи и определяют места их размещения. При этом общее количество задавливаемых свай рассчитывают по формуле: N n+1,
где N – общее количество задавливаемых свай, шт.;
n – количество задавливаемых свай, общая несущая способность которых равна массе поднимаемой и выравниваемой части здания, сооружения, шт.
Затем под подошвой фундамента 1 образуют ниши 2 и монтируют в них домкраты 3, посредством которых посекционно задавливают составные сваи 4. Опорой домкратов 3 при задавливании свай 4 служит подошва фундамента 1. Составные сваи 4 могут быть как железобетонные, так и металлические, а количество секций каждой сваи 4 регламентируется ее несущей способностью. С целью исключения дальнейшей осадки здания в процессе задавливания свай после погружения каждой сваи между ее головой и подошвой фундамента устанавливают временные клинья (не показаны).
После окончания описанных выше работ на все сваи 4 монтируют домкраты 3 с опорой на головы этих свай и включают рабочий ход всех домкратов 3, которые одновременно воздействуют на подошву фундамента 1 здания, сооружения, поднимая и выравнивая его. Контроль за геометрическим положением выравниваемого здания, сооружения осуществляется системой контроля (не показана). По окончании подъема и выравнивания здания, сооружения домкраты 3 поочередно демонтируют, одновременно устанавливая в зазоры между головами свай и подошвой фундамента клинья (не показаны). Вследствие того что общее количество задавленных свай «N» превышает (по меньшей мере на 1 сваю) количество задавленных свай «n», общая несущая способность которых равна массе поднимаемой и выравниваемой части здания, сооружения, то при поочередном демонтаже домкратов 3 здание, сооружение не будет снова осаживаться. После демонтажа домкратов 3 зазоры между головами свай 4 и подошвой фундамента 1 вместе с установленными в них клиньями омоноличивают. Омоноличивание зазоров вместе с клиньями является оптимальным. Однако омоноличивание зазоров можно также осуществлять поочередно, удаляя при этом клинья. Ниши 2 заполняют бетоном, строительным раствором или грунтом с последующим его тромбованием.
Формула изобретения
Способ подъема и выравнивания зданий и сооружений, включающий образование ниш под подошвой фундамента, монтаж в них домкратов и задавливание домкратами в грунт составных свай, зазор между головами которых и подошвой фундамента омоноличивают, отличающийся тем, что перед образованием ниш определяют физико-механические свойства грунта и массу той части здания, сооружения, которая подлежит подъему и выравниванию, и на основании полученных данных рассчитывают необходимое количество задавливаемых составных свай, несущую способность каждой сваи и определяют места их размещения, при этом общее количество задавливаемых свай рассчитывают по формуле
N n+1,
где N – общее количество задавливаемых свай, шт.;
n – количество задавливаемых свай, общая несущая способность которых равна массе поднимаемой и выравниваемой части здания, сооружения, шт., а после задавливания всех свай монтируют домкраты с опорой на головы этих свай и включают рабочий ход всех домкратов, которые одновременно воздействуют на подошву фундамента здания, сооружения, поднимая и выравнивая его, после чего поочередно демонтируют домкраты, устанавливают в зазоры между головами свай и подошвой фундамента клинья и омоноличивают эти зазоры.
РИСУНКИ
|
|