|
(21), (22) Заявка: 2006109311/03, 23.03.2006
(24) Дата начала отсчета срока действия патента:
23.03.2006
(43) Дата публикации заявки: 27.09.2007
(46) Опубликовано: 10.09.2008
(56) Список документов, цитированных в отчете о поиске:
RU 2237780 С2, 10.10.2004. SU 779510 A1, 15.11.1980. RU 2135693 C1, 27.08.1999. SU 1539261 A2, 30.01.1990. WO 9007612 A1, 12.07.1990.
Адрес для переписки:
620075, г.Екатеринбург, пр. Ленина, 50а, Институт “УралНИИпроект РААСН”
|
(72) Автор(ы):
Лушников Владимир Вениаминович (RU), Оржеховский Юрий Рувимович (RU), Веселов Владимир Вячеславович (RU)
(73) Патентообладатель(и):
Общество с ограниченной ответственностью “Экспертно-консультационная фирма “ГеоСтройЭксперт” (RU), Ордена “Знак Почета” Уральский научно-исследовательский и проектно-конструкторский институт Российской академии архитектуры и строительных наук (RU)
|
(54) ТЕПЛОИЗОЛИРОВАННЫЙ ФУНДАМЕНТ
(57) Реферат:
Изобретение относится к возведению сооружений на пучинистых грунтах. Фундамент на промерзающем грунте включает жесткое тело с выступами и штрабами со стороны, обращенной к грунту, вкладышами в штрабах фундамента, выполненными из теплоизоляционного материала, например пенополистирола, с соотношением площадей выступов и штраб фундамента таким, чтобы давление на грунт по нижней поверхности выступов было не менее величины нормального давления морозного пучения грунта, а давление на грунт по нижней поверхности вкладышей – не более величины расчетного сопротивления материала вкладышей на сжатие, а также дополнительный утеплитель, размещенный за пределами фундамента. Верхний край дополнительного утеплителя пропущен со стороны наружного края фундамента в виде прерывистых вкладышей через жесткое тело фундамента и соединен с дополнительным утеплителем противоположного наружного края фундамента. Относительная площадь прерывистых вкладышей ( =Апр. вк/А0) принимается из соотношения  1 – max/R, где Апр.вк – площадь сечения прерывистых вкладышей, м2, А0 – площадь сечения фундамента брутто в месте установки вкладышей, м2, max – максимальное напряжение в материале фундамента от внешних нагрузок, МПа, R – расчетное сопротивление материала фундамента, МПа. Штрабы и выступы фундамента со стороны, обращенной к грунту, выполнены чередующимися по длине фундамента. Центры штраб со стороны, обращенной к грунту, размещены под центрами прерывистых вкладышей дополнительного утеплителя, пропущенных со стороны каждого наружного края фундамента. Технический результат состоит в обеспечении возможности заложения фундамента выше расчетной глубины промерзания пучинистых грунтов. 4 ил., 1 табл.
Изобретение относится к области строительства и используется при сооружении зданий и сооружений на промерзающих пучинистых грунтах.
Известен фундамент на промерзающем грунте (фундамент-аналог), включающий жесткое тело с выступами и штрабами со стороны, обращенной к грунту, и вкладышами в штрабах фундамента и дополнительного утеплителя рядом с фундаментом из теплоизоляционного материала, например пенополистирола, причем соотношение площадей выступов и штраб фундамента принимается таким, чтобы давление на грунт по нижней поверхности выступов было не менее величины нормального давления морозного пучения грунта, а давление на грунт по нижней поверхности вкладышей – не более величины расчетного сопротивления материала вкладышей на сжатие, а также дополнительный утеплитель, размещенный за пределами фундамента (RU №2135693, МКИ6 Е02D 27/01, 27/35 «Теплоизолированный фундамент» [1].
Недостаток фундамента-аналога состоит в малой теплоизолирующей способности для целей защиты грунтов от промерзания.
Наиболее близким к заявляемому объекту техническим решением является фундамент на промерзающем грунте (фундамент-прототип), включающий жесткое тело с выступами и штрабами со стороны, обращенной к грунту, вкладышами в штрабах фундамента, выполненными из теплоизоляционного материала, например пенополистирола, с соотношением площадей выступов и штраб фундамента таким, чтобы давление на грунт по нижней поверхности выступов было не менее величины нормального давления морозного пучения грунта, а давление на грунт по нижней поверхности вкладышей – не более величины расчетного сопротивления материала вкладышей на сжатие, а также дополнительный утеплитель, размещенный за пределами фундамента, причем верхний край дополнительного утеплителя пропущен со стороны наружного края фундамента в виде прерывистых вкладышей через жесткое тело фундамента и соединен с дополнительным утеплителем противоположного наружного края фундамента, а относительная площадь прерывистых вкладышей ( =Апр. вк/A0) принимается из соотношения

где Апр.вк – площадь сечения прерывистых вкладышей, м2;
A0 – площадь сечения фундамента брутто в месте установки вкладышей, м2;
max – максимально напряжение в материале фундамента от нагрузок, МПа;
R – расчетное сопротивление материала фундамента, МПа (Патент RU №2237780, МКИ6 E02D 27/01, 27/35 «Теплоизолированный фундамент» [2].
Недостаток фундамента-прототипа состоит в недостаточной теплоизолирующей способности для целей защиты грунтов от промерзания.
Цель заявленного изобретения состоит в обеспечении более эффективной защиты пучинистых грунтов от промерзания, в частности за счет более рационального размещения штраб со вкладышами и выступов фундамента со стороны, обращенной к грунту.
Поставленная цель достигается тем, что в фундаменте на промерзающем грунте по патенту RU №2237780 в предлагаемом теплоизолированном фундаменте штрабы и выступы фундамента со стороны, обращенной к грунту, выполнены чередующимися по длине фундамента, при этом центры штраб со стороны, обращенной к грунту, размещены под центрами прерывистых вкладышей дополнительного утеплителя, пропущенных со стороны каждого наружного края фундамента.
Толщина вкладышей в штрабах (hвк) и толщина вкладышей дополнительного утеплителя, пропущенных со стороны каждого наружного края фундамента (h0), устанавливается по теплотехническому расчету из условия уменьшения теплового потока из грунта Q. Из расчетов следует, что эффективность теплозащиты по сравнению с фундаментом-прототипом существенно возрастает при размещении центров штраб со стороны подошвы фундамента, обращенной к грунту, непосредственно под центрами прерывистых вкладышей дополнительного утеплителя.
Устойчивость фундамента при действии нормальных сил морозного пучения в промерзающем грунте обеспечивается тем, что передаваемое на грунт давление в пределах выступов рвс принимается таким, чтобы оно было не менее величины нормального давления морозного пучения грунта pn,f. Известно, что при давлении по подошве фундамента, превышающем pn,f, деформации пучения не проявляются. Второй возможный вариант повышения устойчивости фундамента против сил морозного пучения, который вытекает из п.2 формулы изобретения патента RU №2135693 [1], – размещение утеплителя непосредственно под выступами фундамента.
В предлагаемом теплоизолированном фундаменте сохраняются требования, предъявляемые к фундаменту: давление на грунт в пределах вкладышей в штрабах рвк не должно превышать расчетного сопротивления материала вкладышей Рсж, а осадка фундамента Scp, вычисленная с учетом повышенной сжимаемости вкладышей, – величины нормируемой предельно допустимой осадки Su.
Совокупность сформулированных предложений обеспечивает реализацию поставленной цели – обеспечение более эффективной по сравнению с фундаментом-прототипом защиты пучинистых грунтов от промерзания за счет более рационального размещения штраб со вкладышами и выступов фундамента со стороны, обращенной к грунту.
При анализе уровня техники не выявлен аналог, характеризующийся признаками, идентичными всем существенным признакам заявляемого решения, т.е. оно отвечает требованиям новизны.
Не выявлены также признаки, являющиеся отличительными в заявляемом решении, т.е. оно отвечает требованию изобретательского уровня.
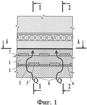
Сущность изобретения поясняется чертежами: на фиг.1 изображен теплоизолированный ленточный фундамент, нагруженный линейной нагрузкой n и заглубленный в грунт на глубину d; на фиг.2 и 3 – сечения 1-1 и 2-2; на фиг.4 – расчетная схема и эпюры распределения давлений по подошве фундамента.
Фундамент (фиг.1-3) включает жесткое тело 1, выполненное из железобетона, с выступами 2 и штрабами 3 со стороны, обращенной к грунту, вкладышами 4 и 5 из пенополистирола, размещенного соответственно под выступами 2 и в штрабах 3, а также дополнительного утеплителя 6, размещенного на некотором удалении за пределами фундамента 1. Выступы 2 и штрабы 3 фундамента 1 выполнены чередующимися по длине фундамента 1. Верхние участки дополнительного утеплителя 6, размещенного за пределами фундамента, пропущены в виде прерывистых вкладышей 7 через тело фундамента 1 и соединены с верхними участками дополнительного утеплителя 6, размещенными с противоположной стороны фундамента 1.
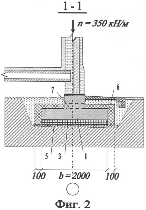
Для примера, иллюстрирующего сущность изобретения, приняты следующие исходные данные:
– нагрузка на 1 м длины (l=1.0 м) фундамента 1: n=350 кН/м;
– ширина подошвы фундамента 1: b=2.0 м, верхней его части b0=0.5 м;
площадь подошвы фундамента 1: А=l b=1.0·2.0=2.0 м2/м;
– площадь брутто фундамента 1 в сечении, где установлены прерывистые вкладыши 7: А0=lb0=1.0·0.5=0.5 м2/м;
– размеры выступов 2: ширина, равная ширине фундамента 1: b=2.0 м; длина вдоль фундамента 1: l1=0.5 м; расстояние между краями выступов 2, равное длине штраб 3 вдоль фундамента 1: l2=0.5 м;
– размеры прерывистых вкладышей 7: длина вдоль фундамента 1: c1=0.5 м; ширина, равная ширине верхней части фундамента 1: b0=0.5 м; расстояние между прерывистыми вкладышами 7 по длине фундамента 1: c2=0.5 м;
– среднее давление по подошве фундамента 1: рср=n/А=175 кПа;
– глубина заложения фундамента 1: d=0.50 м;
– модуль деформации вкладышей 4, 5 (пенополистирола): Евк=1.0 МПа;
– расчетная толщина вкладышей 4: Нвк,4=0.02 м; вкладышей 5: Нвк,5=0.1 М;
– расчетное сопротивление пенополистирола вкладышей 4, 5: Rсж=150 кПа;
– расчетное сопротивление бетона фундамента 1: Rb=5.2 МПа = 5200 кПа;
– расчетная глубина промерзания грунта: df=1.9 м;
– нормальное давление морозного пучения: pn,f=200 кПа;
– расчетное сопротивление грунта: Rгр=220 кПа;
– осадка фундамента 1 без учета сжимаемости вкладышей 4, 5: Scp=4.5 см;
– коэффициент жесткости основания: Ко=pcp/Scp=3.89 МПа/м.
Для выбора рационального соотношения =Aвс/А площадей выступов 2 к общей площади фундамента 1 А(А=Авс+Авк) выполнены вычисления давлений на грунт по нижней поверхности выступов 2 – pвс и вкладышей 5 – рвк, а также возникающих осадок фундамента 1 (S) с учетом сжимаемости вкладышей 4, 5. Вычисления выполнены по формулам:



Результаты вычислений при различных значениях относительной площади выступов представлены в таблице.
Относительная площадь выступов =Авс/А |
Давление на грунт, кПа, по нижней поверхности |
Осадка фундамента S, см |
| выступов рвс |
вкладышей рвк |
| 0.0 |
– |
175 |
6.60 |
| 0.2 |
226 |
162 |
6.45 |
| 0.3 |
218 |
157 |
6.04 |
| 0.4 |
210 |
151 |
5.83 |
| 0.5* |
203 |
147 |
5.64 |
| 0.6 |
197 |
141 |
5.46 |
| 0.8 |
185 |
133 |
5.14 |
| 1.0 |
175 |
– |
4.85 |
Из таблицы следует, что оптимальным является соотношение =0.5, отмеченное в таблице звездочкой. При этом наибольшее давление на грунт по нижней поверхности выступов 2 – рвс=203 кПа не превышает расчетного сопротивления грунта Rгр=220 кПа, а также выполняются условия (2)…(4):
(2): рвс=203>pn,f=200 кПа;
(3): рвк=147сж=150 кПа;
(4):S=5.64u=10.0 см.
Проверка возможности устройства прерывистых вкладышей 7:

0.50<1-1400/5200=1-0.27=0.73,
где =Апр вк./А0=0.25/0.50=0.50;
Апр.вк.=с1b0=0.5·0.5=0.25 м2 – площадь сечения прерывистых вкладышей 7;
А0=(с1+с2)b0=(0.5+0.5)0.5=0.50 м2 – площадь сечения фундамента 1 брутто в месте установки прерывистых вкладышей 7;
max=n(c1+с2)/(c2b0)=350(0.5+0.5)/(0.5·0.5)=1400 кПа – максимальное напряжение в материале фундамента 1 от внешних нагрузок;
R=Rb=5.2 МПа=5200 кПа – расчетное сопротивление бетона.
Таким образом, предъявляемые требования к проектированию фундаментов в рассмотренном примере удовлетворяются.
На фиг.2 показано положение и размеры прерывистых вкладышей 7; на фиг.4 – размеры фундамента и распределение давлений по подошве фундамента 1 при принятом значении =0.5 в виде эпюр: поз.9 – давление по поверхности вкладышей 5 (рвк), поз.10 – давление по поверхности выступов 2 (рвс), поз.11 – среднее давление по поверхности фундамента 1 в целом (рср).
Из теплотехнического расчета, выполненного по программе «НЕАТ-ПТФ/3» (трехмерная), следует:
– при выполнении штраб 2 и выступов 3 фундамента 1 со стороны, обращенной к грунту, чередующимися по длине фундамента, тепловой поток из грунта Q уменьшается на 20% по сравнению с фундаментом-прототипом;
– при размещении штраб 2 фундамента 1 непосредственно под центрами прерывистых вкладышей 7, пропущенных со стороны каждого наружного края фундамента 1, тепловой поток Q уменьшается на 30% по сравнению с фундаментом-прототипом, что обусловлено удлинением пути теплового потока Q (поз.8 на фиг.1) по сравнению со строго вертикальным направлением в фундаменте-прототипе;
– при размещении вкладышей 4 из пенополистирола под выступами 2 фундамента 1 достигается более эффективная защита грунта от промерзания, что обеспечивает возможность полного исключения промораживания грунта в зимний период.
Преимущества предлагаемого решения теплоизолированного фундамента на промерзающих пучинистых грунтах о сравнению с фундаментом-прототипом состоят в обеспечении более эффективной защиты пучинистых грунтов от промерзания.
Список использованных материалов
1. Патент RU №2135693, МКИ6 Е02D 27/01, 27/35. Теплоизолированный фундамент. /В.В.Лушников и Ю.Р.Оржеховский. – Опубл. 27.08.1999, Бюл. №24. – 12 с.
2. Патент RU №2135693, МКИ6 E02D 27/01, 27/35. Теплоизолированный фундамент. /В.В.Лушников, Ю.Р.Оржеховский и В.В.Веселов. – Опубл. 27.01.2004, RU БИПМ №3. – 8 с.
Формула изобретения
Фундамент на промерзающем грунте, включающий жесткое тело с выступами и штрабами со стороны, обращенной к грунту, вкладышами в штрабах фундамента, выполненными из теплоизоляционного материала, например пенополистирола, с соотношением площадей выступов и штраб фундамента таким, чтобы давление на грунт по нижней поверхности выступов было не менее величины нормального давления морозного пучения грунта, а давление на грунт по нижней поверхности вкладышей – не более величины расчетного сопротивления материала вкладышей на сжатие, а также дополнительный утеплитель, размещенный за пределами фундамента, причем верхний край дополнительного утеплителя пропущен со стороны наружного края фундамента в виде прерывистых вкладышей через жесткое тело фундамента и соединен с дополнительным утеплителем противоположного наружного края фундамента, а относительная площадь прерывистых вкладышей ( =Апр.вк./А0) принимается из соотношения
 1- max/R,
где Апр.вк. – площадь сечения прерывистых вкладышей, м2;
A0 – площадь сечения фундамента брутто в месте установки вкладышей, м2;
max – максимально напряжение в материале фундамента от внешних нагрузок, МПа;
R – расчетное сопротивление материала фундамента, МПа, отличающийся тем, что штрабы и выступы фундамента со стороны, обращенной к грунту, выполнены чередующимися по длине фундамента, при этом центры штраб со стороны, обращенной к грунту, размещены под центрами прерывистых вкладышей дополнительного утеплителя, пропущенных со стороны каждого наружного края фундамента.
РИСУНКИ
|