|
|
(21), (22) Заявка: 2006143500/03, 07.12.2006
(24) Дата начала отсчета срока действия патента:
07.12.2006
(46) Опубликовано: 10.09.2008
(56) Список документов, цитированных в отчете о поиске:
RU 2233364 C1, 27.07.2004. SU 1043260 A, 23.09.1983. SU 279447 A, 21.08.1970. SU 783411 A, 30.11.1980. SU 1060124 A, 07.12.1938. RU 2106491 C1, 10.03.1998. RU 2184811 C1, 10.07.2002. RU 2186175 C2, 27.07.2002. US 5423633 A1, 13.06.1995.
Адрес для переписки:
630007, г.Новосибирск 7, ул. Октябрьская, 42, оф.617, ООО “РОПАТ ПЛЮС”
|
(72) Автор(ы):
Захаров Павел Александрович (RU), Богаченков Андрей Генрихович (RU), Ермолаев Владимир Михайлович (RU)
(73) Патентообладатель(и):
Общество с ограниченной отвественностью “РОПАТ ПЛЮС” (RU)
|
(54) ГИДРОМОЛОТ
(57) Реферат:
Изобретение относится к конструкциям гидромолотов для погружения в грунт железобетонных и стальных свай, шпунтов и других забивных элементов. Гидромолот содержит ударную массу, корпус с направляющими, гидроцилиндр, жестко закрепленный на корпусе, шток гидроцилиндра, шарнирно соединенный с ударной массой через сферический шарнир, расположенный между верхним и нижним подпятниками скольжения, установленными с возможностью перемещения относительно ударной массы в направлении, перпендикулярном оси ударной массы. Причем зазор между образующими подпятников и ударной массой больше, чем зазор между ударной массой и направляющими. Техническим результатом изобретения является повышение надежности и долговечности гидроцилиндра молота. 1 ил.
Изобретение относится к конструкциям гидромолотов для погружения в грунт железобетонных и стальных свай, шпунта и других забивных элементов.
Известно устройство для забивки свай по патенту РФ № 2233364, E02D 7/10, содержащее ударную массу, цилиндр с размещенными в нем поршнем и штоком, причем шток соединен с ударной массой посредством цилиндрического или сферического шарнира.
Данное техническое решение, в особенности вариант сферического исполнения шарнира, позволяет компенсировать взаимный перекос осей ударной массы и штока, неизбежно возникающий вследствие наличия зазора между ударной массой и ее направляющими. Недостатком данного устройства является невозможность компенсации радиального смещения указанных осей, так как ось шарнира неподвижна относительно ударной массы, а корпус цилиндра жестко закреплен относительно корпуса устройства. Наличие радиального смещения осей вызывает изгиб штока при возвратно-поступательном движении ударной массы, что приводит к повышенному износу уплотнений и поверхностей цилиндра, поршня и штока, тем самым обуславливая их низкую долговечность.
Известен также гидромолот по патенту SU 1043260, E02D 7/10, включающий корпус, ударную часть, рабочий цилиндр с поршнем, шток которого шарнирно соединен с ударной частью через опертый на нее подпятник, причем подпятник оперт на ударную часть посредством тел качения диска, установленного на упругом элементе. Фактически, узел, связывающий ударную массу со штоком, представляет собой упорный подшипник качения (подпятник качения). Данное техническое решение позволяет компенсировать взаимное радиальное смещение осей штока и ударной части, а также перекос указанных осей вследствие использования упругого элемента.
Недостатком приведенного технического решения является низкая долговечность элементов сопряжения ударной части и штока: общеизвестно, что подшипники качения обладают относительно низкой динамической грузоподъемностью вследствие малой площади силового контакта и возникающими при этом большими контактными напряжениями в телах качения. Известно, что при равных габаритах узла трения, существенно большей грузоподъемностью обладают узлы трения скольжения, а не качения. Кроме того, низкой долговечностью при цикличной нагрузке обладают упругие элементы.
Задачей предлагаемого изобретения является создание конструкции узла сопряжения ударной массы и гидроцилиндра молота, обеспечивающей минимальный изгиб штока при возвратно-поступательном движении ударной массы, что обуславливает повышение надежности и долговечности гидроцилиндра молота и молота в целом.
Поставленная задача решается тем, что в гидромолоте, включающем ударную массу, корпус с направляющими, гидроцилиндр, жестко закрепленный на корпусе, шток гидроцилиндра, шарнирно соединенный с ударной массой, шток гидроцилиндра соединен с ударной массой через сферический шарнир, расположенный между верхним и нижним подпятниками скольжения, установленными с возможностью перемещения относительно ударной массы в направлении, перпендикулярном оси ударной массы, причем зазор между образующими подпятников скольжения и ударной массой больше, чем зазор между ударной массой и направляющими.
Предлагаемое изобретение поясняется чертежом.
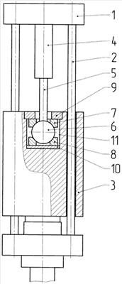
Гидромолот содержит корпус 1 с расположенными в нем направляющими 2, установленную на направляющих 2 с возможностью возвратно-поступательного перемещения ударную массу 3, закрепленный жестко на корпусе 1 гидроцилиндр 4 для перемещения ударной массы 3 по направляющим 2. Шток 5 гидроцилиндра 4 снабжен сферическим шарниром 6, установленным между верхним 7 и нижним 8 подпятниками скольжения. В осевом направлении перемещение подпятников скольжения ограничено верхней 9 и нижней 10 опорами соответственно, опоры 9 и 10 неподвижно закреплены на ударной массе. В ударной массе 3 выполнена цилиндрическая проточка 11. Между образующими подпятников 7 и 8 и цилиндрической проточкой 11 ударной массы 3 имеется зазор, таким образом, в пределах этого зазора, подпятник 7 по опоре 9 или подпятник 8 по опоре 10 могут перемещаться в направлении, перпендикулярном оси ударной массы.
Гидромолот работает следующим образом. В исходном положении, показанном на чертеже, шток 5 гидроцилиндра 4 оказывает силовое воздействие на ударную массу 3 через верхний подпятник 7 и верхнюю опору 9. Под воздействием данного усилия ударная масса 3 перемещается, совершая холостой ход. Если в процессе движения ударная масса поворачивается, опираясь на направляющие 2, то данный перекос компенсируется поворотом ударной массы 3 вместе с верхним 7 и нижним 8 подпятниками, верхней 9 и нижней 10 опорами относительно сферического шарнира 6. В случае начального радиального смещения ударной массы 3 и примыкания ее к одной из направляющих 2, верхняя опора 9 вместе с ударной массой 3 скользит по поверхности верхнего подпятника 7 вследствие радиальной реакции, действующей на ударную массу со стороны направляющей, тем самым компенсируя данное смещение. Необходимым условием полной компенсации радиального смещения ударной массы 3 является то, что зазор между образующими подпятников 7 и 8 и цилиндрической проточкой 11 выполнен большим, чем между ударной массой 3 и направляющими 2. Вышеописанные процессы перекоса и радиального смещения ударной массы 3 относительно направляющих 2 могут осуществляться одновременно, при этом изгибающие нагрузки, действующие на шток, определяются только значениями момента трения в паре: сферический шарнир 6 – верхний подпятник 7 и силой трения в паре верхний подпятник 7 – верхняя опора 9. Поскольку указанные пары трения характеризуются точными значениями коэффициентов трения, все силовые факторы, нагружающие шток, – поршень, корпус гидроцилиндра и узлы уплотнения являются расчетными, заведомо не превышающими допускаемых значений.
При совершении рабочего хода ударной массой 3 в гидромолоте двойного действия ее силовой контакт со штоком 5 будет осуществляться через нижний подпятник 8 и нижнюю опору 10, в гидромолоте простого действия – через верхний подпятник 7 и верхнюю опору 9. В любом случае, принцип работы узла сопряжения ударной массы 3 и штока 5 будет аналогичен тому, что имеет место при холостом ходе.
Таким образом, предлагаемое устройство обеспечивает расчетные значения изгибающих нагрузок, действующих на шток гидроцилиндра молота, что повышает надежность и увеличивает долговечность гидроцилиндра.
Формула изобретения
Гидромолот для погружения в грунт железобетонных и стальных свай, шпунта и других забивных элементов, включающий ударную массу, корпус с направляющими, гидроцилиндр, жестко закрепленный на корпусе, шток гидроцилиндра, шарнирно соединенный с ударной массой, отличающийся тем, что шток гидроцилиндра соединен с ударной массой через сферический шарнир, расположенный между верхним и нижним подпятниками скольжения, установленными с возможностью перемещения относительно ударной массы в направлении, перпендикулярном оси ударной массы, причем зазор между образующими подпятников скольжения и ударной массой больше, чем зазор между ударной массой и направляющими.
РИСУНКИ
|
|