|
|
(21), (22) Заявка: 2007103440/03, 29.01.2007
(24) Дата начала отсчета срока действия патента:
29.01.2007
(46) Опубликовано: 10.09.2008
(56) Список документов, цитированных в отчете о поиске:
RU 2224840 C1, 27.02.2004. US 2337277 A, 21.12.1943. FR 976763 A, 22.03.1951. FR 2777301 A1, 15.10.1999.
Адрес для переписки:
607188, Нижегородская обл., г. Саров, пр. Мира, 37, ФГУП “РФЯЦ-ВНИИЭФ”, начальнику ОПИНТИ
|
(72) Автор(ы):
Тараев Юрий Асафьевич (RU), Зайцева Ольга Анатольевна (RU), Ковтун Александр Дмитриевич (RU)
(73) Патентообладатель(и):
Федеральное государственное унитарное предприятие “Российский федеральный ядерный центр – Всероссийский научно-исследовательский институт экспериментальной физики” (ФГУП РФЯЦ-ВНИИЭФ) (RU)
|
(54) БАРЬЕР ПРОТИВОТАРАННЫЙ
(57) Реферат:
Заявленное изобретение предназначено для регулирования проездов автотранспорта на территорию особо важных охраняемых объектов. Технический результат – надежное перекрытие проезда к охраняемому объекту и остановка автотранспорта, движущегося на прорыв к охраняемому объекту с разными скоростями, простота изготовления, монтажа и эксплуатации. Барьер противотаранный, содержащий две опоры на расстоянии друг от друга не менее ширины транспортного средства и барьер в виде троса, установленный поперек проезда на опоры, снабжен стойками, установленными за опорами по ходу движения транспортного средства, на них шарнирно закреплены платформы, с возможностью опрокидывания, на платформах свободно размещены металлические конструкции в виде “ежей”, падающих на проезжую часть при опрокидывании платформ, трос, установленный поперек проезда, имеет связь с фиксаторами, удерживающими платформы от опрокидывания, а расстояние между опорами и стойками выбрано в зависимости от заданной скорости движения транспортного средства во время тарана. Трос может иметь разъемы у обеих опор для организации проезда транспортного средства. Трос может быть заключен в трубу на участках между опорами и стойками. 2 з.п. ф-лы, 2 ил.
Предлагаемое изобретение относится к средствам принудительной остановки транспорта, а именно к тросовым устройствам принудительной остановки транспорта, и может быть использовано для регулирования проездов автотранспорта на территорию особо важных охраняемых объектов.
Известно поворотное дорожное заграждение (Пат. Франции №2777301 от 14.04.1998, опубл. 15.10.1999 г, МПК Е01F 13/04), обеспечивающее возможность избирательного разрешения или запрещения проезда автомобиля к месту назначения или выезда на улицу или дорогу, имеющий короб, предназначенный для размещения в грунте или дорожном покрытии, который имеет полость с отверстием для доступа в эту полость и убирающийся в эту полость заградительный элемент, поворачивающийся в коробе вокруг оси вращения между положением, при котором по меньшей мере первая часть заградительного элемента выступает над коробом, препятствуя таким образом проезду автомобилей, а вторая часть перекрывает отверстие короба, а также нерабочим убранным положением, при котором элемент полностью убран в короб, перекрывая при этом его отверстие.
Недостатками данной конструкции являются:
– трудоемкость в изготовлении и монтаже;
– высокая стоимость;
– требует трудоемкого обслуживания в процессе эксплуатации в зимний период времени;
– не позволяет производить механическую уборку проезда от снега;
– не выдерживает необходимой ударной нагрузки движущегося транспорта, и следовательно, не сможет надежно перекрыть доступ к охраняемому объекту.
Наиболее близким по выполняемой функции и заданным параметрам является известный барьер противотаранный (Пат. РФ №2224840 от 12.07.2002, опубл. 27.02.2004, МПК Е01F 13/10), содержащий балку, один конец которой шарнирно закреплен на одной опоре с возможностью ее поворота в горизонтальной плоскости, а другой закреплен на другой опоре с помощью механического замкового устройства. Балка сварена из двух швеллеров и внутри балки вмонтированы и закреплены по концам предварительно натянутые стальные тросы, а снаружи балки наварены стальные шипы, которые повышают ее заградительные свойства. На консольном конце балки приваривается торцевая накладка, предохраняющая вырыв конца балки из замкового устройства при ее прогибе.
Это устройство выбрано в качестве прототипа.
Известное устройство имеет ряд недостатков:
– большая трудоемкость изготовления и монтажа;
– высокая стоимость;
– длительное восстановление после срабатывания;
– требуются большие усилия для обслуживания при пропуске транспорта;
– устройство требует квалифицированного технического обслуживания.
Задачей предлагаемого изобретения является разработка простого по конструкции, надежного в эксплуатации и легкого в управлении и обслуживании, при любых климатических условиях, дешевого в изготовлении и монтаже противотаранного устройства.
Техническим результатом применения заявляемого устройства является надежное перекрытие проезда к охраняемому объекту и остановка автотранспорта, движущегося на прорыв к охраняемому объекту с разными скоростями, простота изготовления, монтажа и эксплуатации.
Технический результат достигается за счет того, что барьер противотаранный, содержащий две опоры на расстоянии друг от друга не менее ширины транспортного средства и барьер в виде троса, установленный поперек проезда на опоры, снабжен стойками, установленными за опорами по ходу движения транспортного средства, на них шарнирно закреплены платформы с возможностью опрокидывания, на платформах свободно размещены металлические конструкции в виде “ежей”, падающих на проезжую часть при опрокидывании платформ, трос, установленный поперек проезда, имеет связь с фиксаторами, удерживающими платформы от опрокидывания, а расстояние между опорами и стойками выбрано в зависимости от заданной скорости движения транспортного средства во время тарана.
Трос барьера может иметь разъемы у обеих опор для организации проезда транспортного средства.
Трос может быть заключен в трубу на участках между опорами и стойками.
Для санкционированного пропуска автотранспорта трос барьера, может быть разомкнут у одной из опор и убран с проезжей части.
После пропуска автотранспорта трос барьера возвращается на место.
Стойки, установленные за опорами по ходу движения транспорта с шарнирно-закрепленными на них платформами представляют собой простые элементы, которые не требуют больших затрат на изготовление и установку. Шарнирное закрепление платформ на стойках, зафиксированных фиксаторами, позволяет надежно опрокидывать “ежей”, размещенных свободно на платформах, т.к. эти элементы надежны в эксплуатации и не требуют при обслуживании квалифицированного рабочего персонала. Трос, перекрывающий проезд, имеющий связь с фиксаторами, при воздействии на него транспортного средства выдергивает фиксаторы, и платформы опрокидываются, а “ежи” надежно перекрывают несанкционированный доступ транспортного средства на охраняемую территорию. Выбор расстояния между опорами и стойками позволяет устанавливать их в зависимости от заданной скорости транспорта, т.е. барьер противотаранный легко может быть переналажен под любую характеристику транспорта.
Так как время падения механических преград после выдергивания фиксаторов постоянное, то увеличение расстояния между стойками с преградами и опорами увеличивает вероятность надежной остановки автомобиля, движущегося с большей скоростью. Разъемы у обеих опор позволяют легко обслуживать пропуск автотранспорта, без значительных усилий, которые требуются в прототипе. Заключение троса в трубу на участке между опорами и стойками предотвращает от случайного срабатывания барьера противотаранного.
Усилия выдергивания фиксаторов подобрано таким образом, что человек своим усилием не может привести в действие срабатывание устройства. В этом существенное преимущество заявляемого устройства.
Заявляемая совокупность признаков, низкая стоимость и простота изготовления элементов конструкций, из которых состоит заявляемое средство принудительной остановки транспорта, легкость снятия троса для пропуска транспорта позволяет достигнуть вышеупомянутый технический результат.
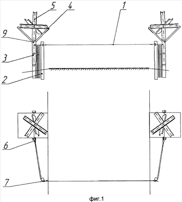
На фиг.1 представлен общий вид заявляемого устройства.
На фиг.2 представлена схема работы барьера противотаранного при попытке несанкционированного проезда, где:
1. трос;
2. опора;
3. стойка;
4. платформа;
5. металлическая преграда в виде “ежей”;
6. фиксатор;
7. карабин;
8. транспортное средство;
9. шарниры.
Управление проездом автотранспорта осуществляется следующим образом.
Барьер в виде троса (1) натянут поперек автомобильного проезда между двумя опорами (2), расположенными по обеим сторонам автомобильного проезда, и закреплен за стойки (3) при помощи фиксаторов (6), которые удерживают во взведенном положении две платформы (4), закрепленные на стойках с помощью шарниров (9), с возможностью опрокидывания, на которые свободно устанавливаются две сварные металлические преграды (ежи) (5). Трос размыкается у одной из опор (2) карабином (7) и выводится за пределы проезжей части, освобождая автомобильный проезд для проезда транспорта.
Работает устройство следующим образом:
Трос (1) установлен поперек проезда и закреплен на опорах (2). При попытке тарана транспортное средство (8) перемещает трос по направлению движения.
Под действием натянутого троса происходит выдергивание фиксаторов (6), удерживающих платформы (4) с металлическими преградами (5). Платформы под собственным весом и весом, установленных на нее металлических преград, опрокидываются и металлические преграды (ежи) соскальзывают с платформ, и перемещаются на проезжую часть, останавливаясь на пути движения транспортного средства (автомобиля).
В качестве примера конкретного исполнения был изготовлен опытный образец, предназначенный для остановки транспортного средства (автомобиля), движущегося со скоростью до 30 км/ч, где диаметр труб силовых опор 200 мм, толщина троса диаметром 10 мм, общая длина троса 15 м. В качестве металлических сварных преград были изготовлены «ежи», сваренные из отрезков швеллера №14, длина каждого отрезка 1500 мм. В качестве стоек использованы сварные металлические конструкции, с установленными на них опрокидывающимися платформами, покрытыми стальными листами, высота центра «ежей» над уровнем земли 1500 мм. Трос на участке от фиксаторов до опор спрятан внутрь трубы ограждения. В качестве фиксаторов использованы металлические штыри, специально закрепленные на концах троса.
Проведены испытания, которые подтвердили объективность встречи автомобиля с металлическими преградами. Изготовленный опытный образец заявляемого устройства при испытании показал хорошие результаты и подтвердил новый технический результат.
Формула изобретения
1. Барьер противотаранный, содержащий две опоры на расстоянии друг от друга не менее ширины проезда транспортного средства и барьер в виде троса, установленный поперек проезда на опоры, отличающийся тем, что барьер противотаранный снабжен стойками, установленными за опорами по ходу движения транспортного средства, на них шарнирно закреплены платформы с возможностью опрокидывания, на платформах размещены металлические конструкции в виде “ежей”, падающих на проезжую часть при опрокидывании, трос, установленный поперек проезда, имеет связь с фиксаторами, удерживающими платформы от опрокидывания, а расстояние между опорами и стойками выбрано в зависимости от заданной скорости движения транспортного средства во время тарана.
2. Барьер противотаранный по п.1, отличающийся тем, что трос имеет разъемы у обеих опор для организации проезда транспортного средства.
3. Барьер противотаранный по п.1, отличающийся тем, что трос заключен в трубу на участках между опорами и стойками.
РИСУНКИ
|
|