|
(21), (22) Заявка: 2006114333/15, 26.04.2006
(24) Дата начала отсчета срока действия патента:
26.04.2006
(43) Дата публикации заявки: 20.11.2007
(46) Опубликовано: 10.09.2008
(56) Список документов, цитированных в отчете о поиске:
RU 2260636 C1, 20.09.2005. SU 1297523 A1, 10.10.1996. US 4382837 A, 10.05.1983. ГУСЕЙНОВ М.К. и др. Получение пленок твердых растворов (SiC)1-x(AlN)x методом магнетронного распыления. Письма в ЖТФ, т.31, вып.4, 2005, с.13-16.

Адрес для переписки:
367001, г.Махачкала, ул. М. Гаджиева, 43а, ДГУ, УИС, пат.пов. Х.М. Мугутдиновой, рег. № 1069
|
(72) Автор(ы):
Курбанов Маликаждар Курбанович (RU), Билалов Билал Аругович (RU), Сафаралиев Гаджимет Керимович (RU)
(73) Патентообладатель(и):
Дагестанский государственный университет (RU)
|
(54) СПОСОБ ПОЛУЧЕНИЯ ЭПИТАКСИАЛЬНЫХ ПЛЕНОК РАСТВОРОВ (SiC)1-x(AlN)x
(57) Реферат:
Изобретение относится к области технологии получения многокомпонентных полупроводниковых материалов и может быть использовано в электронной промышленности для получения полупроводникового материала – твердого раствора (SiC)1-x(AlN)x для создания на его основе приборов твердотельной силовой и оптоэлектроники, для получения буферных слоев (SiC)1-x(AlN)x при выращивании кристаллов нитрида алюминия (AlN) или нитрида галлия (GaN) на подложках карбида кремния (SiC). Эпитаксиальные пленки твердого раствора карбида кремния с нитридом алюминия (SiC)1-x(AlN)x, где 0<х<1, получают путем осаждения твердого раствора на монокристаллическую подложку SiC-6H при температуре 1000°С ионно-плазменным магнетронным распылением мишени из поликристаллического твердого раствора (SiC)1-x(AlN)x, где 0<х<1, при этом распыление мишени ведут при воздействии переменного тока с частотой 13,56 МГц. Изобретение позволяет получать монокристаллические пленки высокого совершенства во всем диапазоне изменения химического состава, а также увеличить эффективность распыления высокоомных мишеней. 3 ил.
Изобретение относится к области технологии получения многокомпонентных полупроводниковых материалов, а точнее к технологии получения монокристаллических эпитаксиальных пленок широкозонного твердого раствора карбида кремния с нитридом алюминия (SiC)1-x(AlN)x.
Изобретение наиболее эффективно может быть использовано:
1. В электронной промышленности для получения полупроводникового материала – твердого раствора (SiC)1-x(AlN)x для создания на его основе приборов твердотельной силовой и оптоэлектроники.
2. Для получения буферных слоев (SiC)1-x(AlN)x при выращивании кристаллов нитрида алюминия (AlN) или нитрида галлия (GaN) на подложках карбида кремния (SiC).
Известно, что для получения объемных монокристаллов и эпитаксиальных пленок твердого раствора (SiC)1-x(AlN)x используется метод сублимационной эпитаксии (патент SU №1297523 А1 от 10.10.1996 г). Суть данного способа заключается в том, что сублимацию ведут из источников, в качестве которых используются смеси порошков SiC и AlN или спеки с различным содержанием AlN. В качестве подложек применяют монокристаллические пластины SiC. Перенос паров источника к подложке осуществляется за счет градиента температуры между источником и подложкой.
Основными недостатками сублимационного метода получения (SiC)1-x(AlN)x являются:
1. Высокая температура сублимации источника и осаждения на подложке (2000-2400°С).
2. Плохая воспроизводимость состава и совершенства эпитаксиальных пленок.
3. Невозможность контролирования и управления толщиной растущих слоев.
4. Невозможность получения многослойных структур с резкими гетерограницами из-за перекрестной диффузии в пограничной области между слоями при высоких температурах осаждения.
Известно также, что для получения твердых растворов (SiC)1-x(AlN)x применяется метод магнетронного ионно-плазменного распыления из двух источников (Tungasmita S. et al. Growth of epitaxial (SiC)1-x(AlN)x thin films on 6H-SiC by ion-assisted dual magnetron sputter deposition. Proceedings of the international Conference on Silicon Carbide and Related Materials. 2001. Materials Science Forum., vol.389-393, n.2, 2002, p.1481-1484).
Этот способ включает осаждение тонкой пленки твердого раствора (SiC)1-x(AlN)x на подложке 6H-SiC при температуре 1000°С путем одновременного ионно-плазменного магнетронного распыления на постоянном токе двух мишеней (из поликристаллического SiC и из чистого Al) в среде азота. Составом осаждаемых пленок управляют путем варьирования разрядных токов и давления азота.
Главный недостаток данного метода заключается в том, что применяются две магнетронные системы для независимого распыления двух мишеней, что усложняет конструкцию технологической установки, увеличивает энергетические затраты.
Другим недостатком является то, что магнетронное распыление из 2-х независимых источников не обеспечивает гомогенное перемешивание распыляемых материалов в широком диапазоне концентраций.
Из известных способов получения эпитаксиальных слоев твердого раствора карбида кремния с нитридом алюминия наиболее близким по технической сущности является способ получения эпитаксиальных слоев твердого раствора SiC-AlN на подложках 6H-SiC магнетронным ионно-плазменным распылением из одной мишени поликристаллического твердого раствора SiC-AlN (патент RU №2260636 С1 (ДГУ) от 20.09.2005 г.).
Этот способ включает осаждение твердого раствора на монокристаллическую подложку 6H-SiC при температуре 1000°С ионно-плазменным магнетронным распылением мишени поликристаллического твердого раствора SiC-AlN, изготовленной путем горячего прессования смеси порошков SiC и AlN. Составом эпитаксиальных слоев управляют изменением состава мишени.
Существенный недостаток данного способа заключается в том, что процесс распыления мишени осуществляется на постоянном токе, что не позволяет получить пленки твердого раствора (SiC)1-x(AlN)x с составами, изменяющими в широком диапазоне, т.е. пленки с содержанием AlN более 60 молярных процента (мол.%).
Это связано с тем, что для эффективного распыления мишени на постоянном токе она должна обладать достаточной электропроводностью, чтобы заряд положительных ионов рабочего газа, бомбардирующих мишень, стекался на катод и замыкал цепь анод-катод. При низкой электропроводности мишени разрядный ток ограничивается высоким сопротивлением мишени.
Если мишени из диэлектрического материала, то ионно-плазменное распыление на постоянном токе сталкивается с непреодолимыми трудностями из-за накопления положительного заряда бомбардирующих ионов на поверхности мишени и последующего кулоновского отражения (торможения) бомбардирующих ионов этим зарядом (Данилин Б.С. Применение низкотемпературной плазмы для нанесения тонких пленок. М.: Энергоатомиздат, 1989. 327 с.).
При низкой электропроводности мишени происходит также перераспределение напряжения между анодом и катодом. Падение напряжения на сопротивлении мишени возрастает, а напряжение на промежутке области пространственного заряда вблизи катода уменьшается, что приводит к росту напряженности электрического поля в мишени. При этом в мишени активизируются процессы ударной ионизации атомов и локальные пробои мишени.
Удельное сопротивление мишеней из поликристаллического твердого раствора (SiC)1-x(AlN)x помимо технологии изготовления (зернистость порошков, давление, температура горячего прессования и. др.), главным образом зависит от химического состава.
SiC-полупроводник с шириной запрещенной зоны (Eg) 2,5-3,3 эВ для различных политипов (для 6H-SiC Eg=2,8 эВ при Т=300К). AlN – диэлектрик с Eg около 6 эВ при Т=300 К. Поэтому удельное сопротивление твердого раствора (SiC)1-x(AlN)x в зависимости от соотношения SiC и AlN изменяется в широком диапазоне. При содержании компоненты х (AlN) более 60 мол.% удельное сопротивление мишени возрастает настолько (>108
Поскольку при магнетронном распылении химический состав осаждаемой пленки очень близок составу мишени, то получение пленок (SiC)1-x(AlN)x с компонентой х>0,6 на постоянном токе практически не осуществимо.
Одним из путей решения проблемы осаждения пленок (SiC)1-x(AlN)x с составами, изменяющимися в широком диапазоне, является использование переменного тока вместо постоянного для получения электронно-ионной плазмы.
При приложении к промежутку газового разряда переменного электрического поля высокой частоты за один полупериод (когда мишень под отрицательным потенциалом) происходит распыление высокоомной (диэлектрической) мишени и накопление на ней положительного заряда, а за другой полупериод (когда мишень под положительным потенциалом) высокоподвижные электроны плазмы поступает на мишень в большом количестве, чем ионы за время отрицательного полпериода. Электроны не только нейтрализуют положительный заряд, возникающий на мишени при бомбардировке ионами, но также создает на ней отрицательный потенциал смещения относительно плазмы, который ускоряет положительно заряженные ионы, осуществляющие бомбардировку. Отрицательный потенциал смещения растет до тех пор, пока средние значения электронного и ионного токов не сравняются.
Результирующее напряжение на поверхности мишени состоит из трех составляющих: синусоидального напряжения, наведенного на мишени от источника переменного тока (генератора ВЧ колебаний) через емкость образованной заземленным электродом и магнетроном, положительного напряжения, обусловленного ионным током, и отрицательного напряжения смещения, возникающего за счет электронного тока.
В течение большей части периода колебания высокочастотное результирующее напряжение на мишени отрицательно относительно плазмы, а его постоянная составляющая (смещение) равна, приблизительно, амплитуде напряжения источника переменного тока. Следовательно, чем меньше период колебаний источника переменного тока (или выше частота), тем меньше положительный заряд накапливается в мишени, что обеспечивает условия для эффективного распыления мишени.
Однако при использовании частот свыше 20 МГц имеются определенные трудности в согласовании источника питания магнетрона с нагрузкой, за счет чего снижается коэффициент передачи мощности переменного тока в нагрузку. Поэтому оптимальным является частота 13,56 МГц – одно из значений радиочастот, разрешенных для использования в промышленных, научных и медицинских высокочастотных устройствах постановлением правительства РФ №439-23 от 15 июля 2006 г.
Задачей настоящего изобретения является разработка нового способа получения пленок твердого раствора (SiC)1-x(AlN)x.
Технический результат заключается в расширении диапазона изменения химического состава пленок, а также увеличении эффективности распыления высокоомных мишеней.
Технический результат достигается ионно-плазменным магнетронным распылением поликристаллической мишени (SiC)1-x(AlN)x при воздействии переменного тока (13,56 МГц) в атмосфере аргона.
Сущность изобретения состоит в том, что получение эпитаксиальных пленок твердого раствора карбида кремния с нитридом алюминия (SiC)1-x(AlN)x, где 0<х<1, путем осаждения твердого раствора на монокристаллическую подложку SiC-6Н при температуре 1000°С ионно-плазменным магнетронным распылением мишени из поликристаллического твердого раствора (SiC)1-x(AlN)x, где 0<х<1, отличается тем, что распыление мишени ведут при воздействии переменного тока с частотой 13,56 МГц.
Пример конкретного осуществления способа.
Способ получения эпитаксиальных пленок твердого раствора (SiC)1-x(AlN)x состоит из следующих операций, выполняемых последовательно:
1. Загрузка рабочей камеры
а) подготовка подложки, которая представляет собой пластину монокристаллического SiC политипа 6Н ориентации (0001). (Травление в КОН при 500°С в течение 10 минут, кипячение в дистиллированной воде 2 раза, промывка в деионизированной воде.)
б) Установка подложки в графитовый нагреватель.
в) Установка мишени – диска из поликристаллического твердого раствора (SiC)1-x(AlN)x (с известным составом), диаметром 8 см и толщиной 0,3 см на магнетрон.
2. Откачка воздуха из рабочей камеры 2-х ступенчатой вакуумной системой до 10-6 мм рт.ст.
3. Включение питания нагревателя подложки и доведение температуры подложки до 1000°С.
4. Включение электронной системы напуска газа и доведение давления Ar в рабочей камере до 0,3·10-3 – 0,8·10-3 мм рт.ст.
5. Включение системы водяного охлаждения магнетрона и высокочастотного генератора электропитания магнетрона ГВЧ-0,5-13,56-86 с рабочей частотой 13,56 МГц и получение разрядного тока плотностью 1-10 мА/см2.
6. Через 5 минут после начала процесса распыления мишени открывают заслонку и осуществляется осаждение на подложке в течение 1-3 часов.
7. При достижении требуемой толщины эпитаксиального слоя электропитание магнетрона выключают, а подложку с эпитаксиальной пленкой охлаждают до комнатной температуры в течение 30 минут.
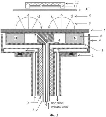
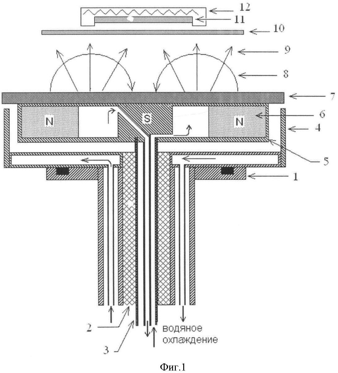
На фиг.1 приведена структурная схема магнетронной распылительной системы для эпитаксии пленок (SiC)1-x(AlN)x с помощью высокочастотного распыления, где 1 – плита установки, 2 – изоляция, 3 – высокочастотный ввод, 4 – заземленный экран, 5 – магнитопровод, 6 – кольцевые ферритовые магниты, 7 – мишень SiC-AIN, 8 – магнитные силовые линии, 9 – поток распыляемого вещества, 10 – заслонка, 11 – подложка SiC, 12 – графитовый нагреватель для подложки.
На фиг.2 представлены электронограммы от двух эпитаксиальных пленок (SiC)0,65(AlN)0,35 – а) и (SiC)0,47(AlN)0,53 – б). Точечные рефлексы и Кикучи-линии, видимые на этих электронограммах, свидетельствуют о высоком кристаллическом совершенстве полученных слоев.
На фиг.3 приведены спектры пропускания (SiC)1-x(AlN)x для двух составов: 1 – х=0,5; 2 – х=0,3. Смещение края спектра пропускания с увеличением концентрации х в коротковолновую область объясняется увеличением ширины запрещенной зоны.
Эти результаты измерений также подтверждают, что пленки, полученные предлагаемым способом, являются монокристаллическими.
Таким образом, нами разработан новый способ, позволяющий получить эпитаксиальные пленки твердого раствора (SiC)1-x(AlN)x во всем диапазоне изменения химического состава.
Формула изобретения
Способ получения эпитаксиальных пленок твердого раствора карбида кремния с нитридом алюминия (SiC)1-x(AlN)x, где 0<х<1, путем осаждения твердого раствора на монокристаллическую подложку SiC-6H при температуре 1000°С ионно-плазменным магнетронным распылением мишени из поликристаллического твердого раствора (SiC)1-x(AlN)x, где 0<х<1, отличающийся тем, что распыление мишени ведут при воздействии переменного тока с частотой 13,56 МГц.
РИСУНКИ
|