|
|
(21), (22) Заявка: 2007109539/02, 15.03.2007
(24) Дата начала отсчета срока действия патента:
15.03.2007
(46) Опубликовано: 10.09.2008
(56) Список документов, цитированных в отчете о поиске:
RU 2181392 C1, 20.04.2002. SU 1624060 A1, 30.01.1991. SU 1504292 A1, 30.08.1989. RU 2019582 C1, 15.09.1994. US 4517059 A, 14.05.1985.
Адрес для переписки:
690001, Приморский край, г.Владивосток, ул. Пушкинская, 37, ДГТУ, патентный отдел, М.И. Звонареву, рег.№ 958
|
(72) Автор(ы):
Усольцев Валерий Константинович (RU), Герасимов Владимир Александрович (RU), Гордиенко Павел Сергеевич (RU), Достовалов Виктор Александрович (RU)
(73) Патентообладатель(и):
Усольцев Валерий Константинович (RU), Герасимов Владимир Александрович (RU), Гордиенко Павел Сергеевич (RU), Достовалов Виктор Александрович (RU)
|
(54) УСТРОЙСТВО ДЛЯ МИКРОДУГОВОГО ОКСИДИРОВАНИЯ МЕТАЛЛОВ И ИХ СПЛАВОВ
(57) Реферат:
Изобретение относится к области электролитической обработки поверхности металлов. Технический результат – обеспечение стабильно высокого качества покрытий в широком классе обрабатываемых материалов. Устройство содержит гальваническую ванну, тиристорный преобразователь, включающий тиристоры, установленные на выходных выводах источника постоянного тока, управляющую вычислительную машину, связанную с управляющими входами тиристоров тиристорного преобразователя, измерительные преобразователи, по крайней мере один из которых выполнен в виде датчика тока, а другой в виде датчика напряжения. Устройство также содержит регуляторы параметров процесса, схему выделения минимального управляющего сигнала, задатчики параметров процесса и управляемую индуктивность. При этом положительная клемма тиристорного преобразователя через управляемую индуктивность подключена к токоподводу для подключения оксидируемой детали, а его отрицательная клемма через датчик тока подключена к корпусу гальванической ванны. Между выходными клеммами тиристорного преобразователя включен датчик напряжения, кроме того, входной узел управляющей вычислительной машины подключен к выходам задатчиков параметров процесса и выходам измерительных преобразователей. Выходной узел управляющей вычислительной машины подключен к управляющему входу управляемой индуктивности и первым входам регуляторов параметров процесса, вторые входы которых подключены к выходам измерительных преобразователей. Первые выходы регуляторов параметров процесса через схему выделения минимального управляющего сигнала подключены к управляющему входу тиристорного преобразователя, к которому также подключены вторые выходы регуляторов параметров процесса. 2 ил.
Изобретение относится к оборудованию для электролитической обработки поверхности металлов и их сплавов и может быть использовано для улучшения эксплуатационных характеристик, получения электроизоляционных и декоративных покрытий металлических деталей путем микродугового оксидирования.
Известно устройство для микродугового оксидирования вентильных металлов и их сплавов, содержащее источник питания, ванну для электролита, корпус которой через шунт электрического сопротивления соединен с первой клеммой источника питания, и токоподвод для детали, соединенный с второй клеммой источника питания, устройство снабжено второй ванной для электролита, вторым шунтом электрического сопротивления и вторым конденсатором, двумя электронными ключами, двумя блоками синхронизации, формирователем импульсов и токоподводом для второй оксидируемой детали, причем корпус ванны через второй шунт соединен с корпусом второй ванны, второй вывод шунта соединен с одним выводом первого электронного ключа, второй вывод которого соединен с первой обкладкой конденсатора, а токоподвод второй оксидируемой детали через последовательно соединенные второй электронный ключ и второй конденсатор соединен с второй обкладкой конденсатора, которая соединена с первой клеммой источника питания, причем первый блок синхронизации подсоединен параллельно к шунту, управляющий выход блока синхронизации подключен к управляемому входу первого электронного ключа, второй блок синхронизации подсоединен параллельно к дополнительному шунту, а его управляющий выход подключен к управляемому входу второго электронного ключа, при этом оба блока синхронизации соединены с формирователем импульсов, подключенным к клеммам источника питания (см. А.с. SU 1504292, МКИ С25D 11/02, 1989).
Известно устройство для электролитической обработки алюминия, содержащее ванну, электроды, один из которых выполнен из алюминия, выпрямитель, подключенный к электроду, и устройство управления выпрямителем, причем она снабжена преобразователем и детектором, устройство управления выпрямителем выполнено в виде соединенных импульсного фазового генератора, регулятора фазы и контроллера с регуляторами для включения и выключения генератора, а выпрямитель подключен к импульсному фазовому генератору и выполнен в виде полупроводниковых выключателей, причем преобразователь включен между устройством управления, выпрямителем и детектором (см. А.с. SU 660598, МКИ С25D 11/04, 1979).
Известно устройство для микродугового оксидирования вентильных металлов и их сплавов, содержащее источник питания с двумя клеммами, ванну для электролита, корпус которой соединен с первой клеммой источника питания, два вентиля, два токоподвода для двух оксидируемых деталей и два блока конденсаторов, вторые обкладки которых соединены с второй клеммой источника питания, причем оно снабжено третьим блоком конденсаторов и блоком циклирования режимов с независимым регулированием включения и паузы, причем токоподвод для первой детали соединен с первыми обкладками первого блока конденсаторов и катодом первого вентиля, токоподвод для второй детали соединен с первыми обкладками второго блока конденсаторов и анодом второго вентиля, анод первого и катод второго вентилей – с первыми обкладками третьего блока конденсаторов, а вторая обкладка третьего блока конденсаторов соединена с второй клеммой источника питания через блок циклирования режимов (см. А.с. SU 1624060, МКИ C25D 11/02, 1991).
Однако известные устройства не позволяют получить режимы микродугового оксидирования в широком диапазоне, что снижает качество получаемых оксидных покрытий.
Известно также устройство для микродугового оксидирования металлов и их сплавов, содержащее гальваническую ванну, тиристорный преобразователь, включающий тиристоры, установленные на выходных выводах источника постоянного тока, управляющую вычислительную машину, связанную посредством микропроцессора с управляющими входами тиристоров тиристорного преобразователя, измерительные преобразователи, по крайней мере один из которых выполнен в виде датчика тока, а другой в виде датчика напряжения (см. пат. RU 2181392, C25D 11/00, C25D 11/02, 2002).
Недостатки устройства – невозможность обеспечения стабильно высокого качества покрытий в широком классе обрабатываемых материалов из-за ограниченных возможностей регулирования параметров процесса микродугового оксидирования, необходимости ручного оперативного вмешательства в процесс нанесения покрытия с целью ограничения формируемого напряжения или тока (при управлении гальванической ванной на ней должно изменяться по определенному закону напряжение, что обеспечивается при одновременном ограничении тока).
Задачей изобретения является обеспечение стабильно высокого качества покрытий в широком классе обрабатываемых материалов.
Технический результат, получаемый при решении поставленной задачи, выражается в:
– обеспечении полной автоматизации процесса микродугового оксидирования, не требующей постоянного присутствия оператора;
– точное ограничение заданными величинами максимальных значений параметров процесса микродугового оксидирования (напряжения, тока и так далее) позволяет избежать нежелательных режимов (перехода микродугового разряда в обычный дуговой разряд, ведущий к разрушению покрытия, ограничить нагрев электролита и т.п.);
– возможность ручного вмешательства оператора для снижения уровня заданных значений тока или напряжения, если этого требует текущее состояние процесса микродугового оксидирования;
– возможность анализа на основании зарегистрированных данных процесса микродугового оксидирования с целью его дальнейшего улучшения;
– возможность дополнительного управления процессом микродугового оксидирования путем изменения параметров управляемой индуктивности.
Для решения поставленной задачи устройство для микродугового оксидирования металлов и их сплавов, содержащее гальваническую ванну, тиристорный преобразователь, включающий тиристоры, установленные на выходных выводах источника постоянного тока, управляющую вычислительную машину, связанную с управляющими входами тиристоров тиристорного преобразователя, измерительные преобразователи, по крайней мере один из которых выполнен в виде датчика тока, а другой в виде датчика напряжения, отличается тем, что дополнительно содержит n регуляторов параметров процесса, схему выделения минимального управляющего сигнала, m задатчиков параметров процесса и управляемую индуктивность, при этом положительная клемма тиристорного преобразователя через управляемую индуктивность подключена к токоподводу для подключения оксидируемой детали, а его отрицательная клемма через датчик тока подключена к корпусу гальванической ванны, при этом между выходными клеммами тиристорного преобразователя включен датчик напряжения, кроме того, входной узел управляющей вычислительной машины подключен к выходам m задатчиков параметров процесса и выходам измерительных преобразователей, при этом выходной узел управляющей вычислительной машины подключен к управляющему входу управляемой индуктивности и первым входам n регуляторов параметров процесса, вторые входы которых подключены к выходам измерительных преобразователей, кроме того, первые выходы n регуляторов параметров процесса через схему выделения минимального управляющего сигнала подключены к управляющему входу тиристорного преобразователя, к которому также подключены вторые выходы n регуляторов параметров процесса.
Сопоставительный анализ признаков заявленного решения с признаками прототипа и аналогов свидетельствует о соответствии заявленного решения критерию “новизна”.
Признаки, раскрывающие структуру устройства, обеспечивают расширение возможностей регулирования параметров процесса микродугового оксидирования, при этом конструктивные признаки отличительной части формулы изобретения обеспечивают решение следующих функциональных задач:
Признаки, указывающие на ввод в состав устройства n регуляторов параметров процесса, обеспечивают возможность регулирования параметров процесса микродугового оксидирования по сколь угодно широкому перечню параметров. Каждый из регуляторов сравнивает свой задающий сигнал с сигналом обратной связи и вырабатывает собственный сигнал управления У1, …, Уn, соответствующий своему углу управления тиристорами тиристорного преобразователя. В общем случае число регуляторов может быть любым и определяется только числом задающих сигналов, определяющих предельное значение любого числа параметров гальванической ванны (например, может задаваться предельная мощность тиристорного преобразователя или предельная температура электролита гальванической ванны и т.д.).
Признаки, указывающие на ввод в состав устройства схемы выделения минимального управляющего сигнала, обеспечивают выделение минимума из сигналов управления У1, …, Уn и выведение на свой выход сигнала, обеспечивающего минимальное напряжение (соответственно и ток) тиристорного преобразователя и гальванической ванны. Дополнительно выходной сигнал этой схемы Умин поступает на регуляторы и ограничивает их выходной сигнал на уровне Умин, что обеспечивает передачу функций регулирования с одного регулятора на другой без дополнительных переходных процессов (так называемое безударное переключение регуляторов).
Признаки, указывающие на ввод в состав устройства m задатчиков параметров процесса, обеспечивают возможность ввода в «схему управления устройством» (ее настройку) на необходимый режим работы.
Признаки, указывающие на ввод в состав устройства управляемой индуктивности, включенной между выходом тиристорного преобразователя и гальванической ванны, позволяют управлять процессом микродугового оксидирования, оптимизируя его параметры в зависимости от предъявляемых к наносимому покрытию требований. Параметры управляемой индуктивности изменяются согласно управляющему сигналу Xn+1, поступающему от управляющей вычислительной машины.
Признаки, раскрывающие связь узлов и элементов схемы, обеспечивают ее эффективное функционирование.
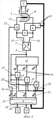
На фиг.1 схематически показана структура устройства; на фиг.2 показаны временные диаграммы изменения тока и напряжения тиристорного преобразователя и гальванической ванны при задании двух параметров процесса микродугового оксидирования.
На чертежах показаны гальваническая ванна 1, тиристорный преобразователь 2 с управляющим входом 3, управляющая вычислительная машина 4, измерительные преобразователи 5, один из которых выполнен в виде датчика тока 6, а другой в виде датчика напряжения 7, регуляторы 8-10 параметров процесса, схема 11 выделения минимального управляющего сигнала, задатчики 12-13 параметров процесса и управляемая индуктивность 14, положительная 15 и отрицательная 16 клеммы тиристорного преобразователя 2, токоподвод 17, оксидируемая деталь 18, входной узел 19 управляющей вычислительной машины 4, выходы 20 задатчиков 12-13 параметров процесса, выходы 21 измерительных преобразователей 5-7, выходной узел 22 управляющей вычислительной машины 4, управляющий вход 23 управляемой индуктивности 14, первые 24 и вторые 25 входы, а также первые 26 и вторые 27 выходы регуляторов 8-10 параметров процесса, тиристорного преобразователя 2.
Число задатчиков и регуляторов, приведенное на фиг.1 ограничено по соображениям «читаемости» схемы.
Положительная клемма 15 тиристорного преобразователя 2 через управляемую индуктивность 14 подключена к токоподводу 17 для подключения оксидируемой детали 18, а его отрицательная клемма 16 через датчик тока 6 подключена к корпусу гальванической ванны 1, при этом между выходными клеммами тиристорного преобразователя 2 включен датчик напряжения 7, кроме того, входной узел 19 управляющей вычислительной машины 4 подключен к выходам 20 всех m задатчиков 12-13 параметров процесса и выходам 21 измерительных преобразователей 5-7, при этом выходной узел 22 управляющей вычислительной машины 4 подключен к управляющему входу 23 управляемой индуктивности 14 и первым входам 24 каждого из n регуляторов 8-10 параметров процесса вторые входы 25 которых подключены к выходам 23 измерительных преобразователей 5-7, кроме того, первые выходы 26 каждого из n регуляторов 8-10 параметров процесса, через схему 11 выделения минимального управляющего сигнала подключены к управляющему входу 3 тиристорного преобразователя 2, к которому также подключены вторые выходы 27 каждого из n регуляторов 8-10 параметров процесса.
Гальваническая ванна 1 конструктивно не отличается от известных конструкций сходного назначения.
В качестве тиристорного преобразователя 2 использован источник питания известной конструкции, содержащий управляемые вентили (тиристоры) и микропроцессор управления вентилями. Основой силовой части тиристорного преобразователя 2 является схема выпрямления, выполненная в виде трехфазного мостового управляемого тиристорного выпрямителя.
Питание осуществляется переменным напряжением 3×380 В через автоматический выключатель «Сеть». Схема выпрямления состоит из блока тиристоров, получающих переменное напряжение от блока силовых трансформаторов.
В качестве управляющей вычислительной машины 4 использован персональный компьютер, при этом его входной узел 19 и выходной узел 22 содержат, соответственно, аналогово-цифровой и цифроаналоговый преобразователи известной конструкции (не показаны) – укомплектован платой АЦП/ЦАП типа L-761. Плата АЦП/ЦАП обеспечивает преобразование цифровых сигналов, соответствующих заданным значениям напряжения и тока, в аналоговые сигналы UЗАД, IЗАД. С другой стороны, плата АЦП/ЦАП обеспечивает преобразование сигналов UOC, IOC, пропорциональных выходному напряжению и току тиристорного преобразователя, в цифровой вид. Дальнейшая обработка этих сигналов осуществляется управляющей вычислительной машиной 4, что позволяет осуществлять как текущий контроль, так и регистрацию основных электрических параметров процесса формирования гальванического покрытия. Логический сигнал «ПУСК-СТОП» обеспечивает начало и завершение процесса нанесения гальванического покрытия.
Программное обеспечение осуществляет связь персонального компьютера с оператором, а также связь компьютера с тиристорным источником напряжения. Оно обеспечивает автоматическое формирование необходимого закона изменения напряжения (тока) тиристорного источника напряжения во времени, оперативное представление информации о процессе нанесения гальванического покрытия и регистрацию данных для возможности их дальнейшей обработки.
Остальные узлы и комплектующие устройства не отличаются от известных и подбираются в соответствии с их рабочими характеристиками.
Устройство для микродугового оксидирования металлов и их сплавов работает следующим образом.
Параметры задатчиков 12-13 оперативно выставляются оператором и соответствуют заданным средним значениям тока, напряжения, температуры или другим параметрам процесса микродугового оксидирования. Управляющая вычислительная машина 4 пропускает на выход сигналы задатчиков 12-13, а также формирует задающие сигналы X1, … Хn, соответствующие заданным средним значениям тока, напряжения, температуры или другим параметрам процесса микродугового оксидирования. При этом управляющая вычислительная машина 4 может формировать любой заранее заданный закон изменения задающих сигналов напряжения и тока во времени.
Датчики процесса микродугового оксидирования – датчик тока 6, датчик напряжения 7, или другие датчики n-2… n объединены общим названием измерительные преобразователи 5, формируют сигналы, соответствующие мгновенным значениям тока, напряжения, температуры и т.д.
Задающие сигналы X1, … Хn от управляющей вычислительной машины 4 поступают на первые входы 24 соответствующих регуляторов 8-10 параметров процесса, при этом на их вторые входы 25 подаются сигналы обратной связи, соответствующие действительным значениям параметров процесса микродугового оксидирования (от датчика тока 6, датчика напряжения 7 и измерительных преобразователей 5). Каждый из регуляторов 8-10 сравнивает свой задающий сигнал с сигналом обратной связи и вырабатывает собственный сигнал управления У1, …, Уn, соответствующий своему углу управления тиристорами тиристорного преобразователя 2.
Управляемая индуктивность 14, включенная между положительной клеммой 15 тиристорного преобразователя 2 и гальванической ванной 1, позволяет управлять процессом микродугового оксидирования, оптимизируя его параметры в зависимости от предъявляемых к наносимому покрытию требований. Параметры управляемой индуктивности 14 изменяются согласно управляющему сигналу Хn+1, поступающему от управляющей вычислительной машины 4.
Работу устройства при двух выходных сигналах управляющей вычислительной машины 4 и двух регуляторах 8 и 9 иллюстрирует фиг.2. Задатчиком 12 задан максимальный допустимый ток тиристорного преобразователя 2, соответственно выход X1 управляющей вычислительной машины 4 задает ток тиристорного преобразователя и IЗ=X1. В программном режиме управляющая вычислительная машина 4 формирует на своем входе Х2 заданное напряжение (например, в виде возрастающего и спадающего участков), то есть UЗ=Х2.
Пока напряжение гальванической ванны 1 UГВ создает ток IГВ меньше, чем IЗ, то напряжение определяется задающим сигналом по напряжению и UГВ=UЗ. При этом работает регулятор 9, а выход регулятора 8 отслеживает выход регулятора 8. Когда ток гальванической ванны 1 попытается превысить заданное сигналом X1 значение тока, то рабочим становится регулятор 8, который ограничивает ток гальванической ванны 1 на заданном уровне, то есть IГВ=IЗ. Напряжение гальванической ванны 1 держится на уровне, который обеспечивает стабилизацию тока и оказывается меньше заданного. Напряжение регулятора 9 отслеживает выходное напряжение регулятора 8. На спадающем участке, когда ток гальванической ванны 1 становится ниже заданного, опять вступает в работу регулятор 9.
Дополнительной функцией управляющей вычислительной машины 4 является регистрация с заданной временной дискретностью мгновенных значений напряжений и токов гальванической ванны 1 с возможностью их сохранения в памяти и дальнейшей обработки. В результате обработки могут быть получены осциллограммы тока и напряжения, определена энергия, потраченная на нанесение покрытия, определены электрические параметры изделия, находящегося в гальванической ванне, и т.п.
После прохождения заданного числа циклов, которые определяются толщиной оксидируемой пленки, управляющая машина 4 формирует сигнал “конец работы”.
Использование предлагаемого решения по сравнению с прототипом позволяет значительно расширить технологические возможности по получению высокого качества покрытий и стабильности процесса микродугового оксидирования.
Формула изобретения
Устройство для микродугового оксидирования металлов и их сплавов, содержащее гальваническую ванну, тиристорный преобразователь, включающий тиристоры, установленные на выходных выводах источника постоянного тока, управляющую вычислительную машину, связанную с управляющими входами тиристоров тиристорного преобразователя, измерительные преобразователи, по крайней мере один из которых выполнен в виде датчика тока, а другой – в виде датчика напряжения, отличающееся тем, что оно снабжено несколькими регуляторами параметров процесса, схемой выделения минимального управляющего сигнала, несколькими задатчиками параметров процесса и управляемой индуктивностью, причем положительная клемма тиристорного преобразователя через управляемую индуктивность подключена к токоподводу для подключения оксидируемой детали, а его отрицательная клемма через датчик тока подключена к корпусу гальванической ванны, при этом между выходными клеммами тиристорного преобразователя включен датчик напряжения, а входной узел управляющей вычислительной машины подключен к выходам задатчиков параметров процесса и выходам измерительных преобразователей, выходной узел управляющей вычислительной машины подключен к управляющему входу управляемой индуктивности и первым входам регуляторов параметров процесса, вторые входы которых подключены к выходам измерительных преобразователей, первые выходы регуляторов параметров процесса через схему выделения минимального управляющего сигнала подключены к управляющему входу тиристорного преобразователя, к которому также подключены вторые выходы регуляторов параметров процесса.
РИСУНКИ
|
|