|
|
(21), (22) Заявка: 2006134155/02, 25.09.2006
(24) Дата начала отсчета срока действия патента:
25.09.2006
(43) Дата публикации заявки: 10.04.2008
(46) Опубликовано: 10.09.2008
(56) Список документов, цитированных в отчете о поиске:
СТРИЖЕВСКИЙ И.В. и др. Защита металлических сооружений от подземной коррозии. – М.: Недра, 1981, с.196. RU 2149920 C1, 27.05.2000. ЕР 0771889, 07.05.1997.
Адрес для переписки:
423236, Республика Татарстан, г. Бугульма, ул. М. Джалиля, 32, “ТатНИПИнефть”, сектор создания и развития промышленной собственности
|
(72) Автор(ы):
Ибрагимов Наиль Габдулбариевич (RU), Даутов Фарваз Инсапович (RU), Фадеев Владимир Гелиевич (RU), Гареев Равиль Мансурович (RU)
(73) Патентообладатель(и):
Открытое акционерное общество “Татнефть” им. В.Д. Шашина (RU)
|
(54) АНОДНЫЙ ЗАЗЕМЛИТЕЛЬ
(57) Реферат:
Изобретение относится к катодной защите подземных сооружений от коррозии, в частности к заземляющим устройствам постоянного тока, и может быть использовано во многих отраслях промышленности. Анодный заземлитель содержит электрод из малорастворимого материала, токоввод, выполненный в залитом компаундом торцевом углублении электрода, в котором зачеканена жила соединительного провода, и пробку, закрывающую торцевое углубление, при этом компаунд выполнен многослойным, причем слои составлены поочередно из материала, имеющего высокую адгезию к изоляции соединительного провода, и материала, имеющего высокую адгезию к электроду так, что внешним является слой, имеющий высокую адгезию к электроду. Технический результат: повышение надежности анодного заземлителя. 2 з.п. ф-лы, 1 ил.
Изобретение относится к катодной защите подземных сооружений от коррозии и передаче электроэнергии постоянного тока по системе “провод-земля”, а именно к заземляющим устройствам постоянного тока, и найдет применение во многих отраслях промышленности.
Известен анодный заземлитель, содержащий электрод из малорастворимого материала, контактный узел (токоввод), выполненный в торцевом отверстии электрода, и размещенную частично в электроде и контактном узле закладную трубку, в которую зачеканен клином соединительный провод. Внешняя поверхность электрода и зона контактного узла залиты компаундом. В контактный узел введен эластичный вкладыш, окружающий конец соединительного провода и место соединения жилы провода с закладной трубкой. Между вкладышем и проводом и между вкладышем и закладной трубкой размещены обтюраторы (центраторы). На соединительный провод в зоне его выхода из компаунда надета полимерная втулка. Эластичный вкладыш служит, по мнению авторов изобретения, для компенсации температурных напряжений в компаунде, что предотвращает отслаивание компаунда от боковой поверхности контактного узла (при понижении температуры) и разрушение электрода в зоне контактного узла за счет расширения компаунда (при повышении температуры). Полимерная втулка служит для предотвращения излома соединительного провода на выходе из электрода (пат. РФ №2149920, кл. C23F 13/00, опубл. 27.05.2000 г. БИ №18).
Недостатками этого заземлителя являются низкая надежность и сложность конструкции токоввода. Это связано с тем, что эластичный вкладыш не предотвращает полностью возможность отслаивания компаунда от стенки контактного узла, так как между вкладышем и стенкой электрода остается часть компаунда в виде кольца, которая при охлаждении сокращается в диаметре. При повышении температуры это кольцо расширяется, создавая разрушающее напряжение на головку электрода в зоне контактного узла (малорастворимые электроды, имея высокую стойкость против анодного растворения, как правило, обладают хрупкостью и низкой механической прочностью). Кроме того, слабым местом является также место контакта компаунда с полимерной изоляцией, по которому из-за низкой адгезии компаунда к изоляции, обычно выполняемой из полиэтилена или поливинилхлорида, может проникнуть вода к контактному узлу.
Наиболее близким по технической сущности к предлагаемому является анодный заземлитель, содержащий малорастворимый железокремниевый электрод с токовводом, выполненным в торцевом цилиндрическом отверстии электрода, в которое вставлен конец кабеля с оголенной жилой, зачеканенной расплавленным свинцом. Отверстие заполнено эпоксидной смолой и закрыто фторопластовой шайбой. Дополнительно вокруг конца электрода с токовводом сформирована крышка из эпоксидной смолы (см. справочник Стрижевского И.В., Зиневича А.М., Никольского К.К. и др. “Защита металлических сооружений от подземной коррозии”, М., Недра, 1981, с.196).
Необходимость тщательной изоляции токоввода продиктована тем, что даже ничтожно малая утечка тока с металлических элементов токоввода, выполненных из нестойких против анодного растворения металлов (медь, алюминий, свинец), приводит к их разрушению с образованием продуктов растворения, объем которых в несколько раз превосходит объем растворившегося металла. Вследствие этого, под давлением продуктов растворения дефекты изоляции увеличиваются, что ведет к быстропрогрессирующему разрушению токоввода и выходу из строя заземлителя.
Однако даже при такой изоляции с течением времени из-за старения компаунда и температурных напряжений, возникающих за счет разных коэффициентов теплового расширения материалов электрода и компаунда (коэффициент теплового расширения эпоксидной смолы в 30 раз выше, чем у железокремниевого сплава), в компаунде образуются трещины, а между стенкой отверстия электрода и компаундом открывается щель, по которым влага достигает металлических элементов токоввода.
Задачей изобретения является повышение надежности анодного заземлителя.
Поставленная задача решается тем, что в анодном заземлителе, содержащем электрод из малорастворимого материала, токоввод, выполненный в залитом компаундом торцевом углублении электрода, в котором зачеканена жила соединительного провода, и пробку, закрывающую торцевое углубление, согласно изобретению, компаунд выполнен многослойным, причем слои составлены поочередно из материала, имеющего высокую адгезию к изоляции соединительного провода, и материала, имеющего высокую адгезию к электроду так, что внешним является слой, имеющий высокую адгезию к электроду.
Кроме того, слои компаунда отверждены при температуре, превышающей максимально возможную температуру, до которой может нагреться заземлитель.
Пробка, закрывающая торцевое углубление электрода, выполнена из эластичного материала, скрепленного с электродом и/или соединительным проводом.
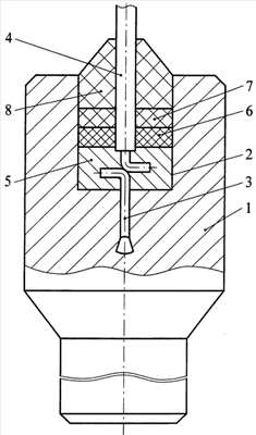
На чертеже изображен продольный разрез конца заземлителя, в котором размещен токоввод (вариант с двухслойным компаундом).
Анодный заземлитель состоит из малорастворимого электрода 1, в утолщенном конце которого выполнено торцевое цилиндрическое углубление 2, и закладного металлического стержня 3, концы которого загнуты или сплющены, причем верхний конец стержня выходит в торцевое углубление 2. В торцевое углубление 2 введен конец соединительного провода 4 с загнутой или сплющенной оголенной жилой. Углубление 2 с перекрытием оголенной жилы провода залито расплавленным свинцом 5, выше которого оно последовательно залито слоем 6 компаунда, имеющего высокую адгезию к изоляции провода 4, и слоем 7 компаунда, имеющего высокую адгезию к электроду 1. Углубление закрыто пробкой 8 из эластичного материала, предварительно надетого на конец провода 4. Поверхности соприкосновения пробки с электродом и/или проводом скреплены клеем.
Анодный заземлитель работает следующим образом. От источника постоянного тока, например преобразователя для катодной защиты подземных сооружений от коррозии, по соединительному проводу 4 подается постоянный ток положительной полярности расчетной силы, который через свинцовую заливку 5 перетекает в закладной стержень 3, а от него – в электрод 1. Затем ток стекает со всей поверхности электрода в окружающий грунт и через него втекает в подземное сооружение, обеспечивая его катодную защиту.
Известные компаунды не имеют одинаково высокую адгезию к таким разным по физико-химическим свойствам материалам, как материал малорастворимого электрода (например, железокремниевого сплава – ферросилида, графита, магнетита и т.п.) и материал изоляции соединительного провода (полиэтилен, полипропилен, поливинилхлорид и т.п.). По этой причине влага, насыщающая окружающий заземлитель грунт, может капиллярно просочиться по границе компаунд – электрод или компаунд – провод, где адгезия ниже, к металлическим элементам токоввода. Это может происходить как при повышении температуры окружающей среды, так и при понижении ее. Если адгезия компаунда низка к материалу электрода, то при понижении температуры из-за значительно более высокого коэффициента теплового расширения компаунда относительно материала электрода (например, названный коэффициент для эпоксидный смолы примерно в 30 раз больше, чем у ферросилида) образуется капиллярная щель между компаундом и электродом, по которой вода проникает к металлическим элементам токоввода. Если же адгезия компаунда низка к изоляции провода, то компаунд отрывается от поверхности изоляции при повышении температуры из-за более высокого коэффициента теплового расширения его относительно материала жилы провода (меди или алюминия).
В предлагаемом анодном заземлителе слой 6 выполнен из компаунда, имеющего более высокую адгезию к изоляции провода, чем к электроду, а слой 7 выполнен из компаунда, имеющего более высокую адгезию к электроду, чем к изоляции провода. Поэтому при повышении или понижении температуры отрыв компаунда может происходить не по всей длине провода и боковой стенки углубления электрода, а только в пределах одного из слоев, что предотвращает сквозное просачивание воды к металлическим элементам токоввода.
Для предотвращения механического разрушения электрода в зоне токоввода в результате теплового расширения компаунда отверждение слоев компаунда производят при максимальной возможной температуре, наблюдаемой при хранении, транспортировке, монтаже и эксплуатации заземлителя. Тогда геометрические размеры слоев компаунда будут сформированы при этой температуре и не будут в дальнейшем увеличиваться.
Что касается свинцовой заливки 5, то она при тепловом расширении не может привести к разрушению электрода, так как затвердевает при температуре около 327°С, фиксируя ее максимальные геометрические размеры.
Пример конкретного исполнения.
Анодный заземлитель содержит электрод 1 из железокремнистого сплава (ферросилида) длиной 1500, диаметром 50 мм, утолщенный конец которого имеет длину 150, диаметр 80 мм. В торцевое цилиндрическое углубление 2 глубиной 80, диаметром 40 мм, выполненное в утолщенном конце, введен конец одножильного кабеля марки ВВГ 1×16 с сечением медной жилы 16 мм2, имеющего поливинилхлоридную (ПВХ) изоляцию. Концы закладного стального стержня 3 диаметром 8 мм и жилы кабеля 4 сплющены. Углубление 2 с перекрытием оголенной части жилы кабеля залито расплавленным свинцом 5, которое затем последовательно заполнено слоем 6 силиконового двухкомпонентного компаунда марки Виксинт К-18 (ТУ 38.103508-81), имеющего более высокую адгезию к ПВХ, чем к ферросилиду, и слоем 7 компаунда на основе эпоксидной смолы марки К-115 и отвердителя ПЭПА, имеющего более высокую адгезию к ферросилиду, чем к ПВХ. Углубление закрыто пробкой 8 из силиконового клея марки Пентэласт-1161, имеющего адгезию как к ПВХ, так и к ферросилиду, который после затвердевания сохраняет эластичность.
В качестве компаундов, имеющих более высокую адгезию к ПВХ-изоляции соединительного кабеля, можно использовать различные марки силиконовых компаундов (например, Виксинт К-68, силиконовый клей-герметик Пентэласт-1143), клеи для склеивания изделий из ПВХ (например, Cosmofen CA 12, Cosmofen plus, Koratak, Koracoll и др.).
В качестве компаундов, имеющих более высокую адгезию к материалу металлических и металлооксидных электродов, в наибольшей степени подходят компаунды на основе эпоксидных, фенолоформальдегидных, полиуретановых, полиамидных смол и элементоорганических полимеров. Для графитовых и углеграфитовых электродов рекомендуются компаунды на основе эпоксидных и фенолоформальдегидных смол.
Предлагаемые технические решения предотвращают возможность проникновения влаги к металлическим элементам токоввода, исключая при этом их электрохимическое растворение, и механического разрушения электрода из-за температурных напряжений в токовводе, что повышает в целом надежность и долговечность работы анодного заземлителя.
Формула изобретения
1. Анодный заземлитель, содержащий электрод из малорастворимого материала, токоввод, выполненный в залитом компаундом торцевом углублении электрода, в котором зачеканена жила соединительного провода, и пробку, закрывающую торцевое углубление, отличающийся тем, что компаунд выполнен многослойным, причем слои составлены поочередно из материала, имеющего высокую адгезию к изоляции соединительного провода, и материала, имеющего высокую адгезию к электроду так, что внешним является слой, имеющий высокую адгезию к электроду.
2. Анодный заземлитель по п.1, отличающийся тем, что слои компаунда отверждены при температуре, превышающей максимально возможную температуру, до которой может нагреться заземлитель.
3. Анодный заземлитель по п.1 или 2, отличающийся тем, что пробка, закрывающая торцевое углубление электрода, выполнена из эластичного материала, скрепленного с электродом и/или соединительным проводом.
РИСУНКИ
|
|