|
|
(21), (22) Заявка: 2007107498/11, 28.02.2007
(24) Дата начала отсчета срока действия патента:
28.02.2007
(46) Опубликовано: 10.09.2008
(56) Список документов, цитированных в отчете о поиске:
RU 58098 U1, 10.11.2006. RU 2160209 C2, 10.12.2000. WO 01/85540 A1, 15.11.2001. SU 1740250 A1, 15.06.1992.
Адрес для переписки:
121165, Москва, Г-165, а/я 15, ООО “ППФ-ЮСТИС”, Л.С.Пилишкиной
|
(72) Автор(ы):
Попов Григорий Геннадьевич (RU)
(73) Патентообладатель(и):
Попов Григорий Геннадьевич (RU)
|
(54) ДИРИЖАБЛЬ
(57) Реферат:
Изобретение относится к области воздухоплавания. Дирижабль содержит каркас из труб, предпочтительно из пластмассы, заполненных рабочим газом, находящимся под избыточным давлением, баллоны с рабочим газом, связанные с каркасом, и устройство для пополнения рабочим газом труб каркаса и баллонов. Баллоны соединены трубопроводом с двигателем. Изобретение направлено на сохранение состава рабочего газа в баллонах при неизбежной потере через оболочку, а также на увеличение подъемной силы дирижабля. 6 з.п. ф-лы, 1 ил.
Изобретение относится к области воздухоплавания и предназначено, в частности, для транспортировки грузов.
Известен дирижабль, выбранный в качестве ближайшего аналога (RU 58098, опубл. 2006 г.). Известный дирижабль выполнен в форме полуцилиндра и имеет каркас, состоящий из тонкостенных пластмассовых труб, заполненных водородом или гелием под некоторым избыточным давлением для придания трубам каркаса необходимой жесткости при работе на сжатие. Для компенсации изменения давления рабочие баллоны и трубы каркаса снабжены воздушными баллонетами.
Недостатками ближайшего аналога являются наличие воздушных баллонетов, необходимых для компенсации изменения давления в рабочих баллонах и каркасе, и низкая автономность летательного аппарата, т.к. при диффузии рабочего газа в атмосферу и встречного проникновения воздуха внутрь рабочих баллонов подъемная сила будет все время уменьшаться.
Задачей изобретения является увеличение подъемной силы дирижабля за счет исключения воздушных баллонетов, а также увеличение автономности за счет обеспечения возможности использования рабочего (подъемного) газа в качестве топлива для двигателя.
Поставленная задача решается тем, что дирижабль содержит каркас из труб, предпочтительно из пластмассы, заполненных рабочим газом, находящимся под избыточным давлением, и связанные с каркасом баллоны с рабочим газом, соединенные с трубопроводом, по которому рабочий газ, например водород, подается в двигатель в качестве топлива, и по меньшей мере одно устройство для пополнения рабочим газом труб каркаса и баллонов.
Снабжение дирижабля устройством, пополняющим трубы каркаса и баллоны рабочим газом, позволяет сохранить постоянство газового состава в рабочем объеме при неизбежной потере рабочего газа через оболочку, а также исключить из конструкции воздушные баллонеты, что позволяет увеличить подъемную силу дирижабля.
В частных вариантах изобретения целесообразно устройство для пополнения рабочим газом труб каркаса и баллонов соединять с трубами каркаса, которые в свою очередь соединяют через клапаны с баллонами.
Упомянутое устройство может быть расположено внутри баллона и быть выполнено в виде сосуда Дьюара, а также содержать компрессор для сжатия рабочего газа и ресивер, соединенный с трубами каркаса.
Возможность изменения давления рабочего газа в трубах каркаса и баллонах дирижабля обеспечивается, например, посредством регулирования скорости испарения рабочего газа из упомянутого устройства и скоростью подачи рабочего газа в двигатель.
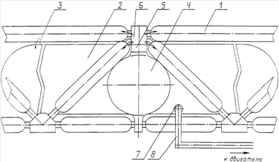
Сущность изобретения поясняется с помощью чертежа, на котором показан фрагмент каркаса с баллоном предлагаемого дирижабля.
Основой конструкции дирижабля является каркас, набранный из тонкостенных пластмассовых труб 1, заполненных рабочим газом – водородом под некоторым избыточным давлением, придающим каркасу достаточную жесткость. Внутри каркаса расположены баллоны 2 с рабочим газом, которые соединены через клапаны 3 с трубами 1 каркаса. Внутри баллона 2 расположен сосуд 4 Дьюара, опирающийся на трубы 1 каркаса и включенный в работу каркаса. Сосуд 4 Дьюара снабжен компрессором 5 и ресивером 6, через который он соединен с трубами 1 каркаса. Баллон 2 через клапан 7 соединен с трубопроводом 8, по которому водород подается к двигателю.
В качестве рабочего газа также может использоваться метан. В этом случае он находится в баллонах в сжиженном виде.
При естественном или принудительном испарении жидкого водорода газ сжимается компрессором 5 до нужного значения и через ресивер 6 под некоторым избыточным давлением поступает в трубы 1 каркаса, придавая им требуемую жесткость. Пройдя по трубам 1 каркаса, водород через клапан 3 поступает в баллон 2. Из баллона 2 водород через выпускной клапан 7 по трубопроводу 8 подается к двигателю. Таким образом, при неизбежной потере водорода через оболочку удается сохранить постоянство газового состава в рабочем объеме.
Преимуществом этого дирижабля является то, что водород используется и для поддержания необходимой жесткости конструкции, и для создания подъемной тяги, и в качестве топлива для двигателя.
Формула изобретения
1. Дирижабль, содержащий каркас из труб, заполненных рабочим газом, находящимся под избыточным давлением, и связанные с каркасом баллоны с рабочим газом, отличающийся тем, что он содержит по меньшей мере одно устройство для пополнения рабочим газом труб каркаса и баллонов, а баллоны соединены с трубопроводом, по которому рабочий газ подается в двигатель.
2. Дирижабль по п.1, отличающийся тем, что упомянутое устройство соединено с трубами каркаса, которые соединены через клапаны с баллонами.
3. Дирижабль по п.1, отличающийся тем, что упомянутое устройство содержит компрессор для сжатия рабочего газа и ресивер, соединенный с трубами каркаса.
4. Дирижабль по п.1, отличающийся тем, что упомянутое устройство расположено внутри баллона с рабочим газом и выполнено в виде сосуда Дьюара.
5. Дирижабль по п.1, отличающийся тем, что он выполнен с возможностью изменения давления рабочего газа в трубах каркаса и баллонах посредством регулирования скорости испарения рабочего газа в упомянутом устройстве и скорости подачи рабочего газа в двигатель.
6. Дирижабль по п.1, отличающийся тем, что рабочим газом является водород.
7. Дирижабль по п.1, отличающийся тем, что трубы каркасы выполнены из пластмассы.
РИСУНКИ
|
|