|
|
(21), (22) Заявка: 2006142241/02, 29.11.2006
(24) Дата начала отсчета срока действия патента:
29.11.2006
(46) Опубликовано: 10.09.2008
(56) Список документов, цитированных в отчете о поиске:
SU 1342708 A1, 07.10.1987. RU 2188115 C1, 27.08.2002. RU 2031770 C1, 27.03.1995. RU 2103571 C1, 27.01.1998. SU 701778 A1, 05.12.1979. US 3494013 A, 10.02.1970.
Адрес для переписки:
302020, г.Орел, Наугорское ш., 29, ОрелГТУ,проректору по НР и МС Ю.С.Степанову
|
(72) Автор(ы):
Степанов Юрий Сергеевич (RU), Киричек Андрей Викторович (RU), Афанасьев Борис Иванович (RU), Самойлов Николай Николаевич (RU), Катунин Александр Валентинович (RU), Катунин Андрей Александрович (RU), Фомин Дмитрий Сергеевич (RU), Сотников Юрий Кузьмич (RU)
(73) Патентообладатель(и):
Государственное образовательное учреждение высшего профессионального образования “Орловский государственный технический университет” (ОрелГТУ) (RU)
|
(54) СПОСОБ ПОСЛЕДОВАТЕЛЬНОЙ АЛМАЗОАБРАЗИВНОЙ И ОТДЕЛОЧНО-УПРОЧНЯЮЩЕЙ ОБРАБОТКИ
(57) Реферат:
Изобретение относится к технологии машиностроения, а именно к последовательной алмазо-абразивной и отделочно-упрочняющей обработке заготовок с неполной сферической поверхностью. Используют устройство, содержащее индивидуальный привод со шпинделем, на котором закреплен деформирующий инструмент, винтовую цилиндрическую пружину, которая одним концом навернута и жестко закреплена на шпинделе, и стакан с пазами, жестко закрепленный на другом конце винтовой цилиндрической пружины. Деформирующий элемент выполнен в виде кольца, с торцов которого на его внутренней поверхности расположены деформирующая часть в виде торовой поверхности и алмазоабразивная часть в виде усеченного конуса с алмазоабразивным слоем. На наружной поверхности кольца выполнены две поперечные полуоси, посредством которых кольцо установлено в пазах стакана с возможностью поворота деформирующей частью или алмазоабразивной частью к заготовке. Обеспечивают контакт алмазоабразивной и деформирующей частей кольца с обрабатываемой поверхностью заготовки. Сообщают вращательное движение заготовке. Сообщают деформирующему инструменту вращательное движение и движение подачи вдоль продольной оси устройства. Причем продольная ось устройства проходит через центр обрабатываемой сферической поверхности и расположена под углом к плоскости, перпендикулярной продольной оси заготовки. В результате расширяются технологические возможности, повышается производительность, качество и точность обработки. 5 ил.
Изобретение относится к технологии машиностроения, в частности к способам, основанным на сочетании алмазоабразивной и отделочно-упрочняющей обработки сферических поверхностей деталей, например автомобильных шаровых пальцев из сталей и сплавов шлифованием и поверхностным пластическим деформированием (ППД) со статическим нагружением инструмента.
Известен способ последовательной алмазоабразивной и отделочно-упрочняющей обработки заготовок с неполной сферической поверхностью [1]. Известный способ отличается низким КПД, недостаточно большой глубиной упрочненного слоя и невысокой степенью упрочнения обрабатываемой поверхности, низкой производительностью, так как перед операцией ППД необходимо выполнить операцию шлифования, что требует дополнительных затрат, при этом примененный несамоустанавливающийся инструмент не позволяет получать качественную обрабатываемую поверхность.
Задачей изобретения является расширение технологических возможностей ППД благодаря использованию механической обработки, основанной на сочетании алмазоабразивной обработки с поверхностным пластическим деформированием путем силового воздействия на поверхность обрабатываемой заготовки, что приводит к изменению показателей поверхностного слоя заготовки, повышение износостойкости, предела выносливости и других эксплуатационных характеристик, управление глубиной упрочненного слоя, степенью упрочнения и микрорельефом поверхности, а также повышение производительности, качества и точности обработки путем самоустановки инструментов на сферической поверхности обрабатываемой заготовки.
Поставленная задача решается с помощью предлагаемого способа последовательной алмазоабразивной и отделочно-упрочняющей обработки заготовок с неполной сферической поверхностью, включающего сообщение вращательного движения заготовке, при этом используют устройство, содержащее индивидуальный привод со шпинделем, на котором закреплен деформирующий инструмент, винтовую цилиндрическую пружину, которая одним концом навернута и жестко закреплена на шпинделе, и стаканом с пазами, жестко закрепленным на другом конце винтовой цилиндрической пружины, деформирующий элемент выполнен в виде кольца, с торцов которого на его внутренней поверхности расположены деформирующая часть в виде торовой поверхности и алмазоабразивная часть в виде усеченного конуса с алмазоабразивным слоем, меньшее основание которого расположено внутри кольца, на наружной поверхности кольца выполнены две поперечные полуоси, посредством которых кольцо установлено в пазах стакана с возможностью поворота деформирующей частью или алмазоабразивной частью к заготовке, при этом обеспечивают контакт алмазоабразивной и деформирующей частей кольца с обрабатываемой поверхностью заготовки по окружности диаметром d, мм, сообщают деформирующему инструменту вращательное движение и движение подачи вдоль продольной оси устройства, последняя проходит через центр обрабатываемой сферической поверхности и расположена под углом , град., к плоскости, перпендикулярной продольной оси заготовки, определяемый из следующего выражения: =arc cos [(R+Н)/d], где R – радиус сферической поверхности заготовки, мм; Н – размер, определяющий неполную сферическую поверхность заготовки, мм.
Сущность способа последовательной алмазоабразивной и отделочно-упрочняющей обработки неполных сферических поверхностей поясняется чертежами.
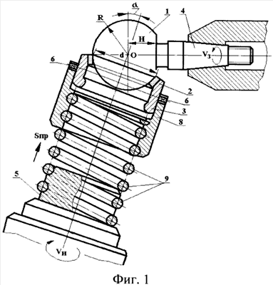
На фиг.1 представлена схема обработки шлифованием заготовки автомобильного шарового пальца предлагаемым способом на первом переходе, инструмент установлен алмазоабразивной частью к заготовке; на фиг.2 – схема отделочно-упрочняющей обработки заготовки автомобильного шарового пальца предлагаемым способом на втором переходе, инструмент установлен деформирующей частью к заготовке; на фиг.3 – вид А на фиг.2; на фиг.4 – сечение Б-Б на фиг.2; на фиг.5 – второй вариант конструкции инструмента кольца, у которой алмазоабразивная и отделочно-упрочняющая часть выполнены коническими в виде усеченного конуса с меньшим основанием, расположенным внутри кольца.
Предлагаемый способ предназначен для обработки шлифованием с последующей отделочно-упрочняющей обработкой поверхностным пластическим деформированием сферической поверхности 1. Обработка осуществляется инструментом с алмазоабразивной частью 2, служащей для шлифования, и отделочно-упрочняющей частью 3, служащей для обработки поверхностным пластическим деформированием заготовок 4, например, типа автомобильного шарового пальца. По этому способу заготовке 4 сообщают вращательное движение Vз, а инструменту с алмазоабразивной и отделочно-упрочняющей частями – вращательное движение VИ и продольную подачу SПР к центру О неполной сферической поверхности.
Предлагаемый способ предназначен для последовательной алмазоабразивной и отделочно-упрочняющей обработки неполных сферических поверхностей и содержит индивидуальный привод (не показан) со шпинделем 5, на котором установлен комбинированный инструмент 2-3.
Комбинированный инструмент 2-3 выполнен в виде кольца и имеет с одного торца торовую внутреннюю поверхность 3, которой он контактирует с обрабатываемой заготовкой по окружности диаметром d при обработке сферической поверхности на отделочно-упрочняющем переходе.
Со стороны другого торца внутренняя поверхность кольца 2-3 выполнена конической в виде усеченного конуса с меньшим основанием, расположенным внутри кольца, на который нанесен алмазоабразивный слой 2 для обработки неполной сферической поверхности на шлифовальном переходе.
Инструмент – кольцо 2-3 на наружной поверхности имеет две поперечные полуоси 6, с помощью которых оно установлено в пазах 7 стакана 8.
Инструмент кольцо 2-3 установлен в стакане 8 плотно без зазора с возможностью быстрого съема, поворота и установки в нем как деформирующей частью 3 (см. фиг.2), так и алмазоабразивной частью 2 (см. фиг.1) к обрабатываемой неполной сферической поверхности 1 заготовки 4. Поперечные полуоси 6 имеют две лыски для ориентации инструмента кольца в пространстве относительно стакана 8.
Стакан 8 жестко закреплен на одном конце винтовой цилиндрической пружины 9, которая вторым концом навернута и жестко закреплена на шпинделе 5. Продольная ось устройства проходит через центр О обрабатываемой неполной сферической поверхности 1 и расположена под углом к плоскости, перпендикулярной продольной оси заготовки 4. Угол наклона оси шпинделя и кольца с алмазоабразивной и деформирующей внутренними частями устройства к плоскости, перпендикулярной продольной оси заготовки и проходящей через центр неполной сферической поверхности, определяется по формуле:
=arc cos [(R+Н)/d],
где d – диаметр окружности, по которой происходит контакт алмазоабразивной и деформирующей частей кольца с обрабатываемой неполной сферической поверхностью, мм;
R – радиус обрабатываемой сферической поверхности, мм;
Н – размер, определяющий неполную сферическую поверхность заготовки, мм.
Деформирующая часть 3 инструмента выполнена в виде тора и расположена на внутренней поверхности, которая контактирует с заготовкой по линии в виде окружности диаметром d, однако эта часть может быть выполнена аналогично алмазоабразивной – в виде усеченного конуса с меньшим основанием, расположенным внутри кольца (см. фиг.5).
Плоскости, проходящие через окружности диаметром d линии контакта инструмента и заготовки как при алмазоабразивной, так и деформирующей обработке, перпендикулярны продольной оси устройства.
Продольное расположение винтовой цилиндрической пружины 9 позволяет одновременно передавать вращательное движение VИ от шпинделя 5 и осуществлять статическую нагрузку на алмазоабразивный деформирующий инструмент 2-3 за счет продольной подачи SПР привода устройства, при этом пружина 9 реализует возможность самоцентрирования инструмента относительно заготовки.
В связи с особенностью конструкции обрабатываемой заготовки 4, а именно неполной сферической поверхностью 1, шпиндель устройства смещен относительно центра сферы, при этом алмазоабразивный деформирующий инструмент 2-3 совершает вращательные движения по окружности диаметром d.
Диаметр окружности d, по которой происходит контакт алмазоабразивной и деформирующей частей кольца с обрабатываемой сферической поверхностью, зависит от размера Н, определяющего неполную сферическую поверхность заготовки, и угла наклона оси шпинделя устройства к плоскости, перпендикулярной продольной оси заготовки и проходящей через центр О сферической поверхности.
Пружинное соединение 9 шпинделя 5 с алмазноабразивным деформирующим инструментом – кольцом позволяет осуществить самоцентрирование и самоустановку инструмента на обрабатываемой заготовке 4 при случайном отклонении продольной оси шпинделя от центра О обрабатываемой сферической поверхности 1. Величина продольного перемещения устройства для создания статической силы деформирования зависит от свойств пружины 9, а именно от материала проволоки, из которой навита пружина, ее диаметра, диаметра витков пружины и количества рабочих витков, расположенных между торцом шпинделя 5 и кольцом 2-3.
Предлагаемый способ позволяет вести последовательную алмазоабразивную и отделочно-упрочняющую обработку неполных сферических поверхностей в режиме последовательного выполнения переходов алмазоабразивной обработки и поверхностного пластического деформирования – упрочнения.
Последовательная обработка производится при максимальных режимах вначале шлифованием, затем переустановка инструмента и заканчивается обработка отделочным упрочнением.
Обработка показала, что параметр шероховатости обработанных сферических поверхностей уменьшился до значения Ra=0,32…0,63 мкм при исходном – Ra=3,2…6,3 мкм, производительность повысилась более чем в три раз по сравнению с традиционным шлифованием и последующим обкатыванием на двух разных станках.
Исследования напряженного состояния упрочненного поверхностного слоя показали, что максимальные остаточные напряжения находятся близко к поверхности, как при чеканке, что благоприятно для большинства сопрягаемых деталей механизмов и машин. Сравнение глубины напряженного и упрочненного слоя, градиента напряжений и градиента наклепа показывает, что глубина напряженного слоя в 1,1…1,3 раза больше, чем глубина наклепанного слоя, что согласуется с теорией поверхностного – пластического деформирования.
Достигаемая в процессе обработки предельная величина шероховатости составляет Ra=0,08 мкм, возможно снижение исходной шероховатости в 4 раза. Глубина упрочненного слоя достигает 0,5…1,5 мм, что значительно (в 1,5…2 раза) больше, чем при традиционном упрочнении. Наибольшая степень упрочнения составляет 15…25%. В результате обработки предлагаемым способом по сравнению с традиционным накатыванием эффективная глубина слоя, упрочненного на 20% и более, возрастает в 1,5…2,2 раза, а глубина слоя, упрочненного на 10% и более, – в 1,3…1,6 раза.
Пример. Для оценки параметров качества поверхностного слоя, шлифованного и упрочненного предлагаемым способом, проведены экспериментальные исследования обработки автомобильного шарового пальца с использованием комбинированного алмазоабразивного и отделочно-упрочняющего инструмента. Заготовку пальца шарового верхнего 2101-2904187, установленную в специальном электромеханическом приспособлении, шлифовали и упрочняли на станке мод. 16К20 предлагаемым способом с помощью устройства, имеющего комбинированный инструмент с алмазоабразивной и отделочно-упрочняющей частью. Заготовка изготовлена из стали 40Х ГОСТ 1050-74. Обрабатывали сферу диаметром 32,7±0,1; исходный параметр шероховатости Ra=3,2 мкм, достигнутый – Ra=0,63; алмазоабразивная часть инструмента из алмаза АСВ 200/160-100/80 100%, связка металлическая М5, деформирующая часть инструмента в виде кольца из твердого сплава ВК8 с цилиндрической винтовой пружиной, изготовленной из термообработанной стали марки 65Г, рабочая поверхность деформирующей части инструмента полировалась до Ra=0,08…0,16 мкм. Обрабатывали сферу заготовки на следующих режимах: скорость вращения при алмазной обработке Vи=5,13 м/с (n=3000 мин-1); скорость вращения заготовки Vз=10 м/мин (n=100 мин-1); скорость упрочнения Vи=50 м/мин (n=500 мин-1); продольная подача SПР=0,1 мм-1 деформирующего инструмента осуществлялась до создания величины силы статического поджатия инструмента к обрабатываемой поверхности Рст 25…40 кН; глубина слоя повышенной твердости составляла 0,15…0,20 мм, смазывающе-охлаждающей жидкостью служил сульфофрезол (5%-ная эмульсия).
Требуемая шероховатость и точность сферической поверхности была достигнута за Тм=0,75 мин (против Тм баз=2,75 мин по базовому варианту при традиционной обработке шлифованием с последующим обкатыванием на двух станках на Орловском сталепрокатном заводе ОСПАЗ). Контроль проводился скобой индикаторной с индикатором ИЧ 10 Б, кл. 1 ГОСТ 577-68 и на профилометре мод. 283 тип AII ГОСТ 19300-86. В обработанной партии (равной 100 штук) бракованных деталей не обнаружено. Отклонение обработанной поверхности от сферичности составило не более 0,02 мм, что допустимо ТУ.
Статическая нагрузка, создаваемая самоцентрирующим комбинированным устройством, реализующим предлагаемый способ, благоприятно сказывается на условиях работы алмазоабразивной и отделочно-упрочняющей частей инструмента, выполненного в виде кольца. Самоцентрирование приводит к более равномерному распределению нагрузки на алмазоабразивный деформирующий инструмент – кольцо и облегчает формирование шлифуемой и упрочняемой поверхности.
При наложении статической нагрузки алмазоабразивная и деформирующая поверхность инструмента – кольца изнашивается одинаково, что способствует увеличению общей стойкости устройства.
Предлагаемый способ расширяет технологические возможности алмазоабразивной обработки и ППД благодаря использованию самоцентрирующих шлифовальной и деформирующей частей инструмента – кольца, позволяющего весьма просто управлять глубиной шлифуемого и упрочненного слоя, степенью упрочнения и микрорельефом поверхности, а также повышает качество, точность и производительность обработки путем самоустановки инструментов на сферической поверхности обрабатываемой заготовки.
Способ позволяет добиться не только требуемой шероховатости поверхности, но и возможности получить упрочненную структуру поверхностного слоя с повышенной износостойкостью, что обуславливается его высокой твердостью и прочностью. Сжимающие остаточные напряжения в поверхностном слое благоприятно влияют на повышение контактной прочности. Кроме того, износостойкость повышается за счет образования после совместной алмазоабразивной и отделочно-упрочняющей обработки большой несущей способности профиля, чем после раздельной механической и упрочняющей обработки, что уменьшает время приработки и повышает производительность.
Источник информации
1. Патент РФ 1342708 А1, В24В 39/04; 07.10.1987 – прототип.
Формула изобретения
Способ последовательной алмазоабразивной и отделочно-упрочняющей обработки заготовок с неполной сферической поверхностью, включающий сообщение вращательного движения заготовке, отличающийся тем, что используют устройство, содержащее индивидуальный привод со шпинделем, на котором закреплен деформирующий инструмент, винтовую цилиндрическую пружину, которая одним концом навернута и жестко закреплена на шпинделе и стаканом с пазами, жестко закрепленным на другом конце винтовой цилиндрической пружины, деформирующий элемент выполнен в виде кольца, с торцов которого на его внутренней поверхности расположены деформирующая часть в виде торовой поверхности и алмазоабразивная часть в виде усеченного конуса с алмазоабразивным слоем, меньшее основание которого расположено внутри кольца, на наружной поверхности кольца выполнены две поперечные полуоси, посредством которых кольцо установлено в пазах стакана с возможностью поворота деформирующей частью или алмазоабразивной частью к заготовке, при этом обеспечивают контакт алмазоабразивной и деформирующей частей кольца с обрабатываемой поверхностью заготовки по окружности диаметром d, мм, сообщают деформирующему инструменту вращательное движение и движение подачи вдоль продольной оси устройства, последняя проходит через центр обрабатываемой сферической поверхности и расположена под углом , град, к плоскости, перпендикулярной продольной оси заготовки, определяемый из следующего выражения: =arccos[(R+H)/d], где R – радиус сферической поверхности заготовки, мм; Н – размер, определяющий неполную сферическую поверхность заготовки, мм.
РИСУНКИ
MM4A – Досрочное прекращение действия патента СССР или патента Российской Федерации на изобретение из-за неуплаты в установленный срок пошлины за поддержание патента в силе
Дата прекращения действия патента: 30.11.2008
Извещение опубликовано: 20.07.2010 БИ: 20/2010
|
|